GM Service Manual Online
For 1990-2009 cars only

General Exhaust System Replacement 4.3L

Removal Procedure

  1. Raise and suitably support the vehicle. Refer to General Vehicle Jacking and Lifting in General Information.

  2. Object Number: 74162  Size: SH
  3. Remove the muffler clamp.

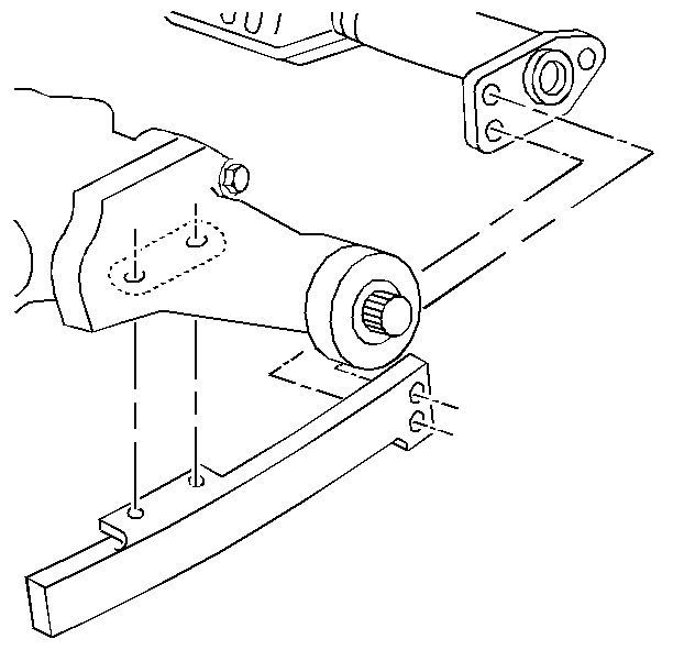
  4. Object Number: 72964  Size: SH
  5. Remove the rear hanger bracket bolts.
  6. Remove the resonator, the insulators and the bracket from the muffler outlet.
  7. Important: Ensure that the resonator pipe does not hang on the axle, so as not to damage the axle brake line.

  8. Support the crossover pipe and catalytic converters.
  9. Remove the heated oxygen sensor. Refer to Heated Oxygen Sensor Replacement in Engine Controls.
  10. Remove the muffler bolts.

  11. Object Number: 73008  Size: SH
  12. Remove only the two converter hanger bolts that attach the hanger bracket to the converter support.

  13. Object Number: 73084  Size: SH
  14. Remove the tailpipe front hanger bracket bolts.

  15. Object Number: 73005  Size: SH
  16. As an assembly, remove the exhaust muffler with the crossover pipe, the insulators and the bracket.

  17. Object Number: 73008  Size: SH
  18. Remove the exhaust tailpipe ground strap bolts.
  19. Remove the dampener.

  20. Object Number: 72959  Size: SH
  21. Remove the converter nuts.
  22. Remove only the two converter hanger bolts that attach the dampener and the converter support to the converter.

  23. Object Number: 72962  Size: SH
  24. Remove the converters.
  25. Remove the gaskets.
  26. Remove the transmission support crossmember. Refer to Transmission Replacement in Automatic Transmission On-Vehicle Service.

  27. Object Number: 72961  Size: SH
  28. Remove the two remaining catalytic converter support bolts and washers.
  29. Remove the catalytic converter support.

Installation Procedure


    Object Number: 72962  Size: SH
  1. Install the new exhaust manifold outlet gaskets.
  2. Install the converters.
  3. Loosely install the converter nuts.

  4. Object Number: 73010  Size: SH
  5. Install the converter support to the underside of the transmission case.
  6. Install only the two converter hanger bolts, with washers, that attach the converter support to the transmission case.
  7. Tighten
    Tighten the converter hanger bolts/screw to 34 N·m (25 lb ft).

    Notice: Use the correct fastener in the correct location. Replacement fasteners must be the correct part number for that application. Fasteners requiring replacement or fasteners requiring the use of thread locking compound or sealant are identified in the service procedure. Do not use paints, lubricants, or corrosion inhibitors on fasteners or fastener joint surfaces unless specified. These coatings affect fastener torque and joint clamping force and may damage the fastener. Use the correct tightening sequence and specifications when installing fasteners in order to avoid damage to parts and systems.


    Object Number: 73008  Size: SH
  8. Install the dampener.
  9. Loosely install only the two converter hanger bolts that secure the dampener and the support to the converter.
  10. Tighten

        • Tighten the converter nuts to 50 N·m (37 lb ft).
        • Tighten the hanger bolts to 34 N·m (25 lb ft).
        • Ensure that the bottom edge of the dampener is horizontal.

    Object Number: 73084  Size: SH
  11. Install the transmission support crossmember. Refer to Transmission Replacement in Automatic Transmission On-Vehicle Service.
  12. Install the front tailpipe hanger bracket rods into the upper insulator holes.
  13. Attach the insulators, with the hanger bracket, onto the muffler rods.
  14. Attach the hanger bracket to the rear crossmember.
  15. Loosely install the hanger bracket bolts.

  16. Object Number: 73008  Size: SH
  17. Install the muffler, with the crossover pipe, to the converters.
  18. Loosely install the muffler bolts.

  19. Object Number: 72957  Size: SH
  20. Install the dampener.
  21. Loosely install the bolts.

  22. Object Number: 72964  Size: SH
  23. Attach the resonator rear hanger bracket to the frame rail.
  24. Install the resonator rear hanger bracket bolts.
  25. Tighten

        • Tighten the tailpipe front hanger bracket bolts to 50 N·m (37 lb ft).
        • Tighten the resonator rear hanger bracket bolts to 17 N·m (13 lb ft).

    Object Number: 74162  Size: SH
  26. Install the muffler clamp onto the muffler outlet.

  27. Object Number: 72928  Size: SH
  28. Install the resonator.
  29. • Slide the resonator pipe into the muffler outlet, until the tab on the resonator contacts the bottom of the slot, located on the top of the muffler outlet.
    • Attach the insulators onto the rear hanger bracket, by inserting the bracket rods through the upper insulator holes.
    • Install the resonator rods into the lower insulator holes.
    • Tap the muffler clamp, toward the rear of the vehicle, in order to contact the resonator tab.

    Tighten

       • 

    Tighten the nuts on the clamp to 35 N·m (26 lb ft). Ensure that the clamp U-bolt is positioned with the threaded ends pointed outboard.

       • 

    Tighten the muffler bolts/screw to 20  N·m (15 lb ft).

       • 

    Tighten the dampener bolts/screw to 41 N·m (30 lb ft). Ensure that the bottom of the dampener is horizontal.


    Object Number: 72946  Size: SH
  30. Position the converter hanger bracket and clamp (part of the crossover pipe) to the front face of the converter support.
  31. Install the remaining two converter hanger bolts.
  32. Tighten

        • Tighten the converter hanger bolts to 34 N·m (25 lb ft).
        • Tighten the converter hanger bracket and clamp nut to 35 N·m (26 lb ft).
  33. Install the heated oxygen sensors. Refer to Heated Oxygen Sensor Replacement in Engine Controls.
  34. Lower the vehicle.

General Exhaust System Replacement 5.7L

Removal Procedure

  1. Raise and suitably support the vehicle. Refer to General Vehicle Lifting and Jacking in General Information.

  2. Object Number: 72946  Size: SH
  3. Remove the muffler clamp.

  4. Object Number: 72964  Size: SH
  5. Remove the rear hanger bracket bolts.
  6. Remove the resonator, with the insulators, and the bracket from the muffler outlet.
  7. Important: Ensure that the resonator pipe does not hang on the axle, so as not to damage the axle brake line.


    Object Number: 72938  Size: SH
  8. Support the intermediate pipes.
  9. Remove the bolts.
  10. Remove the dampener.

  11. Object Number: 72925  Size: SH
  12. Remove the muffler bolts.

  13. Object Number: 72959  Size: SH
  14. Remove only the two converter support bolts that attach the support bracket to the converter support.

  15. Object Number: 73084  Size: SH
  16. Remove the right-hand tailpipe front hanger bracket bolts.

  17. Object Number: 72949  Size: SH
  18. As an assembly, remove the muffler, the intermediate pipe, the insulators and the bracket.
  19. Remove the two converter support bolts that attach the support to the hanger bracket, on the intermediate pipe.

  20. Object Number: 73084  Size: SH
  21. Remove the left-hand tailpipe front hanger bolts.
  22. As an assembly, remove the muffler, intermediate pipe, insulators and the bracket.
  23. Remove the heated oxygen sensors. Refer to Heated Oxygen Sensor Replacement in Engine Controls.

  24. Object Number: 72962  Size: SH
  25. Remove the converter nuts.
  26. Remove the converters.
  27. Remove the gaskets.
  28. Remove the transmission support crossmember, if removing the converter support. Refer to Transmission Replacement in Automatic Transmission On-Vehicle Service.

  29. Object Number: 72961  Size: SH
  30. Remove the remaining two converter support bolts and washers.
  31. Remove the converter support.

Installation Procedure


    Object Number: 72962  Size: SH
  1. Install the new exhaust manifold outlet gaskets.
  2. Install the converters.
  3. Loosely install the converter nuts.

  4. Object Number: 72961  Size: SH
  5. Install the converter support to the underside of the transmission case.
  6. Install the converter support bolts, with washers, that attach the converter support to the transmission case.
  7. Tighten
    Tighten the converter support bolts to 34 N·m (25 lb ft).

    Notice: Use the correct fastener in the correct location. Replacement fasteners must be the correct part number for that application. Fasteners requiring replacement or fasteners requiring the use of thread locking compound or sealant are identified in the service procedure. Do not use paints, lubricants, or corrosion inhibitors on fasteners or fastener joint surfaces unless specified. These coatings affect fastener torque and joint clamping force and may damage the fastener. Use the correct tightening sequence and specifications when installing fasteners in order to avoid damage to parts and systems.

  8. Install the dampener.
  9. Loosely install the converter support bolts that attach the dampener and the support to the converter.
  10. Tighten

        • Tighten the converter nuts to 50 N·m (37 lb ft).
        • Tighten the converter hanger bolts to 34 N·m (25 lb ft).

    Object Number: 73084  Size: SH
  11. Install the transmission support crossmember. Refer to Transmission Replacement in Automatic Transmission On-Vehicle Service.
  12. Install the front tailpipe hanger bracket rods into the upper insulator holes.
  13. Install the insulators, with the hanger bracket, onto the muffler rods.

  14. Object Number: 73084  Size: SH
  15. Install the right-hand hanger bracket to the rear crossmember.
  16. Loosely install the hanger bracket bolts.

  17. Object Number: 72949  Size: SH
  18. Install the muffler, with the intermediate pipe, to the converter.

  19. Object Number: 73084  Size: SH
  20. Install the left-hand hanger bracket to the rear crossmember.
  21. Install the hanger bracket bolts for the left-hand bracket.
  22. Tighten
    Tighten the front hanger bracket bolts/screw to 50 N·m (37 lb ft).


    Object Number: 72949  Size: SH
  23. Install the muffler, with the intermediate pipe, to the converter.
  24. Install the muffler bolts.
  25. Tighten

        • Tighten the tailpipe front hanger bracket bolts to 50 N·m (37 lb ft).
        • Tighten the resonator rear hanger bracket bolts to 17 N·m (13 lb ft).

    Object Number: 72964  Size: SH
  26. Attach the resonator rear hanger brackets to the rear frame rail.
  27. Install the resonator rear hanger bracket bolts to 17 N·m (13 lb ft).
  28. Tighten
    Tighten the rear hanger bracket bolts to 17 N·m (13 lb ft).


    Object Number: 72946  Size: SH
  29. Attach the muffler clamps onto the muffler outlets.
  30. Install the resonators.
  31. • Slide the resonator pipe into the muffler outlet, until the resonator tab contacts the bottom of the slot, located on top of the muffler outlet.
    • Attach the insulators onto the rear hanger bracket.
    •  Insert the bracket rods through the upper insulator holes.
    • Install the resonator rods into the lower insulator holes.
    • Tap the muffler clamps toward the rear of the vehicle, in order to contact the resonator tabs.

    Tighten

       • 

    Tighten the nuts on the clamp to 35 N·m (26 lb ft).

       • 

    Tighten the muffler bolts to 20 N·m (15 lb ft).


    Object Number: 72957  Size: SH
  32. Install the dampener.
  33. Install the bolts.
  34. Tighten

        • Tighten the bolts to 41 N·m (30 lb ft).
        • Ensure that the bottom edge of the dampener is horizontal.

    Object Number: 72959  Size: SH
  35. Position the converter support bracket and clamp (part of the left-hand intermediate pipe) to the front face of the converter support.
  36. Install the remaining two converter support bolts.
  37. Tighten

        • Tighten the converter support bolts to 34 N·m (25 lb ft).
        • Tighten the converter support bracket and clamp nut to 35 N·m (26 lb ft).
  38. Install the heated oxygen sensors. Refer to Heated Oxygen Sensor Replacement in Engine Controls.
  39. Lower the vehicle.