GM Service Manual Online
For 1990-2009 cars only
Makes
🢒
Chevrolet
🢒
1996
🢒
Caprice
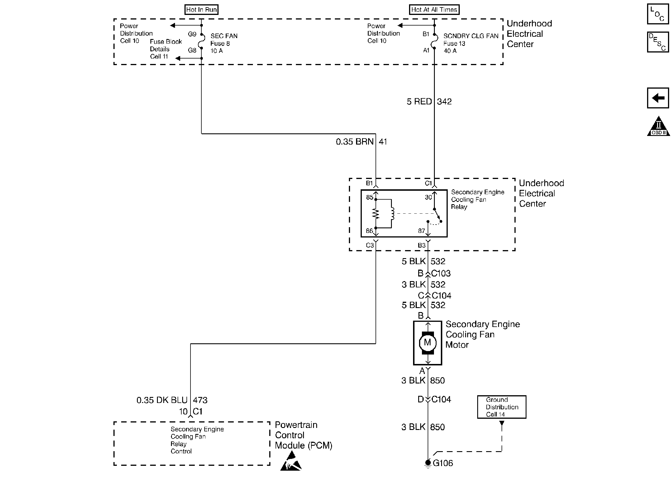
🢒 Engine Cooling Fan Control - VO8
Engine Cooling Fan Control - VO8
Engine Cooling Fan Control - VO8
Engine Controls Components
Powertrain Control Module (PCM)
Engine Cooling Fan Control - w/o VO8
OBD II Symbol Description Notice
Handling ESD Sensitive Parts Notice