GM Service Manual Online
For 1990-2009 cars only

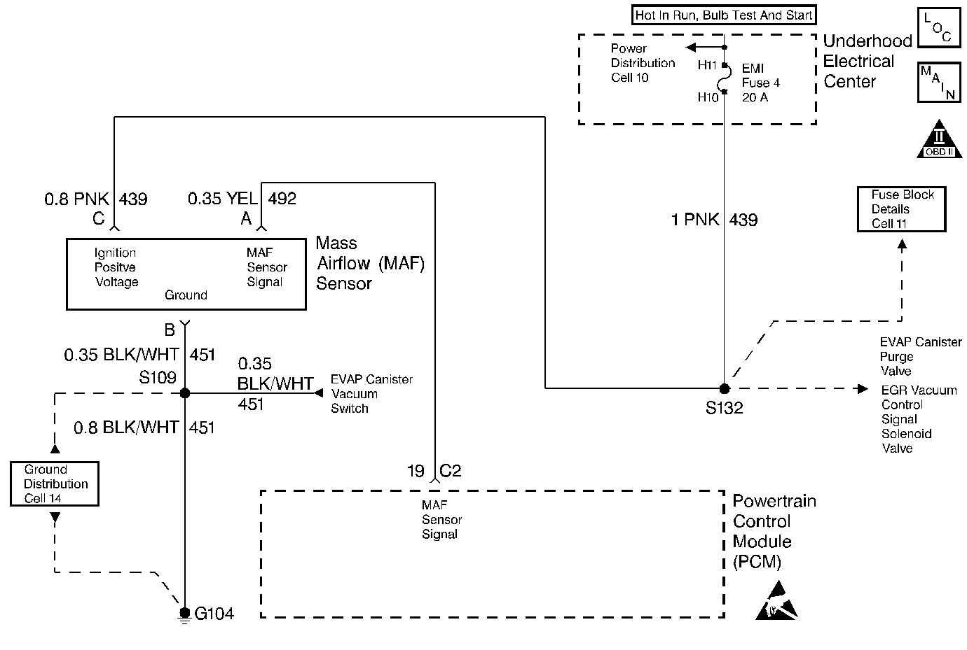
Object Number: 30411  Size: MF
Engine Controls Components
MAF, EVAP and EGR
OBD II Symbol Description Notice
Handling ESD Sensitive Parts Notice

Circuit Description

The Mass Air Flow (MAF) sensor measures the amount of air that is ingested by the engine. Direct measurement of air entering the engine is more accurate than calculating airflow from MAP, IAT and RPM (speed/density). The MAF sensor has a battery feed, ground and signal circuit.

The MAF sensor used on this vehicle is a hot wire type and is used to measure air flow rate. The MAF output frequency is a function of the power required to keep the air flow sensing elements (hot wires) at a fixed temperature above ambient temperature. Air flowing through the sensor cools the sensing elements. The amount of cooling is proportional to the amount of air flow. As air flow increases, a greater amount of current is required to maintain the hot wires at a constant temperature. The MAF sensor converts the changes in current draw to a frequency signal read by the PCM. The PCM calculates air flow (grams per second) based on this signal.

The PCM monitors the MAF sensor frequency and can determine if the sensor is stuck low, stuck high, not providing the airflow value expected for a given operating condition, or that the signal appears to be stuck based on a lack of signal variation expected during normal operation. This diagnostic checks for a stuck MAF sensor signal. If the MAF sensor frequency varies less than a predetermined minimum amount, this DTC will set.

Conditions for Setting the DTC

    • Engine running.
    • Engine speed greater than 50 RPM.
    • Ignition voltage greater than 10 volts.
    • Mass Air Flow frequency varies less than a predetermined minimum amount.
    • All conditions met for 1 second.

Action Taken When the DTC Sets

    • The PCM will illuminate the Malfunction Indicator Lamp (MIL) when the diagnostic runs and fails.
    • The PCM will use speed density (RPM, MAP, IAT) for fuel management.
    • The PCM will record operating conditions at the time the diagnostic fails. This information will be stored in the Freeze Frame and/or Failure Records.

Conditions for Clearing the MIL/DTC

    • The PCM will turn the MIL OFF after three consecutive drive trips that the diagnostic runs and does not fail.
    • A last test failed (Current DTC) will clear when the diagnostic runs and does not fail.
    • A History DTC will clear after forty consecutive warm-up cycles, if no failures are reported by this or any other emission related diagnostic.
    • PCM battery voltage is interrupted.
    • Using a Scan tool.

Diagnostic Aids

    • An intermittent may be caused by the following:
       - Mis-routed harness.
       - Rubbed through wire insulation.
       - Broken wire inside the insulation.

For intermittents, refer to Symptoms .

    • Any un-metered air may cause this DTC to set. Check for the following:
       - An engine vacuum leak.
       - The PCV system for vacuum leaks.
       - An incorrect PCV valve.
       - The engine oil dip stick not fully seated.
       - The engine oil fill cap loose or missing.

Test Description

Number(s) below refer to step numbers on the diagnostic table.

  1. Monitoring MAF sensor grams per second (gm/s) will determine if the fault is present or the malfunction is intermittent. For any test that requires back probing the PCM or component harness connectors, must use the Connector Test Adapter Kit J 35616-A. Using this kit will prevent any damage to the harness connector terminals.

  2. Using Freeze Frame and/or Failure Records data may aid in locating an intermittent condition. If the DTC cannot be duplicated, the information included in the Freeze Frame and/or Failure Records data can be useful in determining how many miles since the DTC set. The Fail Counter and Pass Counter can also be used to determine how many ignition cycles the diagnostic reported a pass and/or a fail. Operate vehicle within the same freeze frame conditions (RPM, load, vehicle speed, temperature etc.) that were noted. This will isolate when the DTC failed.

  3. This checks whether the signal circuit is open, grounded or shorted to a voltage.

  4. Verifies whether a ground circuit is available.

  5. Verifies B+ supply to the MAF sensor.

  6. Checks whether a good connection is present.

  7. Disconnecting the PCM will allow using the DVM (J 39200) to check continuity of the circuits. This will aid in locating an open or shorted circuit.

Step

Action

Value(s)

Yes

No

1

Was the Powertrain On-Board Diagnostic (OBD) System Check performed?

--

Go to Step 2

Go to Powertrain On Board Diagnostic (OBD) System Check

2

  1. Start and idle the engine.
  2. With the engine idling, monitor MAF gm/s display on the Engine 1 Data List of the scan tool.

Is MAF gm/s below the specified value?

3.9 gm/s

Go to Step 4

Go to Step 3

3

  1. Turn the ignition ON, engine OFF, review Freeze Frame and/or Failure Records data for this DTC and note parameters.
  2. Turn the ignition OFF for 15 seconds.
  3. Start the engine and operate the vehicle within the conditions required for this diagnostic to run, and as close to the conditions recorded in Freeze Frame/Failure Records as possible. Special operating conditions that need to be met before the PCM will run this diagnostic, where applicable, are listed in Conditions for Setting the DTC.
  4. Using the scan tool, select DTC, Specific, then enter the DTC number which was set.

Does the scan tool indicate that this diagnostic failed this ignition?

--

Go to Step 4

Go to Diagnostic Aids

4

  1. Turn the ignition OFF.
  2. Disconnect the MAF sensor connector.
  3. Turn the ignition ON, engine OFF.
  4. Using a DVM (J 39200), measure the voltage between the MAF signal circuit and the battery ground.

Is the voltage near the specified value?

5 V

Go to Step 5

Go to Step 8

5

Connect a test light (J 34142-B) between the MAF sensor ignition feed circuit and the ground circuit at the MAF sensor harness connector.

Is the test light on?

--

Go to Step 7

Go to Step 6

6

Connect a test light (J 34142-B) between MAF sensor ignition feed circuit and the battery ground.

Is the test light on?

--

Go to Step 9

Go to Step 10

7

  1. Check for a poor connection at the MAF sensor harness terminals.
  2. If a poor connection is found, replace faulty terminal(s).

Was a poor connection found?

--

Go to Step 13

Go to Step 11

8

  1. Disconnect the PCM.
  2. Check the MAF signal circuit between the PCM and the MAF sensor for the following:
  3. • An open circuit
    • A short to ground
    • A short to the MAF sensor ground circuit
    • A short to voltage
  4. If the MAF signal circuit is open or shorted, repair it as necessary. Refer to Repair Procedures in Electrical Diagnosis (8A Cell 5).

Was the MAF sensor signal circuit open or shorted?

--

Go to Step 13

Go to Step 12

9

Locate and repair the open in the ground circuit to the MAF sensor. Refer to Repair Procedures in Electrical Diagnosis (8A Cell 5).

Is the action complete?

--

Go to Step 13

--

10

Locate and repair the open in the ignition feed circuit to the MAF sensor. Refer to Repair Procedures in Electrical Diagnosis (8A Cell 5).

Is the action complete?

--

Go to Step 13

--

11

Replace the MAF sensor. Refer to Mass Airflow Sensor Replacement .

Is the action complete?

--

Go to Step 13

--

12

Important:: Replacement PCM must be programmed. Refer to Powertrain Control Module Replacement/Programming .

Replace the PCM.

Is the action complete?

--

Go to Step 13

--

13

  1. Using the scan tool, select DTC, Clear Info.
  2. Start engine and idle at normal operating temperature.
  3. Select DTC, Specific, then enter the DTC number which was set.
  4. Operate vehicle within the conditions for setting this DTC as specified in the supporting text, if applicable.

Does the scan tool indicate that this test ran and passed?

--

Go to Step 14

Go to Step 2

14

Using the scan tool, select Capture Info, Review Info.

Are any DTCs displayed that have not been diagnosed?

--

Go to the applicable DTC table

System OK