GM Service Manual Online
For 1990-2009 cars only

Object Number: 30397  Size: LF
Engine Controls Components
Engine Data Sensors and VSS Output
OBD II Symbol Description Notice
Handling ESD Sensitive Parts Notice
Handling ESD Sensitive Parts Notice

Circuit Description

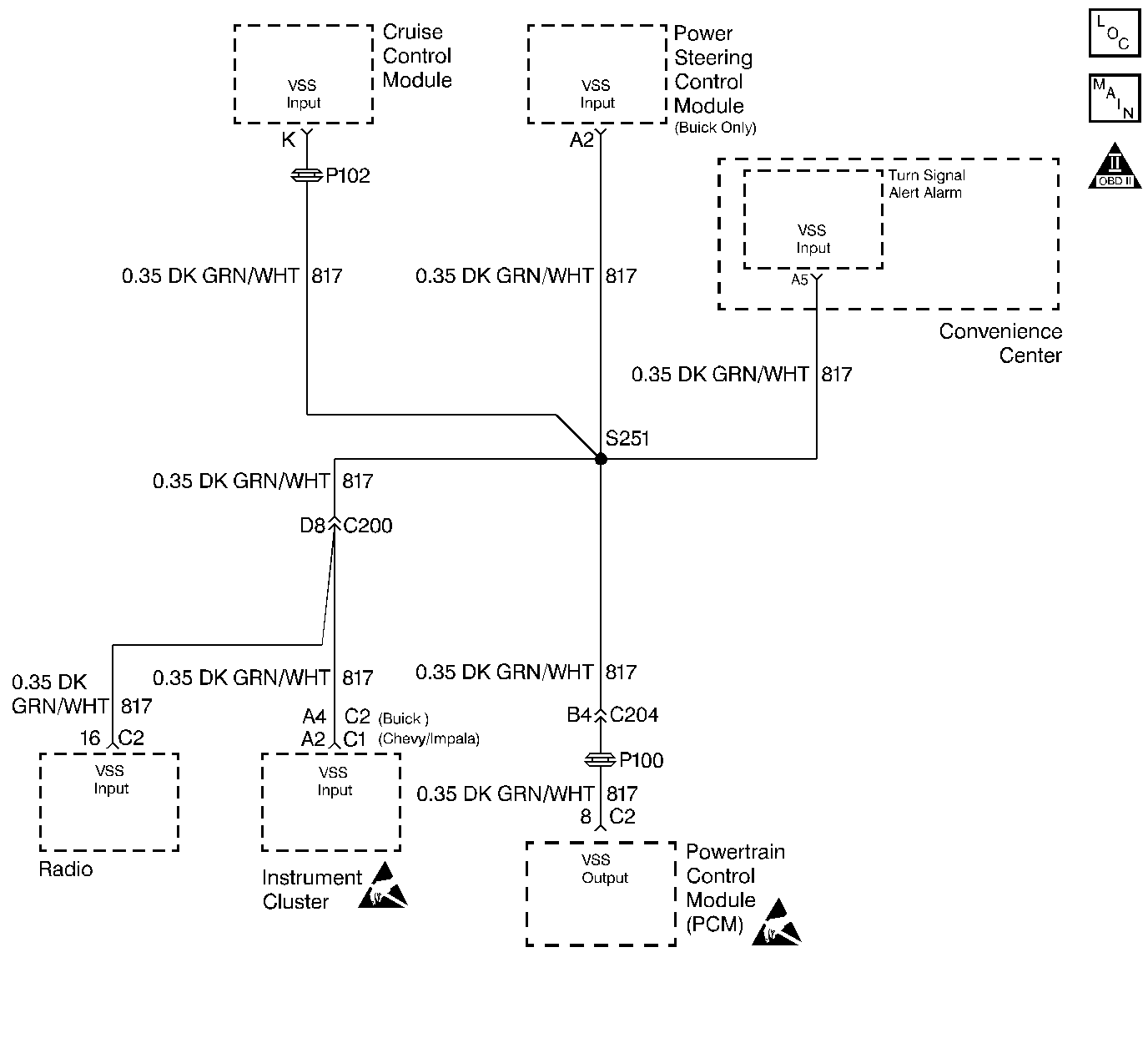
Voltage is applied to the Vehicle Speed Output circuit by the various components which use vehicle speed data. The PCM creates the Vehicle Speed Output signal by rapidly grounding this circuit via an internal switch called a driver. The driver operates at the same rate as the VSS signal input. The various components recognize the voltage being pulled to ground as an indication of vehicle speed.

The primary function of the driver is to supply the ground for the component being controlled. Each driver has a fault line which is monitored by the PCM. When the PCM is commanding a component ON, the voltage of the control circuit should be low (near 0 volts). When the PCM is commanding the control circuit to a component OFF, the voltage potential of the circuit should be high (near battery voltage). If the fault detection circuit senses a voltage other than what is expected, the fault line status will change causing the DTC to set.

Conditions for Setting the DTC

    • Engine speed greater than 600 RPM.
    • The PCM detects that the commanded state of the driver and the actual state of the control circuit do not match.
    • Condition must be present for a minimum of 25.5 seconds.

Action Taken When the DTC Sets

    • The DTC will be stored in the PCM memory when the diagnostic runs and fails.
    • The Malfunction Indicator Lamp (MIL) will not illuminate.
    • The PCM will record operating conditions at the time the diagnostic fails. This information will be stored in Failure Records.

Conditions for Clearing the MIL/DTC

    • A history DTC will clear after 40 consecutive warm-up cycles, if no failures are reported by this or any other non-emission related diagnostic.
    • A last test failed (Current DTC) will clear when the diagnostic runs and does not fail.
    • PCM battery voltage is interrupted.
    • Using a scan tool.

Diagnostic Aids

Using Freeze Frame and/or Failure Records data may aid in locating an intermittent condition. If the DTC cannot be duplicated, the information included in the Freeze Frame and/or Failure Records data can be useful in determining how many miles since the DTC set. The Fail Counter and Pass Counter can also be used to determine how many ignition cycles the diagnostic reported a pass and/or a fail. Operate vehicle within the same freeze frame conditions (RPM, load, vehicle speed, temperature etc.) that were noted. This will isolate when the DTC failed. For intermittents, refer to Symptoms .

Test Description

Number(s) below refer to step numbers on the diagnostic table.

  1. Further circuit diagnosis may require I/P removal. The circuit from the PCM to the speedometer must be checked for being open, shorted to ground or voltage. If no trouble is found, follow the appropriate I/P diagnostic procedure.

DTC P1652 - Vehicle Speed Sensor (VSS) Output Circuit

Step

Action

Value(s)

Yes

No

1

Was the Powertrain On-Board Diagnostic (OBD) System Check performed?

--

Go to Step 2

Go to Powertrain On Board Diagnostic (OBD) System Check

2

Important:: Do Not perform this test without supporting the lower control arms so that the drive axles are in a normal horizontal position. Running the vehicle with the wheels hanging down at full travel may damage the drive axles.

  1. Turn the ignition OFF.
  2. Raise the drive wheels.
  3. Start the engine.
  4. Disable ASR/TCS systems (if so equipped).
  5. Engine idling in gear.

Does the vehicles speedometer indicate vehicle speed?

--

Go to Diagnostic Aids

Go to Step 3

3

  1. Turn the ignition OFF.
  2. Disconnect the PCM connector C2.
  3. Install the Signal Generator Tester (J 33431-B) to PCM harness connector terminal C2-8 (one terminal connected to terminal C2-8 and the other to ground).
  4. Turn the ignition ON, Tester ON and set to generate a vehicle speed signal.

Does the vehicles speedometer indicate vehicle speed?

--

Go to Step 4

Further diagnosis of circuit required. Go toSection 8A-33

4

Check for faulty connections at the PCM.

Was a problem found and corrected?

--

Go to Step 6

Go to Step 5

5

Important: The replacement PCM must be programmed. Refer to Powertrain Control Module Replacement/Programming .

Replace the PCM.

Is the action complete?

--

Go to Step 6

--

6

  1. Using the scan tool, select DTC, Clear Info.
  2. Start the engine and idle at normal operating temperature.
  3. Select DTC, Specific, then enter the DTC number which was set.
  4. Operate the vehicle within the conditions for setting this DTC as specified in the supporting text, if applicable.

Does the scan tool indicate that this test ran and passed?

--

Go to Step 7

Go to Step 2

7

Using the scan tool, select Capture Info, Review Info.

Are any DTCs displayed that have not been diagnosed?

--

Go to the applicable DTC table

System OK