GM Service Manual Online
For 1990-2009 cars only

Cleaning Procedure

    Important: DO NOT wire brush any part of the piston.

  1. Clean the piston skirts and the pins with a cleaning solvent.
  2. Clean the piston ring grooves with a groove cleaner. Ensure that the oil ring holes and slots are clean.
  3. Caution: Refer to Safety Glasses Caution in the Preface section.

  4. Dry the piston with compressed air.

Piston Inspection Procedure


    Object Number: 1959121  Size: SH
  1. Inspect the pistons for the following conditions:
  2. • Cracked ring lands, skirts or pin bosses
    • Ring grooves for nicks, burrs that may cause binding (5)
    • Warped or worn ring lands (5)
    • Piston pin retainer grooves for burrs (2)
    • Eroded areas at the top of the piston (1)
    • Scuffed or damaged skirt coating (4)
    • Worn piston pin bores or worn piston pins (3)
  3. Replace pistons that show any signs of damage or wear above acceptable tolerances.

Piston Measurement Procedure


    Object Number: 1960666  Size: SH
  1. Measure piston width using the following procedure:
  2. 1.1. Using an outside micrometer, measure the width of the piston at 30 mm (1.181 in) below the crown, top (1), at the thrust surfaces of the piston, perpendicular to the piston pin centerline.
    1.2. Compare the measurement of the piston to its original cylinder by subtracting the piston width from the cylinder diameter.
    1.3. Compare your results with the Engine Mechanical Specifications.
    1.4. If the clearance obtained through measurement is greater than the provided specifications and the cylinder bores are within specification, replace the piston.

    Object Number: 1960668  Size: SH
  3. Measure the piston pin bore to piston pin (2) clearances using the following procedure:
  4. 2.1. Piston pin bores and pins must be free of varnish or scuffing.
    2.2. Use an outside micrometer (1) to measure the piston pin in the piston contact areas.

    Object Number: 1960669  Size: SH
  5. Using an inside micrometer, measure the piston pin bore (1). Compare your result with the piston pin diameter and piston pin to piston pin bore clearance listed in the Engine Mechanical Specifications.
  6. If the clearance is above acceptable tolerances, determine which piece is out of specification and replace as necessary.
  7. You must replace the piston if any of its dimensions are out of specification.
  8. If the new piston does not meet clearance specifications, the cylinder block may need to be oversized to 0.25 mm (0.010 in). There is only one size of oversized pistons and rings available for service.

Piston Ring Measurement Procedure


    Object Number: 1960671  Size: SH
  1. Measure the piston ring end gap using the following procedure:
  2. 1.1. Place the piston ring (1) in the area of the bore where the piston ring will travel approximately 25 mm (1 in) down from the deck surface. Make sure that the piston ring (1) is square with the cylinder bore by positioning the piston ring (1) with the piston head.
    1.2. Measure the end gap of the piston ring (1) with feeler gauges (2). Refer to Engine Mechanical Specifications.
    1.3. If the clearance exceeds the provided specifications, the piston rings (1) must be replaced.
    1.4. Repeat the procedure for all the piston rings (1).

    Object Number: 1960672  Size: SH
  3. Measure the piston ring (1) side clearance using the following procedure:
  4. 2.1. Roll the piston ring (1) entirely around the piston ring groove. If any binding is caused by the ring groove, dress the groove with a fine file. If any binding is caused by a distorted piston ring (1), replace the piston ring (1).
    2.2. With the piston ring (1) on the piston, use feeler gauges (2) to check clearance at multiple locations.
    2.3. Compare the measurements with piston ring side clearance listed in the Engine Mechanical Specifications.
    2.4. If the clearance is greater than specifications, replace the piston ring (1).

    Object Number: 1960673  Size: SH
  5. There is a locating dimple (1) on the compression rings near the end for identification. Install the compression rings with the dimple facing up.
  6. If the new ring does not reduce the clearance to the correct specification, install a new piston.
  7. If the new piston does not meet clearance specifications, the cylinder block may need to be oversized to 0.25 mm (0.010 in). There is only one size of oversized pistons and rings available for service.

Connecting Rod Cleaning Procedure

  1. Clean the connecting rods in solvent.
  2. Caution: Refer to Safety Glasses Caution in the Preface section.

  3. Dry the connecting rod using compressed air.
  4. Remove the connecting rod cap and clean the threads.
  5. Remove the connecting rod bearing and discard. Never reuse a connecting rod bearing used in a running engine.

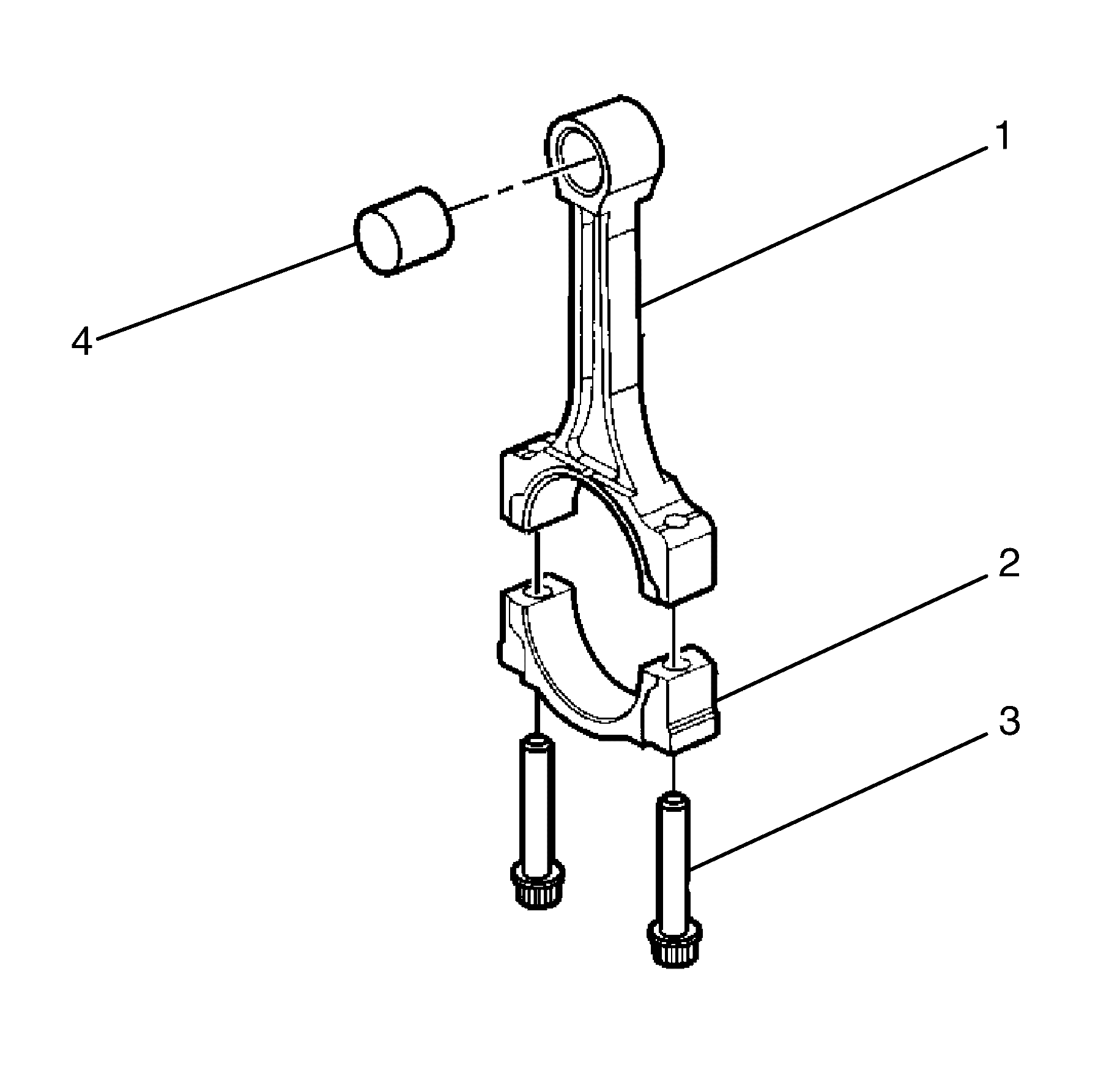
Connecting Rod Visual Inspection Procedure


    Object Number: 1960674  Size: SH
  1. Inspect the piston pin bushing (4) for scoring or damage.
  2. Inspect the connecting rod beam (1) for twisting or bending.
  3. Inspect the rod cap (2) for any nicks or damage caused by possible interference.
  4. Inspect for scratches or abrasion on the rod bearing seating surface.
  5. Important: DO NOT scrape the rod or rod cap.

  6. If the connecting rod bores contain minor scratches or abrasions, clean the bores in a circular direction with a light emery paper.
  7. Inspect the connecting rod bolts (3) for damage or stretching.

Connecting Rod Measurement Procedure

Piston Pin End


    Object Number: 1960675  Size: SH

    Important: Measurements of all components should be taken with the components at normal room temperature.

  1. Using an outside micrometer (1), take 2 measurements of the piston pin (2) in the area of the connecting rod contact.

  2. Object Number: 1960676  Size: SH
  3. Using an inside micrometer, measure the connecting rod piston pin bore (1).
  4. Subtract the piston pin diameter from the piston pin bore (1).
  5. Compare the clearance measurements with the Engine Mechanical Specifications.
  6. If the clearance is above acceptable tolerances, replace the piston pin. If a new pin does not resolve the clearance condition, replace the connecting rod.

Connecting Rod Crankshaft Bearing End


    Object Number: 1960677  Size: SH

    Important: Measurements of all components should be taken with the components at normal room temperature.

  1. Using an inside micrometer, measure the connecting rod crankshaft bearing bore (1).
  2. Compare the bore measurements with the Engine Mechanical Specifications.
  3. Replace the connecting rod if the connecting rod crankshaft bearing bore (1) is out of specifications. DO NOT recondition the connecting rod.