GM Service Manual Online
For 1990-2009 cars only

Oil Pan Replacement RHD

Removal Procedure

    Caution: Refer to Battery Disconnect Caution in the Preface section.

  1. Disconnect the battery ground cable. Refer to Battery Negative Cable Disconnection and Connection .
  2. Caution: Refer to Safety Glasses Caution in the Preface section.

    Caution: Refer to Vehicle Lifting Caution in the Preface section.

  3. Raise and support the vehicle. Refer to Lifting and Jacking the Vehicle .
  4. Drain the engine oil. Refer to Engine Oil and Oil Filter Replacement .
  5. Remove the engine splash shield. Refer to Engine Splash Shield Replacement .
  6. Remove the front air deflector. Refer to Front Air Deflector Replacement .

  7. Object Number: 1957815  Size: SH

    Important: Observing the orientation of the intermediate steering shaft (1) with reference to the pinion shaft (3) will minimise the potential of incorrect steering column assembly alignment.

    Important: Bolts with micro-encapsulated thread sealant must be discarded after removal.

  8. Mark the intermediate steering shaft (1) in relation to the pinion shaft (3) and discard.
  9. Discard the bolt.

  10. Remove the intermediate steering shaft to pinion shaft retaining bolt (2).
  11. Important: Make sure the bolt hole is thoroughly cleaned and all micro-encapsulated thread sealant is removed.

  12. Disconnect the intermediate shaft (2) from the pinion shaft (3).
  13. Clean the bolt hole.


    Object Number: 1958071  Size: SH
  14. Remove the steering gear to subframe retaining bolts (1).
  15. Slide the steering gear forward to gain full access to the sump.

  16. Object Number: 1958074  Size: SH
  17. Disconnect the oil level/temperature sensor electrical connector (1).

  18. Object Number: 1958125  Size: SH
  19. Remove the front cover to oil pan retaining bolts (1).

  20. Object Number: 1958127  Size: SH
  21. Remove the transmission to oil pan retaining bolts (1).

  22. Object Number: 1958129  Size: SH
  23. Remove the M6 rear oil pan to ccrankshaft rear oil seal housing retaining bolts (4).
  24. Remove the M8 oil pan to cylinder block retaining bolts (5).
  25. Important: Using the pry points (1 and 3) to shear the RTV sealant.

  26. Remove the oil pan (2) from the cylinder block.
  27. Perform the following steps as necessary.
  28. • Disassemble the oil pan. Refer to Oil Pan Disassemble .
    • Clean and inspect the oil pan. Refer to Oil Pan Cleaning and Inspection .

Installation Procedure

  1. Assemble the oil pan as necessary. Refer to Oil Pan Assemble .

  2. Object Number: 1958130  Size: SH
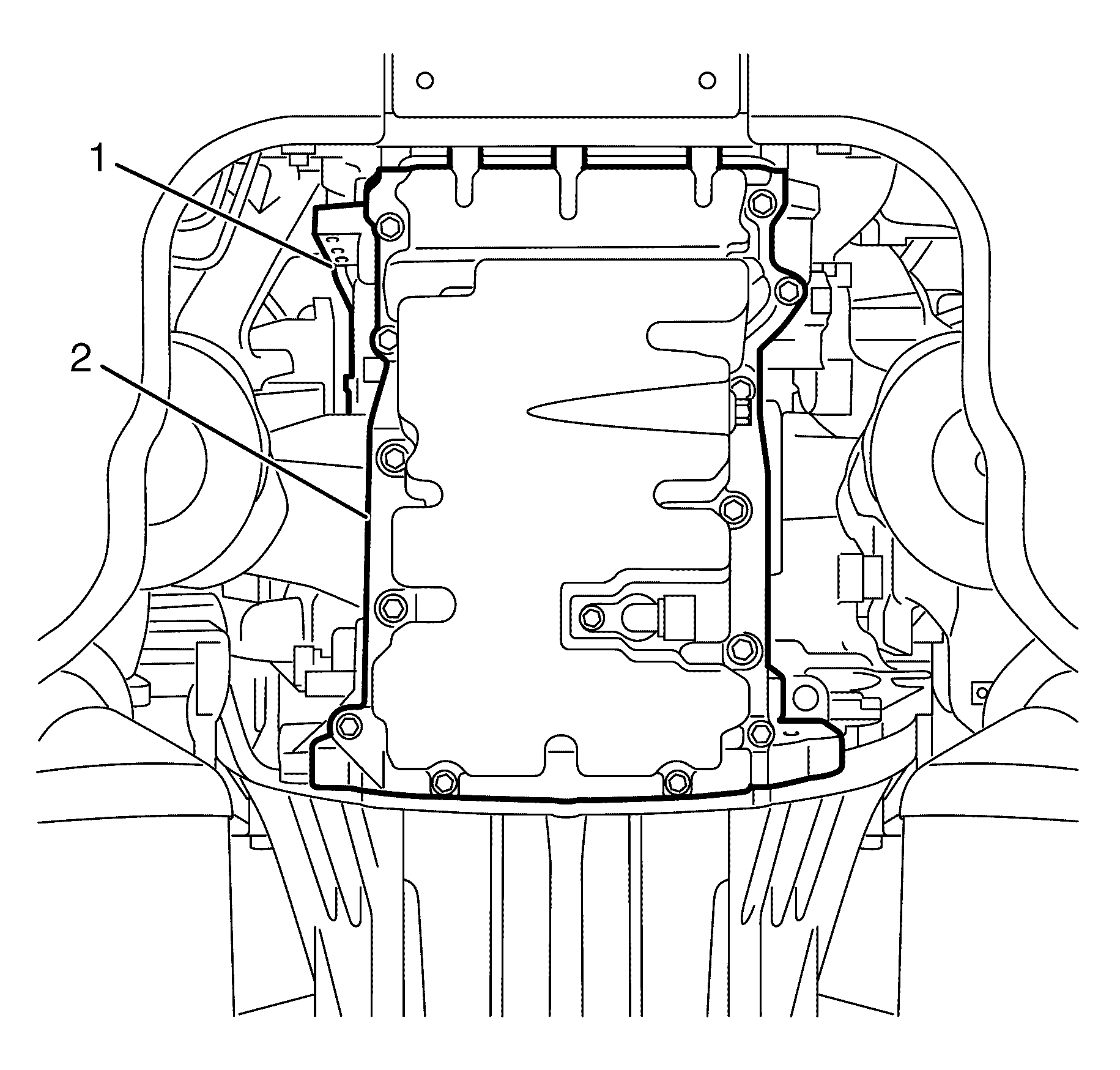
  3. Place a three mm (0.118 in) bead of RTV sealant (1) on the block pan rail and the crankshaft rear oil seal housing.

  4. Object Number: 1958131  Size: SH
  5. Position the oil pan (1) onto the engine block (2).
  6. Notice: Refer to Fastener Notice in the Preface section.


    Object Number: 1958132  Size: SH
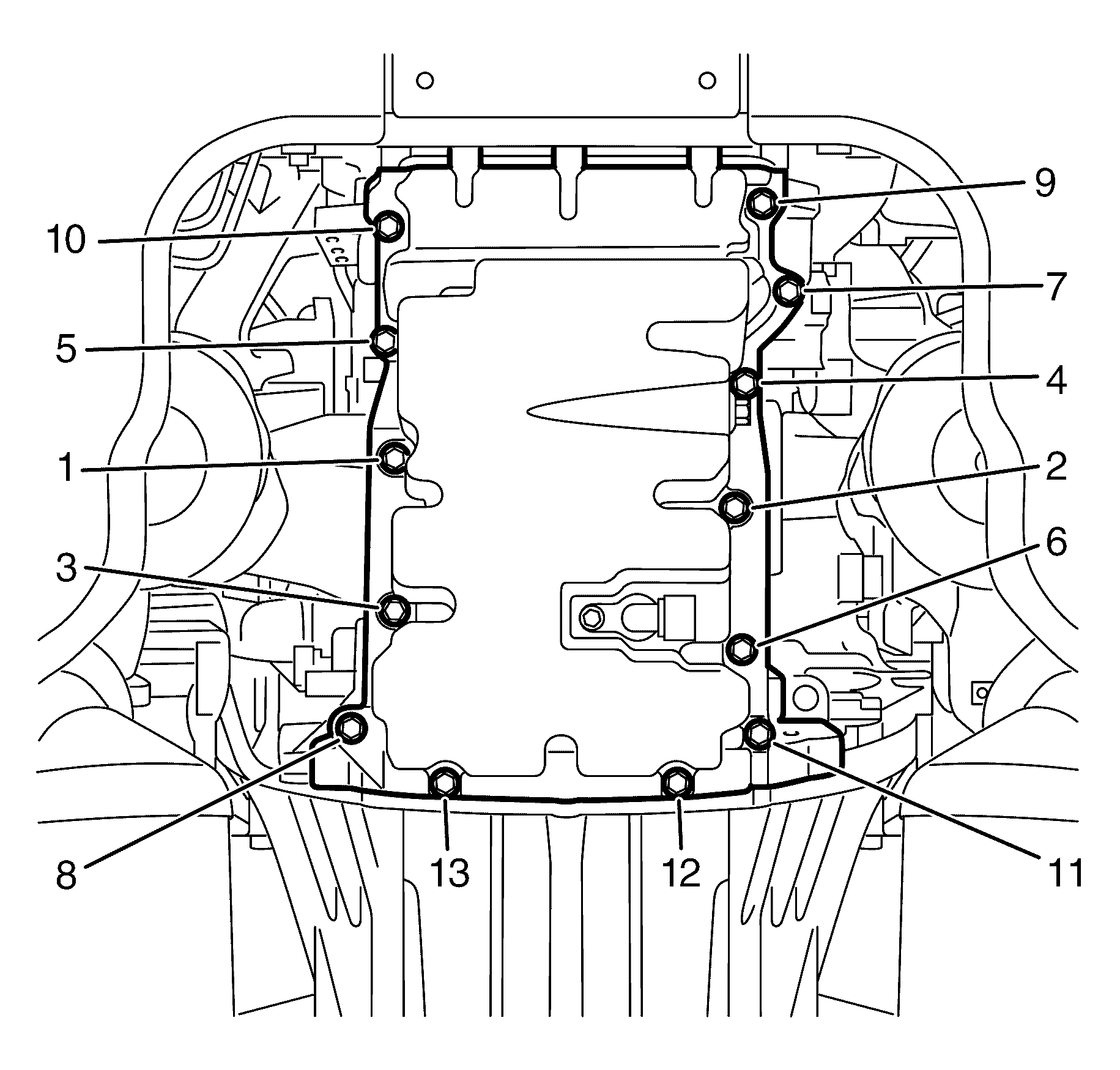
  7. Install the M8 oil pan to cylinder block retaining bolts (1-11).
  8. Install the M6 oil pan to crankshaft rear oil seal housing retaining bolts (12, 13).
  9. Tighten
    Tighten the M6 bolts (12, 13) to 10 N·m (89 lb in).

  10. Tighten the M8 oil pan to cylinder block retaining bolts (1-11) and M6 oil pan to crankshaft rear oil seal housing retaining bolts (12, 13) in the sequence shown.
  11. Tighten
    Tighten the M8 bolts (1-11) to 23 N·m (17 lb ft).


    Object Number: 1958127  Size: SH
  12. Install the transmission to oil pan retaining bolts (1).
  13. Tighten
    Tighten the bolts to 48 N·m (17 lb ft).


    Object Number: 1958125  Size: SH
  14. Install the front cover to oil pan retaining bolts (1).
  15. Tighten
    Tighten the bolts to 23 N·m (17 lb ft).


    Object Number: 1958074  Size: SH
  16. Connect the oil level/temperature sensor electrical connector (1) to the oil level/temperature sensor.
  17. Position the steering gear in the correct location.

  18. Object Number: 1958071  Size: SH
  19. Install the steering gear to subframe retaining bolts (1).
  20. Tighten
    Tighten the Bolts to 65 N·m (48 lb ft).


    Object Number: 1957815  Size: SH

    Important: The intermediate steering shaft and pinion shaft splines must be installed in the position recorded during removal and aligned with the marks previously made.

  21. Connect the intermediate steering shaft (1) to the pinion shaft (3).
  22. Install the NEW intermediate steering shaft to pinion shaft retaining bolt (2).
  23. Tighten
    Tighten the bolt to 25 N·m (16 lb ft).

  24. Install the engine splash shield. Refer to Engine Splash Shield Replacement .
  25. Install the front air deflector. Refer to Front Air Deflector Replacement .
  26. Lower the vehicle to the ground
  27. Fill the engine with new engine oil. Refer to Engine Oil and Oil Filter Replacement .
  28. Connect the battery ground cable. Refer to Battery Negative Cable Disconnection and Connection .

Oil Pan Replacement LHD

Removal Procedure

    Caution: Refer to Battery Disconnect Caution in the Preface section.

  1. Disconnect the battery ground cable. Refer to Battery Negative Cable Disconnection and Connection .
  2. Caution: Refer to Safety Glasses Caution in the Preface section.

    Caution: Refer to Vehicle Lifting Caution in the Preface section.

  3. Raise and support the vehicle. Refer to Lifting and Jacking the Vehicle .
  4. Drain the engine oil. Refer to Engine Oil and Oil Filter Replacement .
  5. Remove the engine splash shield. Refer to Engine Splash Shield Replacement .
  6. Remove the front air deflector. Refer to Front Air Deflector Replacement .

  7. Object Number: 1961761  Size: SH

    Important: Observing the orientation of the intermediate steering shaft (1) with reference to the pinion shaft (3) will minimise the potential of incorrect steering column assembly alignment.

  8. Mark the intermediate steering shaft (1) in relation to the pinion shaft (3).
  9. Important: Bolts with micro-encapsulated thread sealant must be discarded after removal.

  10. Remove the intermediate steering shaft to pinion shaft retaining bolt (2) and discard.
  11. Discard the bolt.

    Important: Make sure all the bolt hole is thoroughly cleaned and all micro-encapsulated thread sealant is removed.

  12. Disconnect the intermediate shaft (2) from the pinion shaft (3).
  13. Clean the bolt hole.


    Object Number: 1958071  Size: SH
  14. Remove the steering gear to subframe retaining bolts (1).
  15. Slide the steering gear forward to gain full access to the sump.

  16. Object Number: 1958074  Size: SH
  17. Disconnect the oil level/temperature sensor electrical connector (1) from the oil level/temperature sensor.

  18. Object Number: 1958125  Size: SH
  19. Remove the front cover to oil pan retaining bolts (1).

  20. Object Number: 1958127  Size: SH
  21. Remove the transmission to oil pan retaining bolts (1).

  22. Object Number: 1958129  Size: SH
  23. Remove the rear oil pan to cylinder block retaining bolts (4).
  24. Remove the oil pan to cylinder block retaining bolts (5).
  25. Important: Using the pry points (1 and 3) to shear the RTV sealant.

  26. Remove the oil pan (2) from the engine block.
  27. Perform the following steps as necessary.
  28. • Disassemble the oil pan. Refer to Oil Pan Disassemble .
    • Clean and inspect the oil pan. Refer to Oil Pan Cleaning and Inspection .

Installation Procedure

  1. Assemble the oil pan as necessary. Refer to Oil Pan Assemble .

  2. Object Number: 1958130  Size: SH
  3. Place a three mm (0.118 in) bead of RTV sealant (1) on the block pan rail and the crankshaft rear oil seal housing.

  4. Object Number: 1958131  Size: SH
  5. Position the oil pan (1) onto the engine block (2).
  6. Notice: Refer to Fastener Notice in the Preface section.


    Object Number: 1958132  Size: SH
  7. Install the oil pan to cylinder block retaining bolts in the sequence shown.
  8. Tighten

        • Tighten the eight mm bolts (1-11) to 23 N·m (17 lb ft).
        • Tighten the six mm bolts (12, 13) to 10 N·m (89 lb in).

    Object Number: 1958127  Size: SH
  9. Install the transmission to oil pan retaining bolts (1).
  10. Tighten
    Tighten the bolts to 48 N·m (17 lb ft).


    Object Number: 1958125  Size: SH
  11. Install the front cover to oil pan retaining bolts (1).
  12. Tighten
    Tighten the bolts to 23 N·m (17 lb ft).


    Object Number: 1958074  Size: SH
  13. Connect the oil level/temperature sensor electrical connector (1) to the oil level/temperature sensor.
  14. Position the steering gear in the correct location.

  15. Object Number: 1958071  Size: SH
  16. Install the steering gear to subframe retaining bolts (1).
  17. Tighten
    Tighten the Bolts to 65 N·m (48 lb ft).


    Object Number: 1961761  Size: SH

    Important: The intermediate steering shaft and pinion shaft splines must be installed in the position recorded during removal and aligned with the marks previously made.

  18. Connect the intermediate steering shaft (1) to the pinion shaft (3).
  19. Install the NEW intermediate steering shaft to pinion shaft retaining bolt (2).
  20. Tighten
    Tighten the bolt to 25 N·m (16 lb ft).

  21. Install the engine splash shield. Refer to Engine Splash Shield Replacement .
  22. Install the front air deflector. Refer to Front Air Deflector Replacement .
  23. Lower the vehicle to the ground
  24. Fill the engine with new engine oil. Refer to Engine Oil and Oil Filter Replacement .
  25. Connect the battery ground cable. Refer to Battery Negative Cable Disconnection and Connection .