GM Service Manual Online
For 1990-2009 cars only

Removal Procedure

    Caution: Refer to Protective Goggles and Glove Caution in the Preface section.

    Caution: Refer to Vehicle Lifting Caution in the Preface section.

  1. Disconnect the battery ground cable from the battery. Refer to Battery Negative Cable Disconnection and Connection .
  2. Raise and support the vehicle. Refer to Lifting and Jacking the Vehicle .
  3. Remove the starter. Refer to Starter Motor Replacement .

  4. Object Number: 1954045  Size: SH
  5. Disconnect the crankshaft position (CKP) sensor electrical connector (2) from the wiring harness (1).

  6. Object Number: 1950752  Size: SH
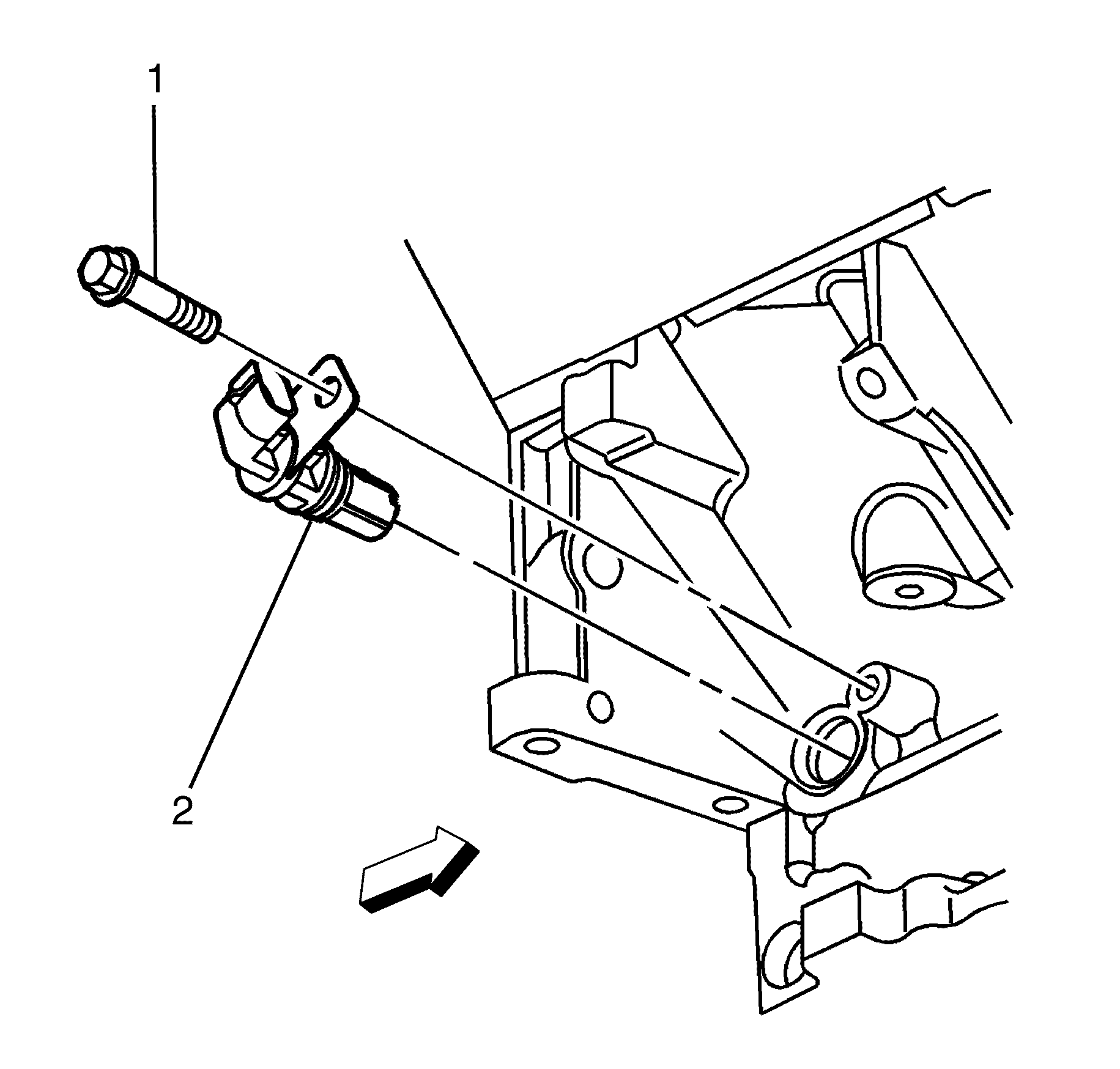
  7. Remove the CKP sensor to engine block retaining bolt (1).
  8. Remove the CKP sensor (2) from the engine block.

Installation Procedure


    Object Number: 1950752  Size: SH
  1. Install the CKP sensor (2) to the engine block.
  2. Notice: Refer to Fastener Notice in the Preface section.

  3. Install the CKP sensor to engine block retaining bolt (1).
  4. Tighten
    Tighten the bolt to 25 N·m (18 lb ft).


    Object Number: 1954045  Size: SH
  5. Connect the CKP sensor electrical connector (2) to the wiring harness (1).
  6. Install the starter. Refer to Starter Motor Replacement .
  7. Lower the vehicle.
  8. Connect the battery ground cable to the battery. Refer to Battery Negative Cable Disconnection and Connection .
  9. If re-programming is required. Refer to Control Module References .