GM Service Manual Online
For 1990-2009 cars only
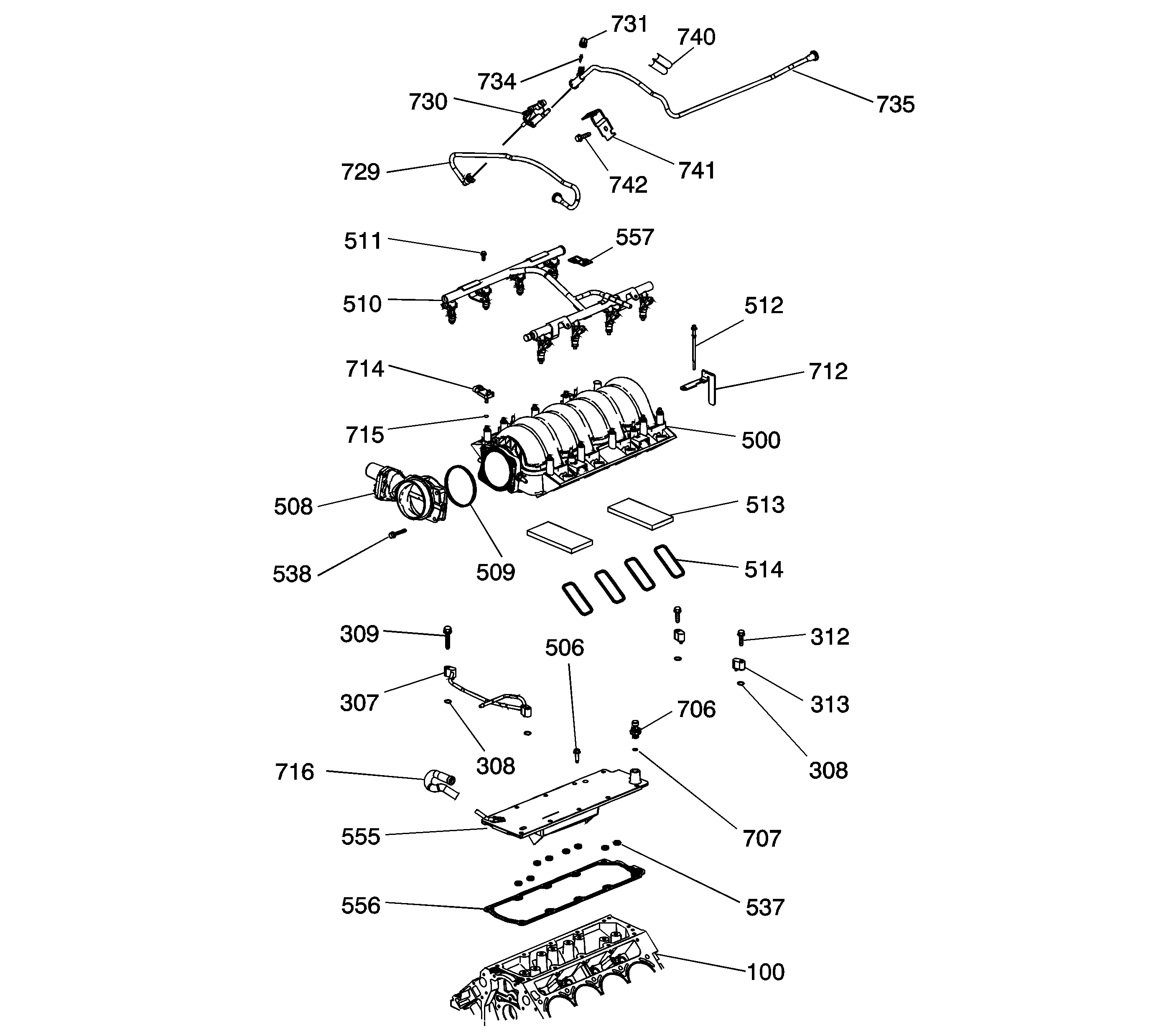
Figure 1:

Intake Manifold/Upper Engine


Object Number: 1408839  Size: LF
(1)Evaporative Emission (EVAP) Canister Purge Tube
(2)EVAP Canister Purge Solenoid Valve
(3)Service Valve
(4)Service Valve Cap
(5)EVAP Tube Clip
(6)EVAP Canister Purge Tube
(7)EVAP Purge Valve Bracket
(8)EVAP Purge Valve Bracket Retaining Bolt
(9)Fuel Rail Ground Strap
(10)Fuel Injection Fuel Rail Stop Bracket Retaining Bolt
(11)Fuel Injection Fuel Rail Stop Bracket
(12)Intake Manifold
(13)Intake Manifold Gasket
(14)Engine Coolant Air Bleed Cover Retaining Bolt
(15)Engine Coolant Air Bleed Cover
(16)Engine Coolant Air Bleed Cover Seal
(17)Oil Pressure Sensor
(18)Oil Pressure Sensor Washer
(19)Engine Block
(20)Valley Cover Gasket
(21)Valley Cover
(22)Positive Crankcase Ventilation (PCV) Hose - Dirty Air
(23)Engine Coolant Air Bleed Pipe Seal
(24)Valley Cover Retaining Bolt
(25)Engine Coolant Air Bleed Pipe
(26)Engine Coolant Air Bleed Pipe Retaining Bolt
(27)Throttle Body Gasket
(28)Throttle Body Retaining Bolt
(29)Throttle Body
(30)Manifold Absolute Pressure (MAP) Sensor Seal
(31)Manifold Absolute Pressure (MAP) Sensor
(32)Fuel Rail with Injectors
(33)Fuel Rail Bolt
Figure 2:

Cylinder Head/Upper Engine


Object Number: 1958023  Size: LF
(1)Positive Crankcase Ventilation (PCV) Hose - Fresh Air
(2)Oil Fill Cap
(3)Oil Fill Cap O-Ring
(4)Oil Fill Tube
(5)Oil Fill Tube O-Ring
(6)Valve Rocker Arm Cover
(7)Valve Rocker Arm Cover Gasket
(8)Ignition Coil Bracket
(9)Ignition Coil Bracket Stud
(10)Ignition Coil
(11)Ignition Coil Wire Harness Assembly
(12)Ignition Coil Retaining Bolt
(13)Spark Plug Wire
(14)Valve Rocker Arm Cover Cap Plug
(15)Valve Rocker Arm Cover Gasket
(16)Valve Stem Key
(17)Valve Spring Cap
(18)Valve Spring
(19)Valve Stem Oil Seal
(20)Cylinder Head Core Hole Plug
(21)Spark Plug
(22)Intake Valve
(23)Exhaust Manifold Gasket
(24)Exhaust Manifold
(25)Exhaust Manifold Retaining Bolt
(26)Exhaust Manifold Heat Shield
(27)Exhaust Manifold Stud
(28)Exhaust Manifold Retaining Bolt
(29)Cylinder Head Plug
(30)Engine Coolant Temperature Sensor
(31)Exhaust Valve
(32)Cylinder Head Locating Pin
(33)Core Hole Plug
(34)Cylinder Head Gasket
(35)Cylinder Head
(36)Cylinder Head Bolt - M8
(37)Cylinder Head Bolt - M11
(38)Valve Rocker Arm Cover
(39)Valve Rocker Arm Cover Bolt Grommet
(40)Valve Rocker Arm Cover Bolt
(41)Valve Rocker Arm Retaining Bolt
(42)Valve Rocker Arm Pivot Support
(43)Valve Lifter Guide Retaining Bolt
(44)Valve Lifter
(45)Engine Block
(46)Valve Lifter Guide
(47)Pushrod
(48)Valve Rocker Arm
Figure 3:

Front of Engine


Object Number: 1958026  Size: LF
(1)Thermostat Housing
(2)Thermostat
(3)Water Pump
(4)Water Pump Gasket
(5)Water Pump Retaining Bolt
(6)Thermostat Housing Retaining Bolt
(7)Oil Level Indicator O-Ring
(8)Oil Level Indicator
(9)Oil Level Indicator Tube Retaining Bolt
(10)Oil Level Indicator Tube
(11)Oil Level Indicator Tube O-Ring
(12)Engine Block
(13)Camshaft Bearings
(14)Camshaft
(15)Camshaft Sprocket Locating Pin
(16)Crankshaft Sprocket
(17)Timing Chain
(18)Camshaft Position (CMP) Sensor O-Ring Seal
(19)CMP Sensor
(20)Crankshaft Balancer Retaining Bolt
(21)Crankshaft Balancer
(22)Crankshaft Front Oil Seal
(23)CMP Sensor Retaining Bolt
(24)Engine Front Cover Retaining Bolt
(25)Engine Front Cover
(26)Engine Front Cover Gasket
(27)Timing Chain Tensioner Bolt
(28)Timing Chain Tensioner
(29)Camshaft Retaining Bolt
(30)Camshaft Sprocket
(31)Camshaft Retainer Retaining Bolt
(32)Camshaft Retainer
(33)Oil Pump Retaining Bolt
(34)Oil Pump
(35)Oil Pump O-Ring Seal
(36)Oil Pump Suction Pipe
(37)Oil Pump Suction Pipe Retaining Nut
(38)Oil Pump Suction Pipe Retaining Bolt
(39)Oil Pressure Relief Valve
(40)Oil Pressure Relief Valve Spring
(41)Oil Pressure Relief Valve Bore Plug
(42)Oil Pump Driven Gear
(43)Oil Pump Drive Gear
(44)Oil Pump Cover
(45)Oil Pump Cover Bolt
Figure 4:

Rear of Engine


Object Number: 1958034  Size: LF
(1)Engine Block
(2)Crankshaft Rear Oil Seal Housing Gasket
(3)Crankshaft Rear Oil Seal Housing
(4)Crankshaft Rear Oil Seal Housing Retaining Bolt
(5)Crankshaft Rear Oil Seal
(6)Flex Plate - Automatic Transmission
(7)Flex Plate - Automatic Transmission Retaining Bolt
(8)Clutch Pressure Plate Retaining Bolt - Manual Transmission
(9)Clutch Pressure Plate - Manual Transmission
(10)Clutch Plate - Manual Transmission
(11)Clutch Pressure Plate Locating Pin - Manual Transmission
(12)Flywheel - Manual Transmission
(13)Clutch Pilot Bearing - Manual Transmission
(14)Flywheel Retaining Bolt - Manual Transmission
Figure 5:

Lower Engine Assembly


Object Number: 1958028  Size: LF
(100)Engine Block
(2)Piston Pin
(3)Piston Pin Retainer
(4)Piston Ring Set
(5)Piston
(6)Connecting Rod
(7)Connecting Rod Bearing
(8)Connecting Rod Cap
(9)Connecting Rod Bolt
(10)Crankshaft Bearing
(11)Crankshaft Bearing
(12)Crankshaft Bearing Cap
(13)Crankshaft Bearing Cap Bolt - M8
(14)Crankshaft Oil Deflector
(15)Oil Pan Gasket
(16)Oil Pan Baffle Retaining Bolt
(17)Oil Pan Baffle
(18)Left Side Close Out Cover
(19)Left Side Close Out Cover Retaining Bolt
(20)Oil Pan Cover Gasket
(21)Oil Pan Cover
(22)Oil Pan Cover Retaining Bolt
(23)Oil Filter Fitting
(24)Oil Filter
(25)Oil Pan Retaining Bolt
(26)Oil Pan Drain Plug
(27)Oil Pan Retaining Bolt
(28)Oil Pan
(29)Engine Oil Level Indicator Switch O-Ring
(30)Engine Oil Level Indicator Switch
(31)Right Side Close Out Cover
(32)Right Side Close Out Cover Retaining Bolt
(33)Oil Pump Suction Pipe Retaining Nut
(34)Oil Pump Suction Pipe Retaining Bolt
(35)Oil Pump O-Ring Seal
(36)Oil Pump Suction Pipe
(37)Crankshaft Oil Deflector Retaining Nut
(38)Crankshaft Bearing Cap Bolt - M10
(39)Crankshaft Bearing Cap Stud - M10
(40)Crankshaft Thrust Bearing
(41)Crankshaft
(42)Crankshaft Balancer Key
(43)Crankshaft Thrust Bearing
Figure 6:

Engine Block Plugs/Sensors


Object Number: 1958031  Size: LF
(1)Oil Gallery Plug - Front
(2)Engine Block
(3)Oil Gallery Plug Washer - Side
(4)Oil Gallery Plug - Side
(5)Knock Sensor Retaining Bolt - Left
(6)Knock Sensor - Left
(7)Oil Gallery Plug - Side
(8)Oil Gallery Plug Washer - Side
(9)Transmission Housing Locating Pin
(10)Engine Block
(11)Knock Sensor - Right
(12)Knock Sensor Retaining Bolt - Right
(13)Engine Block Coolant Drain Hole Plug
(14)Engine Block Coolant Drain Hole Plug Washer
(15)Crankshaft Position (CKP) Sensor Bolt
(16)CKP Sensor
(17)CKP Sensor O-Ring
(18)Oil Gallery Plug - Rear
(19)Oil Gallery Plug O-Ring - Rear
Figure 7:

Oil Pump Assembly


Object Number: 1272779  Size: SF
(1)Oil Pump Housing Cover
(2)Oil Pump Driven Gear
(3)Oil Pump
(4)Oil Pump Pressure Relief Valve
(5)Oil Pump Pressure Relief Valve Spring
(6)Oil Pump Housing Plug
(7)Oil Pump Drive Gear
(8)Oil Pump Housing Cover Retaining Bolt