GM Service Manual Online
For 1990-2009 cars only

    Object Number: 1954080  Size: SH

    Important: DO NOT reuse the intake manifold gaskets. Install NEW intake manifold gaskets.

    Important: The intake manifold, throttle body, fuel injection rail and fuel injectors may be installed as an assembly. If not servicing the individual components, install the intake manifold as a complete assembly.

  1. Install NEW intake manifold to cylinder head gaskets (1).

  2. Object Number: 1954079  Size: SH
  3. Remove the lint free cloth from the engine (2).
  4. Install the intake manifold (1) to the engine (2).

  5. Object Number: 1954077  Size: SH
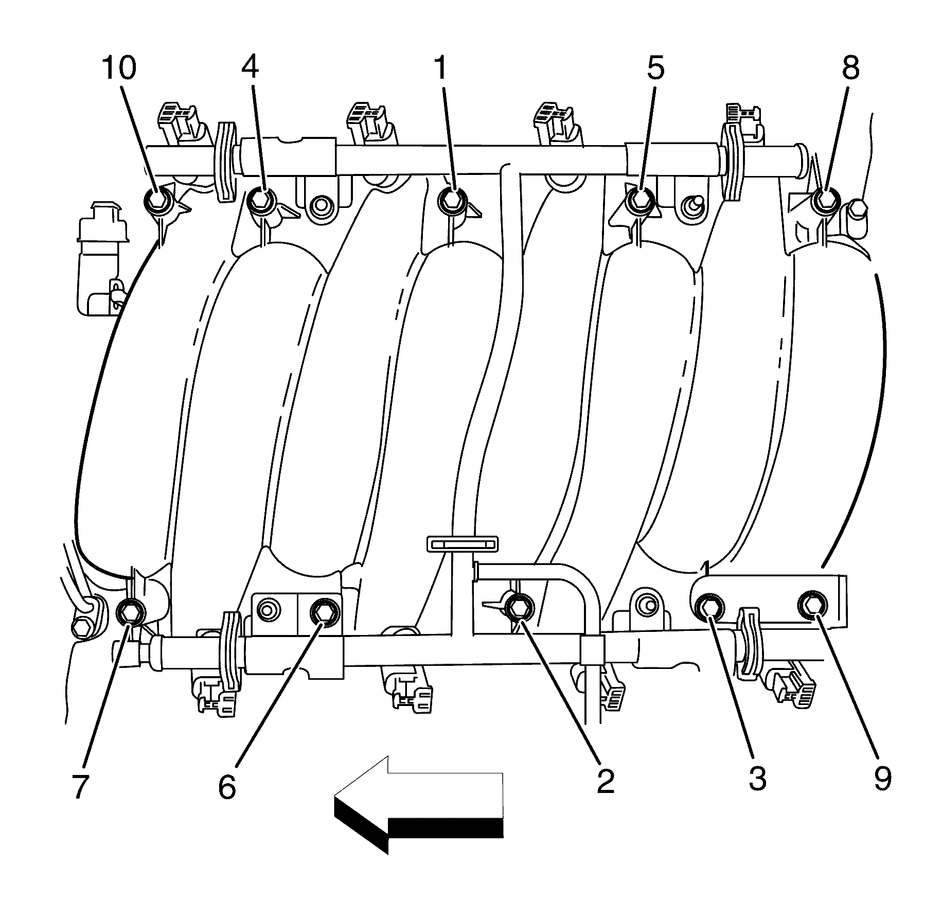
  6. Apply a 5 mm bead of thread sealant such as LOCTITE 242™ or equivalent to the cleaned threads of the intake manifold to cylinder head retaining bolts (2).
  7. Install the intake manifold to cylinder head retaining bolts (2).
  8. Notice: Refer to Fastener Notice in the Preface section.


    Object Number: 1954078  Size: SH
  9. Tighten the intake manifold to cylinder head retaining bolts (2).
  10. Tighten

        • First Pass: Tighten in sequence to 5 N·m (44 lb in).
        • Final Pass: Tighten in sequence to 10 N·m (89 lb in).