GM Service Manual Online
For 1990-2009 cars only
Makes
🢒
Chevrolet
🢒
2007
🢒
Caprice WM
🢒
Diagnostic Navigation
🢒
Vehicle Diagnostic Information
🢒 Navigation Map Disc Player Replacement
Tools Required
AU-464
Radio Removal Tool
Removal Procedure
Remove the instrument panel (I/P) outer trim cover. Refer to
Instrument Panel Outer Trim Cover Replacement
.
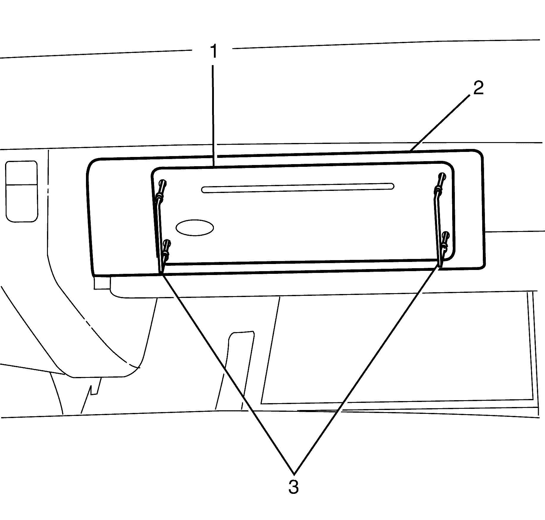
Grasp the I/P insulation panel assembly (1) and carefully pull downward to disengage the retaining clips.
Remove the courtesy lamp socket (2) from the I/P insulation panel assembly (1) by rotating counter-clockwise.
Disconnect the navigation interface module (NIM) electrical connector (3).
Remove the I/P insulation panel assembly (1).
Remove the I/P compartment lower retaining screws (1).
Open the I/P compartment door (2).
Remove the I/P compartment retaining screw covers (1) from the I/P compartment (2).
Remove the I/P compartment upper retaining screws (1).
Detach the I/P compartment (2) from the I/P.
Disconnect the I/P compartment electrical connector (1).
Disconnect the navigation module electrical connectors (1).
Disconnect the navigation module to audio unit electrical connector (2), where fitted.
Rotate the global positioning system (GPS) antenna connector lock (4) clockwise and disconnect the GPS antenna connector (3).
Remove the I/P compartment and navigation module assembly.
Using the tool
AU-464
Radio Removal Tool (3), remove the navigation module (1) from the navigation module carrier (2).
Remove the navigation module (1) from the navigation module carrier (2).
Installation Procedure
Install the navigation module (1) into the navigation module carrier (2).
Connect the navigation module electrical connectors (1).
Connect the navigation module to audio unit electrical connector (2, where fitted).
Connect the GPS antenna connector (3) and rotate the GPS antenna connector lock (4) counter-clockwise.
Connect the I/P compartment electrical connector (1).
Install the I/P compartment (2) to the I/P.
Install the I/P compartment upper retaining screws (1).
Tighten
Tighten the screws to 2 N·m (18 lb in).
Install the I/P compartment retaining screw covers (1) into the I/P compartment (2).
Close the I/P compartment door (2).
Install the I/P compartment lower retaining screws (1).
Tighten
Tighten the screws to 2 N·m (18 lb in).
Install the courtesy lamp socket (2) to the I/P insulation panel assembly (1) by rotating clockwise.
Connect the navigation interface module (NIM) electrical connector (3).
Install the I/P insulation panel assembly (1) to the I/P by engaging the retaining clips.
Make sure all the clips are located correctly.
Install the I/P outer trim cover. Refer to
Instrument Panel Outer Trim Cover Replacement
.
If a new navigation module is being installed, calibrate the navigation module. Refer to
Navigation Interface Module Cradle Replacement
.
If re-programming is required. Refer to
Control Module References
.