GM Service Manual Online
For 1990-2009 cars only

Removal Procedure

    Caution: Refer to Safety Glasses Caution in the Preface section.

    Caution: Refer to Vehicle Lifting Caution in the Preface section.

  1. Raise and support the vehicle. Refer to Lifting and Jacking the Vehicle.
  2. Remove the front wheel. Refer to Tire and Wheel Removal and Installation.
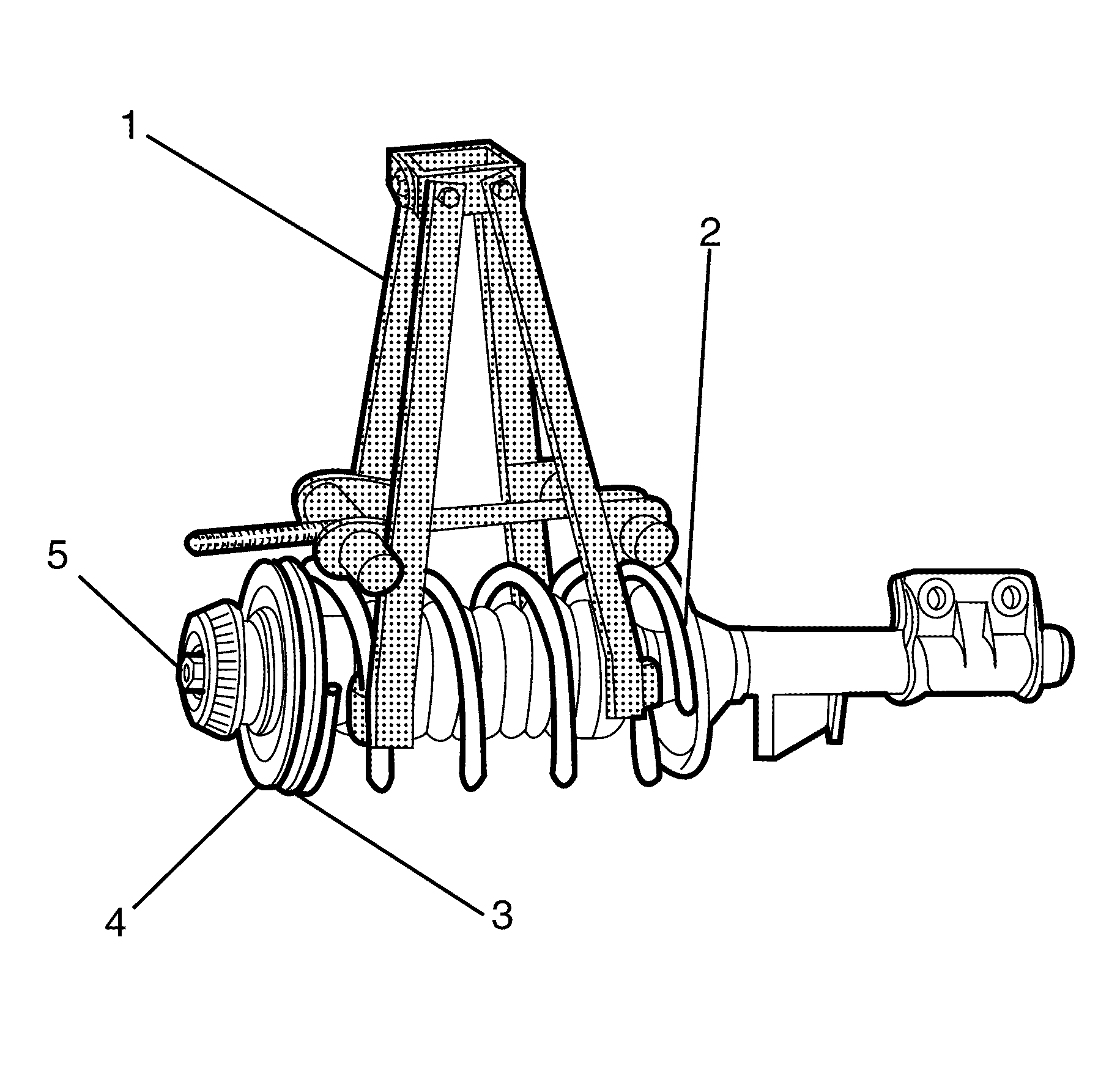
  3. Remove the front strut assembly. Refer to Strut Assembly Replacement.
  4. Caution: Refer to General Repair Instructions in the Preface section.


    Object Number: 1949951  Size: SH
  5. Install the spring compressor (1) on to the front coil spring (2), make sure the hooks are seated on the coil spring (2) correctly.
  6. Mark the coil spring seat in relation to the strut unit.
  7. Compress the coil spring (2) until the coil spring insulator (4) has clearance at the coil spring seat (3).

  8. Object Number: 1949947  Size: SH

    Important: Nuts with micro-encapsulated thread sealant must be discarded after removal.

    Important: Use the hex on the strut unit piston shaft to hold the strut unit piston shaft (2) while loosening the strut assembly retaining nut (1).

  9. Remove the strut assembly retaining nut (1).
  10. Important: Special attention must be paid to the orientation of the cup washers (3) in relation to strut assembly support mount (6).

    Important: Special attention must be paid to the orientation of the strut assembly support bearing (5) in relation to the coil spring seat (4).

    Important: The strut assembly support bearing (5) is sealed for life. If considered to be faulty, the bearing must be replaced as an assembly.

  11. Remove the strut assembly support mount (6), bearing (5) and the two washers (3) on both sides of the bearing.
  12. Inspect all parts for wear and damage.

Installation Procedure


    Object Number: 1949952  Size: SH
  1. Install the lower cup washer (4) with the dished side facing downward.
  2. Important: Before installing the bearing, the bearing must be properly aligned and orientated.

  3. Install the strut assembly support bearing (3) with the same orientation as noted on removal.
  4. Install the strut assembly support mount (2).
  5. Install the upper cup washer (1) with the dished side facing upward.
  6. Notice: Refer to Fastener Notice in the Preface section.


    Object Number: 1949953  Size: SH

    Important: Align the mark on the coil spring seat with the strut unit before tightening the strut assembly retaining nut (1).

  7. Install the strut assembly retaining nut (1).
  8. Tighten
    Tighten the nut to 75 N·m (55 lb ft).

  9. Remove the spring compressor (2) from the front coil spring (3).
  10. Install the front strut assembly. Refer to Strut Assembly Replacement.
  11. Install the front wheel. Refer to Tire and Wheel Removal and Installation.
  12. Remove the safety stands.
  13. Lower the vehicle to the ground.