| • | E-308 Seal Remover. |
| • | 205-116 Carrier Bearing Puller Including Plug. |
| • | DT-48805 Pinion Tail Bearing Cup Remover. |
| • | DT-48725 Pinion Head Bearing Cup Removal Kit. |
| • | DT-48726 Pinion Head Bearing Cup Remover. |
Caution: Refer to Safety Glasses Caution in the Preface section.
Caution: Refer to Vehicle Lifting Caution in the Preface section.
Important: The holding device must be able to rotate.
Important: Use a soft faced hammer to aid in separating the differential housing cover from the rear differential housing (1).
Discard the axle shaft seals.
Important: Mark the left shim (3) and right shim (1) before removing for correct refitting.
Important: Remove the differential (1) using a suitable tool or with the aid of an assistant.
Important: Place a suitable container to catch remaining differential fluid.
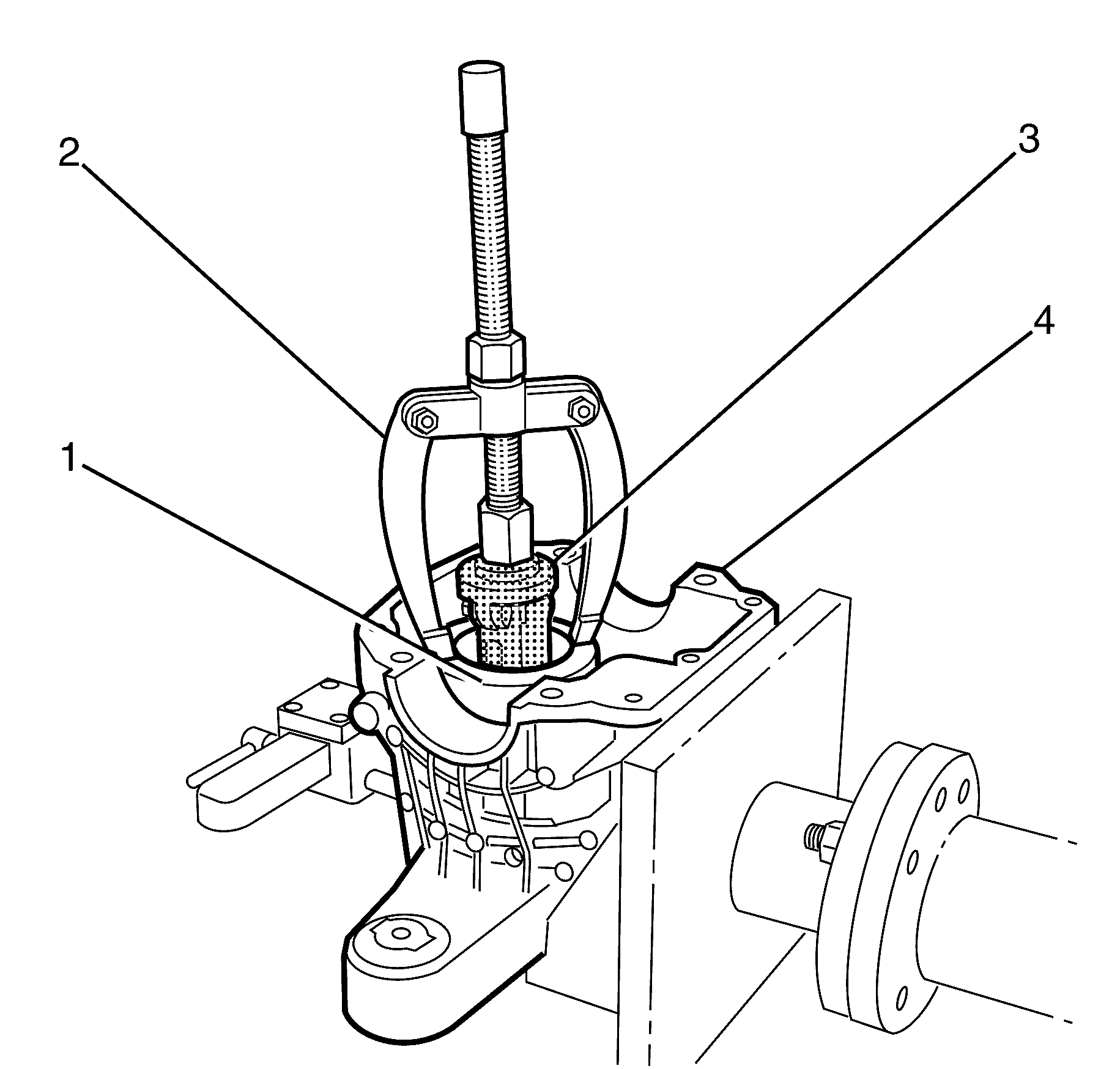
Important: Use a suitable puller (2) and 205-116 (3) to remove the right bearing (1).
Discard the right bearing.
Important: Use a suitable puller (2) and 205-116 (3) to remove the left bearing.
Discard the left bearing.
Discard ring gear to differential retaining bolts.
Important: Make sure there is soft material between the differential and the bench top.
Important: Use suitable tools or a suitable press to remove the ring gear (1) from the differential (2). Take care not to damage the ring gear retaining bolt hole threads.
Important: Hold the pinion flange with universal holding tool (2).
Discard the prevailing torque pinion flange retaining nut.
Important: The pinion flange (1) can be removed with a suitable puller or with a press (2). Support the pinion or place a soft cloth under the pinion to prevent damage when removing.
Important: Do not damage any sealing surfaces when removing the axle shaft oil seal (1). Cuts or abrasions will damage the assembly and result in lubricant leakage from this area.
Discard the pinion flange oil seal.
Discard the tail bearing.
Important: Use a suitable press and DT-48805 to remove the tail bearing cup.
Discard the tail bearing cup.
Important: Use DT-48725 (1, 2) and DT-48726 (3) to remove the head bearing cup.
Discard the head bearing cup.
Important: Do not reuse the collapsible spacer (1).
Discard the collapsible spacer.
Important: Use a suitable press and press plates to remove the pinion head bearing (1).
Discard the pinion head bearing.