GM Service Manual Online
For 1990-2009 cars only

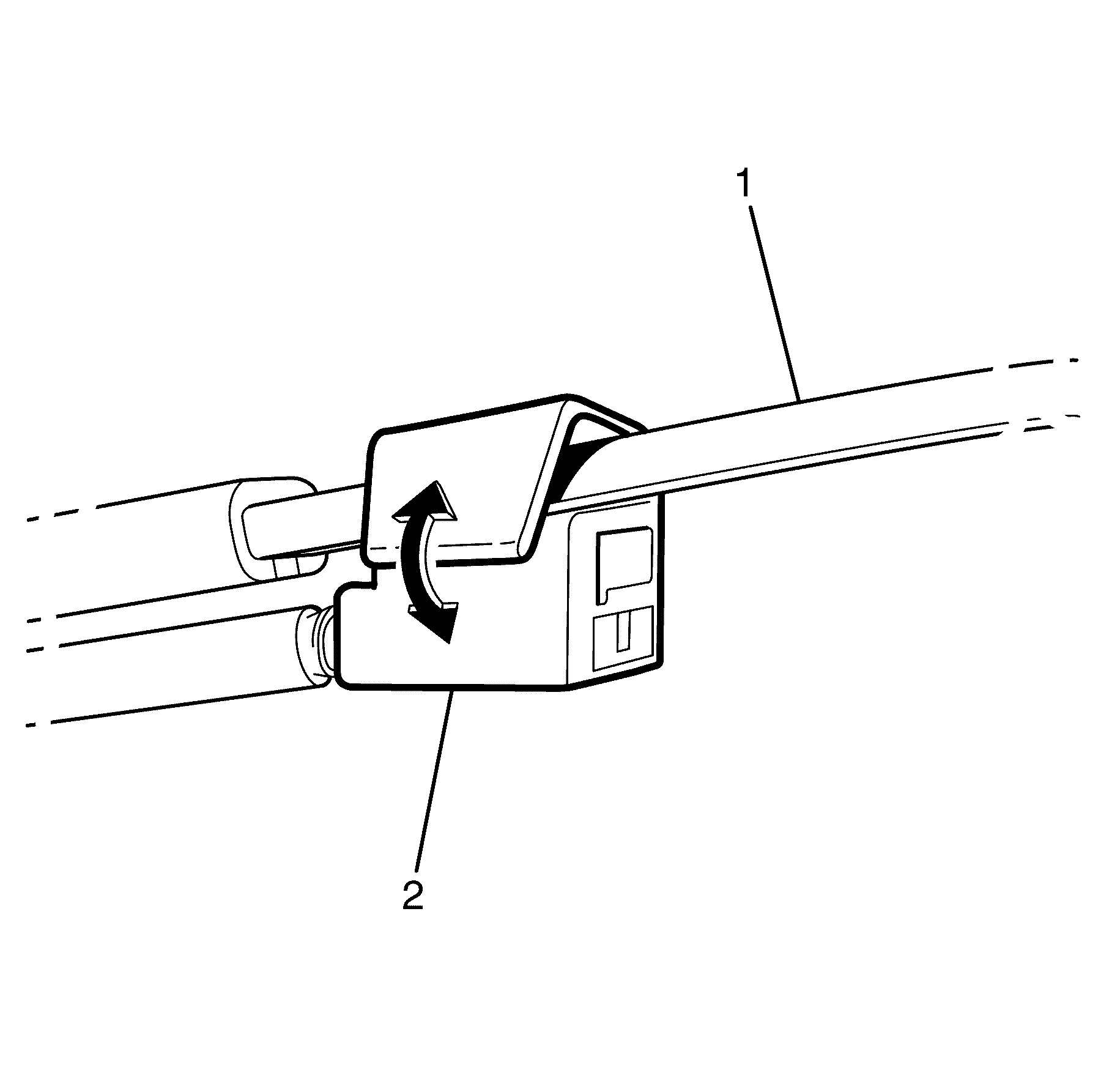
Removal Procedure


    Object Number: 1939995  Size: SH

    Important: Exercise gentle force with fragile washer nozzle clips.

  1. Unclip the washer nozzle (2) from the wiper arm (1).

  2. Object Number: 1939994  Size: SH

    Important: Take care not to pierce the washer hose.

  3. Using a suitable tool disconnect the washer hose (1) from the washer nozzle (2).

Installation Procedure


    Object Number: 1939996  Size: SH
  1. Connect the washer hose (1) onto the washer nozzle (2).

  2. Object Number: 1939995  Size: SH
  3. Press the washer nozzle (2) onto the wiper arm (1) clipping it firmly into place. Listen for an audible click to confirm fitting.
  4. Test washer nozzle for correct operation.