GM Service Manual Online
For 1990-2009 cars only

Tools Required

    • J-36020 Stationary Glass Removal Tool
    • Glass Sealant Remover (Cold Knife)
    • Urethane Adhesive Kit or Equivalent
    • Isopropyl Alcohol, Prepsol or Equivalent
    • Cartridge-type Caulking Gun
    • Commercial-type Utility Knife
    • Razor Blade Scraper
    • Suction Cups

Removal Procedure

    Caution: When working with any type of glass or sheet metal with exposed or rough edges, wear approved safety glasses and gloves in order to reduce the chance of personal injury.

    Caution: If broken glass falls into the defroster outlets, it can be blown into the passenger compartment and cause personal injury.

    Important: Before cutting out a stationary window, apply a double layer of masking tape around the perimeter of the painted surfaces and the interior trim.

  1. Remove the windshield wiper arms. Refer to Windshield Wiper Arm Replacement .
  2. Remove the air inlet grille assembly. Refer to Air Inlet Grille Panel Replacement .
  3. Remove the interior windshield side garnish panels. Refer to Windshield Garnish Molding Replacement .
  4. Remove the internal rearview mirror. Refer to Inside Rearview Mirror Replacement .
  5. Remove the rain sensor (if fitted). Refer to Windshield Outside Moisture Sensor Replacement .
  6. Remove the exterior windshield garnish mouldings. Refer to Windshield Pillar Garnish Molding Replacement .
  7. Protect the following parts:
  8. • The upper dash pad
    • The defroster outlets and A/C outlets
    • The seats and carpeting

    Object Number: 1939942  Size: SH

    Important:  Use a suitable tool to install the piano wire from J-36020 (1) through the urethane at a upper corner of the windshield (2).

  9. Install J-36020 (1) to the vehicle (3).
  10. Connect the end of the piano wire to the other handle of the J-36020  (2).

  11. Object Number: 1939935  Size: SH

    Important: Keep the inside handle of J-36020 (1) against the windshield (2) and cycle the full length of the piano wire to prevent heat build up.

  12. With the aid of an assistant cut through the urethane bead around the windshield (2) to the vehicle (3).

  13. Object Number: 1939939  Size: SH

    Important: The use of suction cups will aid in the windshield (1) removal from the vehicle (2).

  14. With the aid of an assistant remove the windshield (1) from the vehicle (2).

Installation Procedure

    Important: Remove all of the urethane from the pinch-weld surface by using a clean utility knife or razor blade scraper. Avoid the removal of paint when removing urethane.

  1. Remove any urethane from the pinch-weld.
  2. Caution: Failure to prep the area prior to the application of primer may cause insufficient bonding of urethane adhesive. Insufficient bonding of urethane adhesive may allow unrestrained occupants to be ejected from the vehicle resulting in personal injury.

    Important: Use a lint free cloth and suitable oil free cleaning agent to make sure adhesion of the urethane.

  3. Clean surface and edges of the windshied where urethane is to be applied.

  4. Object Number: 1939933  Size: SH

    Important: The clear glass primer dries almost instantly and may stain the viewing area of the windshield if not applied evenly. Wipe off the clear glass primer with a lint free cloth immediately after application.

    Important: Apply the clear glass primer with a suitable applicator.

  5. Apply a 50mm wide layer of clear glass primer to the inner surface of the windshield perimeter.

  6. Object Number: 1939932  Size: SH

    Important: Agitate the black glass primer for 1 minute to mix thoroughly.

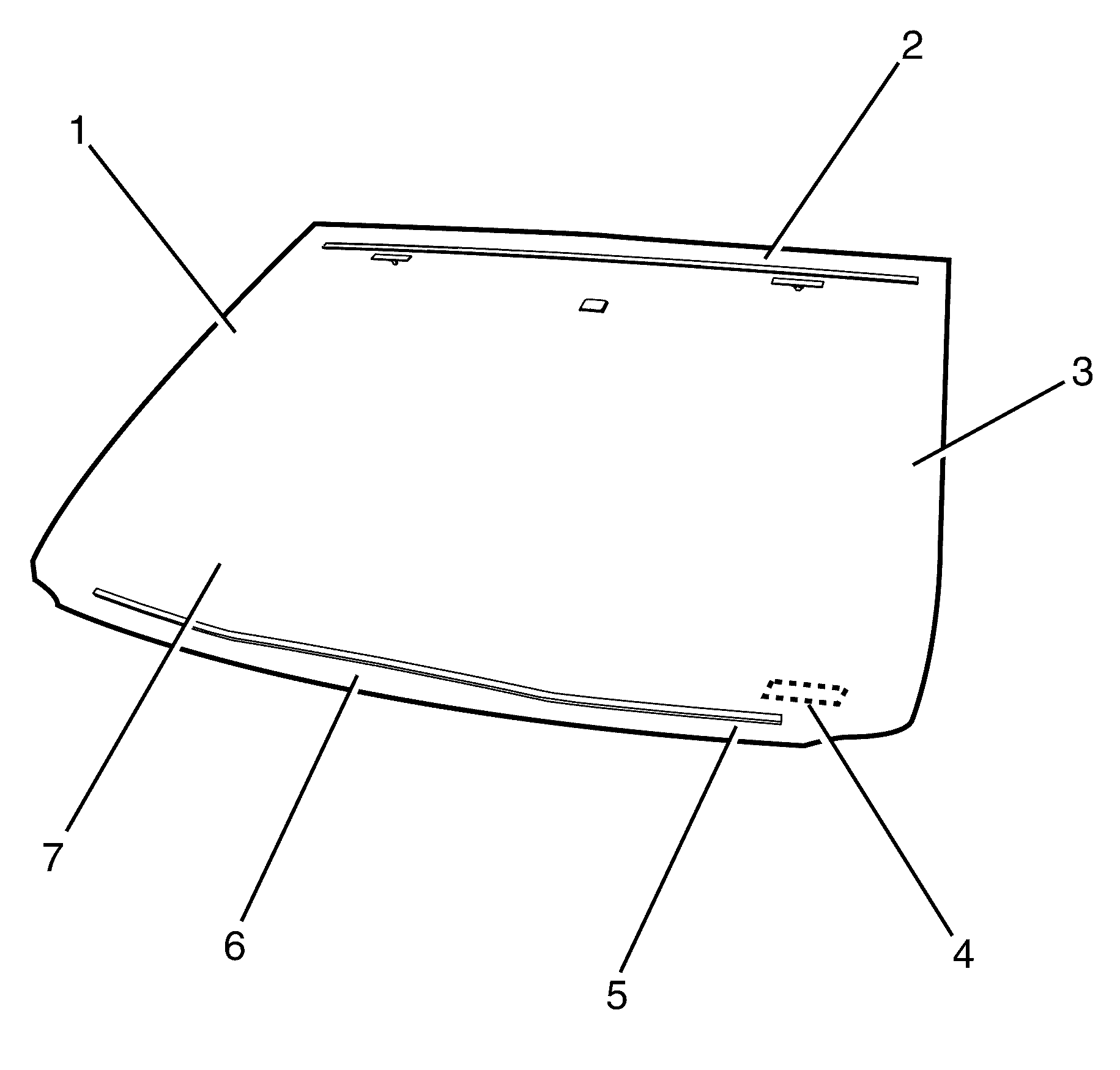
    Important: Apply a 20mm wide layer of black glass primer with a suitable applicator to the inner upper (2), left (3) and right (1) side surface of the windshield perimeter. Apply a 20mm wide layer of black glass primer 20mm from the lower edge (6) of the windshield and 15mm from the lower edge (5) of the windshield where the VIN (4) is displayed.

  7. Apply the black glass primer to the windshield (7).
  8. Caution: Refer to Window Retention Caution in the Preface section.


    Object Number: 1939932  Size: SH

    Important: Apply a 7mm wide and 14mm deep layer of urethane GMW3041 or equivalent to the inner upper (2), left (3) and right (1) side surface of the windshield perimeter. Apply a 7mm wide and 14mm deep layer of urethane 20mm from the lower edge (6) of the windshield and 15mm from the lower edge (5) of the windshield where the VIN (4) is displayed.

  9. Apply the urethane GMW3041 or equivalent to the windshield (7).

  10. Object Number: 1939940  Size: SH

    Important: The windshield is aligned by two datum pins located at the top of the windshield and two 8mm foam spacers one at the top and one at the bottom of the windshield (1).

    Important: The use of suction cups will aid the installation of the windshield (1) to the vehicle (2).

  11. With the aid of an assistant install the windshield (1) to the vehicle (2).
  12. Press the windshield (1) firmly into position.
  13. Install the air inlet grille assembly. Refer to Air Inlet Grille Panel Replacement .
  14. Install the windshield wiper arms. Refer to Windshield Wiper Arm Replacement .
  15. Install the interior windshield side garnish panels. Refer to Windshield Garnish Molding Replacement .
  16. Install the exterior windshield garnish mouldings. Refer to Windshield Pillar Garnish Molding Replacement .
  17. Remove the double layer of masking tape from around the perimeter of the painted surfaces and the interior trim.
  18. Install the rain sensor (if fitted). Refer to Windshield Outside Moisture Sensor Replacement .
  19. Install the internal rearview mirror. Refer to Inside Rearview Mirror Replacement .