Caution: Refer to Safety Glasses Caution in the Preface section.
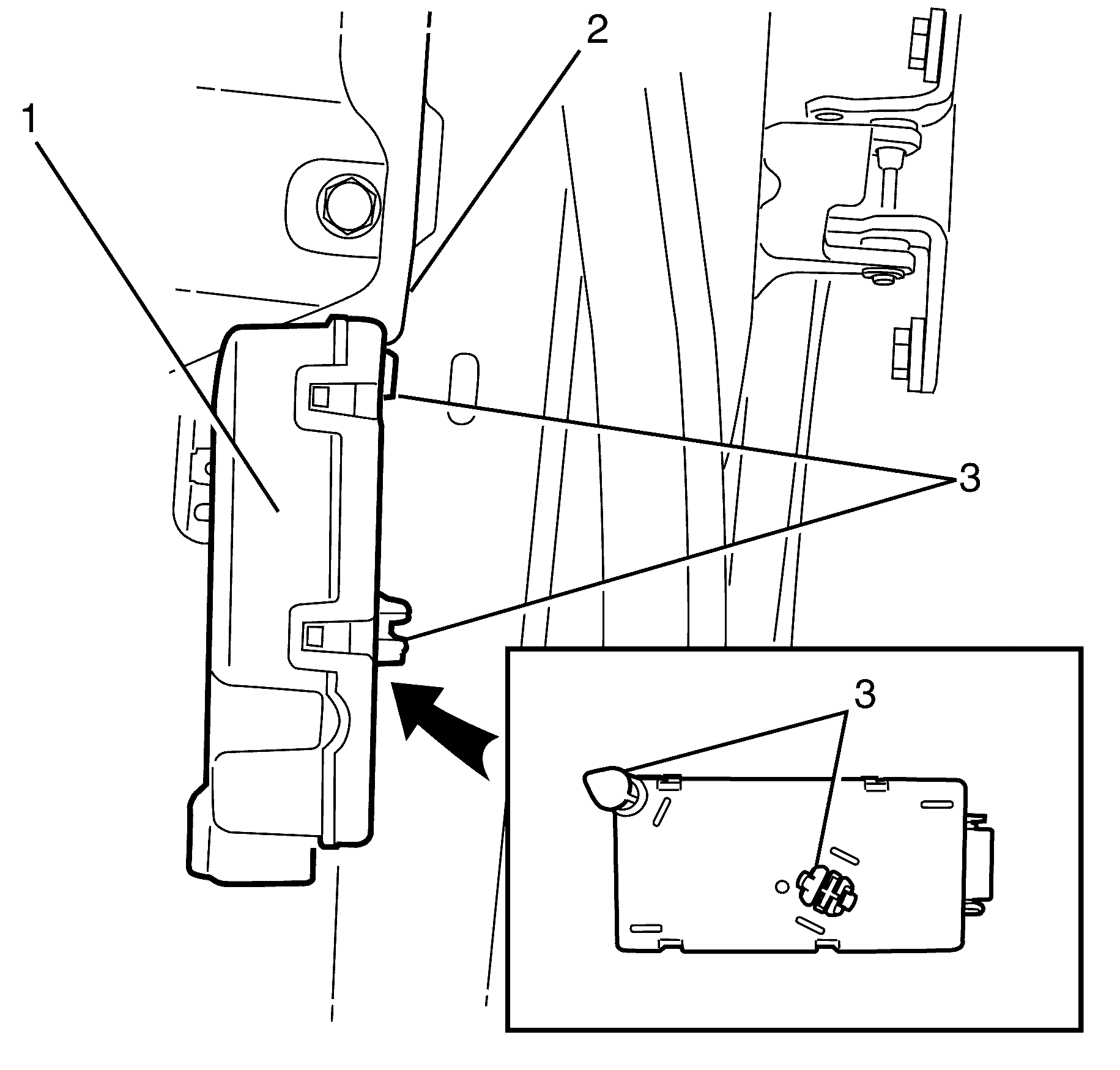
Important: The door module is located on the right side just under the instrument panel attached to the body.
Important: Pry the door module (1) with a suitable flat bladed tool then manoeuvre to release top locating retainer (3).
Important: Locate the top retainer first then press to engage the lower retainer.