GM Service Manual Online
For 1990-2009 cars only

Tools Required

    • J 6125-1B Slide Hammer
    • J 23129 Universal Seal Remover
    • J 29873 Injector Nozzle Socket 30 mm
    • J 44765 Seal Installer
    • J 45012 Holding Fixture
    • J 45019 Universal Puller

Removal Procedure

  1. Raise and support the vehicle. Refer to Lifting and Jacking the Vehicle .

  2. Object Number: 1954218  Size: SH
  3. Remove the transmission manual shift shaft nut.
  4. Disconnect the shift linkage from the transmission.
  5. Place the transmission in neutral by rotating the transmission shift shaft clockwise 2 clicks.
  6. Remove the exhaust system. Refer to Exhaust System Replacement .
  7. Remove the propeller shaft coupler (1) from the transmission flange. Refer to Propeller Shaft Replacement .

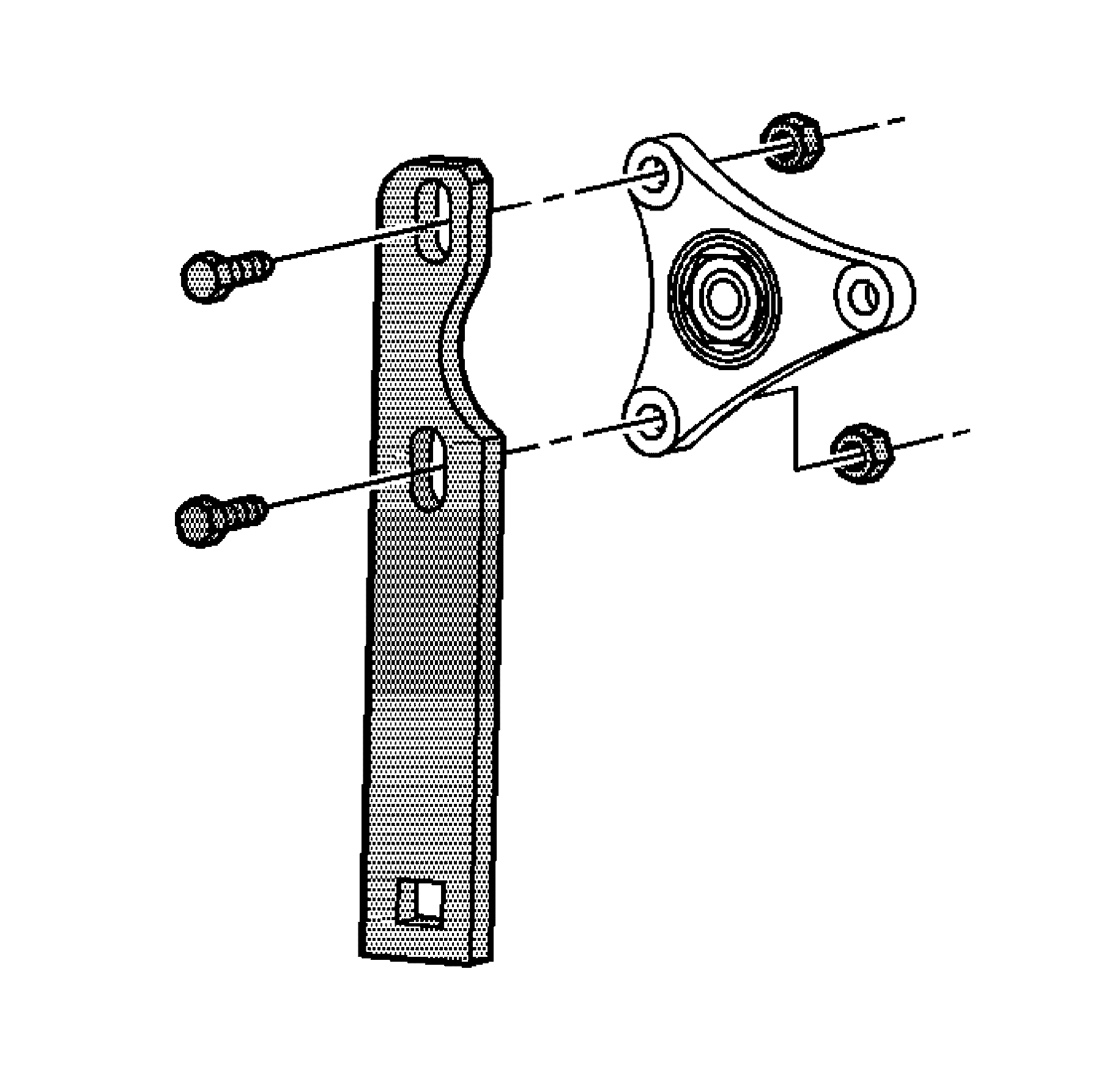
  8. Object Number: 1956893  Size: SH
  9. Install J 45012 to the drive flange.
  10. While holding J 45012 . Loosen the drive flange nut using J 29873 .
  11. Remove J 45012 from the drive flange.

  12. Object Number: 2048759  Size: SH
  13. Remove the drive flange nut (5).
  14. Remove the drive flange thrust washer (4).
  15. Remove the drive flange (2) using J 45019 .
  16. Remove the drive flange O-ring seal (3) from the drive flange.
  17. Remove the output shaft assembly retainer (1).

  18. Object Number: 1994672  Size: SH
  19. Use J 6125-1B and J 23129 (2&3) to remove the transmission case extension seal (1).

Installation Procedure


    Object Number: 1956858  Size: SH

    Important: Install the seal onto the tool before installing into the case to prevent damage to the seal.

  1. Using J 44765 (2) install the NEW transmission case extension seal (1).

  2. Object Number: 2048759  Size: SH
  3. Install a NEW output shaft assembly retainer (1).
  4. Important: Position the retainer on the end of the output shaft splines. The retainer will be pushed to the correct depth as the drive flange is installed onto the output shaft.

  5. Install a NEW drive flange O-ring seal (3) into the drive flange (2).
  6. Install the drive flange (2) to the transmission output shaft.
  7. Important: Install the NEW drive flange thrust washer (4) as shown in diagram.

  8. Install a NEW drive flange thrust washer (4).
  9. Apply Loctite 272 to the NEW drive flange nut threads.
  10. Start the NEW drive flange nut (5).

  11. Object Number: 1956893  Size: SH
  12. Install J 45012 to the drive flange.
  13. Notice: Refer to Fastener Notice in the Preface section.

  14. While holding J 45012 tighten the NEW drive flange nut using J 29873 .
  15. Tighten
    Tighten the drive flange nut to 60 N·m (44 lb. ft).

  16. Remove J 45012 from the drive flange.

  17. Object Number: 1956860  Size: SH
  18. Install the propeller shaft. Refer to Propeller Shaft Replacement .
  19. Install the exhaust system. Refer to Exhaust System Replacement .

  20. Object Number: 1954218  Size: SH
  21. Place the transmission in the park position by rotating the selector lever shaft fully counter clockwise.
  22. Connect the selector lever linkage to the transmission.
  23. Install the transmission manual shift shaft nut.
  24. Tighten
    Tighten the transmission manual shift shaft nut to 9 N·m (80 lb. in).

  25. Check the transmission fluid level. Refer to Transmission Fluid Check .
  26. Lower the vehicle.