GM Service Manual Online
For 1990-2009 cars only

    Object Number: 1956873  Size: SH
  1. Remove the neutral return cam pin (3) from the shift shaft (2).

  2. Object Number: 1956877  Size: SH
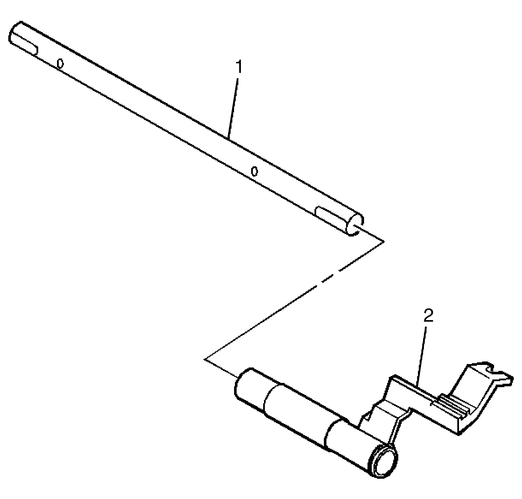
  3. Remove the 1st/2nd shift fork (1) from the shift shaft (2).

  4. Object Number: 1956880  Size: SH
  5. Remove the shift link (2) from the 1st/2nd shift fork (1).

  6. Object Number: 1956883  Size: SH
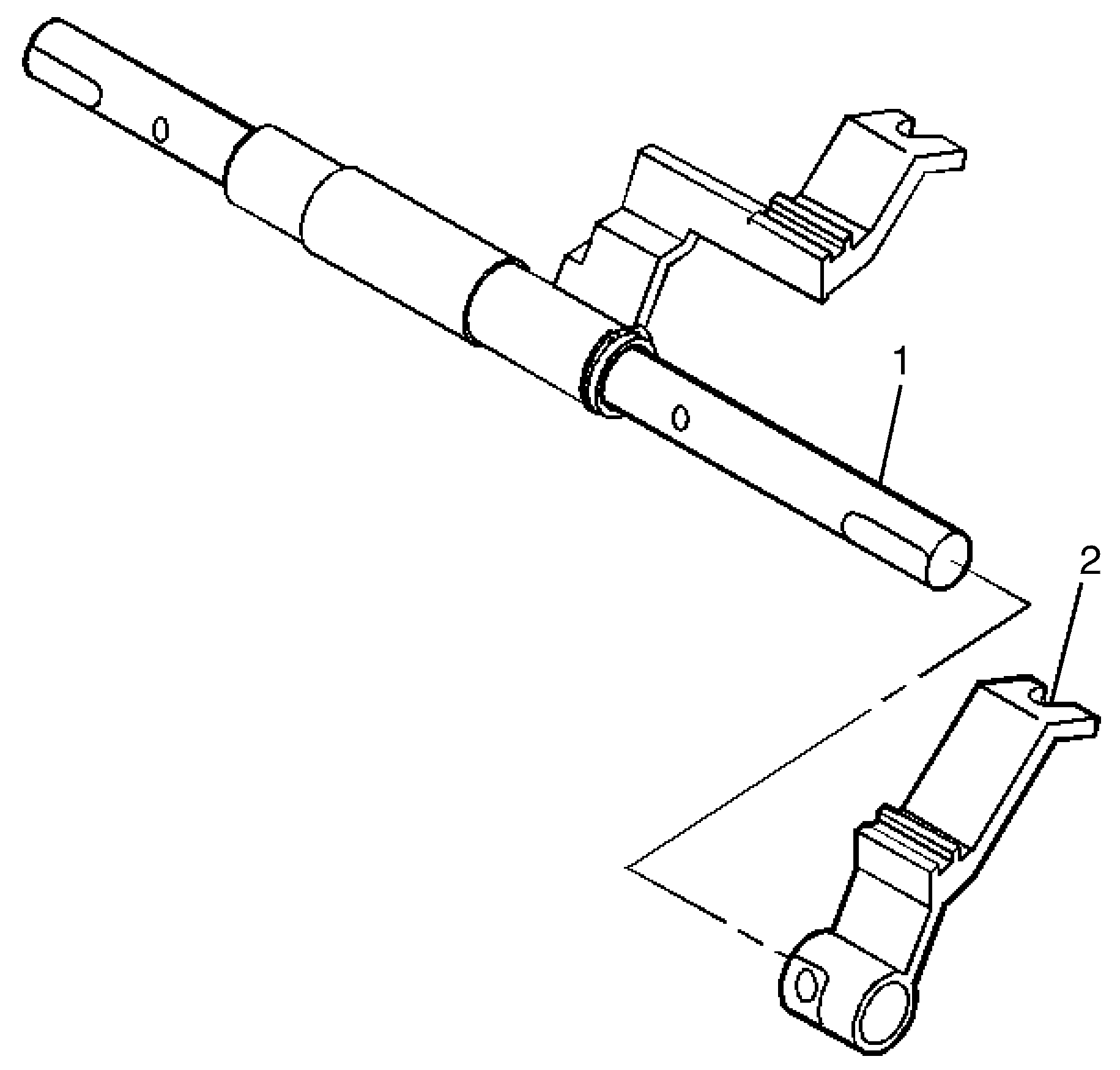
  7. Remove the 3rd/4th shift fork (2) from the shift shaft (1).

  8. Object Number: 1956885  Size: SH
  9. Remove the shift link (1) from the 3rd/4th shift fork (2).

  10. Object Number: 1956888  Size: SH
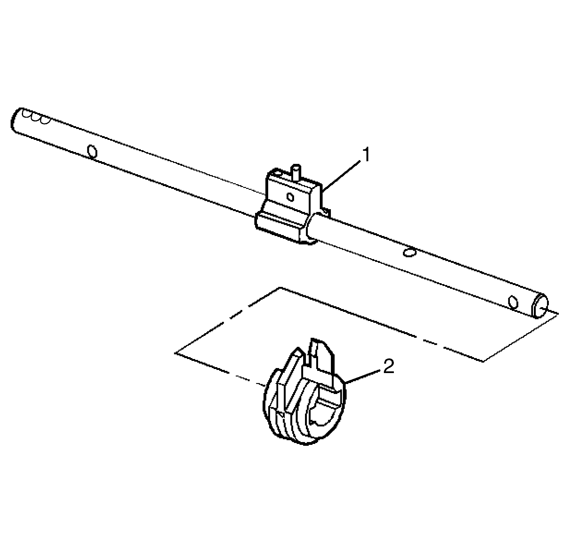
  11. Remove the interlocking plate (2) from the selector pin (1).

  12. Object Number: 1956890  Size: SH
  13. Remove the selector roll pin (5).
  14. Remove the selector pin (3) from the shift shaft (1).

5th/6th, Reverse Shift Rail Assembly

Tools Required

    • J 23907 Slide Hammer.
    • J 39439-2 Bushing Remover.

    Object Number: 1956892  Size: SH
  1. Remove the reverse collar roll pin (1).
  2. Remove the reverse collar (2).
  3. Remove the reverse shift lever roll pin (3).

  4. Object Number: 1956894  Size: SH
  5. Remove the reverse shift lever (2) from the shift shaft (1).

  6. Object Number: 1956896  Size: SH
  7. Remove the 5th/6th shift lever (2) from the shift rail (1).

  8. Object Number: 1956897  Size: SH
  9. Remove the snap ring (1) from the 5th/6th shift lever (2).

  10. Object Number: 1956898  Size: SH

    Important: Do not replace the bushings unless inspection shows bushing damage.

  11. Remove the 5th/6th shift shaft lever bushings (1) and (3) from the 5th/6th shift lever (2) using the J 23907 and the J 39439-2 .