GM Service Manual Online
For 1990-2009 cars only

Tools Required

    • 7185 Power Steering Pump Pulley Remover
    • 7005 Power Steering Pump Pulley Installer

Removal Procedure

    Caution: Refer to Safety Glasses Caution in the Preface section.

    Caution: Refer to Vehicle Lifting Caution in the Preface section.

  1. Remove the power steering pump. Refer to Power Steering Pump Replacement .
  2. Suitably support the power steering pump in a vice.

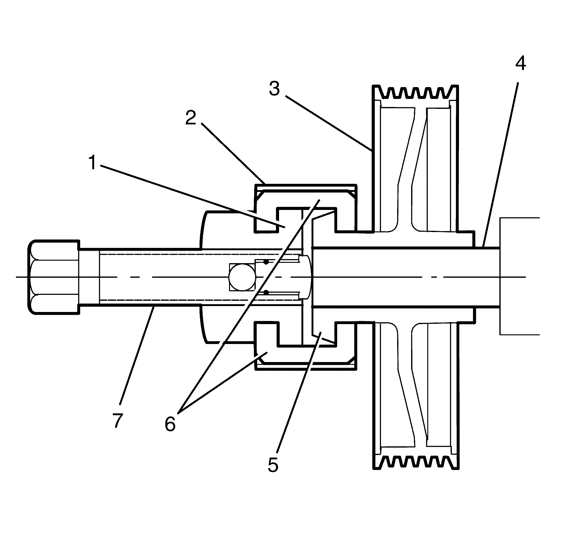
  3. Object Number: 1957055  Size: SH
  4. Lubricate the forcing screw (7) of 7185 .
  5. Position the forcing screw (7) against the pulley shaft (4).
  6. Important:  The half jaws (6) must be fully engaged with the pulley flange (5) and the 7185 flange (1), the larger open end diameter (has chamfer and relief profile) engages with the pulley flange (5).

  7. Install the half jaws (6) over the pulley flange (5) and the 7185 flange (1).
  8. Important: The forcing screw (7) must be aligned with the pump axis.

  9. Slide the retainer sleeve (2) over the half jaws, and hand tighten the forcing screw (7).
  10. Important: Observe the orientation and the depth of the pulley (3) with reference to the original position, this will minimise the potential of incorrect pulley installation.

    Important: Do not use power tools or exceed a torque of 90.0  N·m. If the pulley cannot be removed within this torque, remove the pulley using 7185 . If still unsuccessful, replace the complete power steering pump assembly.

  11. Remove the pulley (3) from the pulley shaft (4) by progressively tightening the forcing screw (7).

Installation Procedure

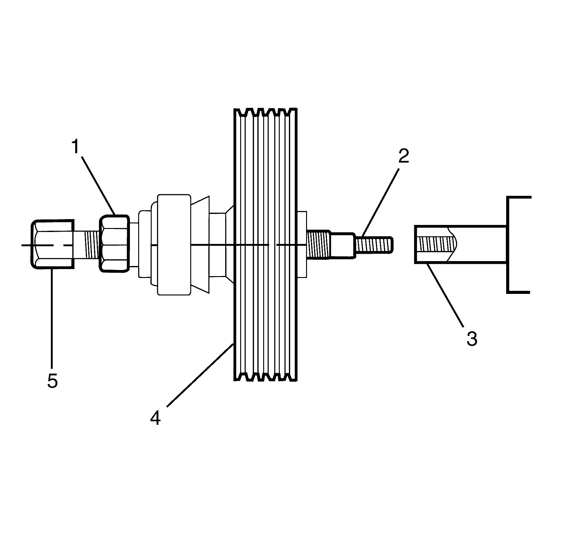
  1. Lubricate the thread of the 7005 forcing nut (1).

  2. Object Number: 1957059  Size: SH

    Important:  Before installing the pulley (4) it must be properly aligned and orientated in relation to the pump shaft (3).

  3. Slide the power steering pump pulley (4) over the 7005 forcing screw (2).
  4. Install the 7005 forcing screw (2) into the pump shaft (3).
  5. Important: The depth to which the pulley (4) is going to travel must be observed and maintained.

    Important: Hold the forcing screw hex (5) while tightening the forcing nut (1).

  6. Install the pulley (4) to the pump shaft (3) by progressively tightening the forcing nut (1).
  7. Remove the 7005 from the pump shaft (3).
  8. Remove the power steering pump from the vice.
  9. Install the power steering pump. Refer to Power Steering Pump Replacement .