Caution: Refer to Battery Disconnect Caution in the Preface section.
Caution: Refer to SIR Caution in the Preface section.
Notice: Refer to Fastener Notice in the Preface section.
Tighten
Tighten the retaining nuts to 42 N·m
(31 lb ft).
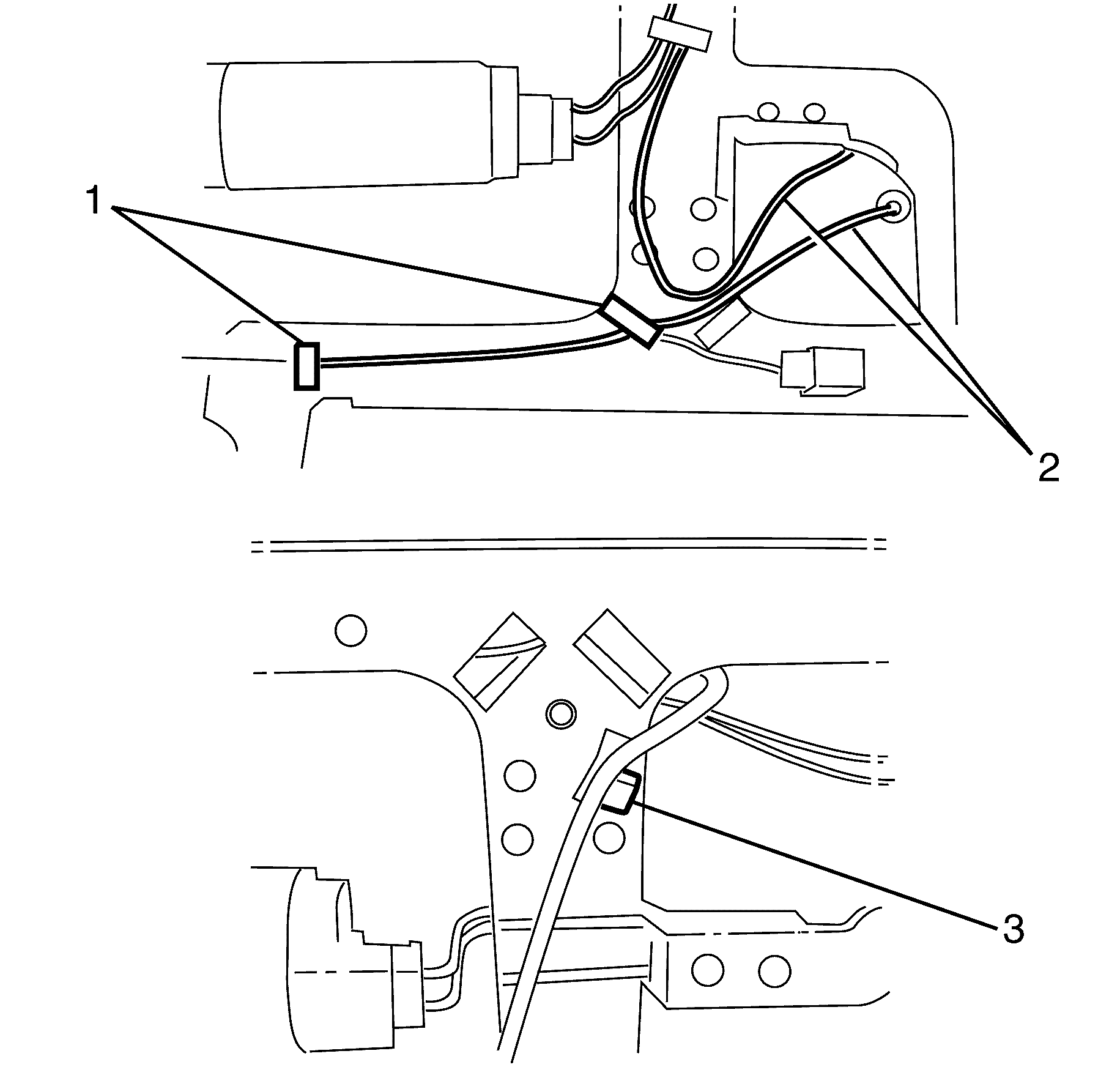
| • | Route pretensioner cable under cable tray tabs (1) |
| • | Direct pretensioner cable through cable tray gap (2) |
| • | Clip to under side of cable tray in the top hole (3) |
Caution: Refer to SIR Caution in the Preface section.