GM Service Manual Online
For 1990-2009 cars only

Removal Procedure

    Caution: Refer to Battery Disconnect Caution in the Preface section.

  1. Disconnect the battery ground cable from the battery. Refer to Battery Negative Cable Disconnection and Connection .
  2. Caution: Refer to SIR Caution in the Preface section.

  3. Disable the SIR system. Refer to SIR Disabling and Enabling in SIR.
  4. Remove the front seat. Refer to Front Seat Replacement - Bucket .
  5. Remove seat-back frame assembly. Refer to Front Seat Back Frame Replacement .

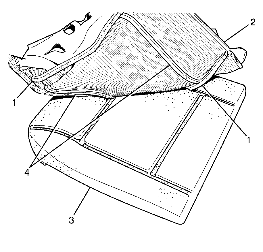
  6. Object Number: 1943555  Size: SH
  7. Disengage the front and side J-strips (2) away from the seat adjuster (3).
  8. Lift the cover and pad assembly away from the seat frame and then release the J-strip (2).
  9. Remove the pad and cover assembly (1).
  10. Place pad and cover assembly on a clean and suitable work surface.

  11. Object Number: 1943556  Size: SH
  12. Fold the rear corners of the seat cushion cover (1) over the seat cushion pad (2).

  13. Object Number: 1943557  Size: SH
  14. While holding the front seat cushion pad (1) pull the rear corners of the front seat cushion cover (2) forward and away from the pad to disengage the hook and loop strips (3).
  15. Pull the cover up and over the forward edge of the pad.
  16. Remove the seat cushion cover.

Installation Procedure


    Object Number: 1943558  Size: SH
  1. Align either the outer hook and loop strips (1) and the one or two cross hook and loop strips (2) on the front seat cushion cover (3) with the front seat cushion cover pad (4).
  2. Press the folded edge of the seat cushion cover firmly into the corresponding groove in the pad to engage the hook and loop strip.

  3. Object Number: 1943559  Size: SH
  4. Align and press the outer hook and loop strip (1) on the cover (2) with the corresponding groove on the pad (3).

  5. Object Number: 1943560  Size: SH
  6. Roll the front corners of the seat cover over the pad.
  7. Roll the sides of the seat cover over the pad.
  8. Roll the rear corners of the seat cover over the pad.
  9. Firmly run your finger in the seat cushion channels, to ensure a correct fitting.
  10. Place seat the seat cover and pad onto the seat cushion frame.

  11. Object Number: 1943593  Size: SH
  12. Install the seat cushion (1) onto the seat adjuster assembly (3).
  13. Engage the J-strips (2) onto the seat adjuster assembly (3)
  14. Install the seat-back frame assembly. Refer to Front Seat Back Frame Replacement .
  15. Install the front seat. Refer to Front Seat Replacement - Bucket .
  16. Caution: Refer to SIR Caution in the Preface section.

  17. Enable the SIR system. Refer to SIR Disabling and Enabling in SIR.
  18. Connect the battery ground cable to the battery. Refer to Battery Negative Cable Disconnection and Connection .
  19. Test seat for correct mechanical and electrical operation.