GM Service Manual Online
For 1990-2009 cars only

Air Conditioning Evaporator Core Replacement LHD

Removal Procedure

  1. Remove the HVAC module assembly. Refer to HVAC Module Assembly Replacement.

  2. Object Number: 1951008  Size: SH
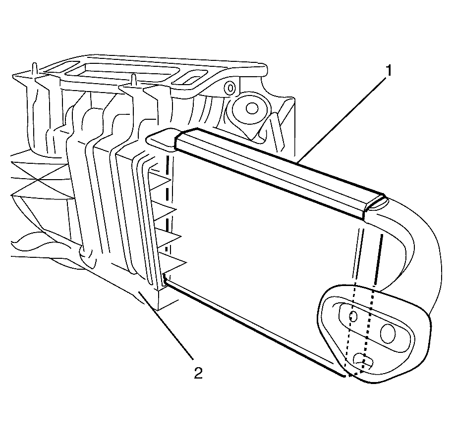
  3. Remove insulation (1) from pipe assembly.
  4. Remove the HVAC line clamp screw.

  5. Object Number: 1951009  Size: SH
  6. Remove the HVAC line clamp .

  7. Object Number: 1950979  Size: SH
  8. Remove the pipes and TX valve (1) as a assembly.
  9. Remove the thermistor retainer.

  10. Object Number: 1950990  Size: SH
  11. Disconnect the thermistor electrical connector (1) from the HVAC module assembly retainer.
  12. Remove the blower module

  13. Object Number: 1950992  Size: SH
  14. Remove the seven screws (1) and two clips (2) that hold the HVAC case together.

  15. Object Number: 1951010  Size: SH
  16. Separate the HVAC module assembly.

  17. Object Number: 1951011  Size: SH
  18. Remove the evaporator core.

Installation Procedure


    Object Number: 1951011  Size: SH
  1. Add refrigerant oil. Refer to Refrigerant System Capacities in Heating, Ventilation and Air Conditioning.
  2. Install NEW evaporator core seals to the evaporator.

  3. Object Number: 1950994  Size: SH
  4. Install thermistor (1) to the evaporator 22.6mm from the side of the evaporator and 50mm from the evaporator end.
  5. Important: DO NOT force the evaporator core into the HVAC module assembly. Damage to the thermistor can occur.

  6. Install the evaporator core.

  7. Object Number: 1951010  Size: SH

    Important: Ensure that all of the temperature and mode doors align to their corresponding slots within the HVAC module assembly.

    DO NOT force the HVAC module assembly case halves together.

    Install NEW tough seal every time case is split.

  8. Slide the HVAC module assembly case halves together.
  9. Notice: Refer to Fastener Notice in the Preface section.

  10. Install the screws that hold the case together.
  11. Tighten
    Tighten the screws to 1 N·m (8 lb in).

  12. Install the front duct on the HVAC module assembly. Ensure that the retainers are properly engaged.
  13. Reposition the wire harness and connect the left hand and the auxiliary temperature actuator electrical connectors.
  14. Connect the thermistor electrical connector to the HVAC module assembly retainer.
  15. Install NEW O-rings to the evaporator core and the TX valve lines. Refer to O-Ring Replacement.
  16. Install the A/C lines into the TX valve.
  17. Carefully slide the TX valve onto the evaporator core until seated.
  18. Install the TX valve line bracket.

  19. Object Number: 1951009  Size: SH
  20. Install the HVAC line clamp.

  21. Object Number: 1951012  Size: SH
  22. Install the HVAC line clamp screw.
  23. Tighten
    Tighten the screw to 1 N·m (8 lb in).


    Object Number: 1951008  Size: SH
  24. Install the insulation (1) onto the lines and the TX valve.
  25. Install the HVAC module assembly. Refer to HVAC Module Assembly Replacement.

Air Conditioning Evaporator Core Replacement RHD

Removal Procedure

    Caution: Refer to Safety Glasses Caution in the Preface section.

  1. Remove the HVAC module assembly. Refer to HVAC Module Assembly Replacement.

  2. Object Number: 1950914  Size: SH
  3. With the HVAC module assembly on a bench locate the thermal expansion (TX) valve retaining upper plastic cover (1).
  4. Important: Unclip the TX valve retaining upper plastic cover (1) and remove by lifting upwards.

  5. Remove the TX valve retaining upper plastic cover (1).

  6. Object Number: 1950916  Size: SH
  7. Remove the air inlet assembly to HVAC module assembly retaining screws (1).

  8. Object Number: 1955667  Size: SH
  9. Remove the air inlet assembly to HVAC module assembly retaining screws (1).

  10. Object Number: 1950920  Size: SH

    Important: Unclip the air inlet assembly (3) and carefully tilt downwards past the TX valve (2)

  11. Remove the air inlet assembly (3) from the HVAC module assembly (1).

  12. Object Number: 1950922  Size: SH

    Important: Gently grasp the evaporator (1) pipes and slowly withdraw the evaporator from the HVAC module assembly (2).

  13. Remove the evaporator (1) from the HVAC module assembly (2).
  14. While the evaporator (1) is out of the HVAC module assembly (2), remove any contaminates from the housing such as hair, leaves or dust with a moist rag.

Installation Procedure


    Object Number: 1950922  Size: SH

    Important: Install the evaporator core (1) by gently sliding into HVAC module assembly housing (2).

  1. Install the evaporator core (1) to the HVAC module assembly housing (2).

  2. Object Number: 1950925  Size: SH
  3. Install the air inlet assembly (2) to the HVAC module assembly (1).
  4. Notice: Refer to Fastener Notice in the Preface section.


    Object Number: 1955667  Size: SH
  5. Install the air inlet assembly to HVAC module assembly retaining screws (1).
  6. Tighten
    Tighten the screws to 1 N·m (8 lb  in.)


    Object Number: 1950916  Size: SH
  7. Install the air inlet assembly to HVAC module assembly retaining screws (1).
  8. Tighten
    Tighten the screws to 1 N·m (8 lb  in.)


    Object Number: 1950914  Size: SH

    Important: Make sure all the clips on the thermal expansion (TX) valve retaining upper plastic cover (1) are engaged to avoid an induced rattle condition.

  9. Install the TX valve retaining upper plastic cover (1).
  10. Install the HVAC module assembly. Refer to HVAC Module Assembly Replacement.