GM Service Manual Online
For 1990-2009 cars only

Liquid Line Replacement 3.6L Engine

Tools Required

J 39400 Halogen Leak Detector

Removal Procedure

  1. Recover the refrigerant Refer to Refrigerant Recovery and Recharging .
  2. Disconnect the battery negative cable. Refer to Battery Negative Cable Disconnection and Connection .
  3. Remove windscreen wiper arms. Refer to Windshield Wiper Arm Replacement .
  4. Remove the air inlet grill panel. Refer to Air Inlet Grille Panel Replacement .
  5. Remove the air filter assembly. Refer to Air Cleaner Assembly Replacement .
  6. Remove the radiator air baffle and deflector. Refer to Radiator Air Upper Baffle and Deflector Replacement
  7. Caution: Refer to Safety Glasses Caution in the Preface section.

    Caution: Refer to Vehicle Lifting Caution in the Preface section.

  8. Raise and support the vehicle. Refer to Lifting and Jacking the Vehicle .
  9. Remove the front air deflector. Refer to Front Air Deflector Replacement .

  10. Object Number: 1950863  Size: SH
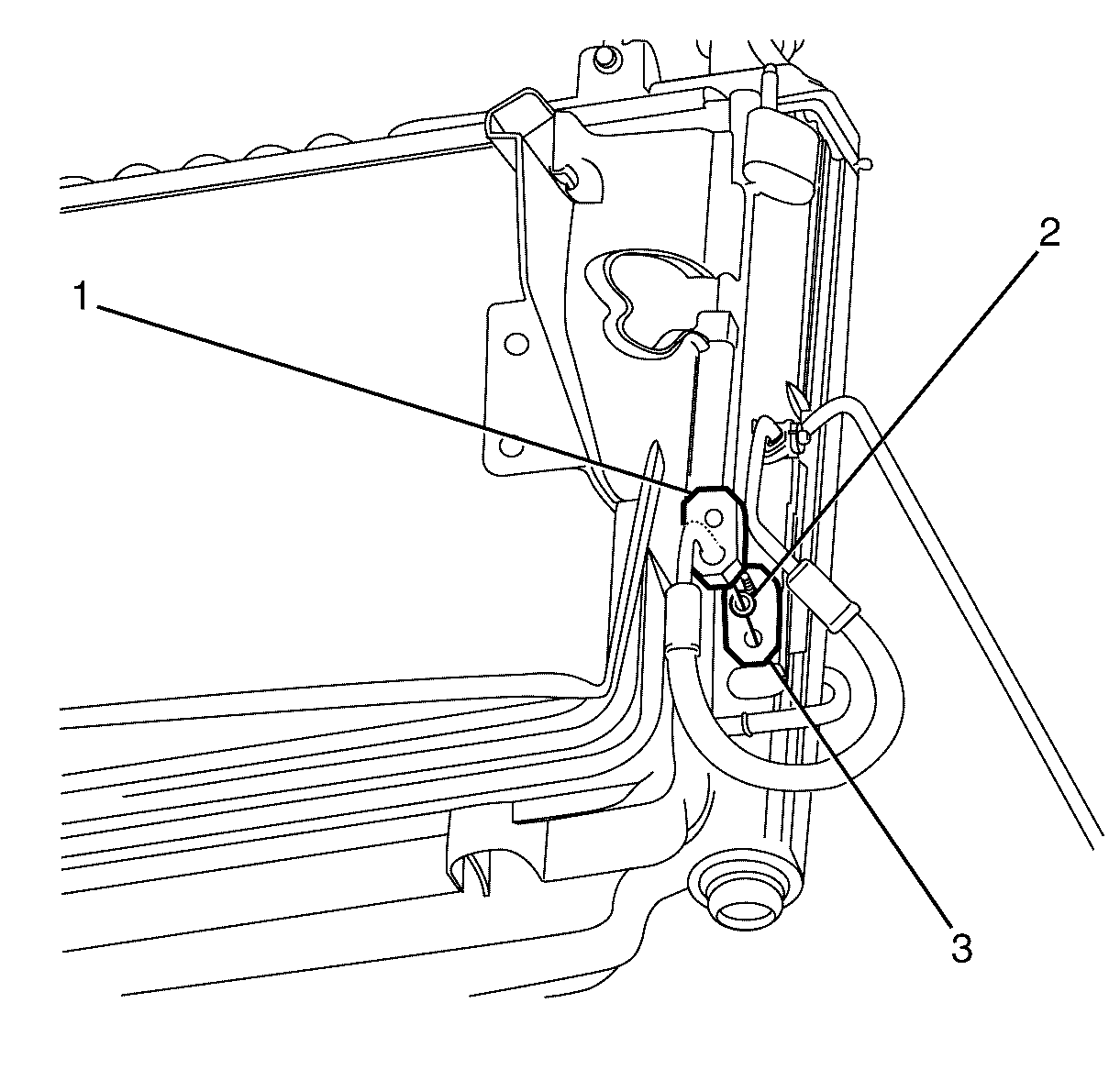
  11. Remove the liquid pipe to the condenser port retaining nut (1).
  12. Lower the vehicle.

  13. Object Number: 1955647  Size: SH
  14. Disconnect the liquid pipe (1) from the condenser port (3).
  15. Important: The sealing washer (2) is a single use item and must be discarded after use.

  16. Remove the sealing washer (2). Refer to Sealing Washer Replacement .
  17. Discard the sealing washer

    Important: Cover any opening of the A/C system with a suitable cap or tape immediately, to prevent absorption of moisture from the atmosphere.

  18. Cap or plug the liquid pipe (1) and the condenser port (3).
  19. Remove the cross car brace, if fitted. Refer to Front End Panel Module Carrier Assembly Replacement

  20. Object Number: 1957941  Size: SH

    Important: The left engine cover has one front and one rear outer retaining clip.

    Important: Grasp and pry the left engine cover (1) upwards to detach the left engine cover (1) from the outer retaining clip (2).

  21. Detach the left engine cover (1) from the outer retaining clip (2).

  22. Object Number: 1957942  Size: SH

    Important: Disengage the left engine cover (1) from the ball stud (2) by pulling up firmly on the rear and front of the left engine cover (1).

  23. Detach the left engine cover (1) from the ball stud (2).
  24. Remove the left engine cover (1).

  25. Object Number: 1957991  Size: SH
  26. Remove the left engine cover mounting bracket to cylinder head retaining bolt (2).
  27. Remove the left engine cover mounting bracket (1) from the cylinder head.

  28. Object Number: 1949686  Size: SH
  29. Remove the exhaust manifold heat shield to air box retaining clips (2).
  30. Remove the exhaust manifold heat shield (1).

  31. Object Number: 1950842  Size: SH
  32. Remove the insulation panel to air box retaining clips (2).
  33. Remove the insulation panel (1) from the engine compartment.

  34. Object Number: 1958686  Size: SH
  35. Remove the remote battery positive post cover (1).

  36. Object Number: 1958688  Size: SH
  37. Remove the remote battery positive post to wiring harness retaining bolt (1).
  38. Remove the starter motor power cable (2) and position aside.

  39. Object Number: 1957871  Size: SH
  40. Remove the suction pipe upper to suction pipe lower retaining nut (1).

  41. Object Number: 1955641  Size: SH
  42. Remove the suction pipe/liquid pipe retaining clip to left front chassis rail retaining bolt (3).
  43. Detach the liquid pipe (1) from the suction pipe/liquid pipe retaining clip (2).

  44. Object Number: 1950845  Size: SH
  45. Disconnect the suction pipe upper (1) from suction pipe lower (2).
  46. Important: The sealing washer (3) is a single use item and must be discarded after use.

  47. Remove the sealing washer (3). Refer to Sealing Washer Replacement .
  48. Discard the sealing washer

    Important: Cover any opening of the A/C system with a suitable cap or tape immediately, to prevent absorption of moisture from the atmosphere.

  49. Cap or plug the suction pipe upper (1) and the suction pipe lower (2).

  50. Object Number: 1950848  Size: SH
  51. Remove the suction pipe/liquid pipe pad to TX valve retaining nut (1).

  52. Object Number: 1950850  Size: SH
  53. Disconnect the suction pipe/liquid pipe pad (3) from the TX valve (1).
  54. Important: The sealing washers (2) are a single use item and must be discarded after use.

  55. Remove the sealing washers (2). Refer to Sealing Washer Replacement .
  56. Discard the sealing washers

    Important: Cover any opening of the A/C system with a suitable cap or tape immediately, to prevent absorption of moisture from the atmosphere.

  57. Cap or plug the suction pipe (4), liquid pipe (5) and the TX valve (1).
  58. Remove the liquid pipe (5) from the suction pipe/liquid pipe pad (3).

  59. Object Number: 1955646  Size: SH
  60. Detach the liquid pipe (3) and the suction pipe (2) from the suction pipe/liquid pipe retaining clip (1).
  61. Important: Have an assistant ensure that the liquid tube flexible hose at the condenser end clears all the vehicle body work and condenser on removal from the engine compartment.

  62. Remove the liquid pipe (3) from the engine compartment.

Installation Procedure


    Object Number: 1950850  Size: SH
  1. Install the liquid pipe (5) to the suction pipe/liquid pipe pad (3).
  2. Remove the plugs or caps from the suction pipe (4), liquid pipe (5) and the TX valve (1).
  3. Important: DO NOT coat the NEW sealing washers (2) with oil, they must be fitted dry. The use of mineral oil will render the sealing washers (2) useless, as the sealing washers (2) WILL swell causing refrigerant to leak out.

  4. Install NEW sealing washers (2). Refer to Sealing Washer Replacement .
  5. Position the suction pipe/liquid pipe pad (3) to the TX Valve (1).
  6. Notice: Refer to Fastener Notice in the Preface section.


    Object Number: 1950848  Size: SH
  7. Install the suction pipe/liquid pipe pad to TX valve retaining nut (1).
  8. Tighten
    Tighten the nut to 22 N·m(16 lb ft).

  9. Raise the vehicle.

  10. Object Number: 1955647  Size: SH
  11. Remove the plugs or caps from the suction pipe liquid pipe (1) and the condenser port (3).
  12. Important: DO NOT coat the NEW sealing washer (3) with oil, they must be fitted dry. The use of mineral oil will render the sealing washer (3) useless, as the sealing washer (3) WILL swell causing refrigerant to leak out.

  13. Install a NEW sealing washer (3). Refer to Sealing Washer Replacement .
  14. Connect the liquid pipe (1) to the condenser port (3).

  15. Object Number: 1950863  Size: SH
  16. Install the liquid pipe to condenser port retaining nut (1).
  17. Tighten
    Tighten the nut to 22 N·m(16 lb ft).

  18. Install the air deflector front. Refer to Front Air Deflector Replacement .

  19. Object Number: 1957873  Size: SH
  20. Remove the plugs or caps from the suction pipe upper (1) and the suction pipe lower (2).
  21. Important: DO NOT coat the NEW sealing washer (3) with oil, they must be fitted dry. The use of mineral oil will render the sealing washer (3) useless, as the sealing washer (3) WILL swell causing refrigerant to leak out.

  22. Install a NEW sealing washer (3). Refer to Sealing Washer Replacement .
  23. Install the suction pipe upper (1) to the suction pipe lower (2).

  24. Object Number: 1955641  Size: SH
  25. Attach the liquid pipe (1) from the suction pipe/liquid pipe retaining clip (2).
  26. Install the suction pipe/liquid pipe retaining clip to left front chassis rail retaining bolt (3).

  27. Object Number: 1957875  Size: SH
  28. Install the suction pipe upper to suction pipe lower retaining nut (1).
  29. Tighten
    Tighten the nut to 22 N·m( 16 lb ft).


    Object Number: 1958688  Size: SH
  30. Install the starter motor positive cable (2) to the remote battery positive post.
  31. Install the remote battery positive post to wiring harness retaining bolt (1).
  32. Tighten
    Tighten the bolt to 15 N·m (11 lb ft).


    Object Number: 1958686  Size: SH

    Important: Make sure the clips on the remote battery positive post cover (1) are engaged to avoid an induced rattle condition.

  33. Install the remote battery positive post cover (1) to the remote battery positive post.

  34. Object Number: 1950842  Size: SH
  35. Install the insulation panel (1) to the left rear side engine compartment.
  36. Install the insulation panel to air box retaining clips (2).

  37. Object Number: 1949686  Size: SH
  38. Install the exhaust manifold heat shield (1).
  39. Install the exhaust manifold heat shield to air box retaining clips (2).

  40. Object Number: 1955646  Size: SH
  41. Attach the suction pipe (2) and the liquid pipe (3) from the suction pipe/liquid pipe retaining clip (1).

  42. Object Number: 1957991  Size: SH
  43. Install the left engine cover mounting bracket (1)
  44. Install the left engine cover mounting bracket to cylinder head retaining bolt (2).
  45. Tighten
    Tighten the bolt to 35 N·m (26 lb in).


    Object Number: 1957942  Size: SH
  46. Position the left engine cover (1) over the intake manifold so the grommet is aligned with the ball stud (2).
  47. Important: Press the left engine cover (1) down firmly near the ball stud to attach the left engine cover (1) to the ball stud (2).

  48. Attach the left engine cover (1) to the ball stud (2).

  49. Object Number: 1957941  Size: SH

    Important: The left engine cover has one front and one rear outer retaining clip.

    Important: Press the left engine cover (1) down firmly near the outer retaining clips to attach the left engine cover (1) to the outer retaining clip (2).

  50. Attach the left engine cover (1) to the outer retaining clip (2).
  51. Install the cross car brace, if fitted. Refer to Front End Panel Module Carrier Assembly Replacement
  52. Install the air filter assembly. Refer to Air Cleaner Assembly Replacement .
  53. Install the radiator air baffle and deflector. Refer to Radiator Air Upper Baffle and Deflector Replacement
  54. Install the plenum chamber cover panel. Refer to Air Inlet Grille Panel Replacement .
  55. Install the windscreen wiper arms. Refer to Windshield Wiper Arm Replacement .
  56. Connect the battery negative cable. Refer to Battery Negative Cable Disconnection and Connection .
  57. Evacuate and recharge the A/C system. Refer to Refrigerant Recovery and Recharging .
  58. Leak test the fittings of the component using J 39400 .

Liquid Line Replacement 6.0L Engine

Tools Required

J 39400 Halogen Leak Detector

Removal Procedure

  1. Recover the refrigerant Refer to Refrigerant Recovery and Recharging .
  2. Disconnect the battery negative cable. Refer to Battery Negative Cable Disconnection and Connection .
  3. Remove windscreen wiper arms. Refer to Windshield Wiper Arm Replacement .
  4. Remove the air inlet grill panel. Refer to Air Inlet Grille Panel Replacement .
  5. Remove the air filter assembly. Refer to Air Cleaner Assembly Replacement .
  6. Remove the radiator air baffle and deflector. Refer to Radiator Air Upper Baffle and Deflector Replacement
  7. Remove the engine cover. Refer to Engine Cover Replacement
  8. Caution: Refer to Safety Glasses Caution in the Preface section.

    Caution: Refer to Vehicle Lifting Caution in the Preface section.

  9. Raise and support the vehicle. Refer to Lifting and Jacking the Vehicle .
  10. Remove the front air deflector. Refer to Front Air Deflector Replacement .

  11. Object Number: 1950863  Size: SH
  12. Remove the liquid pipe to the condenser port retaining nut (1).
  13. Lower the vehicle.

  14. Object Number: 1955647  Size: SH
  15. Disconnect the liquid pipe (1) from the condenser port (3).
  16. Important: The sealing washer (2) is a single use item and must be discarded after use.

  17. Remove the sealing washer (2). Refer to Sealing Washer Replacement .
  18. Discard the sealing washer

    Important: Cover any opening of the A/C system with a suitable cap or tape immediately, to prevent absorption of moisture from the atmosphere.

  19. Cap or plug the liquid pipe (1) and the condenser port (3).

  20. Object Number: 1949686  Size: SH
  21. Remove the exhaust manifold heat shield to air box retaining clips (2).
  22. Remove the exhaust manifold heat shield (1).

  23. Object Number: 1950842  Size: SH
  24. Remove the insulation panel to air box retaining clips (2).
  25. Remove the insulation panel (1) from the engine compartment.

  26. Object Number: 1958686  Size: SH
  27. Remove the remote battery positive post cover (1).

  28. Object Number: 1958688  Size: SH
  29. Remove the remote battery positive post to wiring harness retaining bolt (1).
  30. Remove the starter motor power cable (2) and position aside.

  31. Object Number: 1957871  Size: SH
  32. Remove the suction pipe upper to suction pipe lower retaining nut (1).

  33. Object Number: 1955641  Size: SH
  34. Remove the suction pipe/liquid pipe retaining clip to left front chassis rail retaining bolt (3).
  35. Detach the liquid pipe (1) from the suction pipe/liquid pipe retaining clip (2).

  36. Object Number: 1950845  Size: SH
  37. Disconnect the suction pipe upper (1) from suction pipe lower (2).
  38. Important: The sealing washer (3) is a single use item and must be discarded after use.

  39. Remove the sealing washer (3). Refer to Sealing Washer Replacement .
  40. Discard the sealing washer

    Important: Cover any opening of the A/C system with a suitable cap or tape immediately, to prevent absorption of moisture from the atmosphere.

  41. Cap or plug the suction pipe upper (1) and the suction pipe lower (2).

  42. Object Number: 1950848  Size: SH
  43. Remove the suction pipe/liquid pipe pad to thermal expansion (TX) valve retaining nut (1).

  44. Object Number: 1950850  Size: SH
  45. Disconnect the suction pipe/liquid pipe pad (3) from the TX valve (1).
  46. Important: The sealing washers (2) are a single use item and must be discarded after use.

  47. Remove the sealing washers (2). Refer to Sealing Washer Replacement .
  48. Discard the sealing washers

    Important: Cover any opening of the A/C system with a suitable cap or tape immediately, to prevent absorption of moisture from the atmosphere.

  49. Cap or plug the suction pipe (4), liquid pipe (5) and the TX valve (1).
  50. Remove the liquid pipe (5) from the suction pipe/liquid pipe pad (3).

  51. Object Number: 1955646  Size: SH
  52. Detach the liquid pipe (3) and the suction pipe (2) from the suction pipe/liquid pipe retaining clip (1).
  53. Important: Have an assistant ensure that the liquid tube flexible hose at the condenser end clears all the vehicle body work and condenser on removal from the engine compartment.

  54. Remove the liquid pipe (3) from the engine compartment.

Installation Procedure


    Object Number: 1950850  Size: SH
  1. Install the liquid pipe (5) to the suction pipe/liquid pipe pad (3).
  2. Remove the plugs or caps from the suction pipe (4), liquid pipe (5) and the thermal expansion (TX) valve (1).
  3. Important: DO NOT coat the NEW sealing washers (2) with oil, they must be fitted dry. The use of mineral oil will render the sealing washers (2) useless, as the sealing washers (2) WILL swell causing refrigerant to leak out.

  4. Install NEW sealing washers (2). Refer to Sealing Washer Replacement .
  5. Position the suction pipe/liquid pipe pad (3) to the TX valve (1).
  6. Notice: Refer to Fastener Notice in the Preface section.


    Object Number: 1950848  Size: SH
  7. Install the suction pipe/liquid pipe pad to TX valve retaining nut (1).
  8. Tighten
    Tighten the nut to 22 N·m(16 lb ft).

  9. Raise the vehicle.

  10. Object Number: 1955647  Size: SH
  11. Remove the plugs or caps from the suction pipe liquid pipe (1) and the condenser port (3).
  12. Important: DO NOT coat the NEW sealing washer (3) with oil, they must be fitted dry. The use of mineral oil will render the sealing washer (3) useless, as the sealing washer (3) WILL swell causing refrigerant to leak out.

  13. Install a NEW sealing washer (3). Refer to Sealing Washer Replacement .
  14. Connect the liquid pipe (1) to the condenser port (3).

  15. Object Number: 1950863  Size: SH
  16. Install the liquid pipe to condenser port retaining nut (1).
  17. Tighten
    Tighten the nut to 22 N·m(16 lb ft).

  18. Install the air deflector front. Refer to Front Air Deflector Replacement .

  19. Object Number: 1957873  Size: SH
  20. Remove the plugs or caps from the suction pipe upper (1) and the suction pipe lower (2).
  21. Important: DO NOT coat the NEW sealing washer (3) with oil, they must be fitted dry. The use of mineral oil will render the sealing washer (3) useless, as the sealing washer (3) WILL swell causing refrigerant to leak out.

  22. Install a NEW sealing washer (3). Refer to Sealing Washer Replacement .
  23. Install the suction pipe upper (1) to the suction pipe lower (2).

  24. Object Number: 1955641  Size: SH
  25. Attach the liquid pipe (1) from the suction pipe/liquid pipe retaining clip (2).
  26. Install the suction pipe/liquid pipe retaining clip to left front chassis rail retaining bolt (3).

  27. Object Number: 1957875  Size: SH
  28. Install the suction pipe upper to suction pipe lower retaining nut (1).
  29. Tighten
    Tighten the nut to 22 N·m( 16 lb ft).


    Object Number: 1958688  Size: SH
  30. Install the starter motor positive cable (2) to the remote battery positive post.
  31. Install the remote battery positive post to wiring harness retaining bolt (1).
  32. Tighten
    Tighten the bolt to 15 N·m (11 lb ft).


    Object Number: 1958686  Size: SH

    Important: Make sure the clips on the remote battery positive post cover (1) are engaged to avoid an induced rattle condition.

  33. Install the remote battery positive post cover (1) to the remote battery positive post.

  34. Object Number: 1950842  Size: SH
  35. Install the insulation panel (1) to the left rear side engine compartment.
  36. Install the insulation panel to air box retaining clips (2).

  37. Object Number: 1949686  Size: SH
  38. Install the exhaust manifold heat shield (1).
  39. Install the exhaust manifold heat shield to air box retaining clips (2).

  40. Object Number: 1955646  Size: SH
  41. Attach the suction pipe (2) and the liquid pipe (3) from the suction pipe/liquid pipe retaining clip (1).
  42. Install the radiator air baffle and deflector. Refer to Radiator Air Upper Baffle and Deflector Replacement
  43. Install the air filter assembly. Refer to Air Cleaner Assembly Replacement .
  44. Install the engine cover. Refer to Engine Cover Replacement
  45. Install the plenum chamber cover panel. Refer to Air Inlet Grille Panel Replacement .
  46. Install the windscreen wiper arms. Refer to Windshield Wiper Arm Replacement .
  47. Connect the battery negative cable. Refer to Battery Negative Cable Disconnection and Connection .
  48. Evacuate and recharge the A/C system. Refer to Refrigerant Recovery and Recharging .
  49. Leak test the fittings of the component using J 39400 .