GM Service Manual Online
For 1990-2009 cars only
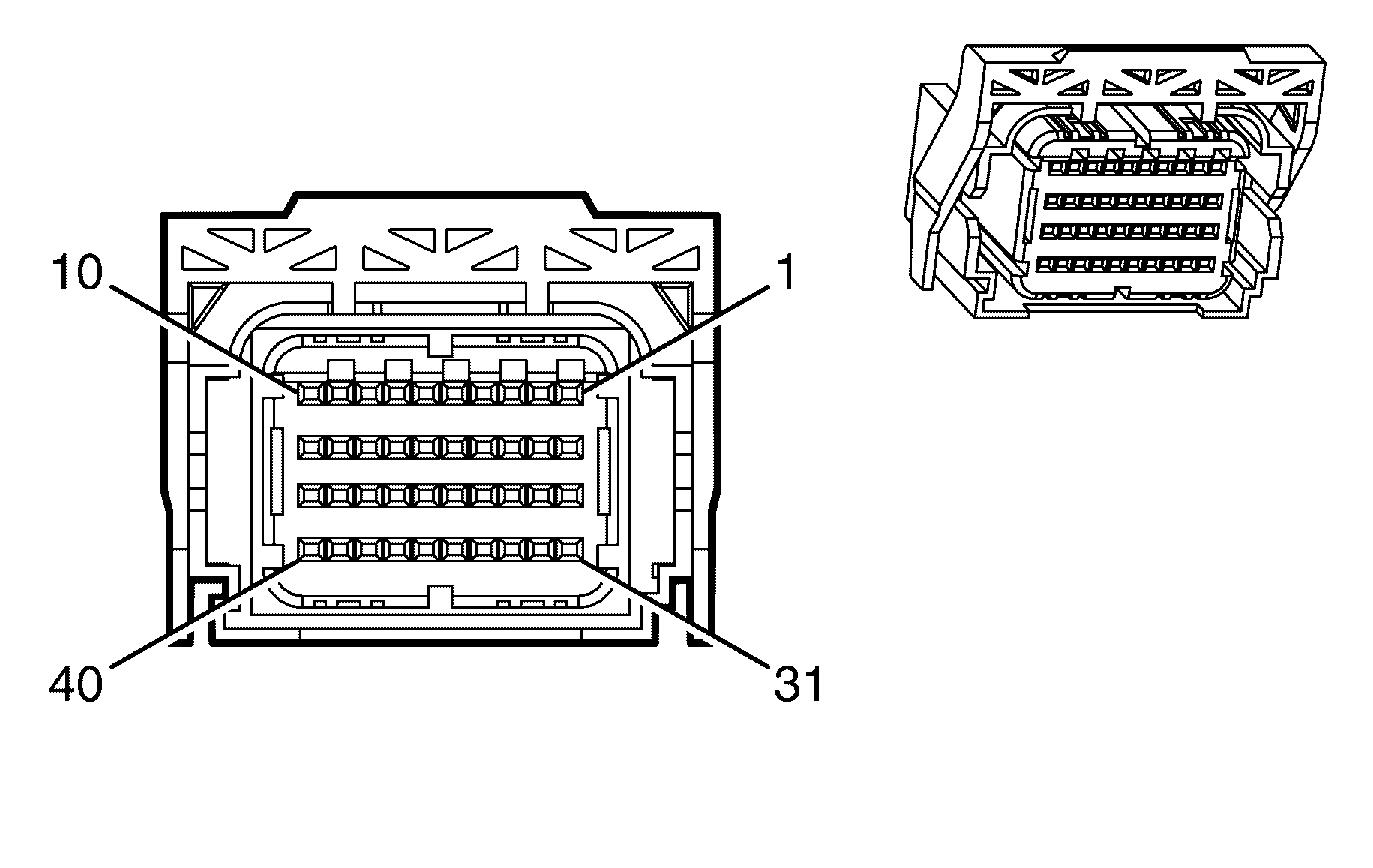
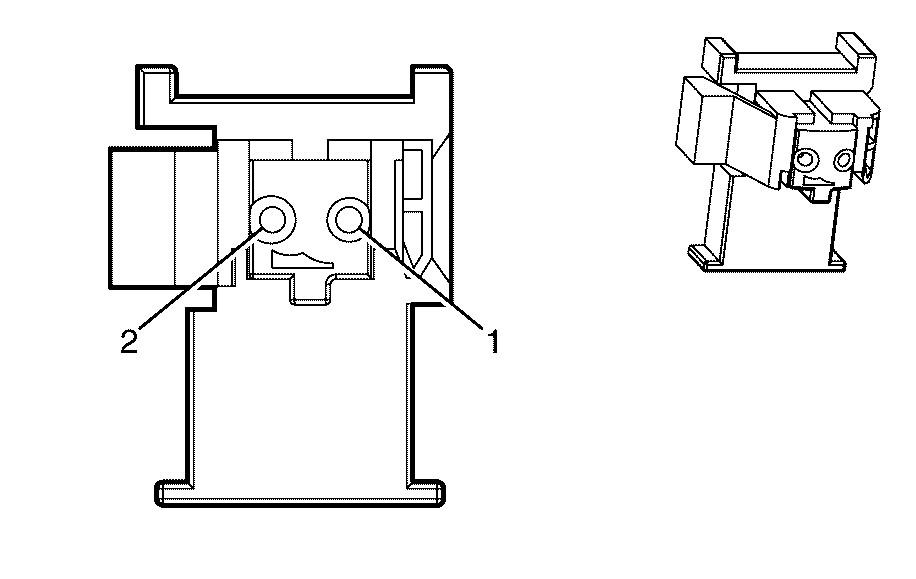
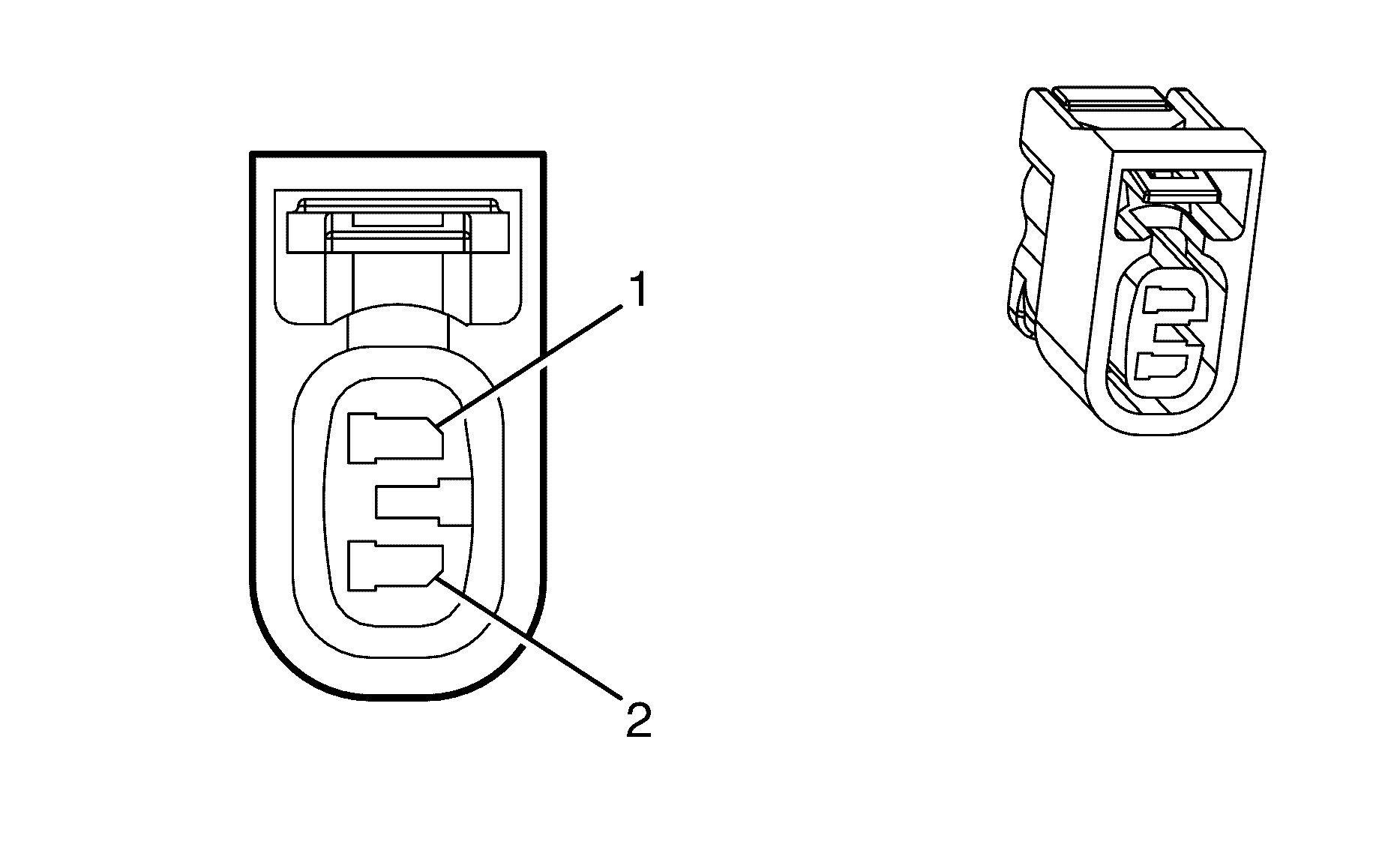
Connector 1: 1-2 Shift Solenoid (SS) Valve
Connector 2: 3-4 Shift Solenoid (SS) Valve
Connector 3: 4-5 Shift Solenoid (SS) Valve
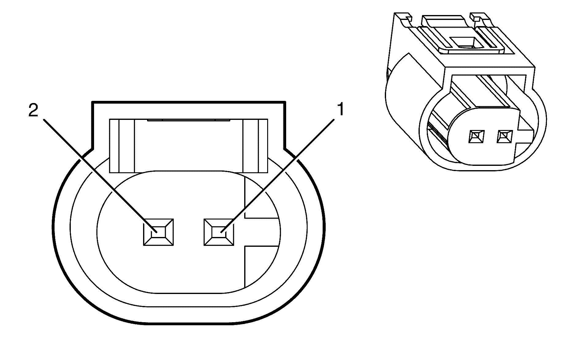
Connector 4: A/C Compressor
Connector 5: A/C Refrigerant Pressure Sensor
Connector 6: Accelerator Pedal Position (APP) Sensor
Connector 7: Accessory Power Outlet - Center Console Compartment
Connector 8: Accessory Power Outlet - I/P
Connector 9: Air Temperature Actuator (C60)
Connector 10: Air Temperature Actuator - Left
Connector 11: Air Temperature Actuator - Right
Connector 12: Air Temperature Actuator - Auxiliary (C63)
Connector 13: Air Temperature Sensor
Connector 14: Air Temperature Sensor - Inside
Connector 15: Alarm Module Connector
Connector 16: Ambient Air Temperature Sensor
Connector 17: Ambient Light Sensor (C60)
Connector 18: Audio Amplifier (UWP)
Connector 19: Audio Amplifier X1 (UQ7 and LHD)
Connector 20: Audio Amplifier X1 (UQ7 and RHD)
Connector 21: Audio Amplifier X2 (UQ7 and LHD)
Connector 22: Audio Amplifier X2 (UQ7 and RHD)
Connector 23: Audio Amplifier X3 (LHD and UQ7)
Connector 24: Audio Amplifier X3 (RHD and UQ7)
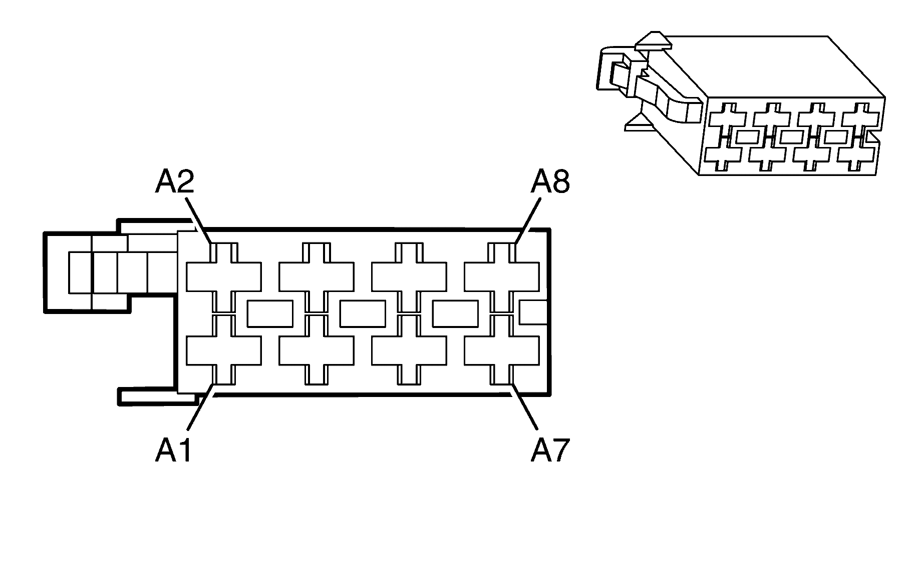
Connector 25: Automatic Transmission (MYC)
Connector 26: Automatic Transmission (M30 or M32)
Connector 27: Automatic Transmission Input Shaft Speed (ISS) Sensor
Connector 28: Automatic Transmission Output Shaft Speed (OSS) Sensor
Connector 29: Automatic Transmission Shift Lever
Connector 30: Backup Lamp - Left
Connector 31: Backup Lamp - Right
Connector 32: Backup Lamp Switch (M10 or MV5)
Connector 33: Battery (-)
Connector 34: Battery (+)
Connector 35: Battery Current Sensor
Connector 36: Battery Voltage Gauge
Connector 37: Blower Motor (LHD)
Connector 38: Blower Motor (RHD)
Connector 39: Blower Motor Control Module
Connector 40: Bluetooth Connector
Connector 41: Bluetooth Microphone
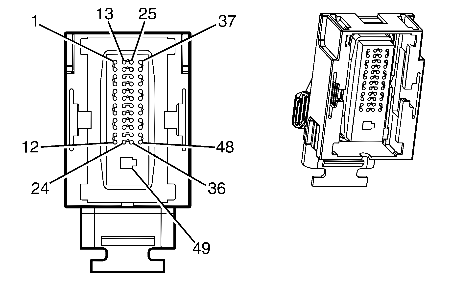
Connector 42: Bluetooth Module
Connector 43: Body Control Module (BCM) X1
Connector 44: Body Control Module (BCM) X2
Connector 45: Body Control Module (BCM) X3
Connector 46: Body Control Module (BCM) X4
Connector 47: Body Control Module (BCM) X5
Connector 48: Body Control Module (BCM) X6
Connector 49: Body Control Module (BCM) X7
Connector 50: Brake Fluid Level Switch
Connector 51: Brake Pedal Position (BPP) Sensor
Connector 52: Camshaft Position (CMP) Actuator Solenoid Valve - Bank 1 Exhaust (LY7)
Connector 53: Camshaft Position (CMP) Actuator Solenoid Valve - Bank 1 Intake (LY7)
Connector 54: Camshaft Position (CMP) Actuator Solenoid Valve - Bank 2 Exhaust (LY7)
Connector 55: Camshaft Position (CMP) Actuator Solenoid Valve - Bank 2 Intake (LY7)
Connector 56: Camshaft Position (CMP) Sensor - Bank 1 Exhaust (LY7)
Connector 57: Camshaft Position (CMP) Sensor - Bank 1 Intake (LY7)
Connector 58: Camshaft Position (CMP) Sensor - Bank 2 Exhaust (LY7)
Connector 59: Camshaft Position (CMP) Sensor - Bank 2 Intake (LY7)
Connector 60: Camshaft Position (CMP) Sensor (LS2 or HSV or L98)
Connector 61: Center Console Compartment Lamp X1
Connector 62: Center Console Compartment Lamp X2
Connector 63: Center Console Compartment Lamp Switch X1
Connector 64: Center Console Compartment Lamp Switch X2
Connector 65: Center High Mounted Stop Lamp (CHMSL)
Connector 66: Clutch Pedal Position (CPP) Switch
Connector 67: Clutch Safety Switch (not an approved name)
Connector 68: Clutch Start Switch
Connector 69: Courtesy Lamp - Left Footwell
Connector 70: Courtesy Lamp - Right Footwell
Connector 71: Cruise Control Clutch Pedal Release Switch
Connector 72: Crankshaft Position (CKP) Sensor (LY7)
Connector 73: Crankshaft Position (CKP) Sensor (without LY7)
Connector 74: Data Link Connector (DLC)
Connector 75: Data Link Resistor
Connector 76: Diagnostic Connector (LPG)
Connector 77: Digital Radio Receiver (U2K)
Connector 78: Digital Video Disc (DVD) Control Module X1
Connector 79: Digital Video Disc (DVD) Control Module X2
Connector 80: Digital Video Disc (DVD) Control Module X3
Connector 81: Digital Video Disc (DVD) Control Module X4
Connector 82: Digital Video Disc (DVD) Control Module X5
Connector 83: Digital Video Disc (DVD) Control Module X6
Connector 84: Digital Video Disc (DVD) Control Module X7
Connector 85: Digital Video Disc (DVD) Control Module X8
Connector 86: Digital Video Disc (DVD) Display X1
Connector 87: Digital Video Disc (DVD) Display X2
Connector 88: Digital Video Disc (DVD) Player X1
Connector 89: Digital Video Disc (DVD) Player X2
Connector 90: Disable Switch
Connector 91: Dome Lamp (without TRV)
Connector 92: Dome/Reading Lamps - Front (C74 without 9C1)
Connector 93: Dome/Reading Lamps (9C1)
Connector 94: Dome/Reading Lamps - Rear (TRV)
Connector 95: Dome/Reading Lamps - Rear (without TRV)
Connector 96: Door Courtesy Lamp - Driver X1
Connector 97: Door Courtesy Lamp - Driver X2
Connector 98: Door Courtesy Lamp - Left Rear X1
Connector 99: Door Courtesy Lamp - Left Rear X2
Connector 100: Door Courtesy Lamp - Passenger X1
Connector 101: Door Courtesy Lamp - Passenger X2
Connector 102: Door Courtesy Lamp - Right Rear X1
Connector 103: Door Courtesy Lamp - Right Rear X2
Connector 104: Door Latch - Driver
Connector 105: Door Latch - Left Rear
Connector 106: Door Latch - Passenger
Connector 107: Door Latch - Right Rear
Connector 108: Door Lock/Window Switch X1
Connector 109: Door Lock/Window Switch X2
Connector 110: Driver Information Center (DIC) (ERG)
Connector 111: Driver Information Center (DIC) (without ERG)
Connector 112: Driving Lamp - Left (HSV or VXR8)
Connector 113: Driving Lamp - Right (HSV or VXR8)
Connector 114: Driving Lamp - HSVDR 1 (HSV or VXR8)
Connector 115: Electronic Brake Control Module (EBCM) (JL4)
Connector 116: Electronic Brake Control Module (EBCM) (JL9)
Connector 117: Electronic Suspension Control (ESC) Switch (HSV)
Connector 118: Electronic Suspension Control (ESC) Module (HSV)
Connector 119: Engine Control Module (ECM) (L98 or HSV or LS2) X1
Connector 120: Engine Control Module (ECM) (L98 or HSV or LS2) X2
Connector 121: Engine Control Module (ECM) (LY7) X1
Connector 122: Engine Control Module (ECM) (LY7) X2
Connector 123: Engine Coolant Temperature (ECT) Sensor (L98 or HSV)
Connector 124: Engine Coolant Temperature (ECT) Sensor (LY7)
Connector 125: Engine Cooling Fan - Left
Connector 126: Engine Cooling Fan - Right
Connector 127: Engine Oil Level and Temperature Sensor
Connector 128: Engine Oil Pressure (EOP) Sensor
Connector 129: Evaporative Emission (EVAP) Canister Purge Solenoid Valve (L98 or HSV)
Connector 130: Evaporative Emission (EVAP) Canister Purge Solenoid Valve (LY7)
Connector 131: Evaporative Emission (EVAP) Canister Vent Solenoid Valve
Connector 132: Fog Lamp - Left Front
Connector 133: Fog Lamp - Rear (T79)
Connector 134: Fog Lamp - Right Front
Connector 135: Front and Rear Object Alarm Module X1
Connector 136: Front and Rear Object Alarm Module X2
Connector 137: Front and Rear Object Alarm Module X3
Connector 138: Front and Rear Object Alarm
Connector 139: Fuel Door Release Actuator
Connector 140: Fuel Injector 1 (LY7)
Connector 141: Fuel Injector 1 (L98 or HSV)
Connector 142: Fuel Injector 2 (LY7)
Connector 143: Fuel Injector 2 (L98 or HSV)
Connector 144: Fuel Injector 3 (LY7)
Connector 145: Fuel Injector 3 (L98 or HSV)
Connector 146: Fuel Injector 4 (LY7)
Connector 147: Fuel Injector 4 (L98 or HSV)
Connector 148: Fuel Injector 5 (LY7)
Connector 149: Fuel Injector 5 (L98 or HSV)
Connector 150: Fuel Injector 6 (LY7)
Connector 151: Fuel Injector 6 (L98 or HSV)
Connector 152: Fuel Injector 7 (L98 or HSV)
Connector 153: Fuel Injector 8 (L98 or HSV)
Connector 154: Fuel Level Sensor - Secondary
Connector 155: Fuel Tank Pressure (FTP) Sensor
Connector 156: Fuel Pump and Sender Assembly
Connector 157: Generator X1 (L76)
Connector 158: Generator X1 (LY7)
Connector 159: Generator X2
Connector 160: Headlamp and Panel Dimmer Switch
Connector 161: Headlamp - Left
Connector 162: Headlamp - Right
Connector 163: Headlamp Washer Fluid Pump
Connector 164: Heated Oxygen Sensor (HO2S) Bank 1 Sensor 1 (LY7)
Connector 165: Heated Oxygen Sensor (HO2S) Bank 1 Sensor 1 (L98 or HSV)
Connector 166: Heated Oxygen Sensor (HO2S) Bank 1 Sensor 2 (LY7)
Connector 167: Heated Oxygen Sensor (HO2S) Bank 1 Sensor 2 (L98 or HSV or LS2)
Connector 168: Heated Oxygen Sensor (HO2S) Bank 2 Sensor 1 (LY7)
Connector 169: Heated Oxygen Sensor (HO2S) Bank 2 Sensor 1 (L98 or HSV)
Connector 170: Heated Oxygen Sensor (HO2S) Bank 2 Sensor 2 (LY7)
Connector 171: Heated Oxygen Sensor (HO2S) Bank 2 Sensor 2 (L98 or HSV)
Connector 172: Heated Seat Control Module - Driver (KA1)
Connector 173: Heated Seat Control Module - Passenger (KA1)
Connector 174: Hood Ajar Switch
Connector 175: Horn - Left X1
Connector 176: Horn - Left X2
Connector 177: Horn - Right X1
Connector 178: Horn - Right X2
Connector 179: HVAC Control Module X1 (LHD)
Connector 180: HVAC Control Module X1 (RHD)
Connector 181: HVAC Control Module X2 (LHD)
Connector 182: HVAC Control Module X3 (RHD)
Connector 183: HVAC Control Module (RHD) X4
Connector 184: HVAC Control Module (RHD) X5
Connector 185: Ignition Coil 1 (LY7)
Connector 186: Ignition Coil 1 (L98 or HSV)
Connector 187: Ignition Coil 2 (LY7)
Connector 188: Ignition Coil 2 (L98 or HSV)
Connector 189: Ignition Coil 3 (LY7)
Connector 190: Ignition Coil 3 (L98 or HSV)
Connector 191: Ignition Coil 4 (LY7)
Connector 192: Ignition Coil 4 (L98 or HSV)
Connector 193: Ignition Coil 5 (LY7)
Connector 194: Ignition Coil 5 (L98 or HSV)
Connector 195: Ignition Coil 6 (LY7)
Connector 196: Ignition Coil 6 (L98 or HSV)
Connector 197: Ignition Coil 7 (L98 or HSV)
Connector 198: Ignition Coil 8 (L98 or HSV)
Connector 199: Ignition Key Cylinder Lamp
Connector 200: Ignition Lock Cylinder Control Solenoid
Connector 201: Ignition Switch
Connector 202: Inflatable Restraint Front End Sensor - Left
Connector 203: Inflatable Restraint Front End Sensor - Right
Connector 204: Inflatable Restraint Front Passenger Presence System (PPS) Module X1
Connector 205: Inflatable Restraint Front Passenger Presence System (PPS) Module X2
Connector 206: Inflatable Restraint I/P Module X1
Connector 207: Inflatable Restraint I/P Module X2
Connector 208: Inflatable Restraint Roof Rail Module - Left
Connector 209: Inflatable Restraint Roof Rail Module - Right
Connector 210: Inflatable Restraint Seat Position Sensor - Driver
Connector 211: Inflatable Restraint Seat Position Sensor - Passenger
Connector 212: Inflatable Restraint Sensing and Diagnostic Module (SDM) X1
Connector 213: Inflatable Restraint Sensing and Diagnostic Module (SDM) X2
Connector 214: Inflatable Restraint Side Impact Module - Left X1
Connector 215: Inflatable Restraint Side Impact Module - Left X2
Connector 216: Inflatable Restraint Side Impact Module - Right X1
Connector 217: Inflatable Restraint Side Impact Module - Right X2
Connector 218: Inflatable Restraint Side Impact Sensor (SIS) - Left
Connector 219: Inflatable Restraint Side Impact Sensor (SIS) - Right
Connector 220: Inflatable Restraint Steering Wheel Module Coil X1
Connector 221: Inflatable Restraint Steering Wheel Module Coil X2 (RHD)
Connector 222: Inflatable Restraint Steering Wheel Module Coil X2 (LHD)
Connector 223: Inflatable Restraint Steering Wheel Module X1
Connector 224: Inflatable Restraint Steering Wheel Module X2
Connector 225: Inside Rearview Mirror (ISRVM) (UE1)
Connector 226: Inside Rearview Mirror (ISRVM) (without UE1)
Connector 227: Instrument Panel Cluster
Connector 228: I/P Compartment Lamp X1
Connector 229: I/P Compartment Lamp X2
Connector 230: I/P Compartment Lamp Switch X1
Connector 231: I/P Compartment Lamp Switch X2
Connector 232: Intake Manifold Tuning (IMT) Solenoid Valve (LY7)
Connector 233: Internal Mode Switch (IMS)
Connector 234: Knock Sensor (KS) 1 (LY7)
Connector 235: Knock Sensor (KS) 1 (L98 or HSV)
Connector 236: Knock Sensor (KS) 2 (LY7)
Connector 237: Knock Sensor (KS) 2 (L98 or HSV)
Connector 238: License Lamp - Left
Connector 239: License Lamp - Right
Connector 240: LPG Control Module
Connector 241: LPG Fuel Injector 1
Connector 242: LPG Fuel Injector 2
Connector 243: LPG Fuel Injector 3
Connector 244: LPG Fuel Injector 4
Connector 245: LPG Fuel Injector 5
Connector 246: LPG Fuel Injector 6
Connector 247: LPG Lock-Off
Connector 248: LPG Relay
Connector 249: LPG Switch/Fuel Display
Connector 250: Manifold Absolute Pressure (MAP) Sensor (L98)
Connector 251: Mass Air Flow (MAF)/Intake Air Temperature (IAT) Sensor
Connector 252: Memory Seat Module - Driver X1
Connector 253: Memory Seat Module - Driver X2
Connector 254: Memory Seat Module - Driver X3
Connector 255: Memory Seat Module - Driver X4
Connector 256: Mode Actuator - Left
Connector 257: Mode Actuator - Right
Connector 258: Mode Actuator - Auxiliary (C63)
Connector 259: Multifunction Switch - Center Console
Connector 260: Navigation Gateway Module (RHD)
Connector 261: Navigation Module X1 (RHD)
Connector 262: Navigation Module X2 (RHD)
Connector 263: Navigation Module X3 (RHD)
Connector 264: Navigation Module X4 (RHD)
Connector 265: Navigation Module X5 (RHD)
Connector 266: Navigation Module X6 (RHD)
Connector 267: Navigation Module X7 (RHD)
Connector 268: Object Alarm Sensor - Left Front Corner
Connector 269: Object Alarm Sensor - Left Front Middle
Connector 270: Object Alarm Sensor - Left Rear Corner
Connector 271: Object Alarm Sensor - Left Rear Middle
Connector 272: Object Alarm Sensor - Right Front Corner
Connector 273: Object Alarm Sensor - Right Front Middle
Connector 274: Object Alarm Sensor - Right Rear Corner
Connector 275: Object Alarm Sensor - Right Rear Middle
Connector 276: Oil Pressure Gauge
Connector 277: Oil Temperature Gauge
Connector 278: Outside Moisture Sensor
Connector 279: Outside Rearview Mirror - Driver
Connector 280: Outside Rearview Mirror - Passenger
Connector 281: Outside Rearview Mirror Switch
Connector 282: Park Brake Switch
Connector 283: Park/Neutral Position (PNP) Switch (M30 or M32)
Connector 284: Pressure Control (PC) Solenoid Valve
Connector 285: Radio X1
Connector 286: Radio X2
Connector 287: Radio X3
Connector 288: Radio X4
Connector 289: Rail Pressure/Temperature Sensor (LPG)
Connector 290: Rear Compartment Courtesy Lamp X1
Connector 291: Rear Compartment Courtesy Lamp X2
Connector 292: Rear Compartment Lid Latch
Connector 293: Rear Compartment Lid Release Switch
Connector 294: Rear Lock-Off/Service Solenoid Assembly (LPG)
Connector 295: Rear Object Sensor Control Module Connector
Connector 296: Rear Park Assist Module X2
Connector 297: Rear Park Assist Module X3
Connector 298: Rear Park Assist Module X4
Connector 299: Rear Park Assist Module X5
Connector 300: Rear Park Assist Ground Connector X1
Connector 301: Rear Park Assist Ground Connector X2
Connector 302: Rear Window Defogger Grid X1
Connector 303: Rear Window Defogger Grid X2
Connector 304: Recirculation Actuator
Connector 305: Regulator Temperature Sensor (LPG)
Connector 306: Remote Control Door Lock Receiver (RCDLR)
Connector 307: Reverse Lockout Solenoid (L98 or HSV)
Connector 308: Seat Adjuster Switch - Driver (AG3 or AGB)
Connector 309: Seat Adjuster Switch - Driver (AH6 or AJ6)
Connector 310: Seat Adjuster Switch - Passenger
Connector 311: Seat Belt Buckle Pretensioner - Driver
Connector 312: Seat Belt Retractor Pretensioner - Driver
Connector 313: Seat Belt Buckle Pretensioner - Passenger
Connector 314: Seat Belt Retractor Pretensioner - Passenger
Connector 315: Seat Belt Switch - Driver
Connector 316: Seat Belt Switch - Passenger
Connector 317: Seat Front Vertical Motor - Driver (AG1 or AG3)
Connector 318: Seat Front Vertical Motor - Passenger (AG1)
Connector 319: Seat Horizontal Motor - Driver (AG1 or AG3)
Connector 320: Seat Horizontal Motor - Passenger (AG1)
Connector 321: Memory Seat Module (MSM)
Connector 322: Seat Lumbar Motor - Driver X1 (AG3)
Connector 323: Seat Lumbar Motor - Driver X2 (AG3)
Connector 324: Seat Rear Vertical Motor - Driver (AG1 or AG3)
Connector 325: Seat Rear Vertical Motor - Passenger (AG1)
Connector 326: Seat Recline Motor - Driver (AG1 or AG3)
Connector 327: Seat Recline Motor - Passenger (AG1)
Connector 328: Shock Absorber Actuator - Left Front (HSV)
Connector 329: Shock Absorber Actuator - Left Rear (HSV)
Connector 330: Shock Absorber Actuator - Right Front (HSV)
Connector 331: Shock Absorber Actuator - Right Rear (HSV)
Connector 332: Side Marker Lamp - Left Front
Connector 333: Side Marker Lamp - Left Rear
Connector 334: Side Marker Lamp - Right Front
Connector 335: Side Marker Lamp - Right Rear
Connector 336: Siren Connector
Connector 337: Speaker - Center I/P X1 (UW5)
Connector 338: Speaker - Center I/P X2 (UW5)
Connector 339: Speaker - Center I/P (without UW5)
Connector 340: Speaker - Left Front (UQ7)
Connector 341: Speaker - Left Front (UW5 or U65)
Connector 342: Speaker - Left Front Tweeter (U65 or UW5)
Connector 343: Speaker - Left Front Tweeter (UQ7)
Connector 344: Speaker - Left Rear (U65 or UW5)
Connector 345: Speaker - Left Rear (UQ7)
Connector 346: Speaker - Left Subwoofer (UQ7)
Connector 347: Speaker - Right Front (UQ7)
Connector 348: Speaker - Right Front (UW5 or U65)
Connector 349: Speaker - Right Front Tweeter (U65 or UW5)
Connector 350: Speaker - Right Front Tweeter (UQ7)
Connector 351: Speaker - Right Rear (U65 or UW5)
Connector 352: Speaker - Right Rear (UQ7)
Connector 353: Speaker - Right Subwoofer (UQ7)
Connector 354: Starter Motor X1
Connector 355: Starter Motor X2
Connector 356: Steering Angle Sensor
Connector 357: Steering Wheel Controls Switch Assembly
Connector 358: Sunload Sensor (CJ2 or C63)
Connector 359: Sunroof Control Module (RHD)
Connector 360: Sunroof Switch (RHD)
Connector 361: Sunshade - Left
Connector 362: Sunshade - Right
Connector 363: Suspension Position Sensor - Left Front (HSV)
Connector 364: Suspension Position Sensor - Left Rear (HSV)
Connector 365: Suspension Position Sensor - Right Front (HSV)
Connector 366: Suspension Position Sensor - Right Rear (HSV)
Connector 367: Tail Lamp - Left (without HSV or VXR8)
Connector 368: Tail Lamp - Left (HSV or VXR8)
Connector 369: Tail Lamp - Right (without HSV or VXR8)
Connector 370: Tail Lamp - Right (HSV or VXR8)
Connector 371: Telematics Module X1 (RHD)
Connector 372: Telematics Module X2 (RHD)
Connector 373: Theft Deterrent Alarm Siren X1
Connector 374: Theft Deterrent Alarm Siren X2
Connector 375: Theft Deterrent Module (TDM)
Connector 376: Throttle Body
Connector 377: Tilt Sensor
Connector 378: Trailer Connector
Connector 379: Trailer Harness Control Module
Connector 380: Trailer Patch Harness Electrical Brake Connector
Connector 381: Trailer Presence Conncetor
Connector 382: Torque Converter Clutch (TCC) Pulse Width Modulation (PWM) Solenoid Valve
Connector 383: Transmission Control Module (TCM) (M30 or M32)
Connector 384: Turn Signal/Multifunction Switch
Connector 385: Ultrasonic Sensor Control Module
Connector 386: Valve Lifter Oil Manifold (VLOM) Assembly
Connector 387: Variable Intake Manifold (VIM) Module
Connector 388: Vehicle Communication Interface Module (VCIM) X1
Connector 389: Vehicle Communication Interface Module (VCIM) X2
Connector 390: Vehicle Communication Interface Module (VCIM) Battery
Connector 391: Vehicle Speed Sensor (VSS)
Connector 392: Video Display
Connector 393: Video Display - Left Seat Headrest X1
Connector 394: Video Display - Left Seat Headrest X2
Connector 395: Video Display - Right Seat Headrest X1
Connector 396: Video Display - Right Seat Headrest X2
Connector 397: Wheel Speed Sensor (WSS) - Left Front
Connector 398: Wheel Speed Sensor (WSS) - Left Rear
Connector 399: Wheel Speed Sensor (WSS) - Right Front
Connector 400: Wheel Speed Sensor (WSS) - Right Rear
Connector 401: Window Control Module
Connector 402: Window Motor - Driver (AXB)
Connector 403: Window Motor - Driver (AXC)
Connector 404: Window Motor - Left Rear
Connector 405: Window Motor - Passenger (AXB)
Connector 406: Window Motor - Passenger (AXC)
Connector 407: Window Motor - Right Rear
Connector 408: Window Switch - Left Rear
Connector 409: Window Switch - Right Rear
Connector 410: Windshield Washer Fluid Level Switch (TT7 or TT8 or EF7)
Connector 411: Windshield Washer Fluid Pump
Connector 412: Windshield Wiper Motor
Connector 413: Windshield Wiper/Washer Switch
Connector 414: Yaw and Lateral Accelerometer Sensor

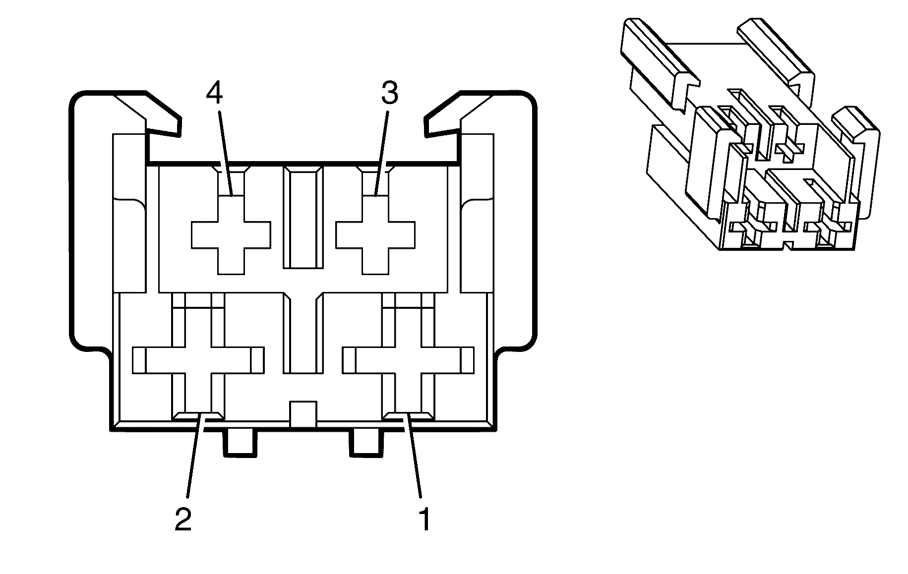
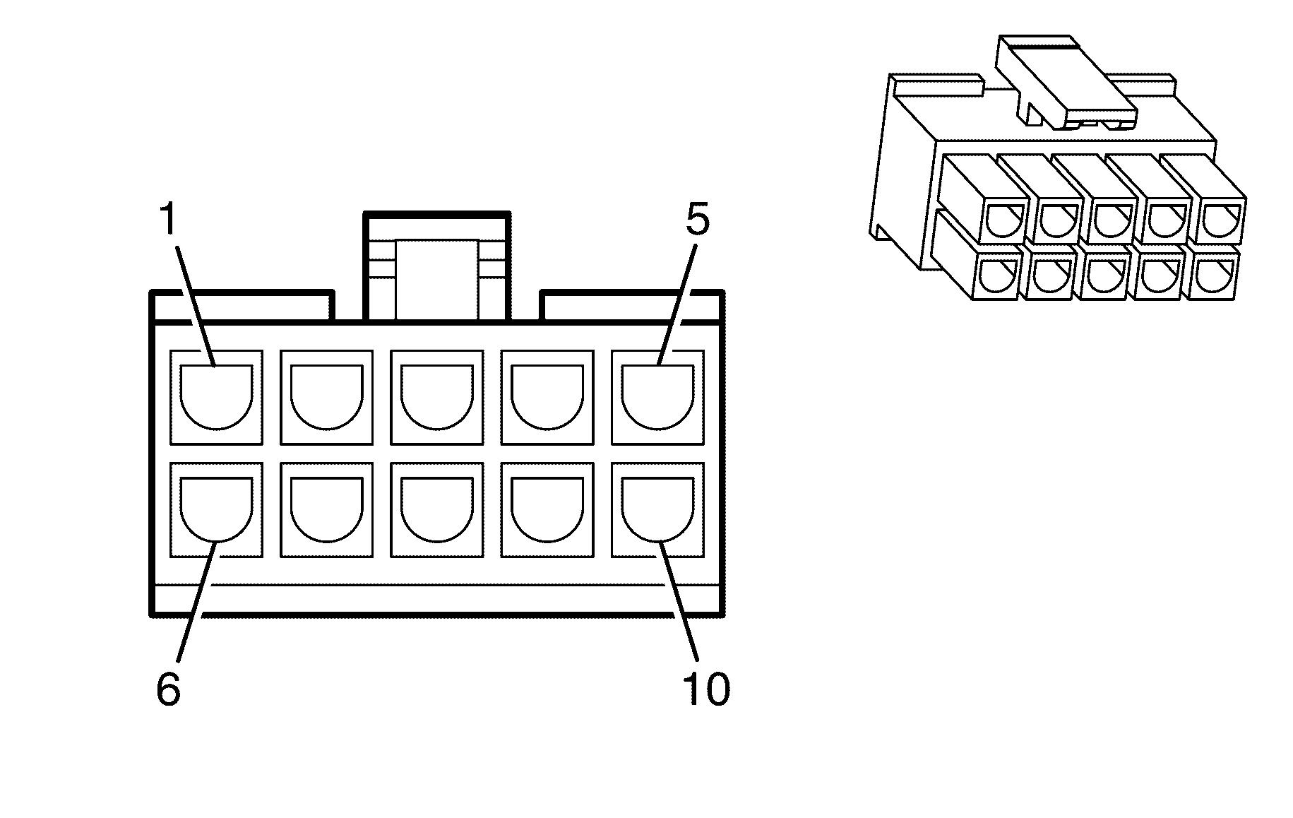
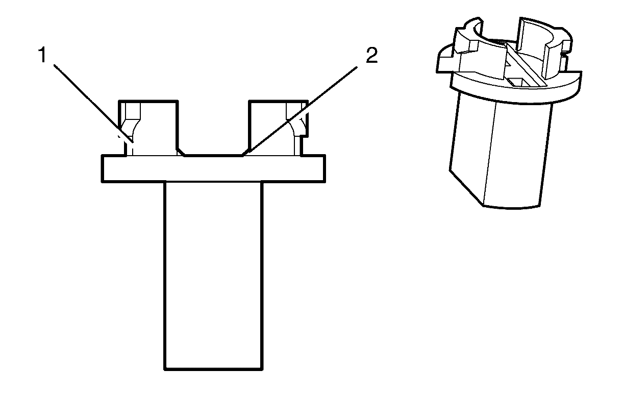
1-2 Shift Solenoid (SS) Valve


Object Number: 82345  Size: CH

Connector Part Information

  • OEM: 12146094
  • Service: See Catalog
  • Description: 2-Way F Metri-Pack 150.2 Series, Sealed, Pull To Seat (GY)

Terminal Part Information

  • Terminal/Tray: See Terminal Repair Kit
  • Core/Insulation Crimp: See Terminal Repair Kit
  • Release Tool/Test Probe: See Terminal Repair Kit

1-2 Shift Solenoid (SS) Valve

Pin

Wire Color

Circuit No.

Function

A

0.5 BK

1222

Shift Solenoid A Valve Control

B

0.5 WH

1525

Clutch Pressure Control Solenoid Valve 1 High Control

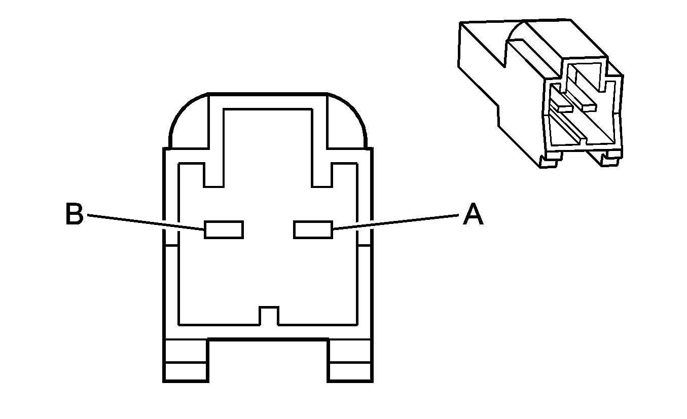
3-4 Shift Solenoid (SS) Valve


Object Number: 82345  Size: CH

Connector Part Information

  • OEM: 12146094
  • Service: See Catalog
  • Description: 2-Way F Metri-Pack 150.2 Series, Sealed, Pull To Seat (GY)

Terminal Part Information

  • Terminal/Tray: See Terminal Repair Kit
  • Core/Insulation Crimp: See Terminal Repair Kit
  • Release Tool/Test Probe: See Terminal Repair Kit

3-4 Shift Solenoid (SS) Valve

Pin

Wire Color

Circuit No.

Function

A

0.5 GY

898

Shift Solenoid C Valve Control

B

0.5 WH

1525

Clutch Pressure Control Solenoid Valve 1 High Control

4-5 Shift Solenoid (SS) Valve


Object Number: 82345  Size: CH

Connector Part Information

  • OEM: 12146094
  • Service: See Catalog
  • Description: 2-Way F Metri-Pack 150.2 Series, Sealed, Pull To Seat (GY)

Terminal Part Information

  • Terminal/Tray: See Terminal Repair Kit
  • Core/Insulation Crimp: See Terminal Repair Kit
  • Release Tool/Test Probe: See Terminal Repair Kit

4-5 Shift Solenoid (SS) Valve

Pin

Wire Color

Circuit No.

Function

A

0.5 D-BU

1223

Shift Solenoid B Valve Control

B

0.5 WH

1525

Clutch Pressure Control Solenoid Valve 1 High Control

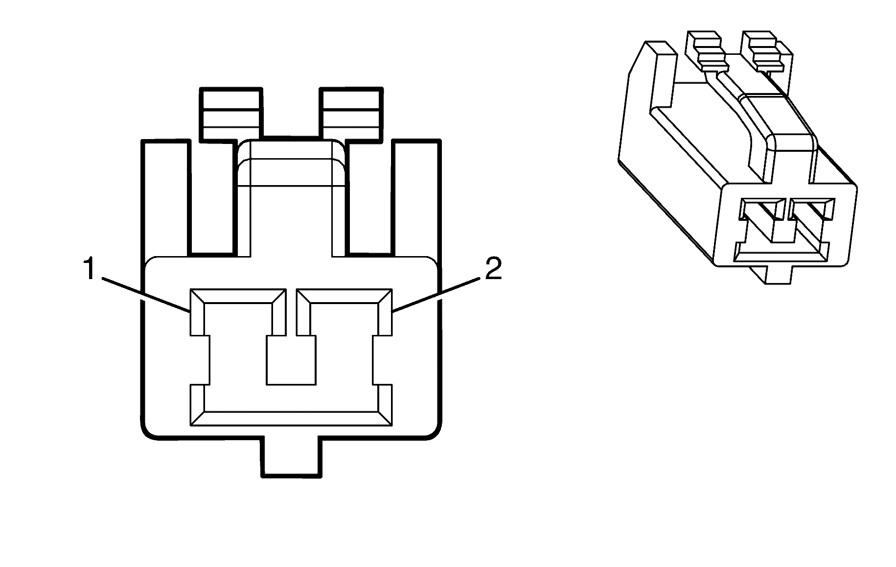
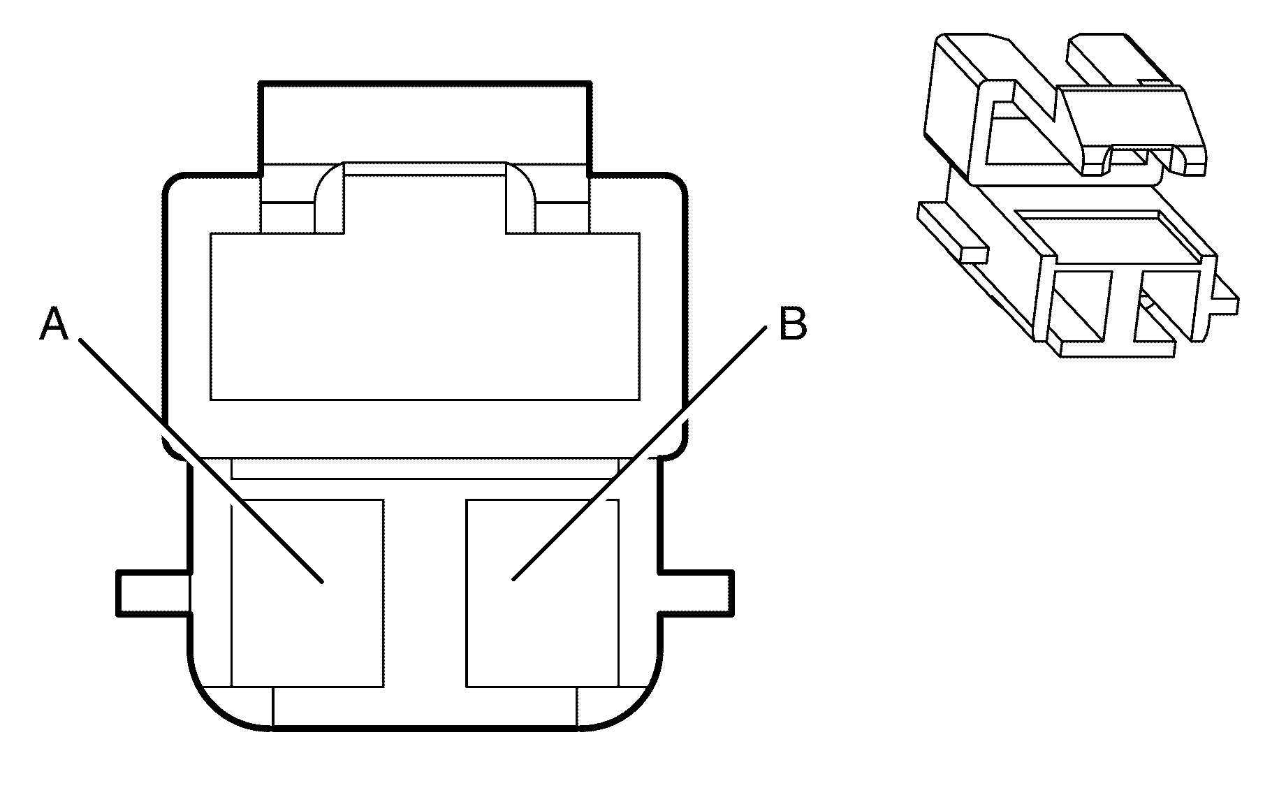
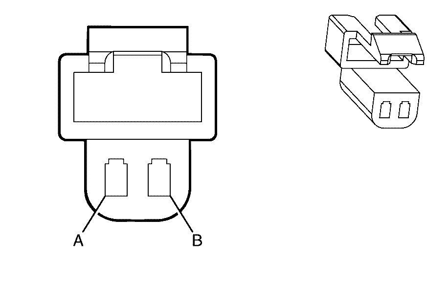
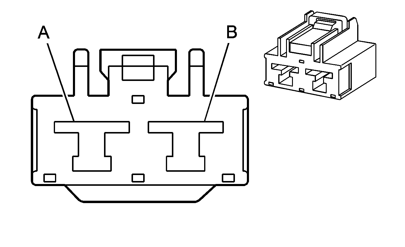
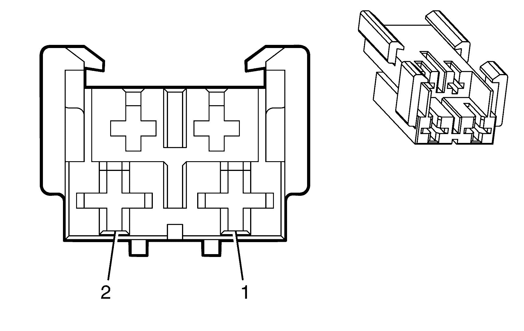
A/C Compressor


Object Number: 1989420  Size: CH

Connector Part Information

  • OEM: 7283-8125-30
  • Service: See Catalog
  • Description: 2-Way F (BK)

Terminal Part Information

  • Terminal/Tray: 7116-4025/11
  • Core/Insulation Crimp: E/1
  • Release Tool/Test Probe: 15313892/J-35616-18 (BK)

A/C Compressor

Pin

Wire Color

Circuit No.

Function

1

0.5 D-BU

7393

A/C Compressor Clutch Low Reference

2

0.5 D-GN

7392

A/C Compressor Clutch Supply Voltage

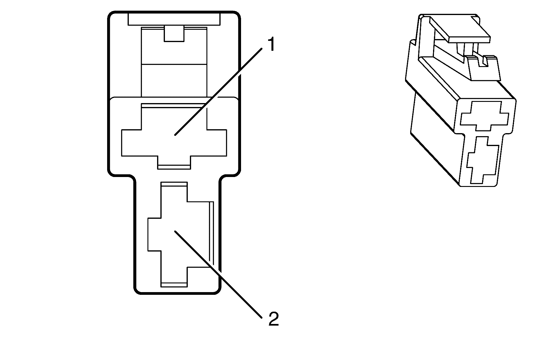
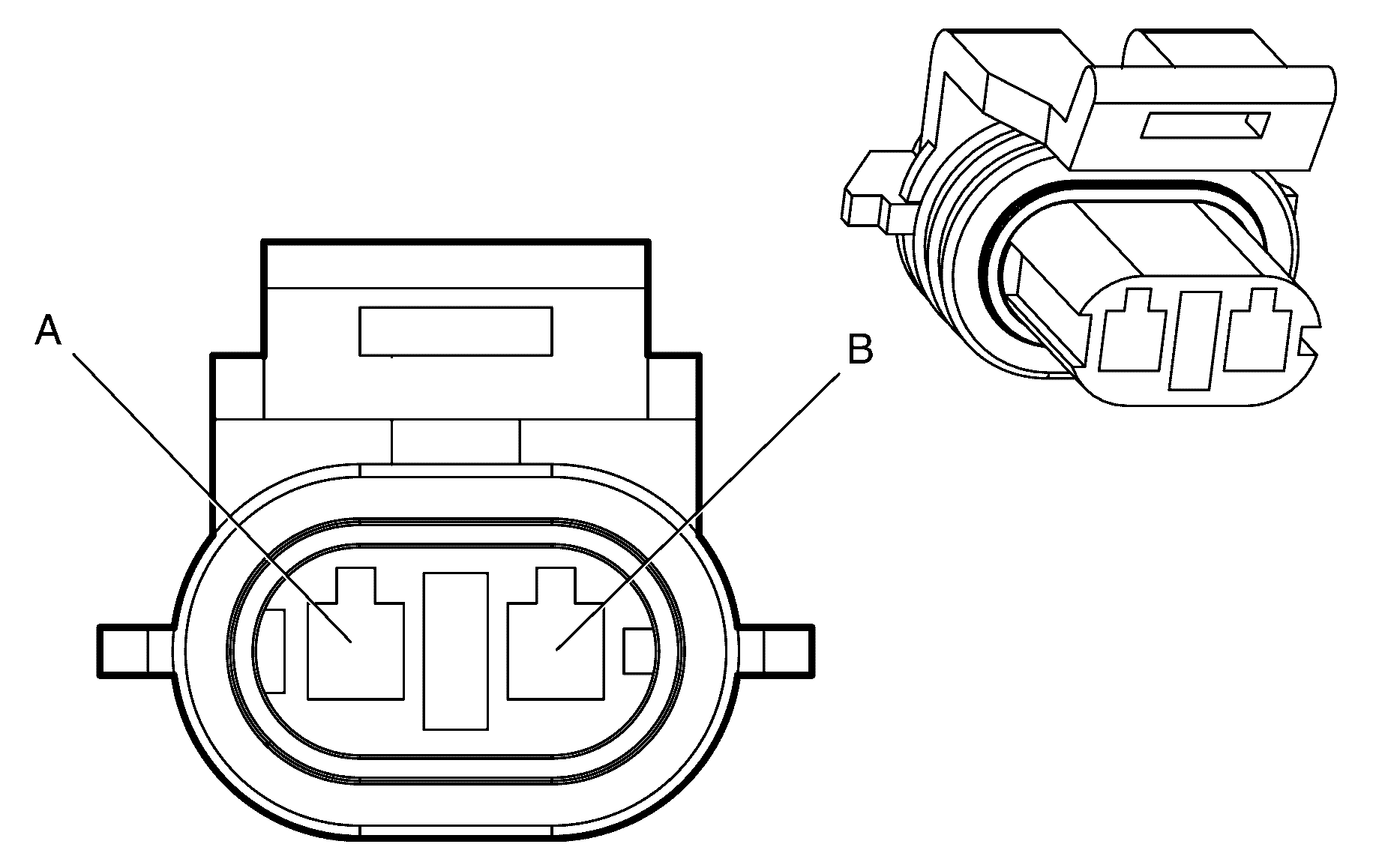
A/C Refrigerant Pressure Sensor


Object Number: 1989348  Size: CH

Connector Part Information

  • OEM: 7283-2429
  • Service: See Catalog
  • Description: 3-Way F (BK)

Terminal Part Information

  • Terminal/Tray: 15326267/19
  • Core/Insulation Crimp: E/4
  • Release Tool/Test Probe: 15315247/J-35616-2A (GY)

A/C Refrigerant Pressure Sensor

Pin

Wire Color

Circuit No.

Function

1

0.5 BN/GN

2759

Low Reference

2

0.5 GY

1688

5-Volt Reference

3

0.5 OG/BK

380

A/C Refrigerant Pressure Sensor Signal

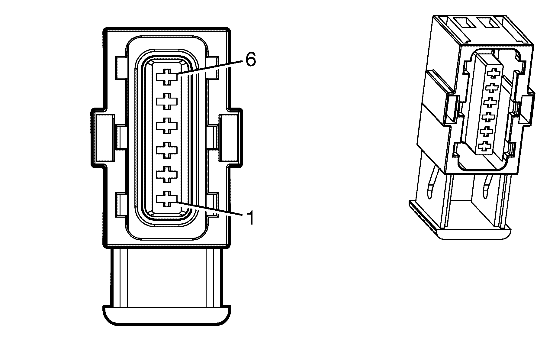
Accelerator Pedal Position (APP) Sensor


Object Number: 1989286  Size: CH

Connector Part Information

  • OEM: 7283-6463-30
  • Service: See Catalog
  • Description: 6-Way F (BK)

Terminal Part Information

  • Terminal/Tray: 4-964274-1/25
  • Core/Insulation Crimp: E/A
  • Release Tool/Test Probe: J-38125-560/J-35616-33 (YE)

Accelerator Pedal Position (APP) Sensor

Pin

Wire Color

Circuit No.

Function

1

0.5 BN/YE

1274

5-Volt Reference

2

0.5 WH/BK

1164

5-Volt Reference

3

0.5 D-BU/WH

1161

APP Sensor 1 Signal

4

0.5 BN

1271

Low Reference

5

0.5 PU

1272

Low Reference

6

0.5 L-BU

1162

APP Sensor 2 Signal

Accessory Power Outlet - Center Console Compartment


Object Number: 1989567  Size: CH

Connector Part Information

  • OEM: 7123-5125-30
  • Service: See Catalog
  • Description: 2-Way F (BK)

Terminal Part Information

  • Terminal/Tray: 7116-2641-02/12
  • Core/Insulation Crimp: C/B
  • Release Tool/Test Probe: 12094430/J-35616-42 (RD)

Accessory Power Outlet - Center Console Compartment

Pin

Wire Color

Circuit No.

Function

A

1.25 BN/WH

9301

Accessory Voltage

B

1.25 BK

2050

Ground

Accessory Power Outlet - I/P


Object Number: 1989571  Size: CH

Connector Part Information

  • OEM: 7122-6030
  • Service: See Catalog
  • Description: 3-Way (BK)

Terminal Part Information

  • Terminal/Tray: See Terminal Repair Kit
  • Core/Insulation Crimp: See Terminal Repair Kit
  • Release Tool/Test Probe: See Terminal Repair Kit

Accessory Power Outlet - I/P

Pin

Wire Color

Circuit No.

Function

A

1.25 GY

8

Instrument Panel Lamp Supply Voltage

B

1.25 BN/WH

143

Accessory Voltage

C

1.25 BK

850

Ground

Air Temperature Actuator (C60)


Object Number: 826267  Size: CH

Connector Part Information

  • OEM: IL-AG5-7S-S3C1
  • Service: See Catalog
  • Description: 7-Way F (GN)

Terminal Part Information

  • Terminal/Tray: See Terminal Repair Kit
  • Core/Insulation Crimp: See Terminal Repair Kit
  • Release Tool/Test Probe: See Terminal Repair Kit

Air Temperature Actuator (C60)

Pin

Wire Color

Circuit No.

Function

1

0.5 YE

598

5-Volt Reference

2

--

--

Not Used

3

0.5 GY

1791

Low Reference

4

--

--

Not Used

5

0.5 WH

733

Air Temperature Door Position Signal

6

0.5 D-BU/WH

5954

Air Temperature Motor Control

7

0.5 RD/WH

2210

Air Temperature Door Control

Air Temperature Actuator - Left


Object Number: 1283833  Size: CH

Connector Part Information

  • OEM: 7283-5830-30
  • Service: See Catalog
  • Description: 5-Way F Yazaki (BK)

Terminal Part Information

  • Terminal/Tray: See Terminal Repair Kit
  • Core/Insulation Crimp: See Terminal Repair Kit
  • Release Tool/Test Probe: See Terminal Repair Kit

Air Temperature Actuator - Left

Pin

Wire Color

Circuit No.

Function

1

0.3 WH

2778

Passenger Air Temperature Motor Control

2

0.3 YE

1236

Passenger Air Temperature Door Control

3

0.3 BK/RD

719

Low Reference

4

0.3 BK/YE

1646

Passenger Air Temperature Door Position Signal

5

0.3 BK/WH

598

5-Volt Reference

Air Temperature Actuator - Right


Object Number: 1283833  Size: CH

Connector Part Information

  • OEM: 7283-5830-30
  • Service: See Catalog
  • Description: 5-Way F Yazaki (BK)

Terminal Part Information

  • Terminal/Tray: See Terminal Repair Kit
  • Core/Insulation Crimp: See Terminal Repair Kit
  • Release Tool/Test Probe: See Terminal Repair Kit

Air Temperature Actuator - Right

Pin

Wire Color

Circuit No.

Function

1

0.3 D-BU/WH

2148

Passenger Temp B Signal

2

0.3 YE/BK

2147

Passenger Temp A Signal

3

0.3 BN/WH

476

Low Reference

4

0.3 YE/BU

2178

Passenger Temp D Signal

5

0.3 YE/RD

2149

Passenger Temp C Signal

Air Temperature Actuator - Auxiliary (C63)


Object Number: 1283833  Size: CH

Connector Part Information

  • OEM: 7283-5830-30
  • Service: See Catalog
  • Description: 5-Way F Yazaki (BK)

Terminal Part Information

  • Terminal/Tray: See Terminal Repair Kit
  • Core/Insulation Crimp: See Terminal Repair Kit
  • Release Tool/Test Probe: See Terminal Repair Kit

Air Temperature Actuator - Auxiliary (C63)

Pin

Wire Color

Circuit No.

Function

1

0.3 L-GN/RD

5515

Inside Air Temperature Sensor Assembly Control

2

0.3 D-BU/OG

5516

Inside Air Temperature Sensor Assembly Control

3

0.3 RD/BK

552

Low Reference

4

0.3 PK/BK

5517

Low Reference

5

0.3 D-BU/GN

5518

Auxiliary Inside Air Temperature Sensor Signal

Air Temperature Sensor


Object Number: 2053088  Size: CH

Connector Part Information

  • OEM: 7283-5845
  • Service: See Catalog
  • Description: 2-Way F 040-III (NA)

Terminal Part Information

  • Terminal/Tray: See Terminal Repair Kit
  • Core/Insulation Crimp: See Terminal Repair Kit
  • Release Tool/Test Probe: See Terminal Repair Kit

Air Temperature Sensor

Pin

Wire Color

Circuit No.

Function

A

0.5 GY

1791

Low Reference

B

0.5 GY

1199

Air Temperature Door Control

Air Temperature Sensor - Inside


Object Number: 1283891  Size: CH

Connector Part Information

  • OEM: 7123-1520
  • Service: 88988450
  • Description: 2-Way F 090 Series (NA)

Terminal Part Information

  • Terminal/Tray: 7116-1180/11
  • Core/Insulation Crimp: C/E/C
  • Release Tool/Test Probe: 15315247/J-35616-18 (BK)

Air Temperature Sensor - Inside

Pin

Wire Color

Circuit No.

Function

A

0.3 D-GN

734

Inside Ambient Temperature Sensor Low Reference

B

0.3 BN

61

Outside Air Temperature Sensor Signal

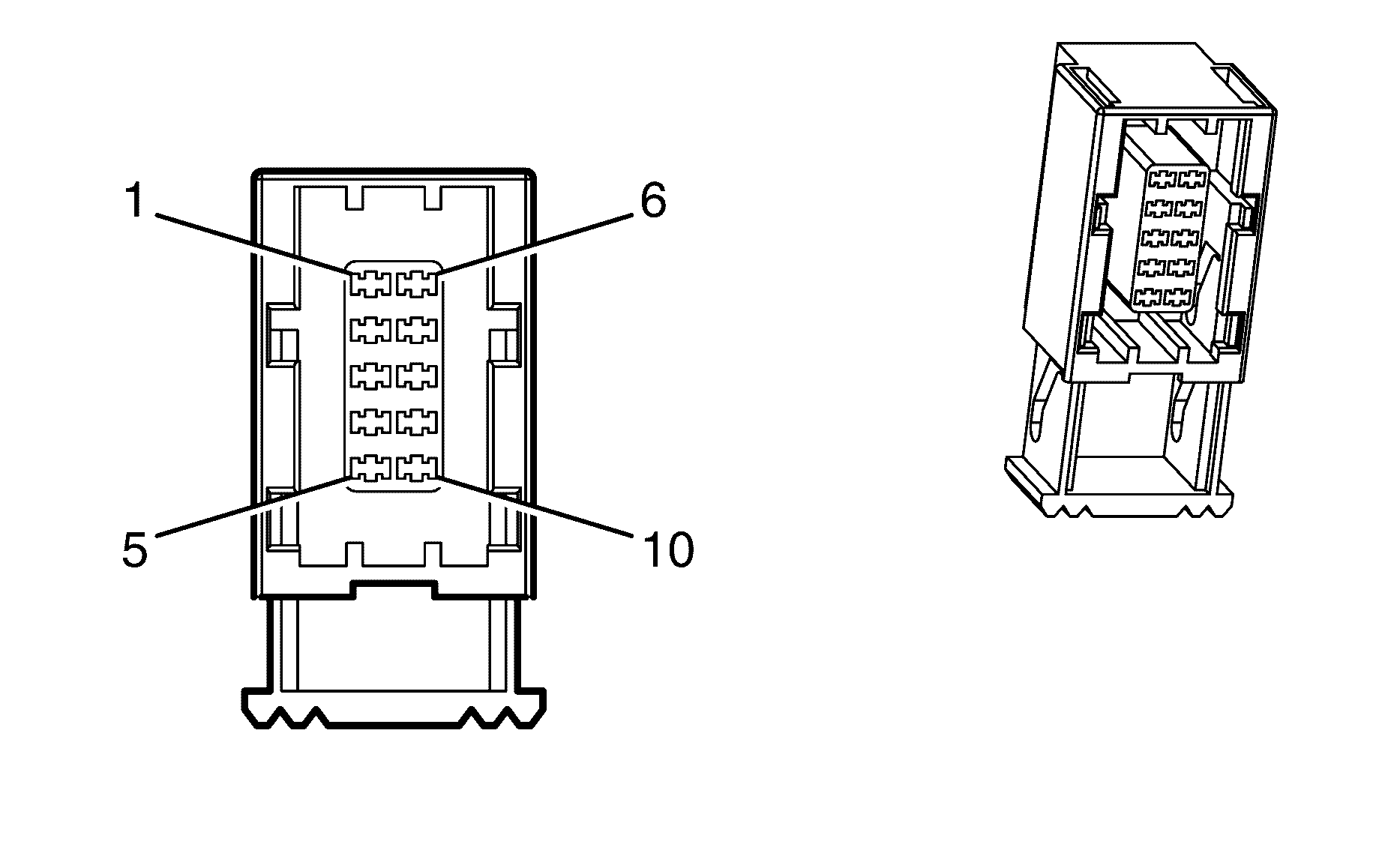
Alarm Module Connector


Object Number: 2015510  Size: CH

Connector Part Information

  • OEM:
  • Service: See Catalog
  • Description: 12-Way F

Terminal Part Information

  • Terminal/Tray: See Terminal Repair Kit
  • Core/Insulation Crimp: See Terminal Repair Kit
  • Release Tool/Test Probe: See Terminal Repair Kit

Alarm Module Connector

Pin

Wire Color

Circuit No.

Function

1

0.35 BK

 

Battery Power

2

0.35 BK

 

Horn Signal Input

3

0.35 BK

 

Siren Battery Test Output

4

0.35 BK

 

Inclination Sensor Signal

5

0.35 BK

 

Siren Control Signal

6

0.35 BK

 

Ground

7

0.35 BK

 

Intrusion Sensor Signal

8

0.35 BK

 

Alarm System Status

9

0.35 BK

 

Alarm Control Module Power Control

10

--

--

Not Used

11

0.35 BK

 

Disable Signal

12

--

--

Not Used

Ambient Air Temperature Sensor


Object Number: 1989409  Size: CH

Connector Part Information

  • OEM: 7223-9725-30
  • Service: 88987920
  • Description: 2-Way F (BK)

Terminal Part Information

  • Terminal/Tray: 12048074/2
  • Core/Insulation Crimp: E/1
  • Release Tool/Test Probe: 12094429/J-35616-14 (GN)

Ambient Air Temperature Sensor

Pin

Wire Color

Circuit No.

Function

A

0.3 BN

61

Low Reference

B

0.3 L-GN/BK

735

5-Volt Reference

Ambient Light Sensor (C60)


Object Number: 1989649  Size: CH

Connector Part Information

  • OEM: 7123-8328-30
  • Service: 12085535
  • Description: 2-Way F (BK)

Terminal Part Information

  • Terminal/Tray: 12064971/5
  • Core/Insulation Crimp: E/C
  • Release Tool/Test Probe: 12094429/J-35616-14 (GN)

Ambient Light Sensor (C60)

Pin

Wire Color

Circuit No.

Function

A

0.3 L-GN/BK

1137

DRL Ambient Light Sensor Signal

B

0.3 BK

850

Ground

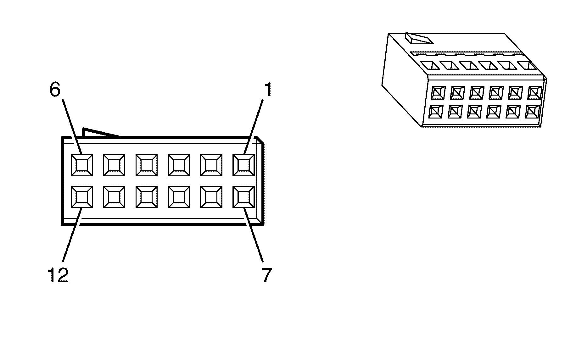
Audio Amplifier (UWP)


Object Number: 1989299  Size: CH

Connector Part Information

  • OEM: 7123-1423
  • Service: See Catalog
  • Description: 12-Way F

Terminal Part Information

  • Pins: 1, 2, 6, 7
  • Terminal/Tray: 173630-7/7
  • Core/Insulation Crimp: E/4
  • Release Tool/Test Probe: 15315247/J-35616-33 (YE)
  • Pins: 3-5, 8-12
  • Terminal/Tray: 173630-7/7
  • Core/Insulation Crimp: E/A
  • Release Tool/Test Probe: 15315247/J-35616-33 (YE)

Audio Amplifier (UWP)

Pin

Wire Color

Circuit No.

Function

1

0.5 BN

199

Left Rear Speaker Output (+)

2

0.5 D-BU

46

Right Rear Speaker Output (+)

3

1.25 D-BU/WH

346

Left or Rear Subwoofer Speaker Output (+)

4

1.25 RD/WH

2040

Battery Positive Voltage (LHD)

1.25 OG/WH

2040

Battery Positive Voltage (RHD)

5

1.25 BK

2050

Ground

6

0.5 YE

116

Left Rear Speaker Output (-) (LHD)

0.5 YE/RD

116

Left Rear Speaker Output (-) (RHD)

7

0.5 L-BU

115

Right Rear Speaker Output (-)

8

1.25 L-GN/BK

1794

[Left or Rear] Subwoofer Speaker Output (-)

9

1.25 D-GN

1795

Right Subwoofer Speaker Output (+)

10

1.25 L-BU/BK

315

Right Subwoofer Speaker Output (-)

11

1.25 RD/WH

2040

Battery Positive Voltage

1.25 OG/WH

2040

Battery Positive Voltage

12

1.25 BK

2050

Ground

Audio Amplifier X1 (UQ7 and LHD)


Object Number: 1989299  Size: CH

Connector Part Information

  • OEM: 7123-1423
  • Service: See Catalog
  • Description: 12-Way F

Terminal Part Information

  • Terminal/Tray: See Terminal Repair Kit
  • Core/Insulation Crimp: See Terminal Repair Kit
  • Release Tool/Test Probe: See Terminal Repair Kit

Audio Amplifier X1 (UQ7 and LHD)

Pin

Wire Color

Circuit No.

Function

1

0.5 BN

--

Left Rear Speaker Output (+)

2

0.5 D-BU

--

Right Rear Speaker Output (+)

3

1 D-BU/WH

--

Left or Rear Subwoofer Speaker Output (+)

4

2 RD/WH

--

Battery Positive Voltage

5

2 BK

--

Ground

6

0.5 YE

--

Left Rear Speaker Output (-)

7

0.5 L-BU

--

Right Rear Speaker Output (-)

8

1 L-GN/BK

--

Subwoofer Speaker Output (-)

9

1 D-GN

--

Right Subwoofer Speaker Output (+)

10

1 L-BU/BK

--

Right Subwoofer Speaker Output (-)

11

2 RD/WH

--

Battery Positive Voltage

12

2 BK

--

Ground

Audio Amplifier X1 (UQ7 and RHD)


Object Number: 1989465  Size: CH

Connector Part Information

  • OEM: 15394150
  • Service: See Catalog
  • Description: 16-Way F (BK)

Terminal Part Information

  • Terminal/Tray: See Terminal Repair Kit
  • Core/Insulation Crimp: See Terminal Repair Kit
  • Release Tool/Test Probe: See Terminal Repair Kit

Audio Amplifier X1 (UQ7 and RHD)

Pin

Wire Color

Circuit No.

Function

1-3

--

--

Not Used

4

0.3 BN/BU

1946

Right Rear Low Level Audio Signal (-)

5

0.3 BN

1999

Left Rear Low Level Audio Signal (-)

6

0.3 L-GN

1948

Right Front Low Level Audio Signal (-)

7

0.3 D-GN

1947

Left Front Low Level Audio Signal (-)

8

0.3 WH

7066

Amplifier Enable Signal

9-10

--

--

Not Used

11

0.3 OG

6978

Amplifier Mute Control

12

0.3 D-BU

546

Right Rear Low Level Audio Signal (+)

13

0.3 BN/WH

599

Left Rear Low Level Audio Signal (+)

14

0.3 L-GN/WH

512

Right Front Low Level Audio Signal (+)

15

0.3 BN/OG

511

Left Front Low Level Audio Signal (+)

16

--

--

Not Used

Audio Amplifier X2 (UQ7 and LHD)


Object Number: 1989299  Size: CH

Connector Part Information

  • OEM: 7123-1423
  • Service: See Catalog
  • Description: 12-Way F

Terminal Part Information

  • Terminal/Tray: See Terminal Repair Kit
  • Core/Insulation Crimp: See Terminal Repair Kit
  • Release Tool/Test Probe: See Terminal Repair Kit

Audio Amplifier X2 (UQ7 and LHD)

Pin

Wire Color

Circuit No.

Function

1

0.5 BN

--

Left Rear Speaker Output (+)

2

0.5 D-BU

--

Right Rear Speaker Output (+)

3

1 D-BU/WH

--

Rear Subwoofer Speaker Output (+)

4

2 RD/WH

--

Battery Positive Voltage

5

2 BK

--

Ground

6

0.5 YE

--

Left Rear Speaker Output (-)

7

0.5 L-BU

--

Right Rear Speaker Output (-)

8

1 L-GN/BK

--

Subwoofer Speaker Output (-)

9

1 D-GN

--

Right Subwoofer Speaker Output (+)

10

1 L-BU/BK

--

Right Subwoofer Speaker Output (-)

11

2 RD/WH

--

Battery Positive Voltage

12

2 BK

--

Ground

Audio Amplifier X2 (UQ7 and RHD)


Object Number: 1989469  Size: CH

Connector Part Information

  • OEM: 7283-5534-60
  • Service: See Catalog
  • Description: 16-Way F

Terminal Part Information

  • Terminal/Tray: See Terminal Repair Kit
  • Core/Insulation Crimp: See Terminal Repair Kit
  • Release Tool/Test Probe: See Terminal Repair Kit

Audio Amplifier X2 (UQ7 and RHD)

Pin

Wire Color

Circuit No.

Function

1

0.85 L-BU

115

Right Rear Speaker Output (-)

2

0.85 D-BU

46

Right Rear Speaker Output (+)

3

0.85 L-BU

1960

Front Center Speaker Output (-)

4

0.85 YE

1860

Front Center Speaker Output (+)

5

0.5 OG/BK

5766

Front Center Speaker Output (+)

6

0.5 OG

5756

Roof Center Speaker Output (-)

7

0.85 D-GN

117

Right Front Speaker Output (-)

8

0.85 L-GN

200

Right Front Speaker Output (+)

9-14

--

--

Not Used

15

0.85 BN

199

Left Front Speaker Output (-)

16

0.85 YE/RD

116

Left Front Speaker Output (+)

Audio Amplifier X3 (LHD and UQ7)


Object Number: 1989299  Size: CH

Connector Part Information

  • OEM: 7123-1423
  • Service: See Catalog
  • Description: 12-Way F

Terminal Part Information

  • Terminal/Tray: See Terminal Repair Kit
  • Core/Insulation Crimp: See Terminal Repair Kit
  • Release Tool/Test Probe: See Terminal Repair Kit

Audio Amplifier X3 (LHD and UQ7)

Pin

Wire Color

Circuit No.

Function

1

0.5 BN

--

Left Rear Speaker Output (+)

2

0.5 D-BU

--

Right Rear Speaker Output (+)

3

1 D-BU/WH

--

Left or Rear Subwoofer Speaker Output (+)

4

2 RD/WH

--

Battery Positive Voltage

5

2 BK

--

Ground

6

0.5 YE

--

Left Rear Speaker Output (-)

7

0.5 L-BU

--

Right Rear Speaker Output (-)

8

1 L-GN/BK

--

Subwoofer Speaker Output (-)

9

1 D-GN

--

Right Subwoofer Speaker Output (+)

10

1 L-BU/BK

--

Right Subwoofer Speaker Output (-)

11

2 RD/WH

--

Battery Positive Voltage

12

2 BK

--

Ground

Audio Amplifier X3 (RHD and UQ7)


Object Number: 1989475  Size: CH

Connector Part Information

  • OEM: 6098-4713
  • Service: See Catalog
  • Description: 8-Way F (BK)

Terminal Part Information

  • Terminal/Tray: See Terminal Repair Kit
  • Core/Insulation Crimp: See Terminal Repair Kit
  • Release Tool/Test Probe: See Terminal Repair Kit

Audio Amplifier X3 (RHD and UQ7)

Pin

Wire Color

Circuit No.

Function

1

0.85 GY

118

Left Front Speaker Output (-)

2

1.25 L-BU/BK

315

Right Subwoofer Speaker Output (-)

3

1.25 L-GN/BK

1794

Left Subwoofer Speaker Output (-)

4

3 OG/WH

2040

Battery Positive Voltage

5

0.85 TN

201

Left Front Speaker Output (+)

6

1.25 D-GN

1795

Right Subwoofer Speaker Output (+)

7

1.25 D-BU/WH

346

Left Subwoofer Speaker Output (+)

8

3 BK

351

Ground

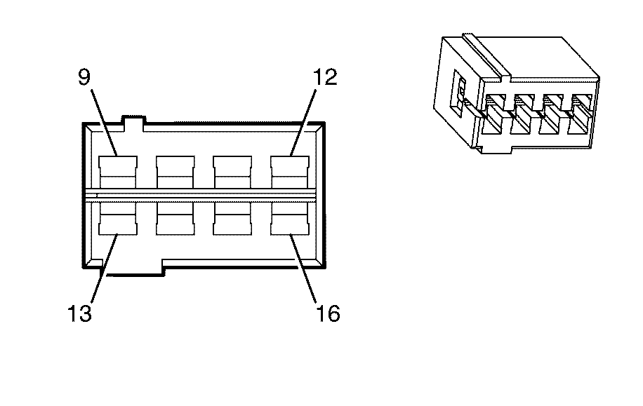
Automatic Transmission (MYC)


Object Number: 1989628  Size: CH

Connector Part Information

  • OEM: 7229-4189-30
  • Service: See Catalog
  • Description: 16-Way F

Terminal Part Information

  • Terminal/Tray: See Terminal Repair Kit
  • Core/Insulation Crimp: See Terminal Repair Kit
  • Release Tool/Test Probe: See Terminal Repair Kit

Automatic Transmission (MYC)

Pin

Wire Color

Circuit No.

Function

1

0.75 OG/YE

3640

Battery Positive Voltage

2

0.75 BK

450

Ground

3

0.5 OG/BK

1786

Park/Neutral Signal

4

0.75 OG/YE

3640

Battery Positive Voltage

5

0.75 BK

450

Ground

6

0.5 WH/BU

17

Stop Lamp Switch Signal

7-8

--

--

Not Used

9

0.5 D-BU

5985

Accessory Wakeup Serial Data

10

0.5 BN/BK

9002

High Speed GMLAN Serial Data Bus+

11

0.5 BN

9003

High Speed GMLAN Serial Data Bus-

12

0.5 PK

439

Ignition 1 Voltage

13

0.5 BN

9001

High Speed GMLAN Serial Data Bus-

14

0.5 BN/BK

9000

High Speed GMLAN Serial Data Bus+

15-16

--

--

Not Used

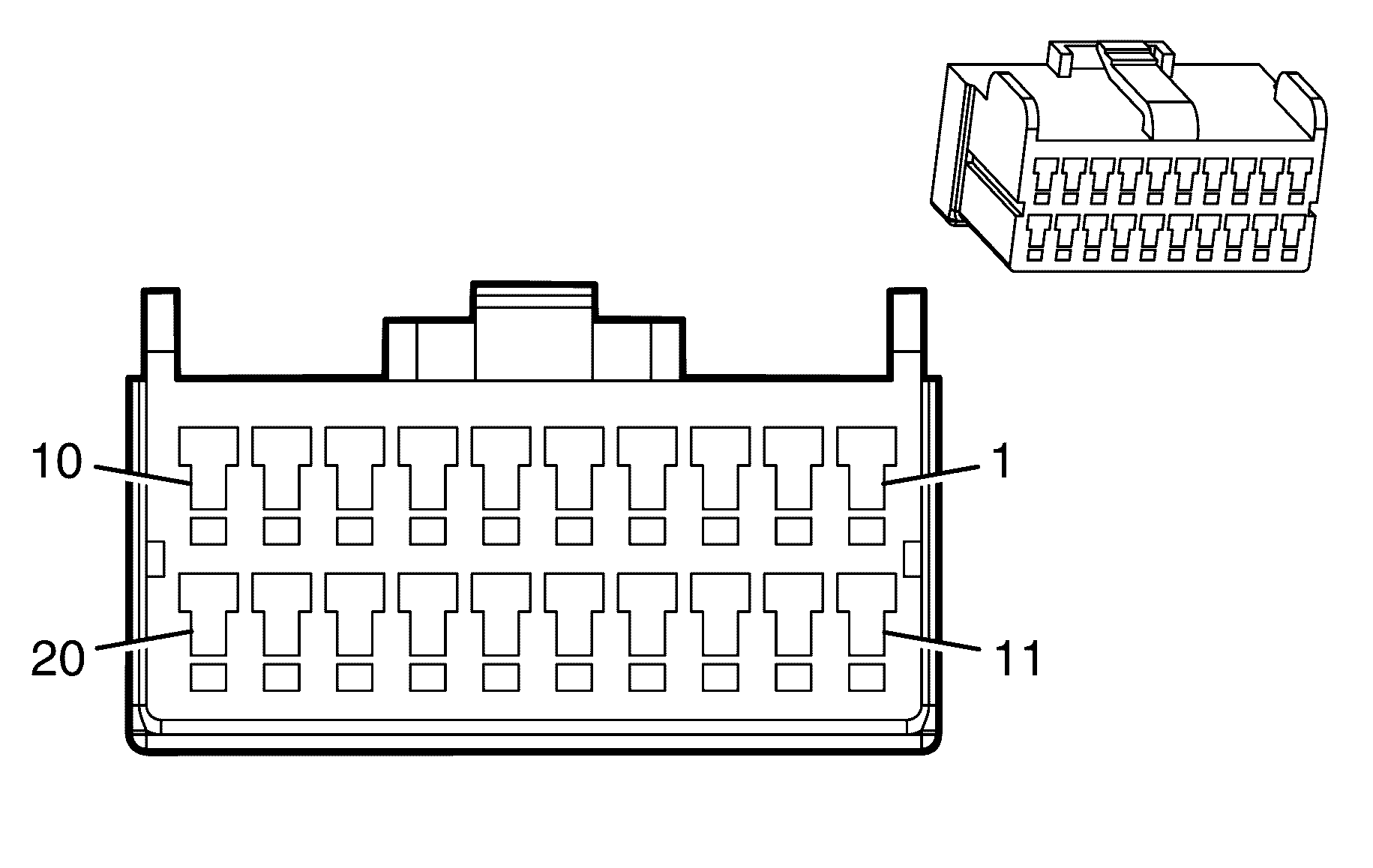
Automatic Transmission (M30 or M32)


Object Number: 1989508  Size: CH

Connector Part Information

  • OEM: 15463921
  • Service: See Cataolg
  • Description: 20-Way F (BK)

Terminal Part Information

  • Terminal/Tray: See Terminal Repair Kit
  • Core/Insulation Crimp: See Terminal Repair Kit
  • Release Tool/Test Probe: See Terminal Repair Kit

Automatic Transmission (M30 or M32)

Pin

Wire Color

Circuit No.

Function

A

0.5 L-GN

1222

Shift Solenoid A Valve Control

B

0.5 YE/BK

1223

Shift Solenoid B Valve Control

C

0.5 OG/BK

1228

PC Solenoid Valve High Control

D

0.5 L-BU/WH

1229

PC Solenoid Valve Low Control

E

0.5 PK

439

Ignition 1 Voltage

F-J

--

--

Not Used

K

0.5 OG

1983

Transmission Turbine Speed Switch Signal

L

0.5 YE/BK

1227

TFT Sensor Signal

M

0.5 TN

2762

Low Reference

N

0.5 PK

1224

Transmission Fluid Pressure Switch Signal A

P

0.5 OG

1226

Transmission Fluid Pressure Switch Signal B

R

0.5 D-BU

1225

Transmission Fluid Pressure Switch Signal C

S

0.5 WH/GN

687

3-2 Shift Solenoid Valve Control

T

0.5 BN/OG

422

TCC Solenoid Valve Control

U

0.5 BN

418

TCC PWM Solenoid Valve Control

V

0.5 L-BU

1984

Transmission Turbine Speed Switch Low Reference

W

--

--

Not Used

Automatic Transmission Input Shaft Speed (ISS) Sensor


Object Number: 82337  Size: CH

Connector Part Information

  • OEM: 10768934
  • Service: See Catalog
  • Description: 2-Way F (BK)

Terminal Part Information

  • Terminal/Tray: See Terminal Repair Kit
  • Core/Insulation Crimp: See Terminal Repair Kit
  • Release Tool/Test Probe: See Terminal Repair Kit

Automatic Transmission Input Shaft Speed (ISS) Sensor

Pin

Wire Color

Circuit No.

Function

A

0.5 YE

1983

Transmission Turbine Speed Switch Signal

B

0.5 WH

1984

Transmission Turbine Speed Switch Low Reference

Automatic Transmission Output Shaft Speed (OSS) Sensor


Object Number: 82337  Size: CH

Connector Part Information

  • OEM: 12162201
  • Service: See Catalog
  • Description: 2-Way F Metri-Pack 150.2 Series, Pull To Seat (BK)

Terminal Part Information

  • Terminal/Tray: See Terminal Repair Kit
  • Core/Insulation Crimp: See Terminal Repair Kit
  • Release Tool/Test Probe: See Terminal Repair Kit

Automatic Transmission Output Shaft Speed (OSS) Sensor

Pin

Wire Color

Circuit No.

Function

A

0.5 OG

822

VSS Low Signal

B

0.5 WH

821

VSS High Signal

Automatic Transmission Shift Lever


Object Number: 1989513  Size: CH

Connector Part Information

  • OEM: 7283-7087
  • Service: See Catalog
  • Description: 8-Way F (BK)

Terminal Part Information

  • Terminal/Tray: 7116-4020/11
  • Core/Insulation Crimp: E/C
  • Release Tool/Test Probe: 15315247/J-35616-18 (BK)

Automatic Transmission Shift Lever

Pin

Wire Color

Circuit No.

Function

1

0.3 PU

1375

Transmission Cruise Switch Reference

2

0.3 D-GN/WH

1135

A/T Shift Lock Control Solenoid Supply Voltage

3

0.3 BK

850

Ground

4

0.3 PU/RD

5526

Transmission Range Select Reference

5

--

--

Not Used

6

0.3 PU/WH

1630

Steering Column Key Cylinder Lock Solenoid Control

7

--

--

Not Used

8

0.3 PU/WH

6817

LED Backlight Diming Control

Backup Lamp - Left


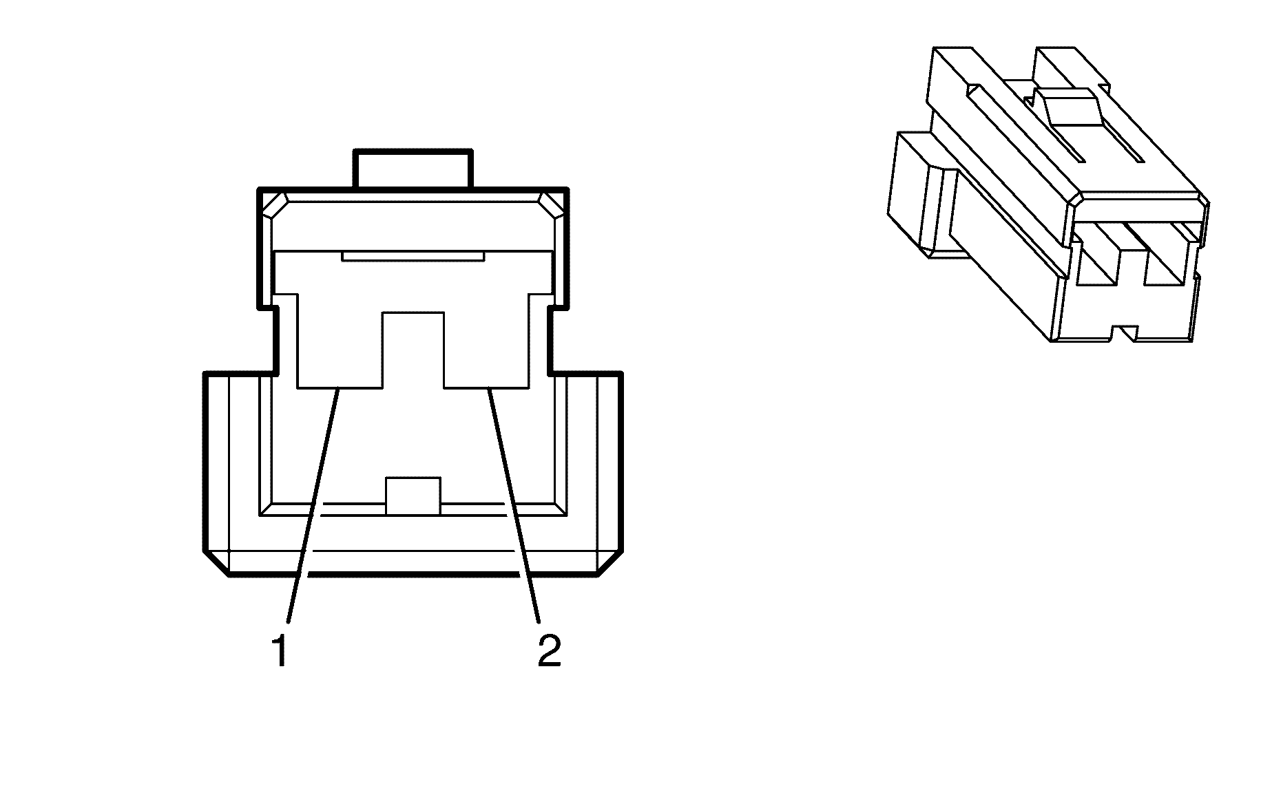
Object Number: 1199757  Size: CH

Connector Part Information

  • OEM: 15317651
  • Service: See Catalog
  • Description: 2-Way F Bulb Socket (WH)

Terminal Part Information

  • Terminal/Tray: See Terminal Repair Kit
  • Core/Insulation Crimp: See Terminal Repair Kit
  • Release Tool/Test Probe: See Terminal Repair Kit

Backup Lamp - Left

Pin

Wire Color

Circuit No.

Function

1

0.85 L-GN

--

Backup Lamp Supply Voltage

2

0.85 BK

--

Ground

Backup Lamp - Right


Object Number: 1199757  Size: CH

Connector Part Information

  • OEM: 15317651
  • Service: See Catalog
  • Description: 2-Way F Bulb Socket (WH)

Terminal Part Information

  • Terminal/Tray: See Terminal Repair Kit
  • Core/Insulation Crimp: See Terminal Repair Kit
  • Release Tool/Test Probe: See Terminal Repair Kit

Backup Lamp - Right

Pin

Wire Color

Circuit No.

Function

1

0.85 L-GN

--

Backup Lamp Supply Voltage

2

0.85 BK

--

Ground

Backup Lamp Switch (M10 or MV5)


Object Number: 1989579  Size: CH

Connector Part Information

  • OEM: 7282-7420-40
  • Service: See Catalog
  • Description: 2-way F

Terminal Part Information

  • Terminal/Tray: See Terminal Repair Kit
  • Core/Insulation Crimp: See Terminal Repair Kit
  • Release Tool/Test Probe: See Terminal Repair Kit

Backup Lamp Switch (M10 or MV5)

Pin

Wire Color

Circuit No.

Function

A

0.5 L-GN

5007

Backup Lamp Switch Signal

B

0.5 BK

450

Ground

Battery (-)

Terminal Part Information

  • Terminal: 7306-2055-03
  • Core/Insulation Crimp: N/A
  • Description: Battery Terminal

Battery (-)

Pin

Wire Color

Circuit No.

Function

-

50 BK

50

Ground

Battery (+)

Terminal Part Information

  • Terminal: 7306-3053-06
  • Core/Insulation Crimp: N/A
  • Description: Battery Terminal

Battery (+)

Pin

Wire Color

Circuit No.

Function

+

50 RD

1

Battery Positive

Battery Current Sensor


Object Number: 1989591  Size: CH

Connector Part Information

  • OEM: 7283-6579-30
  • Service: See Catalog
  • Description: 3-Way F (BK)

Terminal Part Information

  • Terminal/Tray: 12191819/8
  • Core/Insulation Crimp: E/A
  • Release Tool/Test Probe: 15315247/J-35616-2A (GY)

Battery Current Sensor

Pin

Wire Color

Circuit No.

Function

A

0.3 PK

5076

5-Volt Reference

B

0.3 BN

5077

Low Reference

C

0.3 WH/GN

5075

Battery Current Signal

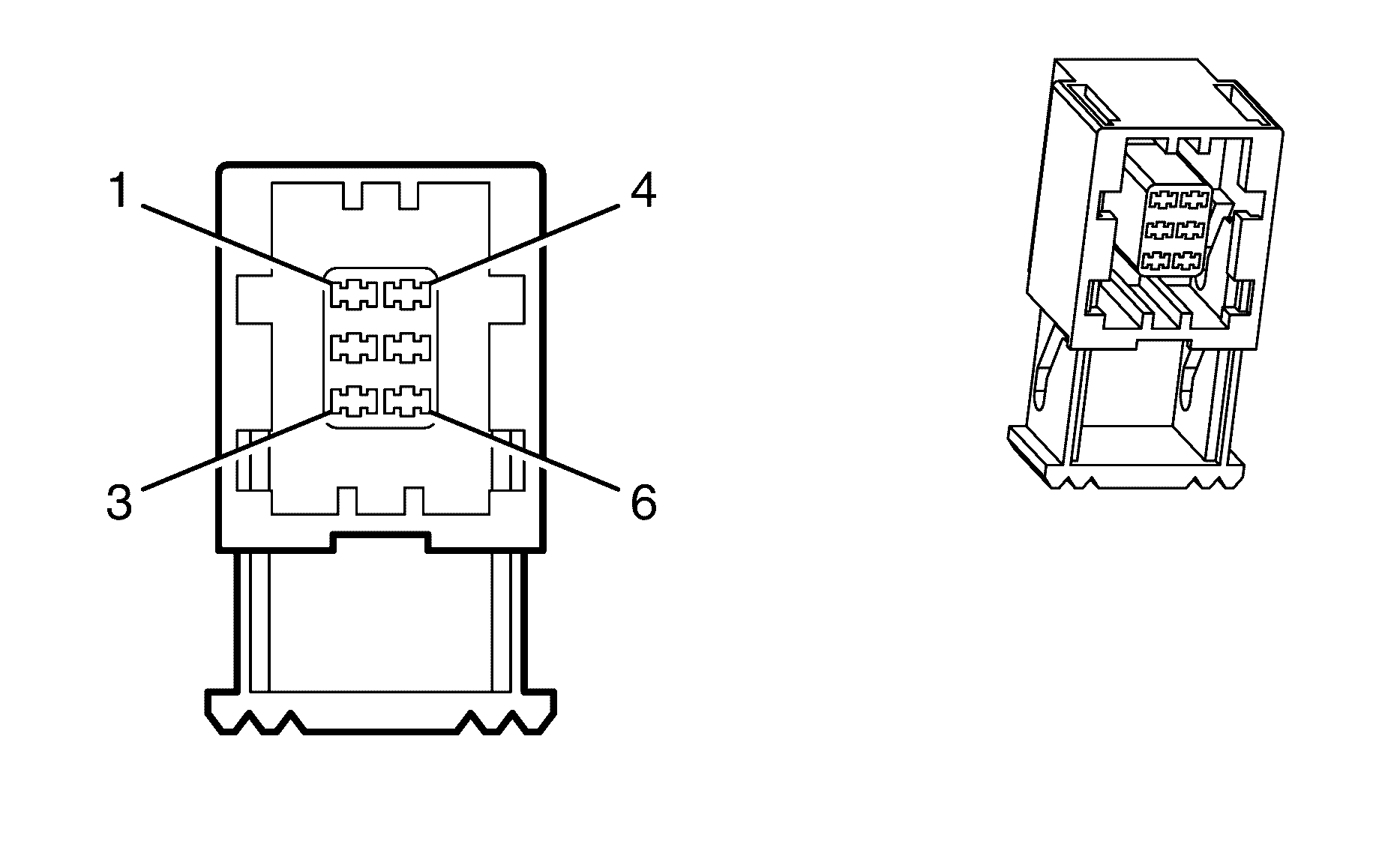
Battery Voltage Gauge


Object Number: 1989635  Size: CH

Connector Part Information

  • OEM:
  • Service: See Catalog
  • Description: 6-Way F

Terminal Part Information

  • Terminal/Tray: See Terminal Repair Kit
  • Core/Insulation Crimp: See Terminal Repair Kit
  • Release Tool/Test Probe: See Terminal Repair Kit

Battery Voltage Gauge

Pin

Wire Color

Circuit No.

Function

1

0.3 YE

 

Low Speed GMLAN Serial Data

2

0.3 D-BU

 

Ground

3

0.3 D-BU/RD

 

Battery Positive Voltage

4

0.3 YE

 

Low Speed GMLAN Serial Data

5

0.3 D-BU

 

Ground

6

0.3 D-BU/RD

 

Battery Positive Voltage

Blower Motor (LHD)


Object Number: 2091095  Size: CH

Connector Part Information

  • OEM: 7283-3123
  • Service: See Catalog
  • Description: 2-Way F (WH)

Terminal Part Information

  • Terminal/Tray: 7116-6041/11
  • Core/Insulation Crimp: A/B
  • Release Tool/Test Probe: 12094430/J-35616-44 (YE)

Blower Motor (LHD)

Pin

Wire Color

Circuit No.

Function

A

3 OG

5987

Ground

B

3 PU

65

Blower Motor Supply Voltage

Blower Motor (RHD)


Object Number: 1989417  Size: CH

Connector Part Information

  • OEM:7123-6020
  • Service: See Cataolg
  • Description: 2-Way F

Terminal Part Information

  • Terminal/Tray: See Terminal Repair Kit
  • Core/Insulation Crimp: See Terminal Repair Kit
  • Release Tool/Test Probe: See Terminal Repair Kit

Blower Motor (RHD)

Pin

Wire Color

Circuit No.

Function

A

3 D-GN

442

Battery Positive Voltage

B

3 OG

5987

HVAC Blower Motor Control Circuit

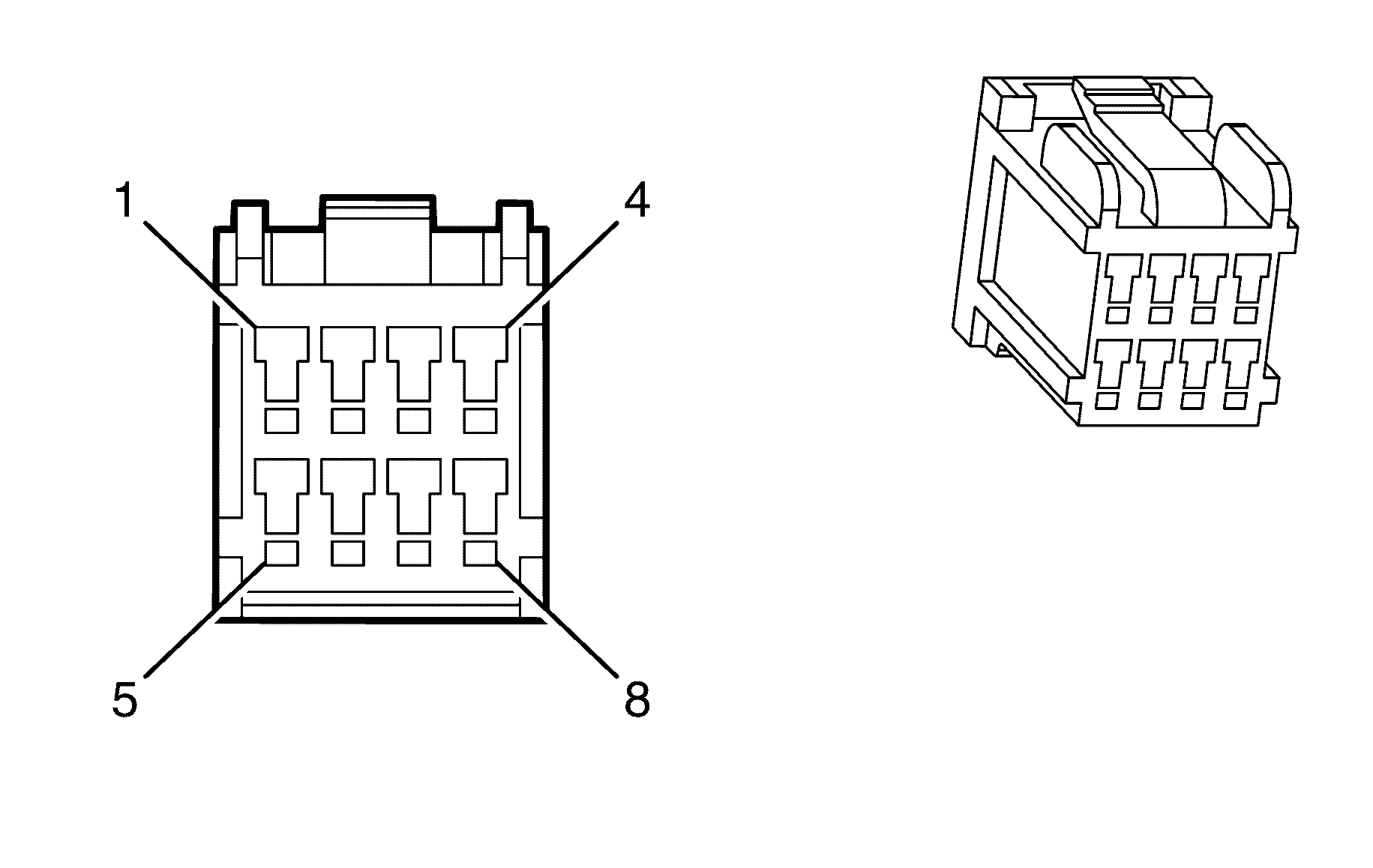
Blower Motor Control Module


Object Number: 2091092  Size: CH

Connector Part Information

  • OEM: 7283-3141-30
  • Service: See Catalog
  • Description: 4-Way F (BK)

Terminal Part Information

  • Pins: 1, 3, 4
  • Terminal/Tray: 7116-6041/11
  • Core/Insulation Crimp: A/B
  • Release Tool/Test Probe: 12094430/J-35616-44 (YE)
  • Pin: 2
  • Terminal/Tray: See Terminal Repair Kit
  • Core/Insulation Crimp: See Terminal Repair Kit
  • Release Tool/Test Probe: See Terminal Repair Kit

Blower Motor Control Module

Pin

Wire Color

Circuit No.

Function

1

3 BK

850

Ground

2

0.5 GY/BK

754

Blower Motor Speed Control

3

3 PU

65

Blower Motor Supply Voltage

4

3 OG

5987

Blower Motor Low Reference

Bluetooth Connector


Object Number: 1989268  Size: CH

Connector Part Information

  • OEM: 1318386
  • Service: See Catalog
  • Description: 16-Way F

Terminal Part Information

  • Terminal/Tray: See Terminal Repair Kit
  • Core/Insulation Crimp: See Terminal Repair Kit
  • Release Tool/Test Probe: See Terminal Repair Kit

Bluetooth Connector

Pin

Wire Color

Circuit No.

Function

1

0.5 OG/WH

 

Battery Positive Voltage

2

0.5 PK/BU

 

Ignition 1 Voltage

3

0.5 L-GN

 

Backup Lamp Supply Voltage

4

0.3 D-GN

 

Low Speed GMLAN Serial Data

5

0.3 BN

 

Accessory Voltage

6

0.3 D-BU

 

Bluetooth Connector

7

0.3 OG/BK

 

Remote Playback Device Left Audio Signal

8

0.3 L-BU

 

Remote Playback Device Audio Common Signal

9

0.3 WH

 

Mute Signal

10

0.3 BK

 

Ground

11

0.3 D-BU

 

Cellular Telephone Voice Signal

12

0.3 L-BU/BK

 

Cellular Telephone Voice Low Reference

13

0.3 YE/BK

 

Cellular Telephone Mute Signal

14

0.5 GY

 

Left Front Speaker Output (-)

0.85 L-BU

 

Front Center Speaker Output (-)

15

0.5 TN

 

Left Front Speaker Output (+)

0.85 YE

 

Front Center Speaker Output (+)

16

--

--

Not Used

Bluetooth Microphone


Object Number: 1989273  Size: CH

Connector Part Information

  • OEM: 4365-0400
  • Service: See Catalog
  • Description: 4-Way

Terminal Part Information

  • Terminal/Tray: See Terminal Repair Kit
  • Core/Insulation Crimp: See Terminal Repair Kit
  • Release Tool/Test Probe: See Terminal Repair Kit

Bluetooth Microphone

Pin

Wire Color

Circuit No.

Function

1

0.3 D-BU

7043

Microphone Signal

2-3

--

--

Not Used

4

0.3 PK/BK

7044

Microphone Return

Bluetooth Module


Object Number: 1989278  Size: CH

Connector Part Information

  • OEM: 1318386-1
  • Service: See Catalog
  • Description: 16-Way F

Terminal Part Information

  • Terminal/Tray: See Terminal Repair Kit
  • Core/Insulation Crimp: See Terminal Repair Kit
  • Release Tool/Test Probe: See Terminal Repair Kit

Bluetooth Module

Pin

Wire Color

Circuit No.

Function

1

0.3 L-BU/BK

659

Cellular Telephone Voice Low Reference

2-3

--

--

Not Used

4

0.3 D-BU

7148

Not Used

5

0.3 D-BU

7043

Microphone Signal

6

0.3 YE/BK

693

Cellular Telephone Mute Signal

7

0.3 YE

443

Accessory Voltage

8

--

--

Not Used

9

0.3 D-BU

658

Cellular Telephone Voice Signal

10-11

--

--

Not Used

12

0.3 PK/BK

7044

Microphone Return

13-14

--

--

Not Used

15

0.5 BK

1050

Ground

16

0.5 OG/WH

2340

Battery Positive Voltage

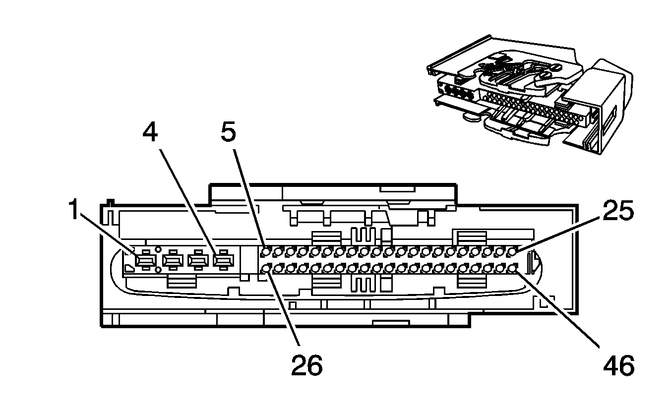
Body Control Module (BCM) X1


Object Number: 1989630  Size: CH

Connector Part Information

  • OEM: 7283-9177-60
  • Service: See Catalog
  • Description: 27-Way F (GN)

Terminal Part Information

  • Terminal/Tray: See Terminal Repair Kit
  • Core/Insulation Crimp: See Terminal Repair Kit
  • Release Tool/Test Probe: See Terminal Repair Kit

Body Control Module (BCM) X1

Pin

Wire Color

Circuit No.

Function

1

--

--

Not Used

2

0.3 WH

1390

Ignition Key Resistor Low Reference

3

0.5 GY

1884

Cruise Control Switch Signal

4

0.3 WH/BK

1073

Ignition Key Resistor Signal

5

0.3 L-GN

1715

Windshield Wiper Switch High Signal

6-7

--

--

Not Used

8

0.3 BK/WH

1251

Wiper Switch Low Reference

9

0.3 L-BU

1714

Windshield Wiper Switch Low Signal

10-13

--

--

Not Used

14

0.3 PK

3

Run/Crank Voltage

15

0.3 L-BU/WH

1414

Left Turn Signal Switch Signal

16

0.3 D-BU/WH

1415

Right Turn Signal Switch Signal

17

0.3 PU

1375

Remote Radio Control Supply Voltage

18

PU/YE

524

Headlamp Dimmer Switch High Beam Signal

19

--

--

Not Used

20

0.3 PU/RD

5526

Transmission Electronic Range Select Signal

21

0.3 BN

4

Ignition 1 Voltage

22

--

--

Not Used

23

0.5 YE

5356

Left Tail Lamp Monitoring (HSV)

24

0.3 OG

94

Windshield Washer Switch Signal

25

0.3 BN/RD

1356

Flash To Pass Switch Signal

26-27

--

--

Not Used

Body Control Module (BCM) X2


Object Number: 1989633  Size: CH

Connector Part Information

  • OEM: 7283-1373
  • Service: See Catalog
  • Description: 25-Way F (WH)

Terminal Part Information

  • Terminal/Tray: See Terminal Repair Kit
  • Core/Insulation Crimp: See Terminal Repair Kit
  • Release Tool/Test Probe: See Terminal Repair Kit

Body Control Module (BCM) X2

Pin

Wire Color

Circuit No.

Function

1

0.85 OG

1732

Inadvertent Power Supply Voltage

2

0.85 OG/BU

1240

Battery Positive Voltage

3

0.85 GY

8

Instrument Panel Lamp Supply Voltage

4

--

--

Not Used

5

0.85 D-BU/WH

149

Courtesy Lamp Supply Voltage

6-7

--

--

Not Used

8

0.3 BN/WH

301

Park Lamp Switch On Signal

9

--

--

Not Used

10

0.3 D-BU

6189

Rear Compartment Relay Switch

11

0.3 L-GN/BK

1137

DRL Ambient Light Sensor Signal

12

0.3 WH

103

Headlamp Switch Headlamps On Signal

13-16

--

--

Not Used

17

0.3 D-GN

306

Headlamp Switch Headlamps Off Signal

18

0.3 PK/BK

1597

Courtesy Lamps Switch Signal

19

--

--

Not Used

20

0.5 L-BU

553

Tow/Haul Switch Signal

21

0.3 BN/OG

1571

Traction Control Switch Signal

22

0.3 D-GN/WH

1135

A/T Shift Lock Control Solenoid Supply Voltage

23-24

--

--

Not Used

25

0.3 PU

328

Interior Lamp Switch Signal

Body Control Module (BCM) X3


Object Number: 1989634  Size: CH

Connector Part Information

  • OEM: 7283-1374-90
  • Service: See Catalog
  • Description: 25-Way F (BU)

Terminal Part Information

  • Terminal/Tray: See Terminal Repair Kit
  • Core/Insulation Crimp: See Terminal Repair Kit
  • Release Tool/Test Probe: See Terminal Repair Kit

Body Control Module (BCM) X3

Pin

Wire Color

Circuit No.

Function

1

0.85 BK

850

Ground

2

0.85 OG/YE

1640

Battery Positive Voltage

3

0.85 OG/RD

2740

Battery Positive Voltage

4

--

--

Not Used

5

0.85 BK

850

Ground

6

--

--

Not Used

7

0.3 GY

728

Security Indicator Control

8

0.5 BN/BK

9004

High Speed GMLAN Serial Data Bus+

9

0.5 BN

9005

High Speed GMLAN Serial Data Bus-

10

D-GN

9208

Low Speed GMLAN Serial Data

11-12

--

--

Not Used

13

0.5 L-GN

526

Stop Lamp Switch Signal

14

0.5 BN/RD

552

Low Reference

15

0.5 GY

598

5-Volt Reference

16

0.5 BN/BK

9006

High Speed GMLAN Serial Data Bus+

17

0.5 BN

9007

High Speed GMLAN Serial Data Bus-

18

0.3 YE

6817

LED Backlight Dimming Control

19

0.3 PU/WH

5727

Communication Enable Relay Control

20

--

--

Not Used

21

0.3 OG

192

Fog Lamp Switch

22-24

--

--

Not Used

25

0.3 PU/WH

6816

RPA Switch LED Backlight Dimming Control

Body Control Module (BCM) X4


Object Number: 1989636  Size: CH

Connector Part Information

  • OEM: 7283-1375-30
  • Service: See Catalog
  • Description: 25-Way F (BK)

Terminal Part Information

  • Terminal/Tray: See Terminal Repair Kit
  • Core/Insulation Crimp: See Terminal Repair Kit
  • Release Tool/Test Probe: See Terminal Repair Kit

Body Control Module (BCM) X4

Pin

Wire Color

Circuit No.

Function

1

0.85 OG/RD

340

Battery Positive Voltage

2

0.85 OG

240

Battery Positive Voltage

3

0.85 OG/PU

440

Battery Positive Voltage

4

0.85 OG/PU

2140

Battery Positive Voltage

5

0.75 D-BU/WH

1315

Right Front Turn Signal Lamp Supply Voltage

6

--

--

Not Used

7

0.3 YE

196

Windshield Wiper Motor Park Switch Signal

8

--

--

Not Used

9

0.3 BK

1850

Ground

10

0.3 OG/BU

2440

Battery Positive Voltage

11

0.3 D-GN/WH

1317

Fog Lamp Relay Control

12-13

--

--

Not Used

14

0.5 OG

482

Outside Moisture Sensor Signal 2

15

0.5 OG

2268

Washer Fluid Pump Relay Control

16

0.3 BN/YE

1969

Headlamp High Beam Relay Control

17

0.3 PK/BK

109

Hood Ajar Switch Signal

18

0.3 BN

481

Outside Moisture Sensor Signal 1

19

0.3 D-BU

5985

Accessory Wakeup Serial Data

20

--

--

Not Used

21

0.3 PK

1439

Run/Crank Control

22

0.3 BN

253

Trunk Release Relay Control

23

--

--

Not Used

24

0.3 D-GN

646

Backup Lamp Relay Control

25

--

--

Not Used

Body Control Module (BCM) X5


Object Number: 1989638  Size: CH

Connector Part Information

  • OEM: 7283-1377-80
  • Service: See Catalog
  • Description: 25-Way F (BN)

Terminal Part Information

  • Terminal/Tray: See Terminal Repair Kit
  • Core/Insulation Crimp: See Terminal Repair Kit
  • Release Tool/Test Probe: See Terminal Repair Kit

Body Control Module (BCM) X5

Pin

Wire Color

Circuit No.

Function

1

0.85 YE/BK

1334

Left Rear Turn Signal Lamp Supply Voltage

2

0.85 D-GN/WH

1335

Right Rear Turn Signal Lamp Supply Voltage

3

--

--

Not Used

4

0.75 L-BU/WH

1314

Left Front Turn Signal Lamp Supply

5

0.85 BN

5998

Puddle Lamp Supply Voltage

6

0.5 WH/BU

17

Stop Lamp Switch Signal

7

--

--

Not Used

8

0.3 PK

5076

5-Volt Reference

9

0.3 WH/GN

5075

Battery Current Signal

10

0.3 BN

5077

Low Reference

11

0.3 BN/YE

707

RAP Relay Coil Supply Voltage

12-13

--

--

Not Used

14

0.3 YE

43

Accessory Power Relay Control

15

0.3 PU

5531

Hood Closed Switch Signal

16

0.5 OG/BK

233

Park Brake Switch Signal

17

0.5 PU

5357

Right Tail Lamp Monitoring (HSV)

18

0.3 BN/BK

28

Horn Relay Control

19

--

--

Not Used

20

0.3 GY

91

Windshield Wiper Switch Signal 2

21

0.3 BN/RD

860

Front Windshield Wiper Switch High Signal

22

--

--

Not Used

23

0.3 PK/WH

1970

Headlamp Low Beam Relay Control

24

0.3 WH/YE

1080

Park Lamp Relay Control

25

--

--

Not Used

Body Control Module (BCM) X6


Object Number: 1989640  Size: CH

Connector Part Information

  • OEM: 7283-1376-50
  • Service: See Catalog
  • Description: 25-Way F (PK)

Terminal Part Information

  • Terminal/Tray: See Terminal Repair Kit
  • Core/Insulation Crimp: See Terminal Repair Kit
  • Release Tool/Test Probe: See Terminal Repair Kit

Body Control Module (BCM) X6

Pin

Wire Color

Circuit No.

Function

1

--

--

Not Used

2

1.25 L-BU

20

Stop Lamp Supply Voltage

3-7

--

--

Not Used

8

0.3 BN/WH

746

Passenger Front Door Ajar Switch Signal

9

--

--

Not Used

10

0.3 GY/BK

745

Driver Door Ajar Switch Signal

11-19

--

--

Not Used

20

0.3 PK

781

Driver Door Lock Switch Unlock Signal

21

--

--

Not Used

22

0.3 OG/BK

744

Liftgate Ajar Switch Signal

23

0.3 PK/BK

780

Driver Door Lock Switch Lock Signal

24-25

--

--

Not Used

Body Control Module (BCM) X7


Object Number: 1989640  Size: CH

Connector Part Information

  • OEM: 7283-1376-50
  • Service: See Catalog
  • Description: 25-Way F (GY)

Terminal Part Information

  • Terminal/Tray: See Terminal Repair Kit
  • Core/Insulation Crimp: See Terminal Repair Kit
  • Release Tool/Test Probe: See Terminal Repair Kit

Body Control Module (BCM) X7

Pin

Wire Color

Circuit No.

Function

1

--

--

Not Used

2

0.3 WH

2282

Headlamp Washer Relay Control

3-5

--

--

Not Used

6

0.3 L-BU

5921

Door Unlock Supply Voltage

7

0.3 D-BU/WH

195

Door Lock Control

8

--

--

Not Used

9

0.3 WH

194

Door Unlock Control

10

0.3 GY/BU

7388

Headlamp Dimming Switch Up

11

0.3 BN/BK

254

Power Door Unlock Fuse Supply Voltage

12

0.3 GY/BK

255

Power Door Lock Fuse Supply Voltage

13-15

--

--

Not Used

16

0.35 L-BU

187

Fog Lamp Switch - Output - Rear

17-23

--

--

Not Used

24

0.3 GY/WH

7389

Headlamp Dimming Switch Down

25-28

--

--

Not Used

Brake Fluid Level Switch


Object Number: 2091096  Size: CH

Connector Part Information

  • OEM: 7219-5226-30
  • Service: See Catalog
  • Description: 2-Way F (BK)

Terminal Part Information

  • Terminal/Tray: See Terminal Repair Kit
  • Core/Insulation Crimp: See Terminal Repair Kit
  • Release Tool/Test Probe: See Terminal Repair Kit

Brake Fluid Level Switch

Pin

Wire Color

Circuit No.

Function

1

0.3 BN/WH

33

Brake Warning Indicator Control

2

0.3 BK

350

Ground

Brake Pedal Position (BPP) Sensor


Object Number: 1989289  Size: CH

Connector Part Information

  • OEM: 7283-2525-30
  • Service: 88953364
  • Description: 3-Way F (BK)

Terminal Part Information

  • Terminal/Tray: 12191812/19
  • Core/Insulation Crimp: E/C
  • Release Tool/Test Probe: 15315247/J-35616-2A (GY)

Brake Pedal Position (BPP) Sensor

Pin

Wire Color

Circuit No.

Function

A

0.5 GY

598

5-Volt Reference

B

0.5 L-GN

526

Stop Lamp Switch Signal

C

0.5 BN/RD

552

Low Reference

Camshaft Position (CMP) Actuator Solenoid Valve - Bank 1 Exhaust (LY7)


Object Number: 1989584  Size: CH

Connector Part Information

  • OEM: 7283-7526-30
  • Service: 88988588
  • Description: 2-Way F Sealed (BK)

Terminal Part Information

  • Terminal/Tray: 7116-4026/11
  • Core/Insulation Crimp: E/1
  • Release Tool/Test Probe: 15313892/J-35616-18 (BK)

Camshaft Position (CMP) Actuator Solenoid Valve - Bank 1 Exhaust (LY7)

Pin

Wire Color

Circuit No.

Function

1

0.75 PK/BU

5293

Ignition 1 Voltage

2

0.75 L-GN

5282

CMP Actuator Solenoid Control - Exhaust Bank 1

Camshaft Position (CMP) Actuator Solenoid Valve - Bank 1 Intake (LY7)


Object Number: 1989584  Size: CH

Connector Part Information

  • OEM: 7283-7526-30
  • Service: 88988588
  • Description: 2-Way F Sealed (BK)

Terminal Part Information

  • Terminal/Tray: 7116-4026/11
  • Core/Insulation Crimp: E/1
  • Release Tool/Test Probe: 15313892/J-35616-18 (BK)

Camshaft Position (CMP) Actuator Solenoid Valve - Bank 1 Intake (LY7)

Pin

Wire Color

Circuit No.

Function

1

0.75 PK/BU

5293

Ignition 1 Voltage

2

0.75 PU

5284

CMP Actuator Solenoid Control - Intake Bank 1

Camshaft Position (CMP) Actuator Solenoid Valve - Bank 2 Exhaust (LY7)


Object Number: 1989584  Size: CH

Connector Part Information

  • OEM: 7283-7526-30
  • Service: 88988588
  • Description: 2-Way F Sealed (BK)

Terminal Part Information

  • Terminal/Tray: 7116-4026/11
  • Core/Insulation Crimp: E/1
  • Release Tool/Test Probe: 15313892/J-35616-18 (BK)

Camshaft Position (CMP) Actuator Solenoid Valve - Bank 2 Exhaust (LY7)

Pin

Wire Color

Circuit No.

Function

1

0.75 PK/BU

5293

Ignition 1 Voltage

2

0.75 WH/BK

5283

CMP Actuator Solenoid Control - Exhaust Bank 2

Camshaft Position (CMP) Actuator Solenoid Valve - Bank 2 Intake (LY7)


Object Number: 1989584  Size: CH

Connector Part Information

  • OEM: 7283-7526-30
  • Service: 88988588
  • Description: 2-Way F Sealed (BK)

Terminal Part Information

  • Terminal/Tray: 7116-4026/11
  • Core/Insulation Crimp: E/1
  • Release Tool/Test Probe: 15313892/J-35616-18 (BK)

Camshaft Position (CMP) Actuator Solenoid Valve - Bank 2 Intake (LY7)

Pin

Wire Color

Circuit No.

Function

1

0.75 PK/BU

5293

Ignition 1 Voltage

2

0.75 OG/BK

5272

CMP Actuator Solenoid Control - Intake Bank 2

Camshaft Position (CMP) Sensor - Bank 1 Exhaust (LY7)


Object Number: 1989582  Size: CH

Connector Part Information

  • OEM: 7283-6206-30
  • Service: See Catalog
  • Description: 3-Way F (BK)

Terminal Part Information

  • Terminal/Tray: See Terminal Repair Kit
  • Core/Insulation Crimp: See Terminal Repair Kit
  • Release Tool/Test Probe: See Terminal Repair Kit

Camshaft Position (CMP) Sensor - Bank 1 Exhaust (LY7)

Pin

Wire Color

Circuit No.

Function

1

0.75 PK/BK

632

Low Reference

2

0.5 D-GN

5273

CMP Sensor Signal - Exhaust Bank 1

3

0.75 GY

705

5-Volt Reference

Camshaft Position (CMP) Sensor - Bank 1 Intake (LY7)


Object Number: 1989582  Size: CH

Connector Part Information

  • OEM: 7283-6206-30
  • Service: See Catalog
  • Description: 3-Way F (BK)

Terminal Part Information

  • Terminal/Tray: See Terminal Repair Kit
  • Core/Insulation Crimp: See Terminal Repair Kit
  • Release Tool/Test Probe: See Terminal Repair Kit

Camshaft Position (CMP) Sensor - Bank 1 Intake (LY7)

Pin

Wire Color

Circuit No.

Function

1

0.5 PK/BK

632

Low Reference

2

0.5 OG/BU

5275

CMP Sensor Signal - Intake Bank 1

3

0.5 GY

705

5-Volt Reference

Camshaft Position (CMP) Sensor - Bank 2 Exhaust (LY7)


Object Number: 1989582  Size: CH

Connector Part Information

  • OEM: 7283-6206-30
  • Service: See Catalog
  • Description: 3-Way F (BK)

Terminal Part Information

  • Terminal/Tray: See Terminal Repair Kit
  • Core/Insulation Crimp: See Terminal Repair Kit
  • Release Tool/Test Probe: See Terminal Repair Kit

Camshaft Position (CMP) Sensor - Bank 2 Exhaust (LY7)

Pin

Wire Color

Circuit No.

Function

1

0.5 PK/BK

632

Low Reference

2

0.5 PU

5274

CMP Sensor Signal - Exhaust Bank 2

3

0.5 GY

705

5-Volt Reference

Camshaft Position (CMP) Sensor - Bank 2 Intake (LY7)


Object Number: 1989582  Size: CH

Connector Part Information

  • OEM: 7283-6206-30
  • Service: See Catalog
  • Description: 3-Way F

Terminal Part Information

  • Terminal/Tray: See Terminal Repair Kit
  • Core/Insulation Crimp: See Terminal Repair Kit
  • Release Tool/Test Probe: See Terminal Repair Kit

Camshaft Position (CMP) Sensor - Bank 2 Intake (LY7)

Pin

Wire Color

Circuit No.

Function

1

0.5 PK/BK

632

Low Reference

2

0.5 PU

5276

CMP Sensor Signal - Intake Bank 2

3

0.5 GY

705

5-Volt Reference

Camshaft Position (CMP) Sensor (LS2 or HSV or L98)


Object Number: 1989349  Size: CH

Connector Part Information

  • OEM: 7223-9735-30
  • Service: 88986451
  • Description: 3-Way F

Terminal Part Information

  • Terminal/Tray: 12048074/2
  • Core/Insulation Crimp: E/1
  • Release Tool/Test Probe: 12094429/J-35616-14 (GN)

Camshaft Position (CMP) Sensor (LS2 or HSV or L98)

Pin

Wire Color

Circuit No.

Function

A

0.5 OG

631

5-Volt Reference

B

0.5 PK/BK

632

Low Reference

C

0.5 BN/WH

633

CMP Sensor Signal

Center Console Compartment Lamp X1


Object Number: 1989270  Size: CH

Connector Part Information

  • OEM: 7123-0073-30
  • Service: See Catalog
  • Description: 1-Way F (BK)

Terminal Part Information

  • Terminal/Tray: See Terminal Repair Kit
  • Core/Insulation Crimp: See Terminal Repair Kit
  • Release Tool/Test Probe: See Terminal Repair Kit

Center Console Compartment Lamp X1

Pin

Wire Color

Circuit No.

Function

A

0.85 OG

1732

Courtesy Lamps Supply Voltage

Center Console Compartment Lamp X2


Object Number: 1989270  Size: CH

Connector Part Information

  • OEM: 7123-0073-30
  • Service: See Catalog
  • Description: 1-Way F (BK)

Terminal Part Information

  • Terminal/Tray: See Terminal Repair Kit
  • Core/Insulation Crimp: See Terminal Repair Kit
  • Release Tool/Test Probe: See Terminal Repair Kit

Center Console Compartment Lamp X2

Pin

Wire Color

Circuit No.

Function

A

0.5 GY

157

Courtesy Lamp Control

Center Console Compartment Lamp Switch X1


Object Number: 1989270  Size: CH

Connector Part Information

  • OEM: 7123-0073-30
  • Service: See Catalog
  • Description: 1-Way F (BK)

Terminal Part Information

  • Terminal/Tray: See Terminal Repair Kit
  • Core/Insulation Crimp: See Terminal Repair Kit
  • Release Tool/Test Probe: See Terminal Repair Kit

Center Console Compartment Lamp Switch X1

Pin

Wire Color

Circuit No.

Function

A

0.5 GY

157

Courtesy Lamp Control

Center Console Compartment Lamp Switch X2


Object Number: 1989270  Size: CH

Connector Part Information

  • OEM: 7123-0073-30
  • Service: See Catalog
  • Description: 1-Way F (BK)

Terminal Part Information

  • Terminal/Tray: See Terminal Repair Kit
  • Core/Insulation Crimp: See Terminal Repair Kit
  • Release Tool/Test Probe: See Terminal Repair Kit

Center Console Compartment Lamp Switch X2

Pin

Wire Color

Circuit No.

Function

A

0.5 BK

850

Ground

Center High Mounted Stop Lamp (CHMSL)


Object Number: 82383  Size: CH

Connector Part Information

  • OEM: 12047662
  • Service: 12085535
  • Description: 2-Way F Metri-Pack 150 Series (BK)

Terminal Part Information

  • Terminal/Tray: See Terminal Repair Kit
  • Core/Insulation Crimp: See Terminal Repair Kit
  • Release Tool/Test Probe: See Terminal Repair Kit

Center High Mounted Stop Lamp (CHMSL)

Pin

Wire Color

Circuit No.

Function

A

0.5 L-BU

20

Stop Lamp Supply Voltage

B

0.5 BK/WH

851

Ground

Clutch Pedal Position (CPP) Switch


Object Number: 1989292  Size: CH

Connector Part Information

  • OEM:
  • Service:
  • Description:

Terminal Part Information

  • Terminal/Tray: See Terminal Repair Kit
  • Core/Insulation Crimp: See Terminal Repair Kit
  • Release Tool/Test Probe: See Terminal Repair Kit

Clutch Pedal Position (CPP) Switch

Pin

Wire Color

Circuit No.

Function

A

0.5 BN/WH

 

CPP Switch Signal

B

0.5 PK

 

Ignition 1 Voltage

Clutch Safety Switch (not an approved name)


Object Number: 1989292  Size: CH

Connector Part Information

  • OEM:
  • Service:
  • Description:

Terminal Part Information

  • Terminal/Tray: See Terminal Repair Kit
  • Core/Insulation Crimp: See Terminal Repair Kit
  • Release Tool/Test Probe: See Terminal Repair Kit

Clutch Safety Switch (not an approved name)

Pin

Wire Color

Circuit No.

Function

A

0.5 D-GN

 

Clutch Start/Neutral Start (without LY7)

0.5 OG/BK

 

Clutch Start/Neutral Start (LY7)

B

0.5 BK

 

Ground

Clutch Start Switch


Object Number: 1989292  Size: CH

Connector Part Information

  • OEM:
  • Service:
  • Description:

Terminal Part Information

  • Terminal/Tray: See Terminal Repair Kit
  • Core/Insulation Crimp: See Terminal Repair Kit
  • Release Tool/Test Probe: See Terminal Repair Kit

Clutch Start Switch

Pin

Wire Color

Circuit No.

Function

A

0.5 D-GN

 

Clutch Start/Neutral Start (without LY7)

0.5 OG/BK

 

Clutch Start/Neutral Start (LY7)

B

0.5 BK

 

Ground

Courtesy Lamp - Left Footwell


Object Number: 1989276  Size: CH

Connector Part Information

  • OEM: 7141-5030-80
  • Service: See Catalog
  • Description:

Terminal Part Information

  • Terminal/Tray: See Terminal Repair Kit
  • Core/Insulation Crimp: See Terminal Repair Kit
  • Release Tool/Test Probe: See Terminal Repair Kit

Courtesy Lamp - Left Footwell

Pin

Wire Color

Circuit No.

Function

1

0.5 D-BU/WH

149

Courtesy Lamp Supply Voltage

2

0.5 BK

1450

Ground

Courtesy Lamp - Right Footwell


Object Number: 1989276  Size: CH

Connector Part Information

  • OEM: 7141-5030-80
  • Service: See Catalog
  • Description:

Terminal Part Information

  • Terminal/Tray: See Terminal Repair Kit
  • Core/Insulation Crimp: See Terminal Repair Kit
  • Release Tool/Test Probe: See Terminal Repair Kit

Courtesy Lamp - Right Footwell

Pin

Wire Color

Circuit No.

Function

1

0.5 D-BU/WH

149

Courtesy Lamp Supply Voltage

2

0.5 BK

850

Ground

Cruise Control Clutch Pedal Release Switch


Object Number: 1989292  Size: CH

Connector Part Information

  • OEM:
  • Service:
  • Description:

Terminal Part Information

  • Terminal/Tray:
  • Core/Insulation Crimp:
  • Release Tool/Test Probe:

Cruise Control Clutch Pedal Release Switch

Pin

Wire Color

Circuit No.

Function

A

0.5 BN/WH

 

Clutch Disable Clutch SW Signal

B

0.5 PK

 

Ignition 1 Voltage (LY7)

0.5 PK/BU

 

Ignition 1 Voltage (without LY7)

Crankshaft Position (CKP) Sensor (LY7)


Object Number: 1989587  Size: CH

Connector Part Information

  • OEM: 7283-0283-30
  • Service: See Catalog
  • Description: 3-Way F (BK)

Terminal Part Information

  • Terminal/Tray: See Terminal Repair Kit
  • Core/Insulation Crimp: See Terminal Repair Kit
  • Release Tool/Test Probe: See Terminal Repair Kit

Crankshaft Position (CKP) Sensor (LY7)

Pin

Wire Color

Circuit No.

Function

1

0.5 PU

574

Low Reference

2

0.5 YE/BU

573

CKP Sensor Signal

3

0.5 PU/WH

605

5-Volt Reference

Crankshaft Position (CKP) Sensor (without LY7)


Object Number: 1989351  Size: CH

Connector Part Information

  • OEM: 7223-9736-40
  • Service: 88987997
  • Description: 3-Way F

Terminal Part Information

  • Terminal/Tray: 12048074/2
  • Core/Insulation Crimp: E/1
  • Release Tool/Test Probe: 12094429/J-35616-14 (GN)

Crankshaft Position (CKP) Sensor (without LY7)

Pin

Wire Color

Circuit No.

Function

1

0.5 D-BU/WH

1869

CKP Sensor Signal

2

0.5 YE/BK

1868

Low Reference

3

0.5 L-GN

1867

12-Volt Reference

Data Link Connector (DLC)


Object Number: 1989641  Size: CH

Connector Part Information

  • OEM: 7123-9265-30
  • Service: See Catalog
  • Description: 16-Way F (BK)

Terminal Part Information

  • Pins: 1, 4, 5, 16
  • Terminal/Tray: 12129484/19
  • Core/Insulation Crimp: E/C
  • Release Tool/Test Probe: 12094429/J-35616-14 (GN)
  • Pins: 6, 14
  • Terminal/Tray: 12129484/19
  • Core/Insulation Crimp: E/C
  • Release Tool/Test Probe: 12094429/J-35616-14 (GN)

Data Link Connector (DLC)

Pin

Wire Color

Circuit No.

Function

1

0.35 L-GN

9200

Low Speed GMLAN Serial Data

2-3

--

--

Not Used

4

0.3 BK

850

Ground

5

0.3 BK

850

Ground

6

0.5 BN/BK

9004

High Speed GMLAN Serial Data Bus+

7-13

--

--

Not Used

14

0.5 BN

9005

High Speed GMLAN Serial Data Bus-

15

--

--

Not Used

16

0.5 OG/WH

1840

Battery Positive Voltage

Data Link Resistor


Object Number: 2091098  Size: CH

Connector Part Information

  • OEM: 7282-9913-30
  • Service: See Catalog
  • Description: 2-Way F (BK)

Terminal Part Information

  • Terminal/Tray: 12191819/8
  • Core/Insulation Crimp: E/A
  • Release Tool/Test Probe: 15315247/J-35616-2A (GY)

Data Link Resistor

Pin

Wire Color

Circuit No.

Function

A

0.5 BN/BK

9010

High Speed GMLAN Serial Data Bus+

B

0.5 BN

9011

High Speed GMLAN Serial Data Bus-

Diagnostic Connector (LPG)


Object Number: 2082587  Size: CH

Connector Part Information

Terminal Part Information


Diagnostic Connector (LPG)

Pin

Wire Color

Circuit No.

Function

1

0.5 BK

--

Ground

2

0.5 BK

--

Ground

3

0.75 PK/BU

--

Ignition Voltage

Digital Radio Receiver (U2K)


Object Number: 850856  Size: CH

Connector Part Information

  • OEM: 7229-3239-30
  • Service: See Catalog
  • Description: 16-Way F Micro-Pack 64 Series (BK)

Terminal Part Information

  • Terminal/Tray: See Terminal Repair Kit
  • Core/Insulation Crimp: See Terminal Repair Kit
  • Release Tool/Test Probe: See Terminal Repair Kit

Digital Radio Receiver (U2K)

Pin

Wire Color

Circuit No.

Function

1

0.5 BN/WH

372

Remote Radio Audio Output (-)

2

0.5 D-GN

7007

Left Radio Audio Output

3

0.5 GY/BK

7008

Right Radio Audio Output

4

0.5 GY

388

Remote Radio Right Audio Signal

5

0.35 D-GN

9213

--

6-8

--

--

Not Used

9

0.5 BN

1050

Ground

10-15

--

--

Not Used

16

0.5 OG/WH

2340

Battery Positive Voltage

Digital Video Disc (DVD) Control Module X1


Object Number: 1989381  Size: CH

Connector Part Information

  • OEM: 3046-10
  • Service: See Catalog
  • Description: 10-Way

Terminal Part Information

  • Terminal/Tray: See Terminal Repair Kit
  • Core/Insulation Crimp: See Terminal Repair Kit
  • Release Tool/Test Probe: See Terminal Repair Kit

Digital Video Disc (DVD) Control Module X1

Pin

Wire Color

Circuit No.

Function

1

--

--

Not Used

2

0.3 D-GN

5060

Low Speed GMLAN Serial Data

3

0.5 RD/WH

4540

Battery Positive Voltage (RHD)

0.5 OG/YE

4540

Battery Positive Voltage (LHD)

4

0.5 RD/WH

4540

Battery Positive Voltage (RHD)

0.5 OG/YE

4540

Battery Positive Voltage (LHD)

5-7

--

--

Not Used

8

0.5 BK

1050

Ground

9

0.5 BK

1050

Ground

10

--

--

Not Used

Digital Video Disc (DVD) Control Module X2


Object Number: 1989388  Size: CH

Connector Part Information

  • OEM: 3046-12
  • Service: See Catalog
  • Description: 12-Way

Terminal Part Information

  • Terminal/Tray: See Terminal Repair Kit
  • Core/Insulation Crimp: See Terminal Repair Kit
  • Release Tool/Test Probe: See Terminal Repair Kit

Digital Video Disc (DVD) Control Module X2

Pin

Wire Color

Circuit No.

Function

1

0.5 D-BU

5841

Auxiliary Audio Right Signal (+) (UWF)

2

0.5 BN/WH

5839

Auxiliary Audio Left Signal (+) (UWF)

3-7

--

--

Not Used

8

0.5 D-BU

7001

Common Auxiliary Audio Signal (-) (UWF)

9-12

--

--

Not Used

Digital Video Disc (DVD) Control Module X3


Object Number: 1989392  Size: CH

Connector Part Information

  • OEM: 3046-8
  • Service: See Catalog
  • Description: 8-Way

Terminal Part Information

  • Terminal/Tray: See Terminal Repair Kit
  • Core/Insulation Crimp: See Terminal Repair Kit
  • Release Tool/Test Probe: See Terminal Repair Kit

Digital Video Disc (DVD) Control Module X3

Pin

Wire Color

Circuit No.

Function

1

0.18 PU

5842

Auxiliary Video Signal (-) (RHD)

0.18 BARE

5842

Auxiliary Video Signal (-)(LHD)

2

0.18 WH/RD

2058

Auxiliary Audio Right Signal (+) (RHD)

0.18 RD

2058

Auxiliary Audio Right Signal (+) (LHD)

3

0.18 YE

2059

Auxiliary Audio Left Signal (+) (RHD)

0.18 WH

2059

Auxiliary Audio Left Signal (+) (LHD)

4

--

--

Not Used

5

0.18 PU

5843

Auxiliary Video Signal (+) (RHD)

0.18 BK

5843

Auxiliary Video Signal (+) (LHD)

6

0.18 WH/RD

5841

Auxiliary Audio Right Signal (-) (RHD)

0.18 D-GN

5841

Auxiliary Audio Right Signal (-) (LHD)

7

0.18 YE

5839

Auxiliary Audio Left Signal (-) (RHD)

0.18 PK

5839

Auxiliary Audio Left Signal (-) (LHD)

8

--

--

Not Used

Digital Video Disc (DVD) Control Module X4


Object Number: 1989401  Size: CH

Connector Part Information

  • OEM: 3046-14
  • Service: See Catalog
  • Description: 14-Way

Terminal Part Information

  • Terminal/Tray: See Terminal Repair Kit
  • Core/Insulation Crimp: See Terminal Repair Kit
  • Release Tool/Test Probe: See Terminal Repair Kit

Digital Video Disc (DVD) Control Module X4

Pin

Wire Color

Circuit No.

Function

1

0.3 WH

9412

DVD Video Signal (-) (RHD and U56)

0.3 GY

9412

DVD Video Signal (-) (without RHD and U56)

2

0.3 D-GN/WH

9410

DVD Audio Right Signal (+) (RHD and U56)

0.3 WH

9410

DVD Audio Right Signal (+) (without RHD and U56)

3

0.3 L-GN

9408

DVD Audio Left Signal (+) (RHD and U56)

0.3 L-BU

9408

DVD Audio Left Signal (+) (without RHD and U56)

4

--

--

Not Used

5

0.3 YE

9407

DVRX DVD IN (RHD and U56)

0.3 YE/BK

9407

DVRX DVD IN (without RHD and U56)

6

0.3 L-BU

6871

DVD0V 1 DVD-1

7

0.3 OG

9405

DVD_IN_! DVD+1

8

0.3 WH

6975

DVD Video Signal (+) (RHD and U56)

0.3 D-GN

6975

DVD Video Signal (+) (without RHD and U56)

9

0.3 D-GN/WH

9411

DVD Audio Right Signal (-) (RHD and U56)

0.3 D-GN

9411

DVD Audio Right Signal (-) (without RHD and U56)

10

0.3 L-GN

9409

DVD Audio Left Signal (-) (RHD and U56)

0.3 WH/BK

9409

DVD Audio Left Signal (-) (without RHD and U56)

11

--

--

Not Used

12

0.3 D-GN

1096

DVTX DVD IN (without LHD and U56)

0.3 GY

1096

Passenger Door Lock Switch Low Reference (LHD and U56)

13

0.3 D-BU

9406

DVD0V 2 DVD-2

14

0.3 PK

6875

DVD_IN 2 DVD+2

Digital Video Disc (DVD) Control Module X5


Object Number: 1989401  Size: CH

Connector Part Information

  • OEM: 34046-14
  • Service: See Catalog
  • Description: 14-Way

Terminal Part Information

  • Terminal/Tray: See Terminal Repair Kit
  • Core/Insulation Crimp: See Terminal Repair Kit
  • Release Tool/Test Probe: See Terminal Repair Kit

Digital Video Disc (DVD) Control Module X5

Pin

Wire Color

Circuit No.

Function

1

0.18 WH

6975

DVD Video Signal (-) (without LHD and U56)

0.18 BK

6975

DVD Video Signal (-) (LHD and U56)

2

0.18 D-GN/WH

5828

DVD Audio Right Signal (+) (without LHD and U56)

0.18 RD

5828

DVD Audio Right Signal (+) (LHD and U56)

3

0.18 L-GN

5826

DVD Audio Left Signal (+) (without LHD and U56)

0.18 WH

5826

DVD Audio Left Signal (+) (LHD and U56)

4

0.18 BARE

5339

Shield (without LHD and U56)

0.18 BARE

5339

Drain Wire (LHD and U56)

5

0.18 YE

5485

RS485 TX (without LHD and U56)

0.18 GY

5485

RS485 TX (LHD and U56)

6

0.18 L-BU

6873

Ground (without LHD and U56)

0.18 PU

6873

Ground (LHD and U56)

7

0.18 OG

6849

Battery Positive (without LHD and U56)

0.18 YE

6849

Battery Positive (LHD and U56)

8

0.18 WH

6976

DVD Video Signal (+) (without LHD and U56)

0.18 BK

6976

Battery Positive (LHD and U56)

9

0.18 D-GN/WH

5827

DVD Audio Right Signal (-) (without LHD and U56)

0.18 RD

5827

DVD Audio Right Signal (-) (LHD and U56)

10

0.18 L-GN

5825

DVD Audio Left Signal (-) (without LHD and U56)

0.18 WH

5825

DVD Audio Left Signal (-) (LHD and U56)

11

--

--

Not Used

12

0.18 D-GN

1098

RS485 RX (without LHD and U56)

0.18 D-BU

1098

RS485 RX (LHD and U56)

13-14

--

--

Not Used

Digital Video Disc (DVD) Control Module X6


Object Number: 1989405  Size: CH

Connector Part Information

  • OEM: 3046-16
  • Service: See Catalog
  • Description: 16-Way

Terminal Part Information

  • Terminal/Tray: See Terminal Repair Kit
  • Core/Insulation Crimp: See Terminal Repair Kit
  • Release Tool/Test Probe: See Terminal Repair Kit

Digital Video Disc (DVD) Control Module X6

Pin

Wire Color

Circuit No.

Function

1

0.18 WH

6976

DVD Video Signal (-)

2

0.18 D-GN/WH

5828

DVD Audio Right Signal (+)

3

0.18 L-GN

5826

DVD Audio Left Signal (+)

4

0.18 BARE

5339

Shield

5

0.18 YE

5845

RS485TX

6

0.18 L-BU

6873

Ground

7

0.18 OG

6849

Battery Positive

8

--

--

Not Used

9

0.18 WH

6975

DVD Video Signal (+)

10

0.18 D-GN/WH

5827

DVD Audio Right Signal (-)

11

0.18 L-GN

5825

DVD Audio Left Signal (-)

12

--

--

Not Used

13

0.18 D-GN

1098

RS485RX

14-16

--

--

Not Used

Digital Video Disc (DVD) Control Module X7


Object Number: 1989410  Size: CH

Connector Part Information

  • OEM: 3046-6
  • Service: See Catalog
  • Description: 6-Way

Terminal Part Information

  • Terminal/Tray: See Terminal Repair Kit
  • Core/Insulation Crimp: See Terminal Repair Kit
  • Release Tool/Test Probe: See Terminal Repair Kit

Digital Video Disc (DVD) Control Module X7

Pin

Wire Color

Circuit No.

Function

1

0.18 D-GN

9403

RX (U56 and RHD)

0.18 D-BU

9403

RX (U56 and LHD)

0.18 L-GN/BK

9403

RX (UWF)

2

0.18 L-BU

9401

Ground (U56)

0.18 TN

9401

Ground (UW5)

3

--

--

Not Used

4

0.18 BARE

9404

Shield

5

0.18 YE

9402

TX (U56 and RHD)

0.18 GY

9402

TX (U56 and LHD)

0.18 YE/BK

9402

TX (UWF)

6

0.18 OG

9400

Video In (+) (without U56 and LHD)

0.18 RD

9400

Video In (+) (U56 and LHD)

Digital Video Disc (DVD) Control Module X8


Object Number: 1989392  Size: CH

Connector Part Information

  • OEM: 34046-8
  • Service: See Catalog
  • Description: 8-Way

Terminal Part Information

  • Terminal/Tray: See Terminal Repair Kit
  • Core/Insulation Crimp: See Terminal Repair Kit
  • Release Tool/Test Probe: See Terminal Repair Kit

Digital Video Disc (DVD) Control Module X8

Pin

Wire Color

Circuit No.

Function

1

0.5 BK

5335

DVD Video Signal (-)

2

--

--

Not Used

3

0.5 RD

368

Right Audio Signal (+) (without RHD and U56)

0.5 D-BU

368

Right Audio Signal (+) (RHD and U56)

4

0.5 WH

367

Left Audio Signal (+) (without RHD and U56)

0.5 BN/WH

367

Left Audio Signal (+) (RHD and U56)

5

--

--

Not Used

6

0.5 BK

5334

DVD Video Signal (+)

7

--

--

Not Used

8

0.5 WH/RD

1547

Common Audio Signal (-) (without RHD and U56)

0.5 D-GN

1547

Common Audio Signal (-) (RHD and U56)

Digital Video Disc (DVD) Display X1


Object Number: 1989367  Size: CH

Connector Part Information

  • OEM: LMA0150600A
  • Service: See Catalog
  • Description: 6-Way F

Terminal Part Information

  • Terminal/Tray: See Terminal Repair Kit
  • Core/Insulation Crimp: See Terminal Repair Kit
  • Release Tool/Test Probe: See Terminal Repair Kit

Digital Video Disc (DVD) Display X1

Pin

Wire Color

Circuit No.

Function

1

--

--

Not Used

2

0.18 OG

9400

Video In (+)

3

0.18 TN

9401

Ground (UWF)

0.18 L-BU

9401

Ground (U56)

4

0.18 YE/BK

9402

TX (UWF)

0.18 YE

9402

TX (U56)

5

0.18 L-GN/BK

9403

RX (UWF)

0.18 D-GN

9403

RX (U56)

6

--

--

Not Used

Digital Video Disc (DVD) Display X2


Object Number: 1989367  Size: CH

Connector Part Information

  • OEM: LMA0150600A
  • Service: See Catalog
  • Description: 6-Way F

Terminal Part Information

  • Terminal/Tray: See Terminal Repair Kit
  • Core/Insulation Crimp: See Terminal Repair Kit
  • Release Tool/Test Probe: See Terminal Repair Kit

Digital Video Disc (DVD) Display X2

Pin

Wire Color

Circuit No.

Function

1

0.18 PU

5483

Auxiliary Video Signal (+) (RHD)

0.18 WH

5483

Auxiliary Audio Left Signal (+) (LHD)

2

0.18 WH/RD

2058

Auxiliary Audio Right Signal (+) (RHD)

0.18 PK

2058

Auxiliary Audio Left Signal (-) (LHD)

3

0.18 YE

2059

Auxiliary Audio Left Signal (+) (RHD)

0.18 RD

2059

Auxiliary Audio Right Signal (+) (LHD)

4

0.18 YE

5389

Auxiliary Audio Left Signal (-) (RHD)

0.18 D-GN

5389

Auxiliary Audio Right Signal (-) (LHD)

5

0.18 PU

5842

Auxiliary Audio Signal (-) (RHD)

0.18 BARE

5842

Auxiliary Video Signal (-) (LHD)

6

0.18 WH/RD

5841

Auxiliary Video Right Signal (-) (RHD)

0.18 BK

5841

Auxiliary Video Signal (+) (LHD)

Digital Video Disc (DVD) Player X1


Object Number: 1989306  Size: CH

Connector Part Information

  • OEM: CALMA0150400A
  • Service: See Catalog
  • Description:

Terminal Part Information

  • Terminal/Tray: See Terminal Repair Kit
  • Core/Insulation Crimp: See Terminal Repair Kit
  • Release Tool/Test Probe: See Terminal Repair Kit

Digital Video Disc (DVD) Player X1

Pin

Wire Color

Circuit No.

Function

1

0.3 D-GN

1096

DVTX DVDIN (RHD)

0.3 GY

1096

DVTX DVDIN

2

0.3 YE

9407

DVRX DVDIN (RHD)

0.3 YE/BK

9407

DVRX DVDIN

3

--

--

Not Used

4

0.3 BARE

9413

Shield

5

0.3 L-GN

9408

DVD Audio Left Signal (+) (RHD)

0.3 L-BU

9408

DVD Audio Left Signal (+)

6

0.3 L-GN

9409

DVD Audio Left Signal (-) (RHD)

0.3 L-BU

9409

DVD Audio Left Signal (-) (RHD)

0.3 WH/BK

9409

DVD Audio Left Signal (-) (LHD)

7

0.3 D-GN/WH

9410

DVD Audio Right Signal (+) (RHD)

0.3 WH

9410

DVD Audio Right Signal (+)

8

0.3 D-GN/WH

9411

DVD Audio Right Signal (-) (RHD)

0.3 D-GN

9411

DVD Audio Right Signal (-)

9

0.3 WH

9412

DVD Video Signal (-) (RHD)

0.3 GY

9412

DVD Video Signal (-)

10

0.3 WH

6975

DVD Video Signal (+) (RHD)

0.3 D-GN

6975

DVD Video Signal (+)

Digital Video Disc (DVD) Player X2


Object Number: 1989309  Size: CH

Connector Part Information

  • OEM: CALMA0151000A
  • Service: See Catalog
  • Description:

Terminal Part Information

  • Terminal/Tray: See Terminal Repair Kit
  • Core/Insulation Crimp: See Terminal Repair Kit
  • Release Tool/Test Probe: See Terminal Repair Kit

Digital Video Disc (DVD) Player X2

Pin

Wire Color

Circuit No.

Function

1

0.3 OG

9405

DVD IN 1 DVD+1

2

0.3 PK

6875

DVD IN 2 DVD+2

3

0.3 L-BU

6871

DVD IN 1 DVD-1

4

0.3 D-BU

9406

DVD IN 2 DVD-2

Disable Switch


Object Number: 2015514  Size: CH

Connector Part Information

  • OEM:
  • Service: See Catalog
  • Description: 2-Way

Terminal Part Information

  • Terminal/Tray: See Terminal Repair Kit
  • Core/Insulation Crimp: See Terminal Repair Kit
  • Release Tool/Test Probe: See Terminal Repair Kit

Disable Switch

Pin

Wire Color

Circuit No.

Function

1

0.35 BK

6

Ground

2

0.35 BK

11

Disable Signal

Dome Lamp (without TRV)


Object Number: 1989320  Size: CH

Connector Part Information

  • OEM: 0039-01-2045
  • Service: See Catalog
  • Description: 4-Way F (WH)

Terminal Part Information

  • Terminal/Tray: See Terminal Repair Kit
  • Core/Insulation Crimp: See Terminal Repair Kit
  • Release Tool/Test Probe: See Terminal Repair Kit

Dome Lamp (without TRV)

Pin

Wire Color

Circuit No.

Function

1

0.5 BK/WH

851

Ground

2

0.3 PK/BK

1597

Courtesy Lamp Supply Voltage

3

0.3 PU

328

Interior Lamp Switch Signal

4

0.5 D-BU/WH

149

Courtesy Lamp Supply Voltage

Dome/Reading Lamps - Front (C74 without 9C1)


Object Number: 1989294  Size: CH

Connector Part Information

  • OEM: 0039-01-2065
  • Service: See Catalog
  • Description: 6-Way F (WH)

Terminal Part Information

  • Terminal/Tray: See Terminal Repair Kit
  • Core/Insulation Crimp: See Terminal Repair Kit
  • Release Tool/Test Probe: See Terminal Repair Kit

Dome/Reading Lamps - Front (C74 without 9C1)

Pin

Wire Color

Circuit No.

Function

1

0.5 BK/WH

851

Ground

2

0.3 PK/BK

1597

Courtesy Lamps Switch on signal

3

0.3 PU

328

Interior Lamp Switch Signal

4

0.5 D-BU/WH

149

Courtesy Lamp Supply Voltage

5

0.5 OG

1732

Courtesy Lamp Supply Voltage

6

0.3 YE

6817

LED Backlight Dimming Control

Dome/Reading Lamps (9C1)


Object Number: 1989282  Size: CH

Connector Part Information

  • OEM:
  • Service: See Catalog
  • Description:

Terminal Part Information

  • Terminal/Tray: See Terminal Repair Kit
  • Core/Insulation Crimp: See Terminal Repair Kit
  • Release Tool/Test Probe: See Terminal Repair Kit

Dome/Reading Lamps (9C1)

Pin

Wire Color

Circuit No.

Function

1

--

--

Not Used

2

0.3 PK/BK

1597

Courtesy Lamps Switch On Signal

3

0.5 OG/WH

1840

Battery Positive Voltage

4

0.3 WH/RD

6821

Courtesy Lamps Switch On Signal

5-6

--

--

Not Used

7

0.3 PU

328

Interior Lamp Switch Signal

8

0.5 D-BU/WH

149

Courtesy Lamp Supply Voltage

9

0.85 OG

1732

Courtesy Lamps Supply Voltage

10

0.5 BK/WH

851

Ground

Dome/Reading Lamps - Rear (TRV)


Object Number: 1989280  Size: CH

Connector Part Information

  • OEM: 43645-0400
  • Service: See Catalog
  • Description: 4-Way F (WH)

Terminal Part Information

  • Terminal/Tray: See Terminal Repair Kit
  • Core/Insulation Crimp: See Terminal Repair Kit
  • Release Tool/Test Probe: See Terminal Repair Kit

Dome/Reading Lamps - Rear (TRV)

Pin

Wire Color

Circuit No.

Function

1

0.5 BK/WH

851

Ground

2

0.5 D-BU/WH

149

Courtesy Lamp Supply Voltage

3

0.5 OG

1732

Courtesy Lamp Supply Voltage

4

0.3 YE

6817

LED Backlight Dimming Control

Dome/Reading Lamps - Rear (without TRV)


Object Number: 1989320  Size: CH

Connector Part Information

  • OEM: 0039-01-2045
  • Service: See Catalog
  • Description: 4-Way F (WH)

Terminal Part Information

  • Terminal/Tray: See Terminal Repair Kit
  • Core/Insulation Crimp: See Terminal Repair Kit
  • Release Tool/Test Probe: See Terminal Repair Kit

Dome/Reading Lamps - Rear (without TRV)

Pin

Wire Color

Circuit No.

Function

1

0.5 BK/WH

851

Ground

2

0.5 D-BU/WH

149

Courtesy Lamp Supply Voltage

3-4

--

--

Not Used

Door Courtesy Lamp - Driver X1


Object Number: 1989274  Size: CH

Connector Part Information

  • OEM: 180984-5
  • Service: See Catalog
  • Description:

Terminal Part Information

  • Terminal/Tray: See Terminal Repair Kit
  • Core/Insulation Crimp: See Terminal Repair Kit
  • Release Tool/Test Probe: See Terminal Repair Kit

Door Courtesy Lamp - Driver X1

Pin

Wire Color

Circuit No.

Function

A

0.5 D-BU/WH

149

Courtesy Lamp Supply Voltage

Door Courtesy Lamp - Driver X2


Object Number: 1989274  Size: CH

Connector Part Information

  • OEM: 180984-5
  • Service: See Catalog
  • Description:

Terminal Part Information

  • Terminal/Tray: See Terminal Repair Kit
  • Core/Insulation Crimp: See Terminal Repair Kit
  • Release Tool/Test Probe: See Terminal Repair Kit

Door Courtesy Lamp - Driver X2

Pin

Wire Color

Circuit No.

Function

A

0.5 BK

2050

Ground

Door Courtesy Lamp - Left Rear X1


Object Number: 1989274  Size: CH

Connector Part Information

  • OEM: 180984-5
  • Service: See Catalog
  • Description:

Terminal Part Information

  • Terminal/Tray: See Terminal Repair Kit
  • Core/Insulation Crimp: See Terminal Repair Kit
  • Release Tool/Test Probe: See Terminal Repair Kit

Door Courtesy Lamp - Left Rear X1

Pin

Wire Color

Circuit No.

Function

A

0.5 D-BU/WH

149

Courtesy Lamp Supply Voltage

Door Courtesy Lamp - Left Rear X2


Object Number: 1989274  Size: CH

Connector Part Information

  • OEM: 180984-5
  • Service: See Catalog
  • Description:

Terminal Part Information

  • Terminal/Tray: See Terminal Repair Kit
  • Core/Insulation Crimp: See Terminal Repair Kit
  • Release Tool/Test Probe: See Terminal Repair Kit

Door Courtesy Lamp - Left Rear X2

Pin

Wire Color

Circuit No.

Function

A

0.5 BK

2050

Ground

Door Courtesy Lamp - Passenger X1


Object Number: 1989274  Size: CH

Connector Part Information

  • OEM: 180984-5
  • Service: See Catalog
  • Description:

Terminal Part Information

  • Terminal/Tray: See Terminal Repair Kit
  • Core/Insulation Crimp: See Terminal Repair Kit
  • Release Tool/Test Probe: See Terminal Repair Kit

Door Courtesy Lamp - Passenger X1

Pin

Wire Color

Circuit No.

Function

A

0.5 D-BU/WH

149

Courtesy Lamp Supply Voltage

Door Courtesy Lamp - Passenger X2


Object Number: 1989274  Size: CH

Connector Part Information

  • OEM: 180984-5
  • Service: See Catalog
  • Description:

Terminal Part Information

  • Terminal/Tray: See Terminal Repair Kit
  • Core/Insulation Crimp: See Terminal Repair Kit
  • Release Tool/Test Probe: See Terminal Repair Kit

Door Courtesy Lamp - Passenger X2

Pin

Wire Color

Circuit No.

Function

A

0.5 BK

1350

Ground

Door Courtesy Lamp - Right Rear X1


Object Number: 1989274  Size: CH

Connector Part Information

  • OEM: 180984-5
  • Service: See Catalog
  • Description:

Terminal Part Information

  • Terminal/Tray: See Terminal Repair Kit
  • Core/Insulation Crimp: See Terminal Repair Kit
  • Release Tool/Test Probe: See Terminal Repair Kit

Door Courtesy Lamp - Right Rear X1

Pin

Wire Color

Circuit No.

Function

A

0.5 D-BU/WH

149

Courtesy Lamp Supply Voltage

Door Courtesy Lamp - Right Rear X2


Object Number: 1989274  Size: CH

Connector Part Information

  • OEM: 180984-5
  • Service: See Catalog
  • Description:

Terminal Part Information

  • Terminal/Tray: See Terminal Repair Kit
  • Core/Insulation Crimp: See Terminal Repair Kit
  • Release Tool/Test Probe: See Terminal Repair Kit

Door Courtesy Lamp - Right Rear X2

Pin

Wire Color

Circuit No.

Function

A

0.5 BK

1350

Ground

Door Latch - Driver


Object Number: 1989610  Size: CH

Connector Part Information

  • OEM: 7283-6930-30
  • Service: See Catalog
  • Description: 10-Way F (BK)

Terminal Part Information

  • Pins: 2, 3
  • Terminal/Tray: 964274-2/16
  • Pins: 6, 8, 9
  • Terminal/Tray: 4-969005-1/16
  • Core/Insulation Crimp: E/1
  • Release Tool/Test Probe: J-38125-560/J-35616-33 (YE)

Door Latch - Driver

Pin

Wire Color

Circuit No.

Function

1

--

--

Not Used

2

0.75 BN/RD

294

Door Lock Actuator Unlock Control

3

0.75 GN/WH

295

Door Lock Actuator Lock Control

4-5

--

--

Not Used

6

0.3 BN/WH

746

Driver Door Ajar Switch Signal

7

--

--

Not Used

8

0.5 BK

2050

Ground

9-10

--

--

Not Used

Door Latch - Left Rear


Object Number: 1989611  Size: CH

Connector Part Information

  • OEM: 7283-6931-30
  • Service: 88986251
  • Description: 6-Way F Sealed (BK)

Terminal Part Information

  • Pins: 2, 3
  • Terminal/Tray: 964274-2/16
  • Core/Insulation Crimp: E/1
  • Release Tool/Test Probe: J-38125-560/J-35616-33 (YE)
  • Pins: 4, 6
  • Terminal/Tray: 4-969005-1/16
  • Core/Insulation Crimp: E/1
  • Release Tool/Test Probe: J-38125-560/J-35616-33 (YE)

Door Latch - Left Rear

Pin

Wire Color

Circuit No.

Function

1

--

--

Not Used

2

0.75 BN/RD

294

Door Lock Actuator Unlock Control

3

0.75 GN/WH

295

Door Lock Actuator Lock Control

4

0.3 BN/WH

746

Passengers Door Ajar Switch Signal

5

--

--

Not Used

6

0.5 BK

2050

Ground

Door Latch - Passenger


Object Number: 1989610  Size: CH

Connector Part Information

  • OEM: 7283-6930-30
  • Service: See Catalog
  • Description: 10-Way F (BK)

Terminal Part Information

  • Pins: 7, 8
  • Terminal/Tray: 964274-2/16
  • Pins: 1, 3
  • Terminal/Tray: 4-969005-1/16
  • Core/Insulation Crimp: E/1
  • Release Tool/Test Probe: J-38125-560/J-35616-33 (YE)

Door Latch - Passenger

Pin

Wire Color

Circuit No.

Function

1

0.3 GY/BK

745

Passengers Door Ajar Switch Signal

2

--

--

Not Used

3

0.5 BK

1350

Ground

4

0.3 PK

781

Driver Door Lock Switch Unlock Signal

5-6

--

--

Not Used

7

0.75 BN/RD

694

Driver Door Lock Actuator Unlock Control

8

0.75 GN/WH

295

Door Lock Actuator Lock Control

9

0.3 PK/BK

780

Driver Door Lock Switch Lock Signal

10

--

--

Not Used

Door Latch - Right Rear


Object Number: 1989611  Size: CH

Connector Part Information

  • OEM: 7283-6931-30
  • Service: 88986251
  • Description: 6-Way F Sealed (BK)

Terminal Part Information

  • Pins: 5, 6
  • Terminal/Tray: 964274-2/16
  • Core/Insulation Crimp: E/1
  • Release Tool/Test Probe: J-38125-560/J-35616-33 (YE)
  • Pins: 1, 3
  • Terminal/Tray: 4-969005-1/16
  • Core/Insulation Crimp: E/1
  • Release Tool/Test Probe: J-38125-560/J-35616-33 (YE)

Door Latch - Right Rear

Pin

Wire Color

Circuit No.

Function

1

0.3 BN/WH

746

Passengers Door Ajar Switch Signal

2

--

--

Not Used

3

0.5 BK

1350

Ground

4

--

--

Not Used

5

0.75 BN/RD

294

Door Lock Actuator Unlock Control

6

0.75 GN/WH

295

Door Lock Actuator Lock Control

Door Lock/Window Switch X1


Object Number: 1989620  Size: CH

Connector Part Information

  • OEM: 7119-3130
  • Service: See Catalog
  • Description: 13-Way F (WH)

Terminal Part Information

  • Terminal/Tray: 7116-1050/27
  • Core/Insulation Crimp: C/A
  • Release Tool/Test Probe: 12094430/J-35616-4A (PU)

Door Lock/Window Switch X1

Pin

Wire Color

Circuit No.

Function

1-6

--

--

Not Used

7

2 PU

169

Power Window Master Switch Left Rear Down Signal

8

2 D-GN

168

Power Window  Master Switch Left Rear Up Signal

9

2 BK

2050

Ground

10

2 D-GN

1001

RAP [X] Fuse Supply Voltage

11

2 D-BU

1307

Power Window Master Switch Lockout Signal

12

2 PU/WH

171

Power Window Master Switch Right Rear Down Signal

13

2 L-GN

170

Power Window Master Switch Right Rear Up Signal

Door Lock/Window Switch X2


Object Number: 1989621  Size: CH

Connector Part Information

  • OEM: 7123-1765-30
  • Service: See Catalog
  • Description: 16-Way F (BK)

Terminal Part Information

  • Terminal/Tray: 173681-2/17
  • Core/Insulation Crimp: E/4
  • Release Tool/Test Probe: 15315247/J-35616-16 (L-GN)

Door Lock/Window Switch X2

Pin

Wire Color

Circuit No.

Function

1

0.5 D-GN

1301

RAP [X] Fuse Supply Voltage

2

0.5 BN

1300

Power Window Master Switch Left Front Up Signal

3

0.5 GY/BU

1136

Power Window Master Switch Left Front Down Signal

4

0.5 BK

2050

Ground

5

0.5 BN/BK

254

Power Door Unlock Fuse Supply Voltage

6

0.5 WH/BK

81

Driver Mirror Motor Right Control

7

0.5 L-GN/BK

89

Driver Mirror Motor Down Control

8

0.5 WH/BU

7391

Power Window Switch Right and Up

9

0.5 L-BU

166

Power Window Master Switch Right Front Up Signal

10

0.5 GN/BK

167

Power Window Master Switch Right Front Down Signal

11

0.3 YE

6817

LED Backlight Diming Control

12

0.5 PU/WH

889

Passenger Mirror Motor Down Control

13

0.5 OG/WH

881

Passenger Mirror Motor Right Control

14

0.5 BK

2050

Ground

15

0.3 GY/BK

255

Power Door Lock Fuse Supply Voltage

16

0.5 BN/BU

343

Accessory Voltage

Driver Information Center (DIC) (ERG)

Connector Part Information

  • OEM: 7282-1060
  • Service: See Catalog
  • Description: 26-Way

Terminal Part Information

  • Terminal/Tray: See Terminal Repair Kit
  • Core/Insulation Crimp: See Terminal Repair Kit
  • Release Tool/Test Probe: See Terminal Repair Kit

Driver Information Center (DIC) (ERG)

Pin

Wire Color

Circuit No.

Function

1

0.35 YE

2501

High Speed GMLAN Serial Data Bus-

2

0.35 YE

2501

High Speed GMLAN Serial Data Bus-

3

0.35 YE

2500

High Speed GMLAN Serial Data Bus+

4

0.35 YE

 

--

5-7

--

--

Not Used

8

0.35 BK/BU

 

Steering Wheel Position Sensor Low Reference

9-15

--

--

Not Used

16

0.35 YE

2500

High Speed GMLAN Serial Data Bus+

17

0.35 YE

 

--

18-26

--

--

Not Used

Driver Information Center (DIC) (without ERG)


Object Number: 1989632  Size: CH
  • OEM: 7123-1685
  • Service: See Catalog
  • Description: 8-Way F (WH)

Terminal Part Information

  • Terminal/Tray: See Terminal Repair Kit
  • Core/Insulation Crimp: See Terminal Repair Kit
  • Release Tool/Test Probe: See Terminal Repair Kit

Driver Information Center (DIC) (without ERG)

Pin

Wire Color

Circuit No.

Function

1

0.3 D-GN

5060

Low Speed GMLAN Serial Data

2-3

--

--

Not Used

4

0.5 RD/WH

1840

Battery Positive Voltage

5-7

--

--

Not Used

8

0.3 BK

1450

Ground

Driving Lamp - Left (HSV or VXR8)


Object Number: 1989643  Size: CH

Connector Part Information

  • OEM:
  • Service: See Catalog
  • Description: 2-Way F

Terminal Part Information

  • Terminal/Tray: See Terminal Repair Kit
  • Core/Insulation Crimp: See Terminal Repair Kit
  • Release Tool/Test Probe: See Terminal Repair Kit

Driving Lamp - Left (HSV or VXR8)

Pin

Wire Color

Circuit No.

Function

A

0.75 PU

 

Front Driving Lamp Relay Supply Voltage

B

0.75 BK

 

Ground

Driving Lamp - Right (HSV or VXR8)


Object Number: 1989643  Size: CH

Connector Part Information

  • OEM:
  • Service: See Catalog
  • Description: 2-Way F

Terminal Part Information

  • Terminal/Tray: See Terminal Repair Kit
  • Core/Insulation Crimp: See Terminal Repair Kit
  • Release Tool/Test Probe: See Terminal Repair Kit

Driving Lamp - Right (HSV or VXR8)

Pin

Wire Color

Circuit No.

Function

A

0.75 PU

 

Front Driving Lamp Relay Supply Voltage

B

0.75 BK

 

Ground

Driving Lamp - HSVDR 1 (HSV or VXR8)


Object Number: 1989648  Size: CH

Connector Part Information

  • OEM:
  • Service: See Catalog
  • Description: 2-Way F

Terminal Part Information

  • Terminal/Tray: See Terminal Repair Kit
  • Core/Insulation Crimp: See Terminal Repair Kit
  • Release Tool/Test Probe: See Terminal Repair Kit

Driving Lamp - HSVDR 1 (HSV or VXR8)

Pin

Wire Color

Circuit No.

Function

A

0.3 D-BU

 

Ground

B

0.3 RD/BU

 

Voltage Supply

Electronic Brake Control Module (EBCM) (JL4)


Object Number: 2091099  Size: CH

Connector Part Information

  • OEM: 7229-2512-30
  • Service: See Catalog
  • Description: 46-Way F (BK)

Terminal Part Information

  • Pins: 1, 2
  • Terminal/Tray: 1-968859-3/7
  • Core/Insulation Crimp: A/3
  • Release Tool/Test Probe: 12093647/J-35616-4A (PU)
  • Pins: 3, 4
  • Terminal/Tray: 1-968857-3/7
  • Core/Insulation Crimp: C/1
  • Release Tool/Test Probe: 12093647/J-35616-4A (PU)
  • Pins: 5-10, 14-16, 18, 20, 25-27, 35, 37. 45
  • Terminal/Tray: 1928498014/17
  • Core/Insulation Crimp: N/N
  • Release Tool/Test Probe: J-38125-560/J-35616-64B (L-BU)
  • Pins: 28
  • Terminal/Tray: 1928498014/17
  • Core/Insulation Crimp: N/N
  • Release Tool/Test Probe: J-38125-560/J-35616-64B (L-BU)

Electronic Brake Control Module (EBCM) (JL4)

Pin

Wire Color

Circuit No.

Function

1

3 BK

350

Ground

2

3 RD/BK

142

Battery Positive Voltage

3

2 OG

3540

Battery Positive Voltage

4

2 BK

350

Ground

5

0.5 L-BU

830

Left Front Wheel Speed Sensor Signal

6

0.5 GY

7127

Wheel Speed Sensor Supply Voltage Left Rear

7

0.5 GY

7128

Wheel Speed Sensor Supply Voltage Right Rear

8

0.5 BN

882

Right Rear Wheel Speed Sensor Signal

9

0.5 GY

7065

Wheel Speed Sensor Supply Voltage Right Front

10

0.5 D-GN

872

Wheel Speed Sensor Signal Right Front

11-13

--

--

Not Used

14

0.5 BN

9003

High Speed GMLAN Serial Data Bus-

15

0.5 BK/BU

2088

Steering Wheel Position Sensor Low Reference

16

0.5 BN/WH

2086

Yaw Rate Sensor Test Control

17

--

--

Not Used

18

0.5 D-GN

2087

Steering Wheel Position Sensor 5-V Reference

19

--

--

Not Used

20

0.5 PU/WH

1699

Combined Vehicle Inertial Sensor Signal

21-24

--

--

Not Used

25

0.5 BN

9001

High Speed GMLAN Serial Data Bus-

26

0.5 GY

7064

Wheel Speed Sensor Supply Voltage Left Front

27

0.5 BN/BK

884

Left Rear Wheel Speed Sensor Signal

28

0.75 L-BU

5986

Communication Enable Relay Supply Voltage

29-34

--

--

Not Used

35

0.5 BN/BK

9002

High Speed GMLAN Serial Data Bus+

36

--

--

Not Used

37

0.5 L-GN/BK

5352

Yaw Rate Sensor Test Control

38-44

--

--

Not Used

45

0.5 BN/BK

9000

High Speed GMLAN Serial Data Bus+ (LY7)

46

--

--

Not Used

Electronic Brake Control Module (EBCM) (JL9)


Object Number: 1989570  Size: CH

Connector Part Information

  • OEM: 1928404406
  • Service: See Catalog
  • Description:

Terminal Part Information

  • Terminal/Tray: See Terminal Repair Kit
  • Core/Insulation Crimp: See Terminal Repair Kit
  • Release Tool/Test Probe: See Terminal Repair Kit

Electronic Brake Control Module (EBCM) (JL9)

Pin

Wire Color

Circuit No.

Function

1

3 BK

350

Ground

2

3 RD/BK

142

Battery Positive Voltage

3

2 OG

3540

Battery Positive Voltage

4

2 BK

350

Ground

5

0.5 L-BU

830

Left Front Wheel Speed Sensor Signal

6

0.5 GY

7127

Left Rear Wheel Speed Sensor Supply Voltage

7

0.5 GY

7128

Right Rear Wheel Speed Sensor Supply Voltage

8

0.5 BN

882

Right Rear Wheel Speed Sensor Signal

9

0.5 GY/WH

7065

Right Front Wheel Speed Sensor Supply Voltage

10

0.5 D-GN

872

Right Front Wheel Speed Sensor Signal

11-13

--

--

Not Used

14

0.5 BN

2501

High Speed GMLAN Serial Data Bus-

15

0.5 BN

2501

High Speed GMLAN Serial Data Bus-

16

0.5 GY

7064

Left Front Wheel Speed Sensor Supply Voltage

17

0.5 BN/BK

884

Left Rear Wheel Speed Sensor Signal

18

0.5 L-BU

5986

Communication Enable Relay Supply Voltage

19-24

--

--

Not Used

25

0.5 BN/BK

2500

High Speed GMLAN Serial Data Bus+

25

0.5 BN/BK

2500

High Speed GMLAN Serial Data Bus+

Electronic Suspension Control (ESC) Switch (HSV)


Object Number: 1989491  Size: CH

Connector Part Information

  • OEM: 7282-1060
  • Service: See Catalog
  • Description: 6-Way F

Terminal Part Information

  • Terminal/Tray: See Terminal Repair Kit
  • Core/Insulation Crimp: See Terminal Repair Kit
  • Release Tool/Test Probe: See Terminal Repair Kit

Electronic Suspension Control (ESC) Switch (HSV)

Pin

Wire Color

Circuit No.

Function

1

0.35 L-BU

5986

Communication Enable Relay Supply Voltage

2

0.35 BK

850

Ground

3

0.35 YE/GN

1437

Firm LED Supply Voltage

4

0.35 BK

850

Ground

5

0.35 YE/RD

1384

Electronic Suspension Control Switch Signal

6

0.35 BK

6817

Ground

Electronic Suspension Control (ESC) Module (HSV)


Object Number: 1989483  Size: CH

Connector Part Information

  • OEM:
  • Service: See Catalog
  • Description: 47-Way F

Terminal Part Information

  • Terminal/Tray: See Terminal Repair Kit
  • Core/Insulation Crimp: See Terminal Repair Kit
  • Release Tool/Test Probe: See Terminal Repair Kit

Electronic Suspension Control (ESC) Module (HSV)

Pin

Wire Color

Circuit No.

Function

1

--

--

Not Used

2

0.3 D-BU/WH

1205

Left Front Suspension Position Sensor Voltage Reference

3

0.3 D-GN/WH

1211

Right Front Suspension Position Sensor Voltage Reference

4

0.3 GY/WH

1208

Left Rear Suspension Position Sensor Voltage Reference

5

0.3 BN/WH

1214

Right Rear Suspension Position Sensor Voltage Reference

6-7

--

--

Not Used

8

0.3 YE/BK

370

Module Signal Error

9

0.3 YE/GN

1437

Firm LED Supply Voltage

10

--

--

Not Used

11

0.3 BN/BK

1215

Right Rear Suspension Position Sensor Low Reference

12-16

--

--

Not Used

17

0.3 D-BU

1207

Left Front Suspension Position Sensor Signal

18

0.3 D-GN

1213

Right Front Suspension Position Sensor Signal

19

0.3 BN

1216

Right Rear Suspension Position Sensor Signal

20

--

--

Not Used

21

0.35 YE/RD

1384

Electronic Suspension Control Switch Signal

22-23

--

--

Not Used

24

0.3 BN

2501

High Speed GMLAN Serial Data Bus-

25

0.3 BN/BK

2500

High Speed GMLAN Serial Data Bus+

26

0.3 D-GN/BK

1212

Right Front Suspension Position Sensor Low Reference

27

0.3 GY/BK

1209

Left Rear Suspension Position Sensor Low Reference

28

0.85 WH/BK

1115

Left Rear Damper Low Reference

29

0.85 PU/WH

1117

Right Front Damper Low Reference

30

0.85 PK/BK

1113

Left Front Damper Low Reference

31

0.5 L-BU

5986

Communication Enable Relay Supply Voltage

32

2 RD/BU

2640

Battery Positive Voltage

33

0.3 GY

1210

Left Rear Suspension Position Sensor Signal

34-38

--

--

Not Used

39

0.3 BN

2501

High Speed GMLAN Serial Data Bus-

40

0.3 BN/BK

2500

High Speed GMLAN Serial Data Bus+

41

0.3 D-BU/BK

1206

Left Front Suspension Position Sensor Low Reference

42

0.85 L-GN/BK

1119

Right Rear Damper Control

43

0.85 WH/RD

1114

Left Rear Damper Control

44

0.85 L-GN/BK

1118

Right Rear Damper Low Reference

45

0.85 PU

1116

Right Front Damper Control

46

0.85 PK

1107

Left Front Damper Control

47

2 BK

850

Ground

Engine Control Module (ECM) (L98 or HSV or LS2) X1


Object Number: 1989343  Size: CH

Connector Part Information

  • OEM: 7283-9139-30
  • Service: See Catalog
  • Description: 73-Way F

Terminal Part Information

  • Pins: 1-72
  • Terminal/Tray: See Terminal Repair Kit
  • Core/Insulation Crimp: See Terminal Repair Kit
  • Release Tool/Test Probe: See Terminal Repair Kit
  • Pin: 73
  • Terminal/Tray: 7116-4152-02/9
  • Core/Insulation Crimp: 2/5
  • Release Tool/Test Probe: 12094430/J-35616-35 (VT)

Engine Control Module (ECM) (L98 or HSV or LS2) X1

Pin

Wire Color

Circuit No.

Function

1

0.5 OG/BK

1786

Park/Neutral Signal

2-5

--

--

Not Used

6

0.5 BN/WH

 

Cruise Control Disable Clutch Switch Signal

7

--

--

Not Used

8

0.5 L-GN

5007

Backup Lamp Switch Signal

9

0.5 WH/BU

17

Stop Lamp Switch Signal

10

0.5 PU/WH

1668

HO2S High Signal (Bank 1 Sensor 2)

11

0.5 BN/WH

1669

HO2S Low Signal (Bank 1 Sensor 2)

12

0.5 OG/BK

380

A/C Refrigerant Pressure Sensor Signal

13

0.5 BN/GN

2759

Low Reference

14-15

--

--

Not Used

16

0.5 PU

1589

Fuel Level Sensor Signal (Primary)

17

0.5 D-BU/BK

473

High Speed Cooling Fan Relay Control (L98)

0.5 D-BU

473

High Speed Cooling Fan Relay Control (HSV)

18

0.5 D-BU

5985

Accessory Wakeup Serial Data

19

0.5 PK

439

Ignition 1 Voltage

20

0.75 OG/BK

540

Battery Positive Voltage

21-22

--

--

Not Used

23

0.5 PU

1272

Low Reference

24-26

--

--

Not Used

27

0.5 BN

9001

High Speed GMLAN Serial Data Bus-

28

0.5 BN/BK

9000

High Speed GMLAN Serial Data Bus+

29

0.5 D-BU/WH

1161

APP Sensor 1 Signal

30

0.5 BN

1271

Low Reference

31

0.5 BN/YE

452

Low Reference

32

0.5 L-BU

1162

APP Sensor 2 Signal

33

--

--

Not Used

34

0.5 GY

1688

5-Volt Reference

35

--

--

Not Used

36

0.5 BN/YE

1274

5-Volt Reference

37

0.5 BN/RD

472

IAT Sensor Signal

38

0.5 BN/WH

2760

Low Reference

39-40

--

--

Not Used

41

0.5 YE

492

MAF Sensor Signal

42

--

--

Not Used

43

  

High Speed Cooling Fan Relay Control

44-46

--

--

Not Used

47

0.75 PK/BK

5290

Ignition 1 Voltage (L98)

0.75 BK

5290

Ignition 1 Voltage (HSV)

48

--

--

Not Used

49

0.5 BN/WH

1671

HO2S Low Signal (Bank 2 Sensor 2)

50

0.5 D-GN/WH

465

Fuel Pump Relay Control (Primary)

51

--

--

Not Used

52

0.5 YE

447

Starter Relay Coil Control

53-55

--

--

Not Used

56

0.5 WH/BK

1164

5-Volt Reference

57

--

--

Not Used

58

0.5 D-GN

335

Low Speed Cooling Fan Relay Control

59

0.5 BN

5069

Main Relay Control

60-63

--

--

Not Used

64

0.5 OG/WH

3223

HO2S Heater Low Control (Bank 2 Sensor 2)

65

0.5 BN

2391

HO2S Heater Low Control (Bank 1 Sensor 2)

66-67

--

--

Not Used

68

0.5 BN/WH

419

MIL Control

69

0.5 PU

1670

HO2S High Signal (Bank 2 Sensor 2)

70

0.5 L-BU

1937

Fuel Level Sensor Signal (Secondary)

71-72

--

--

Not Used

73

2 BK

450

Ground

Engine Control Module (ECM) (L98 or HSV or LS2) X2


Object Number: 1989647  Size: CH

Connector Part Information

  • OEM: 7283-9623-40
  • Service: See Catalog
  • Description: 80-Way F

Terminal Part Information

  • Terminal/Tray: See Terminal Repair Kit
  • Core/Insulation Crimp: See Terminal Repair Kit
  • Release Tool/Test Probe: See Terminal Repair Kit

Engine Control Module (ECM) (L98 or HSV or LS2) X2

Pin

Wire Color

Circuit No.

Function

1

--

--

Not Used

2

0.5 L-GN

1867

5-Volt Reference

3

0.5 GY

2701

5-Volt Reference

4

--

--

Not Used

5

0.75 BN

582

TAC Motor Control - 2

6

0.75 YE

581

TAC Motor Control - 1

7

--

--

Not Used

8

0.75 D-GN/WH

428

EVAP Canister Purge Solenoid Control

9-10

--

--

Not Used

11

0.75 L-GN

5494

Reverse Lockout Solenoid Control

12

0.5 GY/WH

3113

HO2S Heater Low Control (Bank 1 Sensor 1)

13

0.5 L-GN

3212

HO2S Heater Low Control (Bank 2 Sensor 1)

14-16

--

--

Not Used

17

0.75 D-BU/WH

878

Fuel Injector 8 Control

18

0.75 BN/WH

845

Fuel Injector 5 Control

19

0.75 YE/BK

846

Fuel Injector 6 Control

20

0.75 BN/BK

1744

Fuel Injector 1 Control

21

0.5 YE/GN

410

ECT Sensor Signal

22

0.5 BN/WH

2761

Low Reference

23

0.5 D-GN/YE

357

Oil Temperature Sensor Signal

24

0.5 BN/RD

470

Low Reference

25

--

--

Not Used

26

0.5 D-BU

496

Knock Sensor 1 Signal

27

0.5 GY

1716

Low Reference Knock Sensor Signal Return

28

--

--

Not Used

29

0.5 L-BU

1876

Knock Sensor 2 Signal

30

0.5 TN

407

Low Reference

31

--

--

Not Used

32

0.5 PU/WH

23

Generator Field Duty Cycle Signal

33

0.5 BN

1174

Oil Level Switch Signal

34

0.5 BK

2755

Low Reference

35

0.5 BN/BK

2752

Low Reference

36

--

--

Not Used

37

0.75 L-GN/BK

1745

Fuel Injector 2 Control

38

0.75 PK/BK

1746

Fuel Injector 3 Control

39

0.75 L-BU/BK

844

Fuel Injector 4 Control

40

0.75 OG/BK

877

Fuel Injector 7 Control

41

0.5 GY

2705

5-Volt Reference

42

--

--

Not Used

43

0.5 GY

2704

5-Volt Reference

44

0.5 OG

631

5-Volt Reference

45-49

--

--

Not Used

50

0.5 BN/WH

331

Oil Pressure Sensor Signal

51-52

--

--

Not Used

53

0.5 OG/BK

469

Low Reference

54-55

--

--

Not Used

56

0.5 BN/YE

1664

HO2S Low Signal (Bank 1 Sensor 1)

57

0.5 PU/WH

1665

HO2S High Signal (Bank 1 Sensor 1)

58

0.5 L-GN

432

MAP Sensor Signal

59

0.5 PU

1666

HO2S High Signal (Bank 2 Sensor 1)

60

0.5 BN/RD

1667

HO2S Low Signal (Bank 2 Sensor 1)

61

0.5 OG/WH

225

Generator Turn On Signal

62

--

--

Not Used

63

0.5 PU

486

TP Sensor 2 Signal

64

0.5 BN/WH

633

CMP Sensor Signal

65

0.5 D-GN

485

TP Sensor 1 Signal

66

0.5 PK/BK

632

Low Reference

67

--

--

Not Used

68

0.5 D-BU/WH

1869

CKP Sensor Signal

69

0.5 YE/BK

1868

Low Reference

70

0.5 PU

2121

IC 1 Control

71

0.5 PU/WH

2128

IC 8 Control

72

0.5 OG

2127

IC 7 Control

73

0.5 OG/WH

2122

IC 2 Control

74

0.5 L-BU/WH

2126

IC 6 Control

75

0.5 D-GN/RD

2125

IC 5 Control

76

0.5 D-GN/WH

2124

IC 4 Control

77

0.5 L-BU

2123

IC 3 Control

78

0.5 BN

2129

Low Reference

79

0.5 BN/WH

2130

Low Reference

80

--

--

Not Used

Engine Control Module (ECM) (LY7) X1


Object Number: 1989334  Size: CH

Connector Part Information

  • OEM: 7283-3389-30
  • Service: See Catalog
  • Description: 96-Way F (BK)

Terminal Part Information

  • Terminal/Tray: 1928498135/19
  • Core/Insulation Crimp: J/J
  • Release Tool/Test Probe: J-38125-213/J-35616-64B (L-BU)

Engine Control Module (ECM) (LY7) X1

Pin

Wire Color

Circuit No.

Function

1

0.75 L-GN

5282

Cam Phaser Exhaust 1 Signal

2

0.75 PU

5284

Cam Phaser Intake 1 Signal

3

--

--

Not Used

4

0.75 YE/BK

846

Fuel Injector 6 Control

5

0.75 D-GN/WH

428

EVAP Canister Purge Solenoid Control

6

--

--

Not Used

7

0.5 OG/BU

5275

Intake 1 Cam Position Sensor Signal

8

--

--

Not Used

9

0.5 PU

5274

Exhaust 2 Cam Position Sensor Signal

10

0.5 OG/WH

225

Generator Turn On Signal

11

0.5 BN

1174

Oil Level Switch Signal

12

0.75 L-BU/WH

 

VIM PWM Signal

13

0.5 PK

6414

Low Reference

14

--

--

Not Used

15

0.75 GY

705

5-Volt Reference

16-23

--

--

Not Used

24

0.75 YE

581

TAC Motor Control - 1

25

0.75 WH/BK

5283

Cam Phaser Exhaust 2 Signal

26

0.75 PK/BK

1746

Fuel Injector 3 Control

27

--

--

Not Used

28

0.75 BN/WH

845

Fuel Injector 5 Control

29

--

--

Not Used

30

0.5 PU/WH

23

Generator Field Duty Cycle Signal

31-32

--

--

Not Used

33

0.5 YE/RD

5276

Intake 2 Cam Position Sensor Signal

34

0.5 D-GN

5273

Exhaust 1 Cam Position Sensor Signal

35

0.5 YE/BU

573

CKP Sensor 1 Signal

36-38

--

--

Not Used

39

0.5 GY

2701

5-Volt Reference

40

0.5 GY

596

5-Volt Reference

41

0.75 PK/BK

632

Low Reference

42

--

--

Not Used

43

0.5 BN/RD

470

Low Reference

44

0.5 BK

2755

Low Reference

45

0.5 PU/WH

605

5-Volt Reference

46

0.5 PU

574

Low Reference

47

--

--

Not Used

48

0.75 BN

582

TAC Motor Control - 2

49

0.75 OG/BK

5272

Cam Phaser Intake 2 Signal

50

0.75 L-BU/BK

844

Fuel Injector 4 Control

51

0.75 BN/BK

1744

Fuel Injector 1 Control

52

0.75 L-GN/BK

1745

Fuel Injector 2 Control

53-54

--

--

Not Used

55

0.5 PU

2121

IC 1 Control

56

0.5 L-BU

2123

IC 3 Control

57

0.5 D-GN/RD

2125

IC 5 Control

58

--

--

Not Used

59

0.5 D-BU

496

Knock Sensor 1 Signal

60

0.5 BN

407

Low Reference

61

0.5 BN/WH

331

Oil Pressure Sensor Signal

62-66

--

--

Not Used

67

0.5 BN/YE

1664

HO2S Low Signal (Bank 1 Sensor 1)

68

0.5 WH

 

HO2S Output Pump Current (Bank 1 Sensor 1)

69

0.5 OG

 

HO2S Input Pump Current (Bank 2 Sensor 1)

70

0.5 PU

1666

HO2S High Signal (Bank 2 Sensor 1)

71

--

--

Not Used

72

0.75 L-GN

3212

HO2S Low Signal (Bank 2 Sensor 1)

73-77

--

--

Not Used

78

0.5 PU

6413

Low Reference

79

0.5 OG/WH

2122

IC 2 Control

80

0.5 D-GN/WH

2124

IC 4 Control

81

0.5 L-BU/WH

2126

IC 6 Control

82

0.5 YE/GN

410

ECT Sensor Signal

83

0.5 GY

1716

Low Reference

84

0.5 L-BU

1876

Knock Sensor 2 Signal

85

0.5 D-GN/YE

357

Oil Temperature Sensor Signal

86-87

--

--

Not Used

88

0.5 BN/BK

2752

Low Reference

89

0.5 PU

486

TP Sensor 2 Signal

90

0.5 D-GN

485

TP Sensor 1 Signal

91

0.5 L-GN

 

HO2S Input Pump Current (Bank 1 Sensor 1)

92

0.5 PU/WH

1665

HO2S High Signal (Bank 1 Sensor 1)

93

0.5 BN/RD

1667

HO2S Low Signal (Bank 2 Sensor 1)

94

0.5 PU/WH

 

HO2S Output Pump Current (Bank 2 Sensor 1)

95

--

--

Not Used

96

0.75 GY/WH

3113

HO2S Heater Low Control (Bank 1 Sensor 1)

Engine Control Module (ECM) (LY7) X2


Object Number: 1989339  Size: CH

Connector Part Information

  • OEM: 7283-3487-30
  • Service: See Catalog
  • Description: 58-Way F (BK)

Terminal Part Information

  • Pins: 1-6
  • Terminal/Tray: 1928498056/8
  • Core/Insulation Crimp: E/1
  • Release Tool/Test Probe: J-38125-561/J-35616-35 (VT)
  • Pins: 7, 9-11, 13-15, 17, 19-27, 34-39, 41, 42, 45-52, 54-58
  • Terminal/Tray: 1928498135/19
  • Core/Insulation Crimp: J/J
  • Release Tool/Test Probe: J-38125-213/J-35616-64B (L-BU)

Engine Control Module (ECM) (LY7) X2

Pin

Wire Color

Circuit No.

Function

1

0.5 BK

450

Ground

2

0.5 BK

450

Ground

3

0.75 PK/BU

5290

Ignition 1 Voltage

4

0.5 BK

450

Ground

5

0.75 PK/BK

5290

Ignition 1 Voltage

6

0.75 PK/BU

5290

Ignition 1 Voltage

7

0.75 GY/WH

3122

HO2S Heater Low Control (Bank 1 Sensor 2)

8

--

--

Not Used

9

0.5 BN/YE

452

Low Reference

10

0.5 D-GN/WH

465

Fuel Pump Relay Control (Primary)

11

0.5 BN/GN

2759

Low Reference

12

--

--

Not Used

13

0.5 YE

492

MAF Sensor Signal

14

--

--

Not Used

15

0.5 D-BU/WH

1161

APP Sensor 1 Signal

16

0.5 BN/WH

 

CPP Switch Signal

17

0.5 D-GN

 

Park/Neutral/Clutch Safety Switch Signal

18

0.5 L-GN

 

Backup Lamp Switch Signal

19

--

--

Not Used

20

0.75 OG/WH

3223

HO2S Heater Low Control (Bank 2 Sensor 2)

21

0.5 BN/WH

419

MIL Control

22

0.5 BN/WH

2760

Low Reference

23

0.5 BN/GN

3121

HO2S Low Signal (Bank 1 Sensor 2)

24

0.5 BN/RD

3221

HO2S Low Signal (Bank 2 Sensor 2)

25

0.5 L-BU

1162

APP Sensor 2 Signal

26

0.5 L-BU

1937

Fuel Level Sensor Signal (1)

27-33

--

--

Not Used

34

0.5 BN

1271

Low Reference

35

0.5 GY

2709

5-Volt Reference

36

0.5 PU

1589

Fuel Level Sensor Signal (2)

37

--

--

Not Used

38

0.5 PU

3120

HO2S High Signal (Bank 1 Sensor 2)

39

0.5 OG/BK

380

A/C Refrigerant Pressure Sensor Signal

40

--

--

Not Used

41

0.5 D-BU

5985

Accessory Wakeup Serial Data

42

0.5 BN/BK

9000

High Speed GMLAN Serial Data Bus+

43-44

--

--

Not Used

45

0.5 D-BU/BK

473

High Speed Cooling Fan Relay Control

46

0.5 D-GN

335

Low Speed Cooling Fan Relay Control

47

0.5 PU

1272

Low Reference

48

0.5 BN/YE

1274

5-Volt Reference

49

0.5 WH/BK

1164

5-Volt Reference

50

0.5 BN/RD

472

IAT Sensor Signal

51

0.5 PU

3220

HO2S High Signal (Bank 2 Sensor 2)

52

0.5 WH/BU

17

Stop Lamp Switch Signal

53

--

--

Not Used

54

0.5 PK

439

Ignition 1 Voltage

55

0.5 BN

9001

High Speed GMLAN Serial Data Bus-

56

0.75 OG/BK

540

Battery Positive Voltage

57

0.5 YE

447

Starter Relay Coil Control

58

0.5 BN

5069

Main Relay Control

Engine Coolant Temperature (ECT) Sensor (L98 or HSV)


Object Number: 1989346  Size: CH

Connector Part Information

  • OEM: 7283-0370-30
  • Service: See Catalog
  • Description: 2-Way F

Terminal Part Information

  • Terminal/Tray: 15326267/19
  • Core/Insulation Crimp: E/4
  • Release Tool/Test Probe: 15315247/J-35616-2A (GY)

Engine Coolant Temperature (ECT) Sensor (L98 or HSV)

Pin

Wire Color

Circuit No.

Function

A

0.5 BN/WH

2761

Low Reference

B

0.5 YE/GN

410

ECT Sensor Signal

Engine Coolant Temperature (ECT) Sensor (LY7)


Object Number: 1989588  Size: CH

Connector Part Information

  • OEM: 7283-6205-30
  • Service: See Catalog
  • Description: 2-Way F (BK)

Terminal Part Information

  • Terminal/Tray: See Terminal Repair Kit
  • Core/Insulation Crimp: See Terminal Repair Kit
  • Release Tool/Test Probe: See Terminal Repair Kit

Engine Coolant Temperature (ECT) Sensor (LY7)

Pin

Wire Color

Circuit No.

Function

1

0.5 YE/GN

410

ECT Sensor Signal

2

0.5 BK

2755

Low Reference

Engine Cooling Fan - Left


Object Number: 1989387  Size: CH

Connector Part Information

  • OEM: 12020341
  • Service: See Catalog
  • Description: 2-Way F Metri-Pack 630 Series Sealed (BK)

Terminal Part Information

  • Terminal/Tray: See Terminal Repair Kit
  • Core/Insulation Crimp: See Terminal Repair Kit
  • Release Tool/Test Probe: See Terminal Repair Kit

Engine Cooling Fan - Left

Pin

Wire Color

Circuit No.

Function

A

3 BK

250

Ground

B

3 D-BU

409

Left Cooling Fan Motor Supply Voltage

Engine Cooling Fan - Right


Object Number: 1989387  Size: CH

Connector Part Information

  • OEM: 12020341
  • Service: See Catalog
  • Description: 2-Way F Metri-Pack 630 Series Sealed (BK)

Terminal Part Information

  • Terminal/Tray: See Terminal Repair Kit
  • Core/Insulation Crimp: See Terminal Repair Kit
  • Release Tool/Test Probe: See Terminal Repair Kit

Engine Cooling Fan - Right

Pin

Wire Color

Circuit No.

Function

A

3 GY

532

Right Cooling Fan Motor Low Reference

B

3 WH

504

Right Cooling Fan Motor Supply Voltage

Engine Oil Level and Temperature Sensor


Object Number: 1989591  Size: CH

Connector Part Information

  • OEM: 7283-6579-30
  • Service: See Catalog
  • Description: 3-Way F (BK)

Terminal Part Information

  • Terminal/Tray: 12191819/8
  • Core/Insulation Crimp: E/A
  • Release Tool/Test Probe: 15315247/J-35616-2A (GY)

Engine Oil Level and Temperature Sensor

Pin

Wire Color

Circuit No.

Function

A

0.5 BN

1174

Oil Level Switch Signal

B

0.5 D-GN/YE

357

Oil Temperature Sensor Signal (L98 or LY7)

0.5 YE

357

Oil Temperature Sensor Signal (HSV)

C

0.5 BN/RD

470

Low Reference (L98 or HSV)

0.5 BK

2755

Low Reference (LY7)

Engine Oil Pressure (EOP) Sensor


Object Number: 1989593  Size: CH

Connector Part Information

  • OEM: 7283-2429
  • Service: See Catalog
  • Description: 3-Way F (BK)

Terminal Part Information

  • Terminal/Tray: 15326267/19
  • Core/Insulation Crimp: E/4
  • Release Tool/Test Probe: 15315247/J-35616-2A (GY)

Engine Oil Pressure (EOP) Sensor

Pin

Wire Color

Circuit No.

Function

1

0.5 BK

2755

Low Reference (L98 or HSV)

0.5 BN/RD

470

Low Reference (LY7)

2

0.5 GY

2705

5-Volt Reference (L98 or HSV)

0.5 GY

596

5-Volt Reference (LY7)

3

0.5 BN/WH

331

Oil Pressure Sensor Signal (L98 or HSV)

0.5 BN/WH

331

Oil Pressure Sensor Signal (LY7)

Evaporative Emission (EVAP) Canister Purge Solenoid Valve (L98 or HSV)


Object Number: 1989355  Size: CH

Connector Part Information

  • OEM: 7223-9922-50
  • Service: 12101858
  • Description: 2-Way F

Terminal Part Information

  • Terminal/Tray: 12048074/2
  • Core/Insulation Crimp: E/1
  • Release Tool/Test Probe: 12094429/J-35616-14 (GN)

Evaporative Emission (EVAP) Canister Purge Solenoid Valve (L98 or HSV)

Pin

Wire Color

Circuit No.

Function

A

0.75 PK/BU

5293

Ignition 1 Voltage

B

0.75 D-GN/WH

428

EVAP Canister Purge Solenoid Control

Evaporative Emission (EVAP) Canister Purge Solenoid Valve (LY7)


Object Number: 1989595  Size: CH

Connector Part Information

  • OEM: 7283-5483-30
  • Service: See Catalog
  • Description: 2-Way F (BK)

Terminal Part Information

  • Terminal/Tray: 1928498056/8
  • Core/Insulation Crimp: E/1
  • Release Tool/Test Probe: J-38125-561/J-35616-35 (VT)

Evaporative Emission (EVAP) Canister Purge Solenoid Valve (LY7)

Pin

Wire Color

Circuit No.

Function

1

0.75 PK/BU

5293

Ignition 1 Voltage

2

0.75 D-GN/WH

428

EVAP Canister Purge Solenoid Control

Evaporative Emission (EVAP) Canister Vent Solenoid Valve


Object Number: 1989595  Size: CH

Connector Part Information

  • OEM: 12052643
  • Service: 12101858
  • Description: 2-Way F Metri-Pack 150 Series Sealed (RD)

Terminal Part Information

  • Terminal/Tray: See Terminal Repair Kit
  • Core/Insulation Crimp: See Terminal Repair Kit
  • Release Tool/Test Probe: See Terminal Repair Kit

Evaporative Emission (EVAP) Canister Vent Solenoid Valve

Pin

Wire Color

Circuit No.

Function

A

0.5 OG

3140

Battery Positive Voltage

B

0.5 WH

1310

EVAP Canister Vent Solenoid Control

Fog Lamp - Left Front


Object Number: 1989643  Size: CH

Connector Part Information

  • OEM: 7223-9928-30
  • Service: See Catalog
  • Description: 2-Way F 150 Series (BK)

Terminal Part Information

  • Terminal/Tray: 12077411/2
  • Core/Insulation Crimp: 2/5
  • Release Tool/Test Probe: 12094430/J-35616-4A (PU)

Fog Lamp - Left Front

Pin

Wire Color

Circuit No.

Function

A

0.75 PU

34

Fog Lamps Supply Voltage

B

0.75 BK

350

Ground

Fog Lamp - Rear (T79)


Object Number: 1989648  Size: CH

Connector Part Information

  • OEM: 1418893-1
  • Service: See Catalog
  • Description: 2-Way F

Terminal Part Information

  • Terminal/Tray: See Terminal Repair Kit
  • Core/Insulation Crimp: See Terminal Repair Kit
  • Release Tool/Test Probe: See Terminal Repair Kit

Fog Lamp - Rear (T79)

Pin

Wire Color

Circuit No.

Function

1

0.5 OG

122

Rear Fog Lamp Supply Voltage

2

0.5 BK

1850

Ground

Fog Lamp - Right Front


Object Number: 1989643  Size: CH

Connector Part Information

  • OEM: 7223-9928-30
  • Service: See Catalog
  • Description: 2-Way F 150 Series (BK)

Terminal Part Information

  • Terminal/Tray: 12077411/2
  • Core/Insulation Crimp: 2/5
  • Release Tool/Test Probe: 12094430/J-35616-4A (PU)

Fog Lamp - Right Front

Pin

Wire Color

Circuit No.

Function

A

0.75 PU

34

Fog Lamps Supply Voltage

B

0.75 BK

350

Ground

Front and Rear Object Alarm Module X1


Object Number: 1989531  Size: CH

Connector Part Information

  • OEM: 7283-9783-30
  • Service: See Catalog
  • Description: 12-Way F

Terminal Part Information

  • Terminal/Tray: See Terminal Repair Kit
  • Core/Insulation Crimp: See Terminal Repair Kit
  • Release Tool/Test Probe: See Terminal Repair Kit

Front and Rear Object Alarm Module X1

Pin

Wire Color

Circuit No.

Function

1

0.85 OG/PU

2140

Battery Positive Voltage

2

0.3 YE

5247

Object Detection Alarm Signal A

3

0.3 BN

5852

Instrument Panel Lamp Supply Voltage

4

--

--

Not Used

5

0.3 GY

5248

Object Detection Alarm Signal B

6

0.35 D-GN

5060

Low Speed GMLAN Serial Data

7

0.5 BK

1850

Ground

8

0.3 GY

2555

Object Detection Disable Signal

9-12

--

--

Not Used

Front and Rear Object Alarm Module X2


Object Number: 1989534  Size: CH

Connector Part Information

  • OEM: 7283-9029-40
  • Service: See Catalog
  • Description: 8-Way F

Terminal Part Information

  • Terminal/Tray: See Terminal Repair Kit
  • Core/Insulation Crimp: See Terminal Repair Kit
  • Release Tool/Test Probe: See Terminal Repair Kit

Front and Rear Object Alarm Module X2

Pin

Wire Color

Circuit No.

Function

1

0.3 PU

2378

RR Corner Object Sensor Signal

2

0.3 D-GN

2377

RR Middle Object Sensor Signal

3

0.3 OG

2376

LR Middle Object Sensor Signal

4

0.3 D-BU

2374

Object Sensor Supply Voltage

5

0.3 YE

2375

LR Corner Object Sensor Signal

6-7

--

--

Not Used

8

0.3 GY

2379

Object Sensor Low Reference

Front and Rear Object Alarm Module X3


Object Number: 1989535  Size: CH

Connector Part Information

  • OEM: 7283-9068-90
  • Service: See Catalog
  • Description: 14-Way F

Terminal Part Information

  • Terminal/Tray: See Terminal Repair Kit
  • Core/Insulation Crimp: See Terminal Repair Kit
  • Release Tool/Test Probe: See Terminal Repair Kit

Front and Rear Object Alarm Module X3

Pin

Wire Color

Circuit No.

Function

1

0.3 BN

6581

Object Sensor Supply Voltage

2-3

--

--

Not Used

4

0.3 PU/WH

5215

LF Corner Object Sensor Signal

5

0.3 WH

5216

LF Middle Object Sensor Signal

6-7

--

--

Not Used

8

0.3 OG/BK

5214

Object Sensor Low Reference

9

--

--

Not Used

10

0.3 WH

5218

RF Middle Object Sensor Signal

11

0.3 BN/WH

5217

RF Corner Object Sensor Signal

12-14

--

--

Not Used

Front and Rear Object Alarm


Object Number: 1989536  Size: CH

Connector Part Information

  • OEM:
  • Service: See Catalog
  • Description: 2-Way

Terminal Part Information

  • Terminal/Tray: See Terminal Repair Kit
  • Core/Insulation Crimp: See Terminal Repair Kit
  • Release Tool/Test Probe: See Terminal Repair Kit

Front and Rear Object Alarm

Pin

Wire Color

Circuit No.

Function

1

0.3 YE

5247

Object Detection Alarm Signal A

2

0.3 GY

5248

Object Detection Alarm Signal B

Fuel Door Release Actuator


Object Number: 1989614  Size: CH

Connector Part Information

  • OEM: 7283-1020
  • Service: 88953305
  • Description: 2-Way F 2.3 Series (WH)

Terminal Part Information

  • Terminal/Tray: 7116-4021/11
  • Core/Insulation Crimp: 2/A
  • Release Tool/Test Probe: 15315247/J-35616-18 (BK)

Fuel Door Release Actuator

Pin

Wire Color

Circuit No.

Function

1

1.25 D-GN/WH

295

Door Lock Actuator Lock Control

2

1.25 BN/RD

694

Driver Door Lock Actuator Unlock Control

Fuel Injector 1 (LY7)


Object Number: 1989598  Size: CH

Connector Part Information

  • OEM: 1-0190667-3
  • Service: See Catalog
  • Description: 2-way F (GY)

Terminal Part Information

  • Terminal/Tray: See Terminal Repair Kit
  • Core/Insulation Crimp: See Terminal Repair Kit
  • Release Tool/Test Probe: See Terminal Repair Kit

Fuel Injector 1 (LY7)

Pin

Wire Color

Circuit No.

Function

A

0.8 PK/BU

5291

Ignition 1 Voltage

B

0.5 BN/BK

1744

Fuel Injector 1 Control

Fuel Injector 1 (L98 or HSV)


Object Number: 1989598  Size: CH

Connector Part Information

  • OEM: 7283-8756
  • Service: 15306318
  • Description: 2-way F

Terminal Part Information

  • Terminal/Tray:12176636/19
  • Core/Insulation Crimp: C/1
  • Release Tool/Test Probe: 12094429/J-35616-14 (GN)

Fuel Injector 1 (L98 or HSV)

Pin

Wire Color

Circuit No.

Function

A

0.75 PK/BU

5291

Ignition 1 Voltage

B

0.75 BN/BK

1744

Fuel Injector 1 Control

Fuel Injector 2 (LY7)


Object Number: 1989598  Size: CH

Connector Part Information

  • OEM: 1-0190667-3
  • Service: See Catalog
  • Description: 2-Way F (GY)

Terminal Part Information

  • Terminal/Tray: See Terminal Repair Kit
  • Core/Insulation Crimp: See Terminal Repair Kit
  • Release Tool/Test Probe: See Terminal Repair Kit

Fuel Injector 2 (LY7)

Pin

Wire Color

Circuit No.

Function

A

0.8 PK

5292

Ignition 1 Voltage

B

0.8 L-GN/BK

1745

Fuel Injector 2 Control

Fuel Injector 2 (L98 or HSV)


Object Number: 1989598  Size: CH

Connector Part Information

  • OEM: 7283-8756
  • Service: 15306318
  • Description: 2-Way F

Terminal Part Information

  • Terminal/Tray:12176636/19
  • Core/Insulation Crimp: C/1
  • Release Tool/Test Probe: 12094429/J-35616-14 (GN)

Fuel Injector 2 (L98 or HSV)

Pin

Wire Color

Circuit No.

Function

A

0.75 PK

5292

Ignition 1 Voltage

B

0.75 L-GN/BK

1745

Fuel Injector 2 Control

Fuel Injector 3 (LY7)


Object Number: 1989598  Size: CH

Connector Part Information

  • OEM: 1-0190667-3
  • Service: See Catalog
  • Description: 2-Way F (GY)

Terminal Part Information

  • Terminal/Tray: See Terminal Repair Kit
  • Core/Insulation Crimp: See Terminal Repair Kit
  • Release Tool/Test Probe: See Terminal Repair Kit

Fuel Injector 3 (LY7)

Pin

Wire Color

Circuit No.

Function

A

0.8 PK/BU

5291

Ignition 1 Voltage

B

0.8 PK/BK

1746

Fuel Injector 3 Control

Fuel Injector 3 (L98 or HSV)


Object Number: 1989598  Size: CH

Connector Part Information

  • OEM: 7283-8756
  • Service: 15306318
  • Description: 2-Way F

Terminal Part Information

  • Terminal/Tray:12176636/19
  • Core/Insulation Crimp: C/1
  • Release Tool/Test Probe: 12094429/J-35616-14 (GN)

Fuel Injector 3 (L98 or HSV)

Pin

Wire Color

Circuit No.

Function

A

0.75 PK/BU

5291

Ignition 1 Voltage

B

0.75 PK/BK

1746

Fuel Injector 3 Control

Fuel Injector 4 (LY7)


Object Number: 1989598  Size: CH

Connector Part Information

  • OEM: 1-0190667-3
  • Service: See Catalog
  • Description: 2-Way F (GY)

Terminal Part Information

  • Terminal/Tray: See Terminal Repair Kit
  • Core/Insulation Crimp: See Terminal Repair Kit
  • Release Tool/Test Probe: See Terminal Repair Kit

Fuel Injector 4 (LY7)

Pin

Wire Color

Circuit No.

Function

A

0.8 PK

5292

Ignition 1 Voltage

B

0.8 L-BU/BK

844

Fuel Injector 4 Control

Fuel Injector 4 (L98 or HSV)


Object Number: 1989598  Size: CH

Connector Part Information

  • OEM: 7283-8756
  • Service: 15306318
  • Description: 2-Way F

Terminal Part Information

  • Terminal/Tray:12176636/19
  • Core/Insulation Crimp: C/1
  • Release Tool/Test Probe: 12094429/J-35616-14 (GN)

Fuel Injector 4 (L98 or HSV)

Pin

Wire Color

Circuit No.

Function

A

0.75 PK

5292

Ignition 1 Voltage

B

0.75 L-BU/BK

844

Fuel Injector 4 Control

Fuel Injector 5 (LY7)


Object Number: 1989598  Size: CH

Connector Part Information

  • OEM: 1-0190667-3
  • Service: See Catalog
  • Description: 2-Way F (GY)

Terminal Part Information

  • Terminal/Tray: See Terminal Repair Kit
  • Core/Insulation Crimp: See Terminal Repair Kit
  • Release Tool/Test Probe: See Terminal Repair Kit

Fuel Injector 5 (LY7)

Pin

Wire Color

Circuit No.

Function

A

0.8 PK/BU

5291

Ignition 1 Voltage

B

0.8 BN/WH

845

Fuel Injector 5 Control

Fuel Injector 5 (L98 or HSV)


Object Number: 1989598  Size: CH

Connector Part Information

  • OEM: 7283-8756
  • Service: 15306318
  • Description: 2-Way F

Terminal Part Information

  • Terminal/Tray:12176636/19
  • Core/Insulation Crimp: C/1
  • Release Tool/Test Probe: 12094429/J-35616-14 (GN)

Fuel Injector 5 (L98 or HSV)

Pin

Wire Color

Circuit No.

Function

A

0.75 PK/BU

5291

Ignition 1 Voltage

B

0.75 BN/WH

845

Fuel Injector 5 Control

Fuel Injector 6 (LY7)


Object Number: 1989598  Size: CH

Connector Part Information

  • OEM: 1-0190667-3
  • Service: See Catalog
  • Description: 2-Way F (GY)

Terminal Part Information

  • Terminal/Tray: See Terminal Repair Kit
  • Core/Insulation Crimp: See Terminal Repair Kit
  • Release Tool/Test Probe: See Terminal Repair Kit

Fuel Injector 6 (LY7)

Pin

Wire Color

Circuit No.

Function

A

0.8 PK

5292

Ignition 1 Voltage

B

0.8 YE/BK

846

Fuel Injector 6 Control

Fuel Injector 6 (L98 or HSV)


Object Number: 1989598  Size: CH

Connector Part Information

  • OEM: 7283-8756
  • Service: 15306318
  • Description: 2-Way F

Terminal Part Information

  • Terminal/Tray:12176636/19
  • Core/Insulation Crimp: C/1
  • Release Tool/Test Probe: 12094429/J-35616-14 (GN)

Fuel Injector 6 (L98 or HSV)

Pin

Wire Color

Circuit No.

Function

A

0.75 PK

5292

Ignition 1 Voltage

B

0.75 YE/BK

846

Fuel Injector 6 Control

Fuel Injector 7 (L98 or HSV)


Object Number: 1989598  Size: CH

Connector Part Information

  • OEM: 7283-8756
  • Service: 15306318
  • Description: 2-Way F

Terminal Part Information

  • Terminal/Tray:12176636/19
  • Core/Insulation Crimp: C/1
  • Release Tool/Test Probe: 12094429/J-35616-14 (GN)

Fuel Injector 7 (L98 or HSV)

Pin

Wire Color

Circuit No.

Function

A

0.75 PK/BU

5291

Ignition 1 Voltage

B

0.75 OG/BK

877

Fuel Injector 7 Control

Fuel Injector 8 (L98 or HSV)


Object Number: 1989598  Size: CH

Connector Part Information

  • OEM: 7283-8756
  • Service: 15306318
  • Description: 2-Way F

Terminal Part Information

  • Terminal/Tray:12176636/19
  • Core/Insulation Crimp: C/1
  • Release Tool/Test Probe: 12094429/J-35616-14 (GN)

Fuel Injector 8 (L98 or HSV)

Pin

Wire Color

Circuit No.

Function

A

0.75 PK

5292

Ignition 1 Voltage

B

0.75 D-BU/WH

878

Fuel Injector 8 Control

Fuel Level Sensor - Secondary


Object Number: 1989600  Size: CH

Connector Part Information

  • OEM: 7283-1156
  • Service: See Catalog
  • Description: 5-Way F

Terminal Part Information

  • Terminal/Tray: See Terminal Repair Kit
  • Core/Insulation Crimp: See Terminal Repair Kit
  • Release Tool/Test Probe: See Terminal Repair Kit

Fuel Level Sensor - Secondary

Pin

Wire Color

Circuit No.

Function

1

0.3 BN/YE

452

Fuel Return

2

0.5 L-BU

1937

Fuel Level

3-5

--

--

Not Used

Fuel Tank Pressure (FTP) Sensor


Object Number: 2053087  Size: CH

Connector Part Information

  • OEM: 13511996
  • Service: 19149288
  • Description: 3-Way

Terminal Part Information

  • Terminal/Tray: See Terminal Repair Kit
  • Core/Insulation Crimp: See Terminal Repair Kit
  • Release Tool/Test Probe: See Terminal Repair Kit

Fuel Tank Pressure (FTP) Sensor

Pin

Wire Color

Circuit No.

Function

A

0.5 D-GN

890

Fuel Tank Pressure Sensor Signal

B

0.5 BN/YE

452

Low Reference

C

0.5 GY

2709

5-Volt Reference

Fuel Pump and Sender Assembly


Object Number: 1989603  Size: CH

Connector Part Information

  • OEM: 15326631
  • Service: 19152589
  • Description: 4-Way F GT 280 5.8 Series Sealed (BK)

Terminal Part Information

  • Terminal/Tray: See Terminal Repair Kit
  • Core/Insulation Crimp: See Terminal Repair Kit
  • Release Tool/Test Probe: See Terminal Repair Kit

Fuel Pump and Sender Assembly

Pin

Wire Color

Circuit No.

Function

1

2 GY

120

Fuel Pump Supply Voltage

2

0.5 PU

1589

Fuel Level Sensor Signal (Primary)

3

2 BK

1350

Ground

4

0.5 BN/YE

452

Low Reference

5

--

--

Not Used

Generator X1 (L76)


Object Number: 1989397  Size: CH

Connector Part Information

  • OEM: 7283-5483-30
  • Service: See Catalog
  • Description: 2-Way F

Terminal Part Information

  • Terminal/Tray: 1928498056/8
  • Core/Insulation Crimp: E/1
  • Release Tool/Test Probe: J-38125-561/J-35616-35 (VT)

Generator X1 (L76)

Pin

Wire Color

Circuit No.

Function

1

0.5 OG/WH

225

Generator Turn On Signal

2

0.5 PU/WH

23

Generator Field Duty Cycle Signal

Generator X1 (LY7)


Object Number: 1989397  Size: CH

Connector Part Information

  • OEM: 7183-5344-30
  • Service: See Catalog
  • Description: 2-Way F (BK)

Terminal Part Information

  • Terminal/Tray: 4-964286-1/16
  • Core/Insulation Crimp: E/1
  • Release Tool/Test Probe: 12093647/J-35616-4A (PU)

Generator X1 (LY7)

Pin

Wire Color

Circuit No.

Function

1

0.5 OG/WH

225

Generator Turn On Signal

2

0.5 PU/WH

23

Generator Field Duty Cycle Signal

Generator X2

Terminal Part Information

  • Terminal: 7003-1190-02-DC
  • Core/Insulation Crimp: N/A
  • Description: Ring Terminal

Generator X2

Pin

Wire Color

Circuit No.

Function

+

19 RD

2

Battery Positive Voltage

19 RD

2

Battery Positive Voltage

Headlamp and Panel Dimmer Switch


Object Number: 1989297  Size: CH

Connector Part Information

  • OEM: 7123-1725-30
  • Service: See Catalog
  • Description: 12-Way F (BK)

Terminal Part Information

  • Terminal/Tray: 173681-2/17
  • Core/Insulation Crimp: E/4
  • Release Tool/Test Probe: 15315247/J-35616-16 (L-GN)

Headlamp and Panel Dimmer Switch

Pin

Wire Color

Circuit No.

Function

1

0.3 WH

103

Headlamp Switch Headlamps On Signal

2

--

--

Not Used

3

0.3 D-GN

306

Headlamp Switch Headlamps Off Signal

4

0.3 BK

850

Ground

5

0.3 BN/WH

301

Park Lamp Switch On Signal

6

0.3 OG

192

Front Fog Lamp Switch Signal

7

0.3 GY/WH

7389

Headlamp Dimming Switch Down

8

0.3 YE

6817

Interior Lights Dimming Switch

9

--

--

Not Used

10

0.5 PK/BU

1339

Ignition 1 Voltage

11

--

--

Not Used

12

0.3 GY/BU

7388

Headlamp Dimming Switch Up

Headlamp - Left


Object Number: 1989300  Size: CH

Connector Part Information

  • OEM: 7283-7109-30
  • Service: See Catalog
  • Description: 10-Way F (BK)

Terminal Part Information

  • Terminal/Tray: See Terminal Repair Kit
  • Core/Insulation Crimp: See Terminal Repair Kit
  • Release Tool/Test Probe: See Terminal Repair Kit

Headlamp - Left

Pin

Wire Color

Circuit No.

Function

1

0.5 BK

250

Ground (-TT7-TT8)

1.25 BK

250

Ground (TT7/TT8)

2

2 BK

350

Ground

3

0.5 BK

250

Ground

4-5

--

--

Not Used

6

0.5 PU

709

Left Park Lamp Supply Voltage

7

0.5 YE

712

Left Headlamp Low Beam Supply Voltage (-TT7-TT8)

1.25 YE

712

Left Headlamp Low Beam Supply Voltage (TT7/TT8)

8

0.5 D-GN/WH

711

Left Headlamp High Beam Supply Voltage

9

0.5 L-BU/WH

1314

Left Front Turn Signal Lamp Supply Voltage

10

--

--

Not Used

Headlamp - Right


Object Number: 1989300  Size: CH

Connector Part Information

  • OEM: 7283-7109-30
  • Service: See Catalog
  • Description: 10-Way F (BK)

Terminal Part Information

  • Terminal/Tray: See Terminal Repair Kit
  • Core/Insulation Crimp: See Terminal Repair Kit
  • Release Tool/Test Probe: See Terminal Repair Kit

Headlamp - Right

Pin

Wire Color

Circuit No.

Function

1

0.5 BK

250

Ground (-TT7-TT8)

1.25 BK

250

Ground (TT7/TT8)

2

2 BK

350

Ground

3

0.5 BK

250

Ground

4-5

--

--

Not Used

6

0.5 BN/WH

309

Right Park Lamp Supply Voltage

7

0.5 BN/BK

312

Right Headlamp Low Beam Supply Voltage (-TT7-TT8)

1.25 BN/WH

312

Right Headlamp Low Beam Supply Voltage (TT7/TT8)

8

0.5 L-GN/WH

311

Right Headlamp High Beam Supply Voltage

9

0.5 D-BU/WH

1315

Right Front Turn Signal Lamp Supply Voltage

10

--

--

Not Used

Headlamp Washer Fluid Pump


Object Number: 1989389  Size: CH

Connector Part Information

  • OEM: 2-1355200-2
  • Service: See Catalog
  • Description: 2-Way F

Terminal Part Information

  • Terminal/Tray: See Terminal Repair Kit
  • Core/Insulation Crimp: See Terminal Repair Kit
  • Release Tool/Test Probe: See Terminal Repair Kit

Headlamp Washer Fluid Pump

Pin

Wire Color

Circuit No.

Function

1

2 BN/WH

6724

Headlamp Washer Fluid Pump

2

0.85 BK

250

Ground

Heated Oxygen Sensor (HO2S) Bank 1 Sensor 1 (LY7)


Object Number: 1989605  Size: CH

Connector Part Information

  • OEM:
  • Service: See Catalog
  • Description: 6-Way

Terminal Part Information

  • Terminal/Tray: See Terminal Repair Kit
  • Core/Insulation Crimp: See Terminal Repair Kit
  • Release Tool/Test Probe: See Terminal Repair Kit

Heated Oxygen Sensor (HO2S) Bank 1 Sensor 1 (LY7)

Pin

Wire Color

Circuit No.

Function

1

0.5 WH

 

HO2S Output Pump Current (Bank 1 Sensor 1)

2

0.5 BN/YE

 

HO2S Low Signal (Bank 1 Sensor 1)

3

0.75 GY/WH

 

HO2S Heater Low Control (Bank 1 Sensor 1)

4

0.75 PK/BU

 

Ignition 1 Voltage

5

0.5 L-GN

 

HO2S Input Pump Current (Bank 1 Sensor 1)

6

0.5 PU/WH

 

HO2S High Signal (Bank 1 Sensor 1)

Heated Oxygen Sensor (HO2S) Bank 1 Sensor 1 (L98 or HSV)


Object Number: 1989364  Size: CH

Connector Part Information

  • OEM: 7219-1744-40
  • Service: See Catalog
  • Description: 4-Way F

Terminal Part Information

  • Terminal/Tray: 12048074/2
  • Core/Insulation Crimp: E/1
  • Release Tool/Test Probe: 12094429/J-35616-14 (GN)

Heated Oxygen Sensor (HO2S) Bank 1 Sensor 1 (L98 or HSV)

Pin

Wire Color

Circuit No.

Function

A

0.5 BN/RD

1664

HO2S Low Signal [- Bank 1 Sensor 1]

B

0.5 PU/WH

1665

HO2S High Signal [- Bank 1 Sensor 1]

C

0.5 GY/WH

3113

HO2S Heater Low Control [- Bank 1 Sensor 1]

D

0.8 PK/BK

5293

Ignition 1 Voltage

Heated Oxygen Sensor (HO2S) Bank 1 Sensor 2 (LY7)


Object Number: 1989609  Size: CH

Connector Part Information

  • OEM: 7182-8145-30
  • Service: 88952839
  • Description: 4-Way M (BK)

Terminal Part Information

  • Terminal/Tray: 1-962915-3/15
  • Core/Insulation Crimp: E/1
  • Release Tool/Test Probe: 12093647/J-35616-5 (PU)

Heated Oxygen Sensor (HO2S) Bank 1 Sensor 2 (LY7)

Pin

Wire Color

Circuit No.

Function

1

0.75 PK/BU

5294

Ignition 1 Voltage

2

0.75 OG/WH

3122

HO2S Heater Low Control (Bank 1 Sensor 2)

3

0.5 BN/RD

3121

HO2S Low Signal (Bank 1 Sensor 2)

4

0.5 PU

3120

HO2S High Signal (Bank 1 Sensor 2)

Heated Oxygen Sensor (HO2S) Bank 1 Sensor 2 (L98 or HSV or LS2)


Object Number: 1989368  Size: CH

Connector Part Information

  • OEM: 7223-9845-30
  • Service: See Catalog
  • Description: 4-Way F

Terminal Part Information

  • Terminal/Tray: 12048074/2
  • Core/Insulation Crimp: E/1
  • Release Tool/Test Probe: 12094429/J-35616-14 (GN)

Heated Oxygen Sensor (HO2S) Bank 1 Sensor 2 (L98 or HSV)

Pin

Wire Color

Circuit No.

Function

A

0.5 BN/WH

1669

HO2S Low Signal [- Bank 1 Sensor 2]

B

0.5 PU/WH

1668

HO2S High Signal [- Bank 1 Sensor 2]

C

0.5 BN

2391

HO2S Heater Low Control [- Bank 1 Sensor 2]

D

0.78 PK/BU

5294

Ignition 1 Voltage

Heated Oxygen Sensor (HO2S) Bank 2 Sensor 1 (LY7)


Object Number: 1989605  Size: CH

Connector Part Information

  • OEM:
  • Service: See Catalog
  • Description: 6-Way

Terminal Part Information

  • Terminal/Tray: See Terminal Repair Kit
  • Core/Insulation Crimp: See Terminal Repair Kit
  • Release Tool/Test Probe: See Terminal Repair Kit

Heated Oxygen Sensor (HO2S) Bank 2 Sensor 1 (LY7)

Pin

Wire Color

Circuit No.

Function

1

0.5 PU/WH

 

HO2S Pump Output Current (Bank 2 Sensor 1)

2

0.5 BN/RD

 

HO2S Low Signal (Bank 2 Sensor 1)

3

0.75 L-GN

 

HO2S Heater Low Control (Bank 2 Sensor 1)

4

0.75 PK/BU

 

Battery 1 Voltage

5

0.5 OG

 

HO2S Input Pump Current (Bank 2 Sensor 1)

6

0.5 PU

 

HO2S High Signal (Bank 2 Sensor 1)

Heated Oxygen Sensor (HO2S) Bank 2 Sensor 1 (L98 or HSV)


Object Number: 1989364  Size: CH

Connector Part Information

  • OEM: 7219-1744-40
  • Service: See Catalog
  • Description: 4-Way F

Terminal Part Information

  • Terminal/Tray: 12048074/2
  • Core/Insulation Crimp: E/1
  • Release Tool/Test Probe: 12094429/J-35616-14 (GN)

Heated Oxygen Sensor (HO2S) Bank 2 Sensor 1 (L98 or HSV)

Pin

Wire Color

Circuit No.

Function

A

0.5 BN/RD

1667

HO2S Low Signal [- Bank 2 Sensor 1]

B

0.5 PU

1666

HO2S High Signal [- Bank 2 Sensor 1]

C

0.5 L-GN

3212

HO2S Heater Low Control [- Bank 2 Sensor 1]

D

0.8 PK/BU

5293

Ignition 1 Voltage

Heated Oxygen Sensor (HO2S) Bank 2 Sensor 2 (LY7)


Object Number: 1989609  Size: CH

Connector Part Information

  • OEM: 7182-8145-30
  • Service: See Catalog
  • Description: 4-Way M (GY)

Terminal Part Information

  • Terminal/Tray: 1-962915-3/15
  • Core/Insulation Crimp: E/1
  • Release Tool/Test Probe: 12093647/J-35616-5 (PU)

Heated Oxygen Sensor (HO2S) Bank 2 Sensor 2 (LY7)

Pin

Wire Color

Circuit No.

Function

1

0.75 PK/BU

5294

Battery 1 Voltage

2

0.75 GY/WH

3223

HO2S Heater Low Control (Bank 2 Sensor 2)

3

0.5 BN/GN

3221

HO2S Low Signal (Bank 2 Sensor 2)

4

0.5 PU

3220

HO2S High Signal (Bank 2 Sensor 2)

Heated Oxygen Sensor (HO2S) Bank 2 Sensor 2 (L98 or HSV)


Object Number: 1989368  Size: CH

Connector Part Information

  • OEM: 7223-9845-30
  • Service: See Catalog
  • Description: 4-Way F

Terminal Part Information

  • Terminal/Tray: 12048074/2
  • Core/Insulation Crimp: E/1
  • Release Tool/Test Probe: 12094429/J-35616-14 (GN)

Heated Oxygen Sensor (HO2S) Bank 2 Sensor 2 (L98 or HSV)

Pin

Wire Color

Circuit No.

Function

A

0.5 BN/WH

1671

HO2S Low Signal [- Bank 2 Sensor 2]

B

0.5 PU

1670

HO2S High Signal [- Bank 2 Sensor 2]

C

0.5 OG/WH

3223

HO2S Heater Low Control (Bank 2 Sensor 2)

D

0.78 PK/BU

5294

Ignition 1 Voltage

Heated Seat Control Module - Driver (KA1)


Object Number: 1519708  Size: CH

Connector Part Information

  • OEM: 15-97-5121
  • Service: See Catalog
  • Description: 12-Way F Mini-Fit Series (BK)

Terminal Part Information

  • Terminal/Tray: See Terminal Repair Kit
  • Core/Insulation Crimp: See Terminal Repair Kit
  • Release Tool/Test Probe: See Terminal Repair Kit

Heated Seat Control Module - Driver (KA1)

Pin

Wire Color

Circuit No.

Function

1

--

--

Not Used

2

0.5 RD/YE

2050

Low Reference

3

0.5 PK

1339

Ignition 1 Voltage

4

PU/GN

--

Low Reference

5

0.35 BN

1661

Driver Heated Seat High Temperature Indicator Control

6

0.35 OG/BK

6177

Passenger Heated Seat Intermediate Signal

7

--

--

Not Used

8

0.5 D-GN/RD

2077

Heated Seat Cushion Element Supply Voltage

9

0.35 PK/OG

1501

Driver Heated Seat High/Low Signal

10

--

--

Not Used

11

0.35 WH/YE

1662

Driver Heated Seat Low Temperature Indicator Control

12

0.35 WH/BK

2079

Heated Seat Cushion Temperature Sensor Signal

Heated Seat Control Module - Passenger (KA1)


Object Number: 1519708  Size: CH

Connector Part Information

  • OEM: 15-97-5121
  • Service: See Catalog
  • Description:12-Way F Mini-Fit Series (BK)

Terminal Part Information

  • Terminal/Tray: See Terminal Repair Kit
  • Core/Insulation Crimp: See Terminal Repair Kit
  • Release Tool/Test Probe: See Terminal Repair Kit

Heated Seat Control Module - Passenger (KA1)

Pin

Wire Color

Circuit No.

Function

1

--

--

Not Used

2

0.5 RD/YE

2050

Low Reference

3

0.5 PK

1339

Ignition 1 Voltage

4

PU/GN

--

Low Reference

5

0.35 BN

1661

Driver Heated Seat High Temperature Indicator Control

6

0.35 OG/BK

6177

Passenger Heated Seat Intermediate Signal

7

--

--

Not Used

8

0.5 D-GN/RD

2077

Heated Seat Cushion Element Supply Voltage

9

0.35 PK/OG

1501

Driver Heated Seat High/Low Signal

10

--

--

Not Used

11

0.35 WH/YE

1662

Driver Heated Seat Low Temperature Indicator Control

12

0.35 WH/BK

2079

Heated Seat Cushion Temperature Sensor Signal

Hood Ajar Switch


Object Number: 1989615  Size: CH

Connector Part Information

  • OEM: 7283-6579
  • Service: See Catalog
  • Description: 3-Way F (BK)

Terminal Part Information

  • Terminal/Tray: 12191819/8
  • Core/Insulation Crimp: E/A
  • Release Tool/Test Probe: 15315247/J-35616-2A (GY)

Hood Ajar Switch

Pin

Wire Color

Circuit No.

Function

A

0.3 PK/BK

109

Hood Ajar Switch Signal

B

0.3 PU

5531

Hood Closed Switch Signal

C

0.3 BK

250

Ground

Horn - Left X1


Object Number: 1989629  Size: CH
  • OEM: 7183-0073-30
  • Service: See Catalog
  • Description: 1-Way F (BK)

Terminal Part Information

  • Terminal/Tray: See Terminal Repair Kit
  • Core/Insulation Crimp: See Terminal Repair Kit
  • Release Tool/Test Probe: See Terminal Repair Kit

Horn - Left X1

Pin

Wire Color

Circuit No.

Function

A

0.75 D-GN

1329

Content Left Horn Control

Horn - Left X2


Object Number: 1989629  Size: CH
  • OEM: 7183-0073-30
  • Service: See Catalog
  • Description: 1-Way F (BK)

Terminal Part Information

  • Terminal/Tray: See Terminal Repair Kit
  • Core/Insulation Crimp: See Terminal Repair Kit
  • Release Tool/Test Probe: See Terminal Repair Kit

Horn - Left X2

Pin

Wire Color

Circuit No.

Function

A

0.75 BK

250

Ground

Horn - Right X1


Object Number: 1989629  Size: CH
  • OEM: 7183-0073-30
  • Service: See Catalog
  • Description: 1-Way F (BK)

Terminal Part Information

  • Terminal/Tray: See Terminal Repair Kit
  • Core/Insulation Crimp: See Terminal Repair Kit
  • Release Tool/Test Probe: See Terminal Repair Kit

Horn - Right X1

Pin

Wire Color

Circuit No.

Function

A

0.75 D-GN

1329

Content Right Horn Control

Horn - Right X2


Object Number: 1989629  Size: CH
  • OEM: 7183-0073-30
  • Service: See Catalog
  • Description: 1-Way F (BK)

Terminal Part Information

  • Terminal/Tray: See Terminal Repair Kit
  • Core/Insulation Crimp: See Terminal Repair Kit
  • Release Tool/Test Probe: See Terminal Repair Kit

Horn - Right X2

Pin

Wire Color

Circuit No.

Function

A

0.75 BK

250

Ground

HVAC Control Module X1 (LHD)


Object Number: 255037  Size: CH

Connector Part Information

  • OEM: 12160778
  • Service: 12160778
  • Description: 24-Way F Micro-Pack 100 Series (BN)

Terminal Part Information

  • Terminal/Tray: See Terminal Repair Kit
  • Core/Insulation Crimp: See Terminal Repair Kit
  • Release Tool/Test Probe: See Terminal Repair Kit

HVAC Control Module X1 (LHD)

Pin

Wire Color

Circuit No.

Function

A1

0.3 RD/WH

340

Battery Positive Voltage

A2

0.3 YE

6817

LED Backlight Dimming Control

0.3 YE

6817

LED Backlight Dimming Control

A3

--

--

Not Used

A4

0.3 L-GN

1478

Coolant Level Switch Signal

A5

0.3 BN

247

Medium Blower Motor Control

A6

--

--

Not Used

A7

0.3 PU/WH

5203

Air Quality HC Sensor Signal (K14)

A8

0.3 L-GN/BK

735

Outside Ambient Air Temperature Sensor Signal

A9

0.3 GY

731

A/C Refrigerant Low Temperature Sensor Signal

A10

0.3 L-BU/BK

590

Solar Sensor Driver Signal

A11

0.3 WH

278

Ambient Light Sensor Signal

A12

0.3 GY

705

5-Volt Reference

B1

0.3 PK

1539

Run/Crank Ignition 1 Voltage

B2-B4

--

--

Not Used

B5

0.3 D-GN

5060

Low Speed GMLAN Serial Data

B6

0.3 GY/BK

754

Blower Motor Speed Control

B7

0.3 L-GN/WH

6845

Air Quality NOX Sensor Signal (K14)

B8

--

--

Not Used

B9

0.3 D-GN

734

Inside Air Temperature Sensor Signal

B10

0.3 GY

1548

Passenger Solar Sensor Signal

B11

0.3 BK/WH

451

Ground

B12

0.3 YE

61

Outside Ambient Temperature Sensor Low Reference

HVAC Control Module X1 (RHD)


Object Number: 1989423  Size: CH

Connector Part Information

  • OEM: 7123-6023-30
  • Service: See Catalog
  • Description: 2-Way F

Terminal Part Information

  • Terminal/Tray: See Terminal Repair Kit
  • Core/Insulation Crimp: See Terminal Repair Kit
  • Release Tool/Test Probe: See Terminal Repair Kit

HVAC Control Module X1 (RHD)

Pin

Wire Color

Circuit No.

Function

1

3 OG

5987

HVAC Blower Motor Control Circuit

2

3 BK

1450

Ground

HVAC Control Module X2 (LHD)


Object Number: 73156  Size: CH

Connector Part Information

  • OEM: 12110088
  • Service: See Catalog
  • Description: 24-Way F Micro-Pack 100 Series (GY)

Terminal Part Information

  • Terminal/Tray: See Terminal Repair Kit
  • Core/Insulation Crimp: See Terminal Repair Kit
  • Release Tool/Test Probe: See Terminal Repair Kit

HVAC Control Module X2 (LHD)

Pin

Wire Color

Circuit No.

Function

A1

0.3 L-BU

733

Air Temperature Door Position Signal

A2

0.3 YE/BK

1814

Mode Door Position Signal

A3

0.3 BN

1838

Recirculation Door Position Signal

A4

0.3 GY

2599

Rear Mode Door Position Signal

A5

--

--

Not Used

A6

0.3 L-BU

2776

Rear Passenger Air Temperature Door Control A

A7

0.3 L-GN/WH

5729

Rear Mode Door Control A

A8

0.3 YE

1791

Air Temperature Door Control Low Reference

A9

0.3 GY/BK

2778

Passenger Air Temperature Motor Control

A10

0.3 YE

1318

Mode Door Control B

A11

0.3 GY

5127

After Boil Coolant Pump Relay Control

A12

0.3 PU

1648

Recirculation Door Control A

B1

0.3 D-BU

1646

Passenger Air Temperature Door Position Signal

B2

--

--

Not Used

B3

0.3 D-GN

2600

Rear Passenger Air Temperature Door Position Signal

B4

0.3 PU

73

Rear Mode Switch Signal (KA6)

B5

0.3 L-BU

72

Rear Temperature Switch Signal (KA6)

B6

0.3 BN

2775

Rear Passenger Air Temperature Door Control B

B7

0.3 L-GN/BK

5730

Rear Mode Door Control B

B8

0.3 D-BU

1199

Air Temperature Door Control

B9

0.3 WH/BK

1236

Passenger Air Temperature Door Control

B10

0.3 TN

2273

Mode Door Control A

B11

--

--

Not Used

B12

0.3 D-GN

1614

Recirculation Door Control B

HVAC Control Module X3 (RHD)


Object Number: 1989429  Size: CH

Connector Part Information

  • OEM: 13003501
  • Service: See Catalog
  • Description: 22-Way F

Terminal Part Information

  • Terminal/Tray: See Terminal Repair Kit
  • Core/Insulation Crimp: See Terminal Repair Kit
  • Release Tool/Test Probe: See Terminal Repair Kit

HVAC Control Module X3 (RHD)

Pin

Wire Color

Circuit No.

Function

1

0.3 BK

119

Mode Actuator 1 - Control

2

0.3 BN

2273

Mode Actuator 1 - Power

3

0.3 GY

2275

Mode Actuator 1 - Feedback

4

0.3 RD

1199

Mode Actuator 2 - Feedback

5

0.3 BK/YE

1646

Air Mix Actuator - Feedback

6

0.3 WH/RD

1838

Recirculation Actuator - Feedback

7

0.35 BK

732

Evaporator Temperature Sensor Signal

8

0.35 BK

731

Evaporator Temperature Sensor Low Reference

9

0.3 D-BU/BK

718

Low Reference

10

0.3 BK/RD

719

Low Reference

11

0.3 L-GN

2210

Mode Actuator 2 - Power

12

0.3 OG

1791

Mode Actuator 2 - Control

13

0.3 WH

2778

Air Mix Actuator - Power

14

0.3 YE

1236

Air Mix Actuator - Control

15

0.3 WH/BK

2274

Recirculation Actuator - Power

16

0.3 WH/BU

1614

Recirculation Actuator - Control

17

0.3 D-GN

474

5-Volt Reference

18

0.3 PK

1236

5-Volt Reference

19

0.3 BK/WH

598

5-Volt Reference

20

0.3 WH/GN

597

5-Volt Reference

21

0.3 D-BU

1791

Low Reference

22

0.3 L-BU

720

Low Reference

HVAC Control Module (RHD) X4


Object Number: 1989433  Size: CH

Connector Part Information

  • OEM: 13003497
  • Service: See Catalog
  • Description: 7-Way F

Terminal Part Information

  • Terminal/Tray: See Terminal Repair Kit
  • Core/Insulation Crimp: See Terminal Repair Kit
  • Release Tool/Test Probe: See Terminal Repair Kit

HVAC Control Module (RHD) X4

Pin

Wire Color

Circuit No.

Function

23

0.3 D-BU/WH

2148

Dual Zone Air Mix Actuator Power

24

0.3 YE/BK

2147

Dual Zone Air Mix Actuator Control

25

0.3 YE/BU

2178

Dual Zone Air Mix Actuator Feedback

26

0.3 YE/RD

2149

5-Volt Reference

27

--

--

Not Used

28

0.3 BN/WH

476

Low Reference

29

--

--

Not Used

HVAC Control Module (RHD) X5


Object Number: 1989440  Size: CH

Connector Part Information

  • OEM: 13001498
  • Service: See Catalog
  • Description: 10-Way F

Terminal Part Information

  • Terminal/Tray: See Terminal Repair Kit
  • Core/Insulation Crimp: See Terminal Repair Kit
  • Release Tool/Test Probe: See Terminal Repair Kit

HVAC Control Module (RHD) X5

Pin

Wire Color

Circuit No.

Function

28

0.3 D-GN/BU

6555

Mode Actuator Rear Power

29

0.3 D-GN/RD

6556

Mode Actuator Rear Control

30

0.3 D-BU/OG

5516

Tri-Zone Air Mix Actuator Control

31

0.3 L-GN/RD

5515

Tri-Zone Air Mix Actuator Power

32

0.3 D-GN/WH

6558

Mode Actuator Rear Feedback

33

0.3 PK/BK

5517

Tri-Zone Air Mix Actuator Feedback

34

0.3 D-GN/OG

6718

5-Volt Reference

35

0.3 D-BU/GN

5518

5-Volt Reference

36

0.3 D-GN/YE

645

Low Reference

37

0.3 RD/BK

552

Low Reference

Ignition Coil 1 (LY7)


Object Number: 1989651  Size: CH

Connector Part Information

  • OEM: 7283-9394-30
  • Service: See Catalog
  • Description: 4-Way F (BK)

Terminal Part Information

  • Pins: A, D
  • Terminal/Tray: 12191819/8
  • Core/Insulation Crimp: 2/A
  • Release Tool/Test Probe: 15315247/J-35616-2A (GY)
  • Pins: B, C
  • Terminal/Tray: 12191819/8
  • Core/Insulation Crimp: E/A
  • Release Tool/Test Probe: 15315247/J-35616-2A (GY)

Ignition Coil 1 (LY7)

Pin

Wire Color

Circuit No.

Function

A

0.75 BK

2550

Ground

B

0.5 PU

6413

Low Reference

C

0.5 PU

2121

IC 1 Control

D

0.75 PK/BU

5291

Ignition 1 Voltage

Ignition Coil 1 (L98 or HSV)


Object Number: 1989371  Size: CH

Connector Part Information

  • OEM: 7283-9394-30
  • Service: See Catalog
  • Description: 4-Way F

Terminal Part Information

  • Terminal/Tray: See Terminal Repair Kit
  • Core/Insulation Crimp: See Terminal Repair Kit
  • Release Tool/Test Probe: See Terminal Repair Kit

Ignition Coil 1 (L98 or HSV)

Pin

Wire Color

Circuit No.

Function

A

0.8 BK

151

Ground

B

0.5 BN

2129

IC 1 Control

C

0.5 PU

2121

IC 1 Control

D

0.8 PK/BK

39

Ignition 1 Voltage

Ignition Coil 2 (LY7)


Object Number: 1989651  Size: CH

Connector Part Information

  • OEM: 7283-9394-30
  • Service: See Catalog
  • Description: 4-Way F (BK)

Terminal Part Information

  • Pins: A, D
  • Terminal/Tray: 12191819/8
  • Core/Insulation Crimp: 2/A
  • Release Tool/Test Probe: 15315247/J-35616-2A (GY)
  • Pins: B, C
  • Terminal/Tray: 12191819/8
  • Core/Insulation Crimp: E/A
  • Release Tool/Test Probe: 15315247/J-35616-2A (GY)

Ignition Coil 2 (LY7)

Pin

Wire Color

Circuit No.

Function

A

0.75 BK

2650

Ground

B

0.5 PK

6414

Low Reference

C

0.5 OG/WH

2122

IC 2 Control

D

0.75 PK

5292

Ignition 1 Voltage

Ignition Coil 2 (L98 or HSV)


Object Number: 1989371  Size: CH

Connector Part Information

  • OEM: 7283-9394-30
  • Service: See Catalog
  • Description: 4-Way F

Terminal Part Information

  • Terminal/Tray: See Terminal Repair Kit
  • Core/Insulation Crimp: See Terminal Repair Kit
  • Release Tool/Test Probe: See Terminal Repair Kit

Ignition Coil 2 (L98 or HSV)

Pin

Wire Color

Circuit No.

Function

A

0.8 BK

151

Ground

B

0.5 BN/WH

2129

IC 2 Control

C

0.5 OG/WH

2127

IC 2 Control

D

0.8 PK/BK

39

Ignition 1Voltage

Ignition Coil 3 (LY7)


Object Number: 1989651  Size: CH

Connector Part Information

  • OEM: 7283-9394-30
  • Service: See Catalog
  • Description: 4-Way F (BK)

Terminal Part Information

  • Pins: A, D
  • Terminal/Tray: 12191819/8
  • Core/Insulation Crimp: 2/A
  • Release Tool/Test Probe: 15315247/J-35616-2A (GY)
  • Pins: B, C
  • Terminal/Tray: 12191819/8
  • Core/Insulation Crimp: E/A
  • Release Tool/Test Probe: 15315247/J-35616-2A (GY)

Ignition Coil 3 (LY7)

Pin

Wire Color

Circuit No.

Function

A

0.75 BK

2550

Ground

B

0.5 PU

6413

Low Reference

C

0.5 L-BU

2123

IC 3 Control

D

0.75 PK/BU

5291

Ignition 1 Voltage

Ignition Coil 3 (L98 or HSV)


Object Number: 1989371  Size: CH

Connector Part Information

  • OEM: 7283-9394-30
  • Service: See Catalog
  • Description: 4-Way F

Terminal Part Information

  • Terminal/Tray: See Terminal Repair Kit
  • Core/Insulation Crimp: See Terminal Repair Kit
  • Release Tool/Test Probe: See Terminal Repair Kit

Ignition Coil 3 (L98 or HSV)

Pin

Wire Color

Circuit No.

Function

A

0.8 BK

151

Ground

B

0.5 BN

2129

IC 3 Control

C

0.5 L-BU

2123

IC 3 Control

D

0.8 PK/BK

39

Ignition 1Voltage

Ignition Coil 4 (LY7)


Object Number: 1989651  Size: CH

Connector Part Information

  • OEM: 7283-9394-30
  • Service: See Catalog
  • Description: 4-Way F (BK)

Terminal Part Information

  • Pins: A, D
  • Terminal/Tray: 12191819/8
  • Core/Insulation Crimp: 2/A
  • Release Tool/Test Probe: 15315247/J-35616-2A (GY)
  • Pins: B, C
  • Terminal/Tray: 12191819/8
  • Core/Insulation Crimp: E/A
  • Release Tool/Test Probe: 15315247/J-35616-2A (GY)

Ignition Coil 4 (LY7)

Pin

Wire Color

Circuit No.

Function

A

0.75 BK

2650

Ground

B

0.5 PK

6414

Low Reference

C

0.5 D-GN/WH

2124

IC 4 Control

D

0.75 PK

5292

Ignition 1 Voltage

Ignition Coil 4 (L98 or HSV)


Object Number: 1989371  Size: CH

Connector Part Information

  • OEM: 7283-9394-30
  • Service: See Catalog
  • Description: 4-Way F

Terminal Part Information

  • Terminal/Tray: See Terminal Repair Kit
  • Core/Insulation Crimp: See Terminal Repair Kit
  • Release Tool/Test Probe: See Terminal Repair Kit

Ignition Coil 4 (L98 or HSV)

Pin

Wire Color

Circuit No.

Function

A

0.8 BK

151

Ground

B

0.5 BN/WH

2129

IC 4 Control

C

0.5 D-GN/WH

2125

IC 4 Control

D

0.8 PK/BK

39

Ignition 1Voltage

Ignition Coil 5 (LY7)


Object Number: 1989651  Size: CH

Connector Part Information

  • OEM: 7283-9394-30
  • Service: See Catalog
  • Description: 4-Way F (BK)

Terminal Part Information

  • Pins: A, D
  • Terminal/Tray: 12191819/8
  • Core/Insulation Crimp: 2/A
  • Release Tool/Test Probe: 15315247/J-35616-2A (GY)
  • Pins: B, C
  • Terminal/Tray: 12191819/8
  • Core/Insulation Crimp: E/A
  • Release Tool/Test Probe: 15315247/J-35616-2A (GY)

Ignition Coil 5 (LY7)

Pin

Wire Color

Circuit No.

Function

A

0.75 BK

2550

Ground

B

0.5 PU

6413

Low Reference

C

0.5 D-GN/RD

2125

IC 5 Control

D

0.75 PK/BU

5291

Ignition 1 Voltage

Ignition Coil 5 (L98 or HSV)


Object Number: 1989371  Size: CH

Connector Part Information

  • OEM: 7283-9394-30
  • Service: See Catalog
  • Description: 4-Way F

Terminal Part Information

  • Terminal/Tray: See Terminal Repair Kit
  • Core/Insulation Crimp: See Terminal Repair Kit
  • Release Tool/Test Probe: See Terminal Repair Kit

Ignition Coil 5 (L98 or HSV)

Pin

Wire Color

Circuit No.

Function

A

0.8 BK

151

Ground

B

0.5 BN

2129

IC 5 Control

C

0.5 D-GN

2125

IC 5 Control

D

0.8 PK/BK

39

Ignition 1Voltage

Ignition Coil 6 (LY7)


Object Number: 1989651  Size: CH

Connector Part Information

  • OEM: 7283-9394-30
  • Service: See Catalog
  • Description: 4-Way F (BK)

Terminal Part Information

  • Pins: A, D
  • Terminal/Tray: 12191819/8
  • Core/Insulation Crimp: 2/A
  • Release Tool/Test Probe: 15315247/J-35616-2A (GY)
  • Pins: B, C
  • Terminal/Tray: 12191819/8
  • Core/Insulation Crimp: E/A
  • Release Tool/Test Probe: 15315247/J-35616-2A (GY)

Ignition Coil 6 (LY7)

Pin

Wire Color

Circuit No.

Function

A

0.75 BK

2650

Ground

B

0.5 PK

6414

Low Reference

C

0.5 L-BU/WH

2126

IC 6 Control

D

0.75 PK

5292

Ignition 1 Voltage

Ignition Coil 6 (L98 or HSV)


Object Number: 1989371  Size: CH

Connector Part Information

  • OEM: 7283-9394-30
  • Service: See Catalog
  • Description: 4-Way F

Terminal Part Information

  • Terminal/Tray: See Terminal Repair Kit
  • Core/Insulation Crimp: See Terminal Repair Kit
  • Release Tool/Test Probe: See Terminal Repair Kit

Ignition Coil 6 (L98 or HSV)

Pin

Wire Color

Circuit No.

Function

A

0.8 BK

151

Ground

B

0.5 BN/WH

2129

IC 6 Control

C

0.5 L-BU/WH

2123

IC 6 Control

D

0.8 PK/BK

39

Ignition 1Voltage

Ignition Coil 7 (L98 or HSV)


Object Number: 1989371  Size: CH

Connector Part Information

  • OEM: 7283-9394-30
  • Service: See Catalog
  • Description: 4-Way F

Terminal Part Information

  • Terminal/Tray: See Terminal Repair Kit
  • Core/Insulation Crimp: See Terminal Repair Kit
  • Release Tool/Test Probe: See Terminal Repair Kit

Ignition Coil 7 (L98 or HSV)

Pin

Wire Color

Circuit No.

Function

A

0.8 BK

151

Ground

B

0.5 BN

2129

IC 7 Control

C

0.5 OG

2127

IC 7 Control

D

0.8 PK/BK

39

Ignition 1Voltage

Ignition Coil 8 (L98 or HSV)


Object Number: 1989371  Size: CH

Connector Part Information

  • OEM: 7283-9394-30
  • Service: See Catalog
  • Description: 4-Way F

Terminal Part Information

  • Terminal/Tray: See Terminal Repair Kit
  • Core/Insulation Crimp: See Terminal Repair Kit
  • Release Tool/Test Probe: See Terminal Repair Kit

Ignition Coil 8 (L98 or HSV)

Pin

Wire Color

Circuit No.

Function

A

0.8 BK

151

Ground

B

0.5 BN/WH

2129

IC 8 Control

C

0.5 PU/WH

2121

IC 8 Control

D

0.8 PK/BK

39

Ignition 1 Voltage

Ignition Key Cylinder Lamp


Object Number: 1989305  Size: CH

Connector Part Information

  • OEM: 7141-5191-30
  • Service: See Catalog
  • Description: 2-Way F (BK)

Terminal Part Information

  • Terminal/Tray: See Terminal Repair Kit
  • Core/Insulation Crimp: See Terminal Repair Kit
  • Release Tool/Test Probe: See Terminal Repair Kit

Ignition Key Cylinder Lamp

Pin

Wire Color

Circuit No.

Function

A

0.5 D-BU/WH

149

Courtesy Lamp Supply Voltage

B

0.5 BK

850

Ground

Ignition Lock Cylinder Control Solenoid


Object Number: 1989406  Size: CH
  • OEM: 7123-9722-30
  • Service: 12101825
  • Description: 2-Way F (BK)

Terminal Part Information

  • Terminal/Tray: 12064971/5
  • Core/Insulation Crimp: E/C
  • Release Tool/Test Probe: 12094429/J-35616-14 (GN)

Ignition Lock Cylinder Control Solenoid

Pin

Wire Color

Circuit No.

Function

A

0.5 BN

443

Accessory Voltage

B

0.3 PU/WH

1630

Steering Column Key Cylinder Lock Solenoid Control

Ignition Switch


Object Number: 1989421  Size: CH

Connector Part Information

  • OEM: 7283-9467-30
  • Service: See Catalog
  • Description: 6-Way F (BK)

Terminal Part Information

  • Terminal/Tray: SHCM-A03T-P025/20
  • Core/Insulation Crimp: J/J
  • Release Tool/Test Probe: 12094429/J-35616-64B (L-BU)

Ignition Switch

Pin

Wire Color

Circuit No.

Function

1

0.3 PK

3

Run/Crank Voltage

2

0.5 OG/BK

1040

Battery Positive Voltage

3

0.3 BN

4

Ignition 1 Voltage

4

0.3 WH

1390

Ignition Key Resistor Low Reference

5

--

--

Not Used

6

0.3 WH/BK

1073

Ignition Key Resistor Signal

Inflatable Restraint Front End Sensor - Left


Object Number: 1989463  Size: CH

Connector Part Information

  • OEM: 7283-6291-30
  • Service: See Catalog
  • Description: 2-Way F (BK)

Terminal Part Information

  • Terminal/Tray: 7116-4102-08/9
  • Core/Insulation Crimp: E/1
  • Release Tool/Test Probe: 12094430/J-35616-2A (GY)

Inflatable Restraint Front End Sensor - Left

Pin

Wire Color

Circuit No.

Function

1

0.3 YE

354

Discriminating Sensor - Signal

2

0.3 BN/YE

5045

Discriminating Sensor - Low Reference

Inflatable Restraint Front End Sensor - Right


Object Number: 1989463  Size: CH

Connector Part Information

  • OEM: 7283-6291-30
  • Service: See Catalog
  • Description: 2-Way F (BK)

Terminal Part Information

  • Terminal/Tray: 7116-4102-08/9
  • Core/Insulation Crimp: E/1
  • Release Tool/Test Probe: 12094430/J-35616-2A (GY)

Inflatable Restraint Front End Sensor - Right

Pin

Wire Color

Circuit No.

Function

1

0.3 D-GN

1409

Discriminating Sensor - Right Signal

2

0.3 GY

5600

Discriminating Sensor - Low Reference

Inflatable Restraint Front Passenger Presence System (PPS) Module X1


Object Number: 2091138  Size: CH

Connector Part Information

  • OEM: 28032115
  • Service: See Catalog
  • Description: 10-Way F (BK)

Terminal Part Information

  • Terminal/Tray: See Terminal Repair Kit
  • Core/Insulation Crimp: See Terminal Repair Kit
  • Release Tool/Test Probe: See Terminal Repair Kit

Inflatable Restraint Front Passenger Presence System (PPS) Module X1

Pin

Wire Color

Circuit No.

Function

1

0.35 WH/PK

3940

PPS Supply Voltage

2

0.5 BK/WH

1751

Ground

3

--

--

Not Used

4

0.35 D-GN/RD

5060

Low Speed GMLAN Serial Data

5-10

--

--

Not Used

Inflatable Restraint Front Passenger Presence System (PPS) Module X2


Object Number: 1625673  Size: CH

Connector Part Information

  • OEM: 15326082
  • Service: Serviced as part of an assembly
  • Description: 18-Way F (BK)

Terminal Part Information

  • Terminal/Tray: See Terminal Repair Kit
  • Core/Insulation Crimp: See Terminal Repair Kit
  • Release Tool/Test Probe: See Terminal Repair Kit

Inflatable Restraint Front Passenger Presence System (PPS) Module X2

Pin

Wire Color

Circuit No.

Function

1

CLR

--

--

2

CLR

--

--

3

CLR

--

--

4

CLR

--

--

5

CLR

--

--

Inflatable Restraint I/P Module X1


Object Number: 1989466  Size: CH

Connector Part Information

  • OEM: 7335-4222
  • Service: See Catalog
  • Description: 2-Way M (YE)

Terminal Part Information

  • Terminal/Tray: See Terminal Repair Kit
  • Core/Insulation Crimp: See Terminal Repair Kit
  • Release Tool/Test Probe: See Terminal Repair Kit

Inflatable Restraint I/P Module X1

Pin

Wire Color

Circuit No.

Function

1

0.5 D-BU

3024

I/P Module - Stage 1 - Low Control

2

0.5 YE

3025

I/P Module - Stage 1 - High Control

Inflatable Restraint I/P Module X2


Object Number: 1989468  Size: CH

Connector Part Information

  • OEM: 7335-4221
  • Service: See Catalog
  • Description: 2-Way M (GN)

Terminal Part Information

  • Terminal/Tray: See Terminal Repair Kit
  • Core/Insulation Crimp: See Terminal Repair Kit
  • Release Tool/Test Probe: See Terminal Repair Kit

Inflatable Restraint I/P Module X2

Pin

Wire Color

Circuit No.

Function

1

0.5 PU

3026

I/P Module - Stage 2 - Low Control

2

0.5 D-GN

3027

I/P Module - Stage 2 - High Control

Inflatable Restraint Roof Rail Module - Left


Object Number: 1989454  Size: CH

Connector Part Information

  • OEM: 7335-6470
  • Service: See Catalog
  • Description: 2-Way M (GN)

Terminal Part Information

  • Terminal/Tray: See Terminal Repair Kit
  • Core/Insulation Crimp: See Terminal Repair Kit
  • Release Tool/Test Probe: See Terminal Repair Kit

Inflatable Restraint Roof Rail Module - Left

Pin

Wire Color

Circuit No.

Function

1

0.5 BN/BK

5019

Roof Rail Module - Left - High Control

2

0.5 PK

5020

Roof Rail Module - Left - Low Control

Inflatable Restraint Roof Rail Module - Right


Object Number: 1989454  Size: CH

Connector Part Information

  • OEM: 7335-6471
  • Service: See Catalog
  • Description: 2-Way M (GN)

Terminal Part Information

  • Terminal/Tray: See Terminal Repair Kit
  • Core/Insulation Crimp: See Terminal Repair Kit
  • Release Tool/Test Probe: See Terminal Repair Kit

Inflatable Restraint Roof Rail Module - Right

Pin

Wire Color

Circuit No.

Function

1

0.5 PU/YE

5021

Roof Rail Module - Right - High Control

2

0.5 WH/BK

5022

Roof Rail Module - Right - Low Control

Inflatable Restraint Seat Position Sensor - Driver


Object Number: 1989406  Size: CH

Connector Part Information

  • OEM: 12052832
  • Service: 12052832
  • Description: 2-Way F Metri-Pack 150 Series (BK)

Terminal Part Information

  • Terminal/Tray: See Terminal Repair Kit
  • Core/Insulation Crimp: See Terminal Repair Kit
  • Release Tool/Test Probe: See Terminal Repair Kit

Inflatable Restraint Seat Position Sensor - Driver

Pin

Wire Color

Circuit No.

Function

A

0.3 PK/BU

5055

Seat Position Sensor- Left - Signal

B

0.3 PU/WH

5057

Seat Belt Switch - Right Front - Low Reference

Inflatable Restraint Seat Position Sensor - Passenger


Object Number: 1989406  Size: CH

Connector Part Information

  • OEM: 12052832
  • Service: 12052832
  • Description: 2-Way F Metri-Pack 150 Series (BK)

Terminal Part Information

  • Terminal/Tray: See Terminal Repair Kit
  • Core/Insulation Crimp: See Terminal Repair Kit
  • Release Tool/Test Probe: See Terminal Repair Kit

Inflatable Restraint Seat Position Sensor - Passenger

Pin

Wire Color

Circuit No.

Function

A

0.3 PK/BU

5056

Seat Position Sensor- Right - Signal

B

0.3 PU/WH

5057

Seat Belt Switch - Right Front - Low Reference

Inflatable Restraint Sensing and Diagnostic Module (SDM) X1


Object Number: 1989457  Size: CH

Connector Part Information

  • OEM: 7287-1849-30
  • Service: See Catalog
  • Description: 24-Way F (BK)

Terminal Part Information

  • Terminal/Tray: See Terminal Repair Kit
  • Core/Insulation Crimp: See Terminal Repair Kit
  • Release Tool/Test Probe: See Terminal Repair Kit

Inflatable Restraint Sensing and Diagnostic Module (SDM) X1

Pin

Wire Color

Circuit No.

Function

1

0.3 BN

3020

Steering Wheel Module - Stage1 - Low Control

2

0.3 BN/RD

3021

Steering Wheel Module - Stage1 - High Control

3

0.3 WH

3023

Steering Wheel Module - Stage2 - High Control

4

0.3 PK

3022

Steering Wheel Module - Stage2 - Low Control

5

0.3 YE/BK

2138

Side Impact Module -LF - Low Control

6

0.3 BN

2137

Side Impact Module -LF - High Control

7-18

--

--

Not Used

19

0.3 GY

5045

Discriminating Sensor - Low Reference

20

0.3 D-GN

354

Discriminating Sensor - Signal

21

0.5 PK/BU

339

Ignition 1 Voltage

22

0.5 OG/YE

1340

Battery Positive Voltage

23

--

--

Not Used

24

0.5 BK/WH

1751

Ground

Inflatable Restraint Sensing and Diagnostic Module (SDM) X2


Object Number: 1989461  Size: CH

Connector Part Information

  • OEM: 7287-1850-30
  • Service: See Catalog
  • Description: 40-Way F (BK)

Terminal Part Information

  • Terminal/Tray: See Terminal Repair Kit
  • Core/Insulation Crimp: See Terminal Repair Kit
  • Release Tool/Test Probe: See Terminal Repair Kit

Inflatable Restraint Sensing and Diagnostic Module (SDM) X2

Pin

Wire Color

Circuit No.

Function

1

0.5 BN/BK

5019

Roof Rail Module - Left - High Control (LHD)

0.5 PU/YE

5021

Roof Rail Module - Right - High Control (RHD)

2

0.5 PK

5020

Roof Rail Module - Left - Low Control (LHD)

0.5 WH/BK

5022

Roof Rail Module - Right - Low Control (RHD)

3

0.5 WH/BK

5022

Roof Rail Module - Right - Low Control (LHD)

0.5 PK

5020

Roof Rail Module - Left - Low Control (RHD)

4

0.5 PU/YE

5021

Roof Rail Module -Right - High Control (LHD)

0.5 BN/BK

2019

(RHD)

5

0.3 BK/WH

2135

Side Impact Module -RF - High Control

6

0.3 L-GN

2136

Side Impact Module - RF - Low Control

7

0.3 PU

3026

I/P Module - Stage 2 - Low Control

8

0.3 D-GN

3027

I/P Module - Stage 2 - High Control (LHD)

9

0.3 YE

3025

I/P Module - Stage 1 - High Control

10

0.3 D-BU

3024

I/P Module - Stage 1 - Low Control

11-14

--

--

Not Used

15

0.3 BK/WH

2118

Seat Belt Pretensioner - Left High Control

16

0.3 OG/BK

2119

Seat Belt Pretensioner - Left Low Control

17

0.3 OG

2117

Seat Belt Pretensioner - Right Low Control

18

0.3 L-GN

2116

Seat Belt Pretensioner - Right High Control

19-22

--

--

Not Used

23

0.3 D-GN

1409

Discriminating Sensor - Right Signal (LHD)

0.3 YE

354

Discriminating Sensor - Signal (RHD)

24

0.3 GY

5600

Discriminating Sensor - Low Reference (LHD)

0.3 BN/YE

5045

Discriminating Sensor - Low Reference (RHD)

25

0.3 PU/WH

6628

Side Impact Sensing Module - Right - Low Reference (LHD)

0.3 WH/BK

6629

Side Impact Sensing Module - Right - Low Reference (RHD)

26

0.3 WH

2132

Side Impact Sensing Module - Left - Signal (LHD)

0.3 D-GN

2134

Side Impact Sensing Module - Right - Signal (RHD)

27

0.3 D-GN

2134

Side Impact Sensing Module - Right - Signal (LHD)

0.3 WH

2132

Side Impact Sensing Module - Left - Signal (RHD)

28

0.3 WH/BK

6629

Side Impact Sensing Module - Left - Low Reference (LHD)

0.3 PU/WH

6628

Side Impact Sensing Module - Left - Low Reference (RHD)

29-34

--

--

Not Used

35

0.3 L-GN

5055

Seat Position Sensor - Left - Signal (LHD)

36

0.3 BK/WH

238

Seat Belt Switch - Left (LHD)

37

--

--

Not Used

38

0.3 D-BU

1363

Seat Belt Switch - Left - Low Reference (LHD)

39

--

--

Not Used

40

0.35 D-GN

5060

Low Speed GMLAN Serial Data (LHD)

Inflatable Restraint Side Impact Module - Left X1


Object Number: 1989470  Size: CH

Connector Part Information

  • OEM: CA-252-92-5-Q
  • Service: See Catalog
  • Description: 2-Way F (YE)

Terminal Part Information

  • Terminal/Tray: See Terminal Repair Kit
  • Core/Insulation Crimp: See Terminal Repair Kit
  • Release Tool/Test Probe: See Terminal Repair Kit

Inflatable Restraint Side Impact Module - Left X1

Pin

Wire Color

Circuit No.

Function

1

0.3 BK/WH

2137

Side Impact Module - Left Front - High Control

2

0.3 L-GN

2138

Side Impact Module - Left Front - Low Control

Inflatable Restraint Side Impact Module - Left X2

Terminal Part Information

  • Terminal:
  • Core/Insulation Crimp: N/A
  • Release Tool/Test Probe: Ring Terminal

Inflatable Restraint Side Impact Module - Left X2

Pin

Wire Color

Circuit No.

Function

A

0.3 BK/WH

1751

Ground

Inflatable Restraint Side Impact Module - Right X1


Object Number: 1989470  Size: CH

Connector Part Information

  • OEM: CA-252-92-5-Q
  • Service: See Catalog
  • Description: 2-Way F (YE)

Terminal Part Information

  • Terminal/Tray: See Terminal Repair Kit
  • Core/Insulation Crimp: See Terminal Repair Kit
  • Release Tool/Test Probe: See Terminal Repair Kit

Inflatable Restraint Side Impact Module - Right X1

Pin

Wire Color

Circuit No.

Function

1

0.3 BN

2135

Side Impact Module - Right Front - High Control

2

0.3 YE/BK

2136

Side Impact Module - Right Front - Low Control

Inflatable Restraint Side Impact Module - Right X2

Terminal Part Information

  • Terminal:
  • Core/Insulation Crimp: N/A
  • Release Tool/Test Probe: Ring Terminal

Inflatable Restraint Side Impact Module - Right X2

Pin

Wire Color

Circuit No.

Function

A

0.3 BK/WH

1751

Ground

Inflatable Restraint Side Impact Sensor (SIS) - Left


Object Number: 1989463  Size: CH

Connector Part Information

  • OEM: 7283-6291-30
  • Service: See Catalog
  • Description: 2-Way F (BK)

Terminal Part Information

  • Terminal/Tray: 7116-4102-08/9
  • Core/Insulation Crimp: E/1
  • Release Tool/Test Probe: 12094430/J-35616-2A (GY)

Inflatable Restraint Side Impact Sensor (SIS) - Left

Pin

Wire Color

Circuit No.

Function

1

0.3 WH

2132

Side Impact Sensing Module - Left - Signal

2

0.3 PU/WH

6628

Side Impact Sensing Module - Left - Low Reference

Inflatable Restraint Side Impact Sensor (SIS) - Right


Object Number: 1989463  Size: CH

Connector Part Information

  • OEM: 7283-6291-30
  • Service: See Catalog
  • Description: 2-Way F (BK)

Terminal Part Information

  • Terminal/Tray: 7116-4102-08/9
  • Core/Insulation Crimp: E/1
  • Release Tool/Test Probe: 12094430/J-35616-2A (GY)

Inflatable Restraint Side Impact Sensor (SIS) - Right

Pin

Wire Color

Circuit No.

Function

1

0.3 D-GN

2134

Side Impact Sensing Module - Right - Signal

2

0.3 WH/BK

6629

Side Impact Sensing Module - Right - Low Reference

Inflatable Restraint Steering Wheel Module Coil X1


Object Number: 1989318  Size: CH

Connector Part Information

  • OEM: 7182-6974
  • Service: See Catalog
  • Description: 10-Way M (NA)

Terminal Part Information

  • Terminal/Tray: 12047581/2
  • Core/Insulation Crimp: E/C
  • Release Tool/Test Probe: 12094429/J-35616-3 (GY)

Inflatable Restraint Steering Wheel Module Coil X1

Pin

Wire Color

Circuit No.

Function

A

0.3 GY/BU

7367

Steering Wheel Resistor Ladder Right Signal #2

B

0.3 BN/GN

7364

Steering Wheel Resistor Ladder Right Signal #1

C

0.3 BN

7312

Steering Wheel Resistor Ladder Left Signal #1

D

0.3 L-BU

7313

Steering Wheel Resistor Ladder Left Signal #2

E

0.3 BN/WH

897

DIC Switch Low Reference

F

0.3 OG/BK

5201

Steering Wheel Controls Signal

G

0.3 BK

850

Ground

H

0.3 PU/WH

7005

I/P Dimming Control

J

0.3 BN/BK

28

Horn Relay Control

K

--

--

Not Used

Inflatable Restraint Steering Wheel Module Coil X2 (RHD)


Object Number: 1989326  Size: CH

Connector Part Information

  • OEM: 7182-7297-70
  • Service: See Catalog
  • Description: 4-Way M (YE)

Terminal Part Information

  • Terminal/Tray: 12034047/2
  • Core/Insulation Crimp: E/A
  • Release Tool/Test Probe: 12094430/J-35616-5 (PU)

Inflatable Restraint Steering Wheel Module Coil X2 (RHD)

Pin

Wire Color

Circuit No.

Function

A1

0.3 BN/RD

3021

Steering Wheel Module - Stage1 - High Control

A2

0.3 BN

3020

Steering Wheel Module - Stage1 - Low Control

B1

0.3 WH

3023

Steering Wheel Module - Stage2 - High Control

B2

0.3 PK

3022

Steering Wheel Module - Stage2 - Low Control

Inflatable Restraint Steering Wheel Module Coil X2 (LHD)


Object Number: 1989283  Size: CH
  • OEM: XMR-08V
  • Service: See Catalog
  • Description: 8-Way F (WH)

Terminal Part Information

  • Terminal/Tray: See Terminal Repair Kit
  • Core/Insulation Crimp: See Terminal Repair Kit
  • Release Tool/Test Probe: See Terminal Repair Kit

Inflatable Restraint Steering Wheel Module Coil X2 (LHD)

Pin

Wire Color

Circuit No.

Function

1

0.3 GY/BU

7367

Steering Wheel Resistor Ladder Right Signal #2

2

0.3 YE

7364

Steering Wheel Resistor Ladder Right Signal #1

3

0.3 BN

7312

Steering Wheel Resistor Ladder Left Signal #1

4

0.3 L-BU

7313

Steering Wheel Resistor Ladder Left Signal #2

5

0.3 D-GN

897

DIC Switch Low Reference

6

0.3 OG/BK

5201

Steering Wheel Controls Signal

7

0.3 BK

1551

Ground

Inflatable Restraint Steering Wheel Module X1


Object Number: 1989472  Size: CH

Connector Part Information

  • OEM: CA-252-92-5-Q
  • Service: See Catalog
  • Description: 2-Way M (OG)

Terminal Part Information

  • Terminal/Tray: See Terminal Repair Kit
  • Core/Insulation Crimp: See Terminal Repair Kit
  • Release Tool/Test Probe: See Terminal Repair Kit

Inflatable Restraint Steering Wheel Module X1

Pin

Wire Color

Circuit No.

Function

1

0.3 BN

3020

Steering Wheel Module - Stage1 - Low Control

2

0.3 TN

3021

Steering Wheel Module - Stage1 - High Control

Inflatable Restraint Steering Wheel Module X2


Object Number: 1989476  Size: CH

Connector Part Information

  • OEM: CA-252-92-5-Q
  • Service: See Catalog
  • Description: 2-Way M (BU)

Terminal Part Information

  • Terminal/Tray: See Terminal Repair Kit
  • Core/Insulation Crimp: See Terminal Repair Kit
  • Release Tool/Test Probe: See Terminal Repair Kit

Inflatable Restraint Steering Wheel Module X2

Pin

Wire Color

Circuit No.

Function

1

0.3 PK

3022

Steering Wheel Module - Stage2 - Low Control

2

0.3 WH

3023

Steering Wheel Module - Stage2 - High Control

Inside Rearview Mirror (ISRVM) (UE1)


Object Number: 1989386  Size: CH

Connector Part Information

  • OEM: 7283-1766-30
  • Service: See Catalog
  • Description: 16-Way F (BK)

Terminal Part Information

  • Terminal/Tray: 175266-5/15
  • Core/Insulation Crimp: J/J
  • Release Tool/Test Probe: 15315247/J-35616-16 (L-GN)

Inside Rearview Mirror (ISRVM) (UE1)

Pin

Wire Color

Circuit No.

Function

1

--

--

Not Used

2

0.3 D-GN

654

Cellular Telephone Microphone Low Reference

3-7

--

--

Not Used

8

0.3 BK

1450

Ground

9

0.5 L-GN

24

Backup Lamp Supply Voltage

10

0.3 GY

655

Cellular Microphone Signal

11

0.3 D-GN/WH

2514

Keypad Signal

12

0.3 L-GN/BK

2515

Keypad Supply Voltage

13

0.5 BN

1339

Ignition Voltage 1

14

0.3 YE/BK

2516

Keypad Green LED Signal

15

0.3 BN/WH

2517

Keypad Red LED Signal

16

--

--

Not Used

Inside Rearview Mirror (ISRVM) (without UE1)


Object Number: 1989377  Size: CH

Connector Part Information

  • OEM: 12124239
  • Service: See Catalog
  • Description: 3-Way F

Terminal Part Information

  • Terminal/Tray: See Terminal Repair Kit
  • Core/Insulation Crimp: See Terminal Repair Kit
  • Release Tool/Test Probe: See Terminal Repair Kit

Inside Rearview Mirror (ISRVM) (without UE1)

Pin

Wire Color

Circuit No.

Function

1

0.5 BN

443

Ignition Voltage 1

2

0.3 BK

1450

Ground

3

0.5 L-GN

24

Backup Lamp Supply Voltage

Instrument Panel Cluster


Object Number: 1989639  Size: CH

Connector Part Information

  • OEM: 7219-1198-30
  • Service: See Catalog
  • Description: 18-Way F (BK)

Terminal Part Information

  • Pins: 1, 9
  • Terminal/Tray: 928999-5/15
  • Core/Insulation Crimp: J/J
  • Release Tool/Test Probe:12094429/J-35616-64B (L-BU)
  • Pins: 2-8, 10-18
  • Terminal/Tray: 928999-5/15
  • Core/Insulation Crimp: H/H
  • Release Tool/Test Probe:12094429/J-35616-64B (L-BU)

Instrument Panel Cluster

Pin

Wire Color

Circuit No.

Function

1

0.5 OG/WH

1840

Battery Positive Voltage

2

0.3 GY

728

Security Indicator Control

3

0.3 D-BU

7148

Bluetooth Signal

4

--

--

Not Usedl

5

0.5 BN

185

Low Washer Fluid Indicator Signal

6

0.3 BN

7312

Left Steering Wheel Scroll 1

7

0.3 GY/BU

7367

Right Steering Wheel Scroll 2

8

0.3 BN/GN

7364

Right Steering Wheel Scroll 1

9

0.5 BK

850

Ground

10

0.3 PK

3

Ignition 1 Voltage

11

0.3 BN/WH

419

MIL Control

12

0.3 OG/BK

5201

Steering Wheel Controls Signal

13

0.3 BN/WH

33

Brake Warning Indicator Control

14

--

--

Not Used

15

0.35 L-GN

9203

Low Speed GMLAN Serial Data

16

--

--

Not Used

17

0.3 L-BU

7313

Left Steering Wheel Scroll 2

18

0.3 BN/WH

897

DIC Switch Low Reference

I/P Compartment Lamp X1


Object Number: 1989303  Size: CH

Connector Part Information

  • OEM: 180984-5
  • Service: See Catalog
  • Description: 1-Way F

Terminal Part Information

  • Terminal/Tray: See Terminal Repair Kit
  • Core/Insulation Crimp: See Terminal Repair Kit
  • Release Tool/Test Probe: See Terminal Repair Kit

I/P Compartment Lamp X1

Pin

Wire Color

Circuit No.

Function

A

0.85 OG

1732

Courtesy Lamps Supply Voltage

I/P Compartment Lamp X2


Object Number: 1989303  Size: CH

Connector Part Information

  • OEM: 180984-5
  • Service: See Catalog
  • Description: 1-Way F

Terminal Part Information

  • Terminal/Tray: See Terminal Repair Kit
  • Core/Insulation Crimp: See Terminal Repair Kit
  • Release Tool/Test Probe: See Terminal Repair Kit

I/P Compartment Lamp X2

Pin

Wire Color

Circuit No.

Function

A

0.5 PU

175

Glove Box Lamp Control

I/P Compartment Lamp Switch X1


Object Number: 1989274  Size: CH

Connector Part Information

  • OEM: 180984-5
  • Service: See Catalog
  • Description: 1-Way F

Terminal Part Information

  • Terminal/Tray: See Terminal Repair Kit
  • Core/Insulation Crimp: See Terminal Repair Kit
  • Release Tool/Test Probe: See Terminal Repair Kit

I/P Compartment Lamp Switch X1

Pin

Wire Color

Circuit No.

Function

A

0.5 PU

175

Glove Box Lamp Control

I/P Compartment Lamp Switch X2


Object Number: 1989274  Size: CH

Connector Part Information

  • OEM: 180984-5
  • Service: See Catalog
  • Description: 1-Way F

Terminal Part Information

  • Terminal/Tray: See Terminal Repair Kit
  • Core/Insulation Crimp: See Terminal Repair Kit
  • Release Tool/Test Probe: See Terminal Repair Kit

I/P Compartment Lamp Switch X2

Pin

Wire Color

Circuit No.

Function

A

0.5 BK/WH

1450

Ground

Intake Manifold Tuning (IMT) Solenoid Valve (LY7)


Object Number: 1989331  Size: CH

Connector Part Information

  • OEM: 7283-8226-30
  • Service: 88988587
  • Description: 2-Way F 090 Class II Series Sealed (BK)

Terminal Part Information

  • Terminal/Tray: 7116-4026/11
  • Core/Insulation Crimp: E/1
  • Release Tool/Test Probe: 15313892/J-35616-18 (BK)

Intake Manifold Tuning (IMT) Solenoid Valve (LY7)

Pin

Wire Color

Circuit No.

Function

1

0.75 PU/BK

5293

Ignition 1 Voltage

2

0.75 BN

1997

EVAP Canister Vent Solenoid Valve Low Reference

Internal Mode Switch (IMS)


Object Number: 347262  Size: CH

Connector Part Information

  • OEM: 15493189
  • Service: See Catalog
  • Description: 6-Way F (NA)

Terminal Part Information

  • Terminal/Tray: See Terminal Repair Kit
  • Core/Insulation Crimp: See Terminal Repair Kit
  • Release Tool/Test Probe: See Terminal Repair Kit

Internal Mode Switch (IMS)

Pin

Wire Color

Circuit No.

Function

A

0.5 BN

1786

Park/Neutral Signal

B

0.5 GY

776

Transmission Range Switch Signal P

C

0.5 BK

772

Transmission Range Switch Signal B

D

0.5 RD

771

Transmission Range Switch Signal A

E

0.5 D-BU

773

Transmission Range Switch Signal C

F

0.5 D-GN

450

Ground

Knock Sensor (KS) 1 (LY7)


Object Number: 1989588  Size: CH

Connector Part Information

  • OEM: 7283-6205-30
  • Service: See Catalog
  • Description: 2-Way F (BK)

Terminal Part Information

  • Terminal/Tray: See Terminal Repair Kit
  • Core/Insulation Crimp: See Terminal Repair Kit
  • Release Tool/Test Probe: See Terminal Repair Kit

Knock Sensor (KS) 1 (LY7)

Pin

Wire Color

Circuit No.

Function

1

0.5 D-BU

496

Knock Sensor 1 Signal

2

0.5 GY

1716

Low Reference Knock Sensor Signal Return

Knock Sensor (KS) 1 (L98 or HSV)


Object Number: 1989375  Size: CH

Connector Part Information

  • OEM: 7283-3954
  • Service: See Catalog
  • Description: 2-Way F

Terminal Part Information

  • Terminal/Tray: 15326427/5
  • Core/Insulation Crimp: E/A
  • Release Tool/Test Probe: 15315247/J-35616-2A (GY)

Knock Sensor (KS) 1 (L98 or HSV)

Pin

Wire Color

Circuit No.

Function

1

0.5 D-BU

496

Knock Sensor 1 Signal

2

0.5 GY

1716

Low Reference Knock Sensor Signal Return

Knock Sensor (KS) 2 (LY7)


Object Number: 1989588  Size: CH

Connector Part Information

  • OEM: 7283-6205-30
  • Service: See Catalog
  • Description: 2-Way F (BK)

Terminal Part Information

  • Terminal/Tray: See Terminal Repair Kit
  • Core/Insulation Crimp: See Terminal Repair Kit
  • Release Tool/Test Probe: See Terminal Repair Kit

Knock Sensor (KS) 2 (LY7)

Pin

Wire Color

Circuit No.

Function

1

0.5 L-BU

1876

Knock Sensor 2 Signal

2

0.5 BN

407

Low Reference Knock Sensor Signal Return

Knock Sensor (KS) 2 (L98 or HSV)


Object Number: 1989375  Size: CH

Connector Part Information

  • OEM: 7283-3954
  • Service: See Catalog
  • Description: 2-Way F

Terminal Part Information

  • Terminal/Tray: 15326427/5
  • Core/Insulation Crimp: E/A
  • Release Tool/Test Probe: 15315247/J-35616-2A (GY)

Knock Sensor (KS) 2 (L98 or HSV)

Pin

Wire Color

Circuit No.

Function

1

0.5 L-BU

1876

Knock Sensor 2 Signal

2

0.5 TN

407

Low Reference Knock Sensor Signal Return

License Lamp - Left


Object Number: 1989307  Size: CH

Connector Part Information

  • OEM: 1897280-2
  • Service: See Catalog
  • Description: 2-Way F (BK)

Terminal Part Information

  • Terminal/Tray: See Terminal Repair Kit
  • Core/Insulation Crimp: See Terminal Repair Kit
  • Release Tool/Test Probe: See Terminal Repair Kit

License Lamp - Left

Pin

Wire Color

Circuit No.

Function

1

0.5 BN/WH

309

Right Park Lamp Supply Voltage

2

0.5 BK

1350

Ground

License Lamp - Right


Object Number: 1989307  Size: CH

Connector Part Information

  • OEM: 1897280-2
  • Service: See Catalog
  • Description: 2-Way F (BK)

Terminal Part Information

  • Terminal/Tray: See Terminal Repair Kit
  • Core/Insulation Crimp: See Terminal Repair Kit
  • Release Tool/Test Probe: See Terminal Repair Kit

License Lamp - Right

Pin

Wire Color

Circuit No.

Function

1

0.5 BN/WH

309

Right Park Lamp Supply Voltage

2

0.5 BK

1350

Ground

LPG Control Module


Object Number: 2082588  Size: CH

Connector Part Information

Terminal Part Information


LPG Control Module

Pin

Wire Color

Circuit No.

Function

1

0.5 YE

--

Regulator Temperature Signal

2

0.5 BK

--

Sensor Signal Supply +5V

3

0.5 GN

--

Gas Temperature Signal

4-7

--

--

Not Used

8

0.5 GN/WH

--

Power Relay Control

9

0.5 WH

--

Serial Diagnostic Connector

10

--

--

Not Used

11

0.5 GY

--

TACHO Signal

12

0.5 RD

--

Battery Voltage Positive

13

0.5 GN

--

Switch

14

0.5 BK/GN

--

Front Lock-Off Control

15

0.5 BK/BU

--

LPG Injector 1 Control

16

0.5 BK/GN

--

LPG Injector 2 Control

17

0.5 BK/YE

--

LPG Injector 3 Control

18

0.5 BK/RD

--

LPG Injector 4 Control

19

0.5 BK

--

LPG Injector Ground 1

20

0.5 GN

--

Actuator Current Blow By

21

0.5 BK/PU

--

LPG Injector 5 Control

22

0.5 BK/OG

--

LPG Injector 6 Control

23-24

--

--

Not Used

25

0.5 GN

--

Petrol Injector 5 Control

26

0.5 OG

--

Petrol Injector 6 Control

27-29

--

--

Not Used

30

0.5 WH

--

Gas Temperature Signal

31-35

--

--

Not Used

36

0.5 PU/WH

--

Throttle Position Sensor Signal

37-38

--

--

Not Used

39

0.5 BK

--

Battery Ground

40

0.5 GN/WH

--

Petrol Injector Power

41

0.5 BN

--

+12V Key Contact

42

0.5 BK/GN

--

Rear Lock-Off Control

43

0.5 YE/WH

--

Petrol Injector 1 ECU Power Output

44

0.5 YE

--

Petrol Injector 1 Control

45

0.5 BK/WH

--

Petrol Injector 2 ECU Power Output

46

0.5 BK

--

Petrol Injector 2 Control

47

0.5 BK

--

LPG Injector Ground 2

48

0.5 GN

--

Actuator Current Blow By

49

0.5 BN/WH

--

Petrol Injector 3 ECU Power Output

50

0.5 BN

--

Petrol Injector 3 Control

51

0.5 BU/WH

--

Petrol Injector 4 ECU Power Output

52

0.5 BU

--

Petrol Injector 4 Control

53

0.5 GN/WH

--

Petrol Injector 5 ECU Power Output

54

0.5 OG/WH

--

Petrol Injector 5 Control

55-56

--

--

Not Used

LPG Fuel Injector 1


Object Number: 2082589  Size: CH

Connector Part Information

Terminal Part Information


LPG Fuel Injector 1

Pin

Wire Color

Circuit No.

Function

1

0.5 BK/BU

--

LPG Fuel Injector 1 Control

2

0.5 GN

--

Ignition Voltage

LPG Fuel Injector 2


Object Number: 2082589  Size: CH

Connector Part Information

Terminal Part Information


LPG Fuel Injector 2

Pin

Wire Color

Circuit No.

Function

1

0.5 BK/GN

--

LPG Fuel Injector 2 Control

2

0.5 GN

--

Ignition Voltage

LPG Fuel Injector 3


Object Number: 2082589  Size: CH

Connector Part Information

Terminal Part Information


LPG Fuel Injector 3

Pin

Wire Color

Circuit No.

Function

1

0.5 BK/YE

--

LPG Fuel Injector 3 Control

2

0.5 GN

--

Ignition Voltage

LPG Fuel Injector 4


Object Number: 2082589  Size: CH

Connector Part Information

Terminal Part Information


LPG Fuel Injector 4

Pin

Wire Color

Circuit No.

Function

1

0.5 BK/RD

--

LPG Fuel Injector 4 Control

2

0.5 GN

--

Ignition Voltage

LPG Fuel Injector 5


Object Number: 2082589  Size: CH

Connector Part Information

Terminal Part Information


LPG Fuel Injector 5

Pin

Wire Color

Circuit No.

Function

1

0.5 BK/PU

--

LPG Fuel Injector 5 Control

2

0.5 GN

--

Ignition Voltage

LPG Fuel Injector 6


Object Number: 2082589  Size: CH

Connector Part Information

Terminal Part Information


LPG Fuel Injector 6

Pin

Wire Color

Circuit No.

Function

1

0.5 BK/OG

--

LPG Fuel Injector 6 Control

2

0.5 GN

--

Ignition Voltage

LPG Lock-Off


Object Number: 2082590  Size: CH

Connector Part Information

Terminal Part Information


LPG Lock-Off

Pin

Wire Color

Circuit No.

Function

1

0.5 BK/GN

--

Front Lock-Off Control

2

0.5 GN

--

Ignition Voltage

LPG Relay


Object Number: 2082591  Size: CH

Connector Part Information

Terminal Part Information


LPG Relay

Pin

Wire Color

Circuit No.

Function

30

0.5 RD

--

Battery Voltage

85

0.5 GN/WH

--

Power Relay Control

86

0.75 RD

--

Battery Voltage

87

0.5 GN

--

Relay Controlled Voltage

LPG Switch/Fuel Display


Object Number: 2082593  Size: CH

Connector Part Information

Terminal Part Information


LPG Switch/Fuel Display

Pin

Wire Color

Circuit No.

Function

1

0.5 RD

--

+5 Voltage Input

2

0.5 BK

--

Ground

3

0.75 GN

--

Switch Signal

4

0.5 WH

--

Fuel Level Input

Manifold Absolute Pressure (MAP) Sensor (L98)


Object Number: 1989351  Size: CH

Connector Part Information

  • OEM: 7283-7938-30
  • Service: See Catalog
  • Description:

Terminal Part Information

  • Terminal/Tray: 1928498056/8
  • Core/Insulation Crimp: E/1
  • Release Tool/Test Probe: J-38125-561/J-35616-35 (VT)

Manifold Absolute Pressure (MAP) Sensor (L98)

Pin

Wire Color

Circuit No.

Function

A

0.5 OG/BK

469

Low Reference

B

0.5 L-GN

432

MAP Sensor Signal

C

0.5 GY

2704

5-Volt Reference

Mass Air Flow (MAF)/Intake Air Temperature (IAT) Sensor


Object Number: 1989316  Size: CH

Connector Part Information

  • OEM: 7283-6997-30
  • Service: See Catalog
  • Description: 5-Way F (BK)

Terminal Part Information

  • Terminal/Tray: 12191819/8
  • Core/Insulation Crimp: E/A
  • Release Tool/Test Probe: 15315247/J-35616-2A (GY)

Mass Air Flow (MAF)/Intake Air Temperature (IAT) Sensor

Pin

Wire Color

Circuit No.

Function

A

0.5 YE

492

MAF Sensor Signal

B

0.5 PK

439

Ignition 1 Voltage

C

0.5 BK

450

Ground

D

0.5 BN/RD

472

IAT Sensor Signal

E

0.5 BN/WH

2760

Low Reference

Memory Seat Module - Driver X1


Object Number: 1989612  Size: CH

Connector Part Information

  • OEM: 173851-1
  • Service: See Catalog
  • Description: 12-Way F

Terminal Part Information

  • Terminal/Tray: See Terminal Repair Kit
  • Core/Insulation Crimp: See Terminal Repair Kit
  • Release Tool/Test Probe: See Terminal Repair Kit

Memory Seat Module - Driver X1

Pin

Wire Color

Circuit No.

Function

1

--

--

Not Used

2

0.85 GY/RD

285

Driver Seat Horizontal Motor Forward Control

3

0.85 D-BU

283

Driver Seat Rear Vertical Motor Down Control

4

0.85 D-GN/YE

282

Driver Seat Rear Vertical Motor Up Control

5

1.25 RD/BK

4740

Seat Module Supply Voltage

6

--

--

Not Used

7

0.85 BN

286

Driver Seat Front Vertical Motor Up Control

8

0.85 D-BU/RD

287

Driver Seat Front Vertical Motor Down Control

9

0.85 GY

284

Driver Seat Horizontal Motor Rearward Control

10

0.5 BK/OG

1350

Ground

11

1.25 BK

1350

Ground

12

0.3 D-BU/GN

1674

Driver Power Seat Select Switch Signal

Memory Seat Module - Driver X2


Object Number: 1989589  Size: CH

Connector Part Information

  • OEM: 174045-2
  • Service: See Catalog
  • Description: 12-Way

Terminal Part Information

  • Terminal/Tray: See Terminal Repair Kit
  • Core/Insulation Crimp: See Terminal Repair Kit
  • Release Tool/Test Probe: See Terminal Repair Kit

Memory Seat Module - Driver X2

Pin

Wire Color

Circuit No.

Function

1

0.3 D-GN/BN

570

Driver Seat Recline Motor Position Sensor Signal

2-5

--

--

Not Used

6

0.85 YE

276

Recline Forward Switch Signal

7-10

--

--

Not Used

11

0.85 PU/GN

277

Recline Rearward Switch Signal

12

0.85 D-GN/RD

767

Driver Seat Lumbar Down Switch Signal

Memory Seat Module - Driver X3


Object Number: 1989592  Size: CH

Connector Part Information

  • OEM: 175967-2
  • Service: See Catalog
  • Description: 20-Way F

Terminal Part Information

  • Terminal/Tray: See Terminal Repair Kit
  • Core/Insulation Crimp: See Terminal Repair Kit
  • Release Tool/Test Probe: See Terminal Repair Kit

Memory Seat Module - Driver X3

Pin

Wire Color

Circuit No.

Function

1

0.5 RD/OG

6839

Memory Mirror Voltage

2

0.3 BN/WH

1270

Power Seat Recline Rearward Switch Signal

3

0.3 TN

1522

Power Seat Horizontal Rearward Switch Signal

4

0.3 D-GN/BU

1523

Power Seat Horizontal Forward Switch Signal

5

0.3 BK/BU

1518

Power Seat Front Vertical Up Switch Signal

6

0.3 OG/BN

1064

Driver Seat Lumbar Rearward Switch Signal

7

0.3 RD/WH

1520

Power Seat Front Vertical Down Switch Signal

8

0.3 D-GN/PK

5979

Memory 2 Switch Control Signal

9

0.3 TN/BK

5978

Memory 1 Switch Control Signal

10

0.3 PK/BU

7363

MOD_WK

11

0.3 D-BU/WH

7006

Mirror Control Signal

12

0.3 D-BU/BK

1065

Driver Seat Lumbar Forward Switch Signal

13

0.3 YE/BU

1521

Power Seat Rear Vertical Down Switch Signal

14

0.3 BN/RD

1269

Power Seat Recline Forward Switch Signal

15

--

--

Not Used

16

0.3 PK

1519

Power Seat Rear Vertical Up Switch Signal

17

--

--

Not Used

18

0.3 WH/RD

612

Right Front Adaptive Seat Switch / Mirror Dip Control Signal

19

0.3 YE/RD

782

Memory 3 Switch Control Signal

20

0.3 PU/WH

1061

UART Serial Data

Memory Seat Module - Driver X4


Object Number: 1989594  Size: CH

Connector Part Information

  • OEM: 175966-2
  • Service: See Catalog
  • Description: 16-Way F

Terminal Part Information

  • Terminal/Tray: See Terminal Repair Kit
  • Core/Insulation Crimp: See Terminal Repair Kit
  • Release Tool/Test Probe: See Terminal Repair Kit

Memory Seat Module - Driver X4

Pin

Wire Color

Circuit No.

Function

1-4

--

--

Not Used

5

0.3 WH/GY

569

Horizontal Seat Motor Position Sensor Signal

6

--

--

Not Used

7

0.3 D-GN/PU

2940

Rear Vertical Seat Motor Position Sensor Voltage Reference

8

0.3 D-GN/WH

3040

Front Vertical Seat Motor Position Sensor Voltage Reference

9

0.3 RD/GN

568

Rear Vertical Seat Motor Position Sensor Signal

10

0.3 BN/BU

557

Front Vertical Seat Motor Position Sensor Signal

11-15

--

--

Not Used

16

0.5 BK/GY

2851

Memory Mirror Ground

Mode Actuator - Left


Object Number: 1283833  Size: CH

Connector Part Information

  • OEM: 7283-5830-30
  • Service: See Catalog
  • Description: 5-Way F Yazaki (BK)

Terminal Part Information

  • Terminal/Tray: See Terminal Repair Kit
  • Core/Insulation Crimp: See Terminal Repair Kit
  • Release Tool/Test Probe: See Terminal Repair Kit

Mode Actuator - Left

Pin

Wire Color

Circuit No.

Function

1

0.3 BN

2273

Mode Actuator 1 - Power

2

0.3 BK

119

Mode Actuator 1 - Control

3

0.3 D-BU

1791

Low Reference

4

0.3 GY

2275

Mode Actuator 1 - Feedback

5

0.3 D-GN

474

5-Volt Reference

Mode Actuator - Right


Object Number: 1283833  Size: CH

Connector Part Information

  • OEM: 7283-5830-30
  • Service: See Catalog
  • Description: 5-Way F Yazaki (BK)

Terminal Part Information

  • Terminal/Tray: See Terminal Repair Kit
  • Core/Insulation Crimp: See Terminal Repair Kit
  • Release Tool/Test Probe: See Terminal Repair Kit

Mode Actuator - Right

Pin

Wire Color

Circuit No.

Function

1

0.3 L-GN

2210

Mode Actuator 2 - Power

2

0.3 OG

1791

Mode Actuator 2 - Control

3

0.3 L-BU

720

Low Reference

4

0.3 RD

1899

Mode Actuator 2 - Feedback

5

0.3 PK

1236

5-Volt Reference

Mode Actuator - Auxiliary (C63)


Object Number: 1989413  Size: CH

Connector Part Information

  • OEM:
  • Service: See Catalog
  • Description: 5-Way F

Terminal Part Information

  • Terminal/Tray: See Terminal Repair Kit
  • Core/Insulation Crimp: See Terminal Repair Kit
  • Release Tool/Test Probe: See Terminal Repair Kit

Mode Actuator - Auxiliary (C63)

Pin

Wire Color

Circuit No.

Function

1

0.3 D-GN/BU

6555

Mode Actuator Rear - Power

2

0.3 D-GN/RD

6556

Mode Actuator Rear - Control

3

0.3 D-GN/YE

645

Low Reference

4

0.3 D-GN/WH

6558

Mode Actuator Rear - Feedback

5

0.3 D-GN/OG

5718

5-Volt Reference

Multifunction Switch - Center Console


Object Number: 2091135  Size: CH

Connector Part Information

  • OEM: 7119-1306
  • Service: See Catalog
  • Description: 8-Way F (WH)

Terminal Part Information

  • Terminal/Tray: 928999-5/15
  • Core/Insulation Crimp: H/H
  • Release Tool/Test Probe: 12094429/J-35616-64B (L-BU)

Multifunction Switch - Center Console

Pin

Wire Color

Circuit No.

Function

1

0.3 YE

6817

LED Backlight Dimming Control

2

0.3 BK

850

Ground

3

0.3 L-BU

553

Tow/Haul Switch Signal

4

--

--

Not Used

5

0.3 BN/OG

1571

Traction Control Switch Signal

6

0.3 GY

2555

Object Detection Disable Signal

7

0.3 BN

5852

Instrument Panel Lamp Supply Voltage

8

0.3 PU/WH

6816

Object Detection Disable Signal

Navigation Gateway Module (RHD)


Object Number: 1989506  Size: CH

Connector Part Information

  • OEM: 1318774-1
  • Service: See Catalog
  • Description: 12-Way F

Terminal Part Information

  • Terminal/Tray: See Terminal Repair Kit
  • Core/Insulation Crimp: See Terminal Repair Kit
  • Release Tool/Test Probe: See Terminal Repair Kit

Navigation Gateway Module (RHD)

Pin

Wire Color

Circuit No.

Function

1

0.3 BN

1171

Navigation Display Serial Data High

2

0.3 OG

2354

Navigation Display Serial Data High

3

0.85 OG

5748

Mute Signal

4

--

--

Not Used

5

0.5 L-GN

5060

Low Speed GMLAN Serial Data

6

0.85 OG/WH

2340

Battery Positive Voltage

7

0.3 YE

1219

Navigation Display Serial Data Low

8

0.3 YE

1491

Backlight Lamps Control

9-11

--

--

Not Used

12

0.5 BK/WH

1050

Ground

Navigation Module X1 (RHD)


Object Number: 1989512  Size: CH

Connector Part Information

  • OEM: 962189-1
  • Service: See Catalog
  • Description: 8-Way F (GY)

Terminal Part Information

  • Terminal/Tray: See Terminal Repair Kit
  • Core/Insulation Crimp: See Terminal Repair Kit
  • Release Tool/Test Probe: See Terminal Repair Kit

Navigation Module X1 (RHD)

Pin

Wire Color

Circuit No.

Function

A1-A3

--

--

Not Used

A4

0.85 OG/WH

2340

Battery Positive Voltage

A5

--

--

Not Used

A6

0.3 YE

1491

Backlight Lamps Control

A7

0.3 OG

2354

Navigation Control Signal

A8

0.85 BK/WH

1050

Ground

Navigation Module X2 (RHD)


Object Number: 1989517  Size: CH

Connector Part Information

  • OEM: 962191-1
  • Service: See Catalog
  • Description: 8-Way F (TN)

Terminal Part Information

  • Terminal/Tray: See Terminal Repair Kit
  • Core/Insulation Crimp:See Terminal Repair Kit
  • Release Tool/Test Probe: See Terminal Repair Kit

Navigation Module X2 (RHD)

Pin

Wire Color

Circuit No.

Function

A1-A4

--

--

Not Used

A5

0.3 PK/BK

2062

Navigation Mono Audio Signal (+)

A6

0.3 OG/BK

2061

Navigation Mono Audio Signal (-)

A7-A8

--

--

Not Used

Navigation Module X3 (RHD)


Object Number: 1989520  Size: CH

Connector Part Information

  • OEM: 30220317
  • Service: See Catalog
  • Description: 20-Way F

Terminal Part Information

  • Terminal/Tray: See Terminal Repair Kit
  • Core/Insulation Crimp: See Terminal Repair Kit
  • Release Tool/Test Probe: See Terminal Repair Kit

Navigation Module X3 (RHD)

Pin

Wire Color

Circuit No.

Function

C1-C6

--

--

Not Used

C7

0.3 BN

1171

Navigation Display Serial Data High

C8

0.3 YE

1219

Navigation Display Serial Data Low

C9-C20

--

--

Not Used

Navigation Module X4 (RHD)


Object Number: 1989524  Size: CH

Connector Part Information

  • OEM: 962190-1
  • Service: See Catalog
  • Description:10-Way F (BK)

Terminal Part Information

  • Terminal/Tray: See Terminal Repair Kit
  • Core/Insulation Crimp: See Terminal Repair Kit
  • Release Tool/Test Probe: See Terminal Repair Kit

Navigation Module X4 (RHD)

Pin

Wire Color

Circuit No.

Function

A1-A3

--

--

Not Used

A4

0.85 OG

5748

Mute Signal

A5-A10

--

--

Not Used

Navigation Module X5 (RHD)


Object Number: 1989526  Size: CH

Connector Part Information

  • OEM:
  • Service: See Catalog
  • Description: 2-Way

Terminal Part Information

  • Terminal/Tray: See Terminal Repair Kit
  • Core/Insulation Crimp:See Terminal Repair Kit
  • Release Tool/Test Probe: See Terminal Repair Kit

Navigation Module X5 (RHD)

Pin

Wire Color

Circuit No.

Function

A

0.5 OG

5174

Antenna Signal

B

0.5 GY

5175

Drain Wire

Navigation Module X6 (RHD)


Object Number: 1989528  Size: CH

Connector Part Information

  • OEM: 06031501440
  • Service: See Catalog
  • Description: 15-Way

Terminal Part Information

  • Terminal/Tray: See Terminal Repair Kit
  • Core/Insulation Crimp: See Terminal Repair Kit
  • Release Tool/Test Probe: See Terminal Repair Kit

Navigation Module X6 (RHD)

Pin

Wire Color

Circuit No.

Function

1

0.3 RD

2047

Video Connector - R

2

0.3 D-GN

2048

Video Connector - G

3

0.3 WH

2049

Video Connector - B

4

0.3 BK

5231

Ground

5

0.3 YE

2045

Video Connector - Sync

6

0.3 BK

5346

Drain Wire

Navigation Module X7 (RHD)


Object Number: 2005132  Size: CH

Connector Part Information

  • OEM: 7219-1198-30
  • Service: See Catalog
  • Description:

Terminal Part Information

  • Terminal/Tray: See Terminal Repair Kit
  • Core/Insulation Crimp: See Terminal Repair Kit
  • Release Tool/Test Probe: See Terminal Repair Kit

Navigation Module X7 (RHD)

Pin

Wire Color

Circuit No.

Function

1

0.3 WH

 

Video Connector - B

2

--

--

Not Used

3

0.3 RD

2047

Video Connector - R

4-9

--

--

Not Used

10

0.3 BK

5231

Ground

11

0.3 D-GN

2048

Video Connector - G

12

--

--

Not Used

13

0.3 YE

2045

Video Connector - Sync

14-18

--

--

Not Used

Object Alarm Sensor - Left Front Corner


Object Number: 1989554  Size: CH

Connector Part Information

  • OEM: 31404-3710
  • Service: See Catalog
  • Description: 3-Way F

Terminal Part Information

  • Terminal/Tray: See Terminal Repair Kit
  • Core/Insulation Crimp: See Terminal Repair Kit
  • Release Tool/Test Probe: See Terminal Repair Kit

Object Alarm Sensor - Left Front Corner

Pin

Wire Color

Circuit No.

Function

1

0.3 BN

6581

Object Sensor Supply Voltage

2

0.3 OG/BK

5214

Object Sensor Low Reference

3

0.3 PU/WH

5215

LF Corner Object Sensor Signal

Object Alarm Sensor - Left Front Middle


Object Number: 1989554  Size: CH

Connector Part Information

  • OEM: 31404-3710
  • Service: See Catalog
  • Description: 3-Way F

Terminal Part Information

  • Terminal/Tray: See Terminal Repair Kit
  • Core/Insulation Crimp: See Terminal Repair Kit
  • Release Tool/Test Probe: See Terminal Repair Kit

Object Alarm Sensor - Left Front Middle

Pin

Wire Color

Circuit No.

Function

1

0.3 BN

6581

Object Sensor Supply Voltage

2

0.3 OG/BK

5214

Object Sensor Low Reference

3

0.3 WH

5216

LF Middle Object Sensor Signal

Object Alarm Sensor - Left Rear Corner


Object Number: 1989554  Size: CH

Connector Part Information

  • OEM: 31404-3710
  • Service: See Catalog
  • Description: 3-Way F

Terminal Part Information

  • Terminal/Tray: See Terminal Repair Kit
  • Core/Insulation Crimp: See Terminal Repair Kit
  • Release Tool/Test Probe: See Terminal Repair Kit

Object Alarm Sensor - Left Rear Corner

Pin

Wire Color

Circuit No.

Function

1

0.3 D-BU

2374

Object Sensor Supply Voltage

2

0.3 GY

2379

Object Sensor Low Reference

3

0.3 YE

2375

LR Corner Object Sensor Signal

Object Alarm Sensor - Left Rear Middle


Object Number: 1989554  Size: CH

Connector Part Information

  • OEM: 31404-3710
  • Service: See Catalog
  • Description: 3-Way F

Terminal Part Information

  • Terminal/Tray: See Terminal Repair Kit
  • Core/Insulation Crimp: See Terminal Repair Kit
  • Release Tool/Test Probe: See Terminal Repair Kit

Object Alarm Sensor - Left Rear Middle

Pin

Wire Color

Circuit No.

Function

1

0.3 D-BU

2374

Object Sensor Supply Voltage

2

0.3 GY

2379

Object Sensor Low Reference

3

0.3 OG

2376

LR Middle Object Sensor Signal

Object Alarm Sensor - Right Front Corner


Object Number: 1989554  Size: CH

Connector Part Information

  • OEM: 31404-3710
  • Service: See Catalog
  • Description: 3-Way F

Terminal Part Information

  • Terminal/Tray: See Terminal Repair Kit
  • Core/Insulation Crimp: See Terminal Repair Kit
  • Release Tool/Test Probe: See Terminal Repair Kit

Object Alarm Sensor - Right Front Corner

Pin

Wire Color

Circuit No.

Function

1

0.3 BN

6581

Object Sensor Supply Voltage

2

0.3 OG/BK

5214

Object Sensor Low Reference

3

0.3 BN/WH

5217

RF Corner Object Sensor Signal

Object Alarm Sensor - Right Front Middle


Object Number: 1989554  Size: CH

Connector Part Information

  • OEM: 31404-3710
  • Service: See Catalog
  • Description: 3-Way F

Terminal Part Information

  • Terminal/Tray: See Terminal Repair Kit
  • Core/Insulation Crimp: See Terminal Repair Kit
  • Release Tool/Test Probe: See Terminal Repair Kit

Object Alarm Sensor - Right Front Middle

Pin

Wire Color

Circuit No.

Function

1

0.3 BN

6581

Object Sensor Supply Voltage

2

0.3 OG/BK

5214

Object Sensor Low Reference

3

0.3 PU/BK

5218

RF Middle Object Sensor Signal

Object Alarm Sensor - Right Rear Corner


Object Number: 1989554  Size: CH

Connector Part Information

  • OEM: 31404-3710
  • Service: See Catalog
  • Description: 3-Way F

Terminal Part Information

  • Terminal/Tray: See Terminal Repair Kit
  • Core/Insulation Crimp: See Terminal Repair Kit
  • Release Tool/Test Probe: See Terminal Repair Kit

Object Alarm Sensor - Right Rear Corner

Pin

Wire Color

Circuit No.

Function

1

0.3 D-BU

2374

Object Sensor Supply Voltage

2

0.3 GY

2379

Object Sensor Low Reference

3

0.3 PU

2378

RR Corner Object Sensor Signal

Object Alarm Sensor - Right Rear Middle


Object Number: 1989554  Size: CH

Connector Part Information

  • OEM: 31404-3710
  • Service: See Catalog
  • Description: 3-Way F

Terminal Part Information

  • Terminal/Tray: See Terminal Repair Kit
  • Core/Insulation Crimp: See Terminal Repair Kit
  • Release Tool/Test Probe: See Terminal Repair Kit

Object Alarm Sensor - Right Rear Middle

Pin

Wire Color

Circuit No.

Function

1

0.3 D-BU

2374

Object Sensor Supply Voltage

2

0.3 GY

2379

Object Sensor Low Reference

3

0.3 D-GN

2377

RR Middle Object Sensor Signal

Oil Pressure Gauge


Object Number: 1989635  Size: CH

Connector Part Information

  • OEM:
  • Service: See Catalog
  • Description: 6-Way F

Terminal Part Information

  • Terminal/Tray: See Terminal Repai Kit
  • Core/Insulation Crimp: See Terminal Repai Kit
  • Release Tool/Test Probe: See Terminal Repai Kit

Oil Pressure Gauge

Pin

Wire Color

Circuit No.

Function

1

0.3 YE

 

Low Speed GMLAN Serial Data

2

0.3 D-BU

 

Ground

3

0.3 D-BU/RD

 

Battery Positive Voltage

4

0.3 YE

 

Low Speed GMLAN Serial Data

5

0.3 D-BU

 

Ground

6

0.3 D-BU/RD

 

Battery Positive Voltage

Oil Temperature Gauge


Object Number: 1989635  Size: CH

Connector Part Information

  • OEM:
  • Service: See Catalog
  • Description: 6-Way F

Terminal Part Information

  • Terminal/Tray: See Terminal Repair Kit
  • Core/Insulation Crimp: See Terminal Repair Kit
  • Release Tool/Test Probe: See Terminal Repair Kit

Oil Temperature Gauge

Pin

Wire Color

Circuit No.

Function

1

0.3 YE

 

Low Speed GMLAN Serial Data

2

0.3 D-BU

 

Ground

3

0.3 D-BU/RD

 

Battery Positive Voltage

4

0.3 YE

 

Low Speed GMLAN Serial Data

5

0.3 D-BU

 

Ground

6

0.3 D-BU

 

Battery Positive Voltage

Outside Moisture Sensor


Object Number: 1989395  Size: CH

Connector Part Information

  • OEM:
  • Service: See Catalog
  • Description: 4-Way

Terminal Part Information

  • Terminal/Tray: See Terminal Repair Kit
  • Core/Insulation Crimp: See Terminal Repair Kit
  • Release Tool/Test Probe: See Terminal Repair Kit

Outside Moisture Sensor

Pin

Wire Color

Circuit No.

Function

1

0.3 L-GN

 

Outside Moisture Sensor Signal 2

2

0.3 BN

 

Outside Moisture Sensor Signal 1

3

0.5 BK/WH

 

Ground

4

0.5 BN

 

Ignition Voltage 1

Outside Rearview Mirror - Driver


Object Number: 1989622  Size: CH

Connector Part Information

  • OEM: 7183-9618
  • Service: See Catalog
  • Description: 6-Way F (WH)

Terminal Part Information

  • Terminal/Tray: See Terminal Repair Kit
  • Core/Insulation Crimp: See Terminal Repair Kit
  • Release Tool/Test Probe: See Terminal Repair Kit

Outside Rearview Mirror - Driver

Pin

Wire Color

Circuit No.

Function

1

0.5 WH

7391

Power Window Switch Right and Up

2

0.5 WH/BK

81

Driver Mirror Motor Right Control

3

0.5 BN

5998

Puddle Lamp Supply Voltage

4

0.5 L-GN/BK

89

Driver Mirror Motor Down Control

5

--

--

Not Used

6

0.5 BK

2050

Ground

Outside Rearview Mirror - Passenger


Object Number: 1989622  Size: CH

Connector Part Information

  • OEM: 7183-9618
  • Service: See Catalog
  • Description: 6-Way F (WH)

Terminal Part Information

  • Terminal/Tray: See Terminal Repair Kit
  • Core/Insulation Crimp: See Terminal Repair Kit
  • Release Tool/Test Probe: See Terminal Repair Kit

Outside Rearview Mirror - Passenger

Pin

Wire Color

Circuit No.

Function

1

0.5 WH/BU

7391

Power Window Switch Right and Up

2

0.5 OG/WH

881

Passenger Mirror Motor Right Control

3

0.5 BN

5998

Puddle Lamp Supply Voltage

4

0.5 PU/WH

889

Passenger Mirror Motor Down Control

5

--

--

Not Used

6

0.5 BK

1350

Ground

Outside Rearview Mirror Switch


Object Number: 1989624  Size: CH

Connector Part Information

  • OEM:
  • Service: See Catalog
  • Description: 12-Way F

Terminal Part Information

  • Terminal/Tray: See Terminal Repair Kit
  • Core/Insulation Crimp: See Terminal Repair Kit
  • Release Tool/Test Probe: See Terminal Repair Kit

Outside Rearview Mirror Switch

Pin

Wire Color

Circuit No.

Function

1

0.3 YE/GN

7006

Mirror Control Signal

2

--

--

Not Used

3

0.5 WH

1514

Left Mirror Switch Down Signal

4

0.5 D-BU

1513

Right Mirror Switch Right Signal

5

0.5 RD

5477

Switch Voltage

6

0.5 BK

5478

Ground

7

0.5 OG

1512

Left Mirror Switch Right Signal

8

0.3 YE

5636

Left/Right Mirror Selector Switch Signal

9

0.5 D-GN

1515

Right Mirror Switch Down Signal

10

0.5 BK/GN

2851

Memory Mirror Ground

11

--

--

Not Used

12

0.5 RD/BU

6839

Memory Mirror Voltage

Park Brake Switch


Object Number: 1989578  Size: CH

Connector Part Information

  • OEM: 175193-1
  • Service: See Catalog
  • Description: 2-Way F (SR)

Terminal Part Information

  • Terminal/Tray: See Terminal Repair Kit
  • Core/Insulation Crimp: See Terminal Repair Kit
  • Release Tool/Test Probe: See Terminal Repair Kit

Park Brake Switch

Pin

Wire Color

Circuit No.

Function

B

0.85 OG/BK

233

Park Brake Switch Signal

Park/Neutral Position (PNP) Switch (M30 or M32)


Object Number: 1989516  Size: CH

Connector Part Information

  • OEM: 15416722
  • Service: See Catalog
  • Description: 12-Way F

Terminal Part Information

  • Terminal/Tray: See Terminal Repair Kit
  • Core/Insulation Crimp: See Terminal Repair Kit
  • Release Tool/Test Probe: See Terminal Repair Kit

Park/Neutral Position (PNP) Switch (M30 or M32)

Pin

Wire Color

Circuit No.

Function

1-2

--

--

Not Used

3

0.5 OG/BK

1786

Park/Neutral Signal

4

0.5 YE

772

Transmission Range Switch Signal B

5

0.5 BN/YE

771

Transmission Range Switch Signal A

6

0.5 GY

773

Transmission Range Switch Signal C

7

0.75 BK

450

Ground

8

0.5 WH

776

Transmission Range Switch Signal P

9-12

--

--

Not Used

Pressure Control (PC) Solenoid Valve


Object Number: 82345  Size: CH

Connector Part Information

  • OEM: 12146094
  • Service: See Catalog
  • Description: 2-Way F Metri-Pack 150.2 Series, Sealed, Pull To Seat (GY)

Terminal Part Information

  • Terminal/Tray: See Terminal Repair Kit
  • Core/Insulation Crimp: See Terminal Repair Kit
  • Release Tool/Test Probe: See Terminal Repair Kit

Pressure Control (PC) Solenoid Valve

Pin

Wire Color

Circuit No.

Function

A

0.5 D-GN

1228

PC Solenoid Valve High Control

B

0.5 WH

1229

PC Solenoid Valve Low Control

Radio X1


Object Number: 1989342  Size: CH

Connector Part Information

  • OEM: 7183-2325-30
  • Service: See Catalog
  • Description: 8-Way F (BK)

Terminal Part Information

  • Terminal/Tray: See Terminal Repair Kit
  • Core/Insulation Crimp: See Terminal Repair Kit
  • Release Tool/Test Probe: See Terminal Repair Kit

Radio X1

Pin

Wire Color

Circuit No.

Function

1

0.5 L-BU

115

Right Rear Speaker Output (-) (U65 or UW5)

0.5 BN/BU

1946

Right Rear Speaker Output (-) (UQ7)

2

0.5 D-GN

117

Right Front Speaker Output (-) (U65 or UW5)

0.5 L-GN

1948

Right Front Speaker Output (-) (UQ7)

3

0.5 GY

118

Left Front Speaker Output (-) (U65 or UW5)

0.5 D-GN

1947

Left Front Speaker Output (-) (UQ7)

4

0.5 YE/RD

116

Left Rear Speaker Output (-) (U65 or UW5)

0.5 BN

1999

Left Rear Speaker Output (-) (UQ7)

5

0.5 D-BU

46

Right Rear Speaker Output (+) (U65 or UW5)

0.5 D-BU

546

Right Rear Speaker Output (+) (UQ7)

6

0.5 L-GN

200

Right Front Speaker Output (+) (U65 or UW5)

0.5 L-GN/WH

512

Right Front Speaker Output (+) (UQ7)

7

0.5 BN

201

Left Front Speaker Output (+) (U65 or UW5)

0.5 BN/OG

511

Left Front Speaker Output (+) (UQ7)

8

0.5 BN

199

Left Rear Speaker Output (+) (U65 or UW5)

0.5 BN/WH

599

Left Rear Speaker Output (+) (UQ7)

Radio X2


Object Number: 1989354  Size: CH

Connector Part Information

  • OEM: 7283-8776-30
  • Service: See Catalog
  • Description: 8-Way F (BK)

Terminal Part Information

  • Terminal/Tray: See Terminal Repair Kit
  • Core/Insulation Crimp: See Terminal Repair Kit
  • Release Tool/Test Probe: See Terminal Repair Kit

Radio X2

Pin

Wire Color

Circuit No.

Function

9

0.5 L-BU

1860

Front Center Speaker Output (+)

10

0.85 OG/BU

4340

Battery Positive Voltage (RHD)

0.85 RD/WH

4340

Battery Positive Voltage (LHD)

11

--

--

Not Used

12

1.25 BK

1050

Ground

13

0.5 OG

1860

Front Center Speaker Output (+)

14

0.85 OG/BU

4340

Battery Positive Voltage (RHD)

0.85 RD/WH

4340

Battery Positive Voltage (LHD)

15

--

--

Not Used

16

1.25 BK

1050

Ground

Radio X3


Object Number: 1989357  Size: CH

Connector Part Information

  • OEM: 7119-1013-30
  • Service: See Catalog
  • Description: 12-Way F (BK)

Terminal Part Information

  • Terminal/Tray: See Terminal Repair Kit
  • Core/Insulation Crimp: See Terminal Repair Kit
  • Release Tool/Test Probe: See Terminal Repair Kit

Radio X3

Pin

Wire Color

Circuit No.

Function

1

--

--

Not Used

2

0.3 D-BU/WH

7001

Common Auxiliary Audio Signal (-) (UQ7)

3

0.3 RD

5839

Auxiliary Audio Left Signal (+) (UQ7)

4

0.3 OG/BK

2061

Navigation Mono Audio Signal (-)

5

0.3 PK

367

Left Audio Signal (+)

6

0.3 D-GN/WH

1547

Common Audio Signal (-)

7-8

--

--

Not Used

9

0.3 D-GN

5841

Auxiliary Audio Right Signal (+) (UQ7)

10

0.3 PK/BK

2062

Navigation Mono Audio Signal (+)

11

0.3 D-BU

368

Right Audio Signal (+)

12

--

--

Not Used

Radio X4


Object Number: 1989357  Size: CH

Connector Part Information

  • OEM: 7119-1013-30
  • Service: See Catalog
  • Description: 12-Way F (BK)

Terminal Part Information

  • Terminal/Tray: See Terminal Repair Kit
  • Core/Insulation Crimp: See Terminal Repair Kit
  • Release Tool/Test Probe: See Terminal Repair Kit

Radio X4

Pin

Wire Color

Circuit No.

Function

1

0.3 L-BU

659

Telephone Audio Signal (-)

2-3

--

--

Not Used

4

0.85 OG/BU

1573

Battery Positive Voltage (RHD)

0.85 RD/WH

1573

Battery Positive Voltage (LHD)

5

0.3 WH

700

Telephone Audio Signal Mute

6

0.35 D-GN

5060

Low Speed GMLAN Serial Data

7

0.3 OG/BK

658

Telephone Audio Signal (+)

8-9

--

--

Not Used

10

0.5 OG

6978

Amplifier Mute Control (UQ7)

11

0.5 WH

7066

Amplifier Enable Signal (UQ7)

12

--

--

Not Used

Rail Pressure/Temperature Sensor (LPG)


Object Number: 2082593  Size: CH

Connector Part Information

Terminal Part Information


Rail Pressure/Temperature Sensor (LPG)

Pin

Wire Color

Circuit No.

Function

1

0.5 BK

--

Ground

2

0.5 GN

--

Relay Controlled Voltage

3

0.75 RD

--

+5 Voltage Input

4

0.5 WH

--

Gas Temperature Signal

Rear Compartment Courtesy Lamp X1


Object Number: 1989270  Size: CH

Connector Part Information

  • OEM: 7123-0073-30
  • Service: See Catalog
  • Description: 1-Way F (BK)

Terminal Part Information

  • Terminal/Tray: See Terminal Repair Kit
  • Core/Insulation Crimp: See Terminal Repair Kit
  • Release Tool/Test Probe: See Terminal Repair Kit

Rear Compartment Courtesy Lamp X1

Pin

Wire Color

Circuit No.

Function

A

0.85 OG

1732

Courtesy Lamps Supply Voltage

Rear Compartment Courtesy Lamp X2


Object Number: 1989270  Size: CH

Connector Part Information

  • OEM: 7123-0073-30
  • Service: See Catalog
  • Description: 1-Way F (BK)

Terminal Part Information

  • Terminal/Tray: See Terminal Repair Kit
  • Core/Insulation Crimp: See Terminal Repair Kit
  • Release Tool/Test Probe: See Terminal Repair Kit

Rear Compartment Courtesy Lamp X2

Pin

Wire Color

Circuit No.

Function

A

0.5 D-BU

737

Rear Compartment Lamp Control

Rear Compartment Lid Latch


Object Number: 1989596  Size: CH

Connector Part Information

  • OEM: 7283-9909-30
  • Service: See Catalog
  • Description: 4-Way F (BK)

Terminal Part Information

  • Terminal/Tray: See Terminal Repair Kit
  • Core/Insulation Crimp: See Terminal Repair Kit
  • Release Tool/Test Probe: See Terminal Repair Kit

Rear Compartment Lid Latch

Pin

Wire Color

Circuit No.

Function

1

0.3 OG/BK

744

Rear Compartment Lid Ajar Switch Signal

2

0.5 D-BU

737

Rear Compartment Lamp Control

3

0.85 BN/WH

56

Rear Compartment Lid Release Actuator

4

0.85 BK

1850

Ground

Rear Compartment Lid Release Switch


Object Number: 1989602  Size: CH

Connector Part Information

  • OEM: 7123-9610
  • Service: See Catalog
  • Description: 2-Way F (WH)

Terminal Part Information

  • Terminal/Tray: See Terminal Repair Kit
  • Core/Insulation Crimp: See Terminal Repair Kit
  • Release Tool/Test Probe: See Terminal Repair Kit

Rear Compartment Lid Release Switch

Pin

Wire Color

Circuit No.

Function

A

0.5 D-BU

6189

Rear Compartment Relay Switch

B

0.5 BK/WH

1450

Ground

Rear Lock-Off/Service Solenoid Assembly (LPG)


Object Number: 2082593  Size: CH

Connector Part Information

Terminal Part Information


Rear Lock-Off/Service Solenoid Assembly (LPG)

Pin

Wire Color

Circuit No.

Function

1

0.5 BK

--

Ground

2

0.5 GN

--

Relay Controlled Voltage

3

0.75 WH

--

Fuel Level Output

4

0.5 BKGN

--

Rear Lock-Off Control

Rear Object Sensor Control Module Connector


Object Number: 1989562  Size: CH

Connector Part Information

  • OEM: 7282-1040
  • Service: See Catalog
  • Description: 4-Way M 090 II Series (NA)

Terminal Part Information

  • Pins: 1, 3
  • Terminal/Tray: 7114-4020/10
  • Core/Insulation Crimp: E/C
  • Release Tool/Test Probe: 15315247/J-35616-19 (BK)
  • Pin: 2
  • Terminal/Tray: 7114-4021/10
  • Core/Insulation Crimp: E/A
  • Release Tool/Test Probe: 15315247/J-35616-19 (BK)

Rear Object Sensor Control Module Connector

Pin

Wire Color

Circuit No.

Function

1

0.5 BN/BU

343

Accessory Voltage

2

0.85 L-GN

24

Backup Lamp Supply Voltage

3

0.5 BK

1650

Ground

4

--

--

Not Used

Rear Park Assist Module X2


Object Number: 1989377  Size: CH

Connector Part Information

  • OEM:
  • Service: See Catalog
  • Description: 3-Way F

Terminal Part Information

  • Terminal/Tray: See Terminal Repair Kit
  • Core/Insulation Crimp: See Terminal Repair Kit
  • Release Tool/Test Probe: See Terminal Repair Kit

Rear Park Assist Module X2

Pin

Wire Color

Circuit No.

Function

1

1 BK

 

Ground

2

2 RD

 

Ultrasonic signal

3

--

--

Not Used

Rear Park Assist Module X3


Object Number: 1989377  Size: CH

Connector Part Information

  • OEM:
  • Service: See Catalog
  • Description: 3-Way F

Terminal Part Information

  • Terminal/Tray: See Terminal Repair Kit
  • Core/Insulation Crimp: See Terminal Repair Kit
  • Release Tool/Test Probe: See Terminal Repair Kit

Rear Park Assist Module X3

Pin

Wire Color

Circuit No.

Function

1

3 BK

 

Ground

2

4 RD

 

Ultrasonic signal

3

--

--

Not Used

Rear Park Assist Module X4


Object Number: 1989377  Size: CH

Connector Part Information

  • OEM:
  • Service: See Catalog
  • Description: 3-Way F

Terminal Part Information

  • Terminal/Tray: See Terminal Repair Kit
  • Core/Insulation Crimp: See Terminal Repair Kit
  • Release Tool/Test Probe: See Terminal Repair Kit

Rear Park Assist Module X4

Pin

Wire Color

Circuit No.

Function

1

5 BK

 

Ground

2

6 RD

 

Ultrasonic signal

3

--

--

Not Used

Rear Park Assist Module X5


Object Number: 1989377  Size: CH

Connector Part Information

  • OEM:
  • Service: See Catalog
  • Description: 3-Way F

Terminal Part Information

  • Terminal/Tray: See Terminal Repair Kit
  • Core/Insulation Crimp: See Terminal Repair Kit
  • Release Tool/Test Probe: See Terminal Repair Kit

Rear Park Assist Module X5

Pin

Wire Color

Circuit No.

Function

1

7 BK

 

Ground

2

8 RD

 

Ultrasonic signal

3

--

--

Not Used

Rear Park Assist Ground Connector X1


Object Number: 1989275  Size: CH

Connector Part Information

  • OEM:
  • Service: See Catalog
  • Description: 1-Way F

Terminal Part Information

  • Terminal/Tray: See Terminal Repair Kit
  • Core/Insulation Crimp: See Terminal Repair Kit
  • Release Tool/Test Probe: See Terminal Repair Kit

Rear Park Assist Ground Connector X1

Pin

Wire Color

Circuit No.

Function

1

8 BK

 

Ground

Rear Park Assist Ground Connector X2


Object Number: 1989275  Size: CH

Connector Part Information

  • OEM:
  • Service: See Catalog
  • Description: 1-Way F

Terminal Part Information

  • Terminal/Tray: See Terminal Repair Kit
  • Core/Insulation Crimp: See Terminal Repair Kit
  • Release Tool/Test Probe: See Terminal Repair Kit

Rear Park Assist Ground Connector X2

Pin

Wire Color

Circuit No.

Function

1

8 BK

 

Ground

Rear Window Defogger Grid X1


Object Number: 1989382  Size: CH

Connector Part Information

  • OEM: 7183-0073-30
  • Service: See Catalog
  • Description: 1-Way F (BK)

Terminal Part Information

  • Terminal/Tray: See Terminal Repair Kit
  • Core/Insulation Crimp: See Terminal Repair Kit
  • Release Tool/Test Probe: See Terminal Repair Kit

Rear Window Defogger Grid X1

Pin

Wire Color

Circuit No.

Function

A

3 PU

293

Rear Defog Element Supply Voltage

Rear Window Defogger Grid X2


Object Number: 1989382  Size: CH

Connector Part Information

  • OEM: 7183-0073-30
  • Service: See Catalog
  • Description: 1-Way F (BK)

Terminal Part Information

  • Terminal/Tray: See Terminal Repair Kit
  • Core/Insulation Crimp: See Terminal Repair Kit
  • Release Tool/Test Probe: See Terminal Repair Kit

Rear Window Defogger Grid X2

Pin

Wire Color

Circuit No.

Function

A

3 BK

1650

Ground

Recirculation Actuator


Object Number: 1283833  Size: CH

Connector Part Information

  • OEM: 7283-5830-30
  • Service: See Catalog
  • Description: 5-Way F Yazaki (BK)

Terminal Part Information

  • Terminal/Tray: See Terminal Repair Kit
  • Core/Insulation Crimp: See Terminal Repair Kit
  • Release Tool/Test Probe: See Terminal Repair Kit

Recirculation Actuator

Pin

Wire Color

Circuit No.

Function

1

0.3 WH/BU

1614

Recirculation Door Control B

2

0.3 WH/BK

2274

Recirculation Door Control Circuit

3

0.3 D-BU/BK

718

Low Reference

4

0.3 WH/RD

1838

Recirculation Door Position Signal

5

0.3 WH/GN

597

5-Volt Reference

Regulator Temperature Sensor (LPG)


Object Number: 2082594  Size: CH

Connector Part Information

Terminal Part Information


Regulator Temperature Sensor (LPG)

Pin

Wire Color

Circuit No.

Function

1

0.5 BU

--

Ground

2

0.5 YE

--

Regulator Temperature Signal

Remote Control Door Lock Receiver (RCDLR)


Object Number: 1989497  Size: CH

Connector Part Information

  • OEM: 7119-1142-60
  • Service: See Catalog
  • Description: 4-Way F (GN)

Terminal Part Information

  • Pins: 1, 4
  • Terminal/Tray: IL-AG5-C1-5000/20
  • Core/Insulation Crimp: J/J
  • Release Tool/Test Probe: J-38125-211/J-35616-64B (L-BU)
  • Pin: 2
  • Terminal/Tray: IL-AG5-C1-5000/20
  • Core/Insulation Crimp: K/K
  • Release Tool/Test Probe: J-38125-211/J-35616-64B (L-BU)

Remote Control Door Lock Receiver (RCDLR)

Pin

Wire Color

Circuit No.

Function

1

0.5 OG/WH

1840

Battery Positive Voltage

2

0.35 D-GN

5060

Low Speed GMLAN Serial Data

3

--

--

Not Used

4

0.5 BK

1650

Ground

Reverse Lockout Solenoid (L98 or HSV)


Object Number: 1989380  Size: CH

Connector Part Information

  • OEM: 12052646
  • Service: See Catalog
  • Description: 2-Way F

Terminal Part Information

  • Terminal/Tray: See Terminal Repair Kit
  • Core/Insulation Crimp: See Terminal Repair Kit
  • Release Tool/Test Probe: See Terminal Repair Kit

Reverse Lockout Solenoid (L98 or HSV or LS2)

Pin

Wire Color

Circuit No.

Function

A

0.75 L-GN

1652

Reverse Lockout Solenoid Control

B

0.75 PK/BK

5705

Reverse Lockout Solenoid Battery Power

Seat Adjuster Switch - Driver (AG3 or AGB)


Object Number: 1989597  Size: CH

Connector Part Information

  • OEM: PH56510040
  • Service: See Catalog
  • Description: 10-Way F

Terminal Part Information

  • Terminal/Tray: See Terminal Repair Kit
  • Core/Insulation Crimp: See Terminal Repair Kit
  • Release Tool/Test Probe: See Terminal Repair Kit

Seat Adjuster Switch - Driver (AG3 or AGB)

Pin

Wire Color

Circuit No.

Function

1

--

--

Not Used

2

0.3 BN/RD

1269

Driver Seat Recline Motor Forward Control

3

0.3 TN

1522

Driver Seat Horizontal Motor Rearward Control

4

0.3 BN/WH

1270

Driver Seat Recline Motor Rearward Control

5

0.3 BN/GN

1674

Reference Voltage

6

0.3 D-GN/BU

1523

Driver Seat Horizontal Motor Forward Control

7

0.3 RD/WH

1520

Driver Seat Front Vertical Motor Down Control

8

0.3 YE/BU

1521

Driver Seat Rear Vertical Motor Down Control

9

0.3 PK

1519

Driver Seat Rear Vertical Motor Up Control

10

0.3 BK/BU

1518

Driver Seat Front Vertical Motor Up Control

Seat Adjuster Switch - Driver (AH6 or AJ6)


Object Number: 1989597  Size: CH

Connector Part Information

  • OEM:
  • Service: See Catalog
  • Description: 10-Way

Terminal Part Information

  • Terminal/Tray: See Terminal Repair Kit
  • Core/Insulation Crimp: See Terminal Repair Kit
  • Release Tool/Test Probe: See Terminal Repair Kit

Seat Adjuster Switch - Driver (AH6 or AJ6)

Pin

Wire Color

Circuit No.

Function

1

2 OG

1140

Battery Positive Voltage

2

2 BK

2050

Ground (LHD)

2 BK

1350

Ground (RHD)

3

2 D-GN

286

Driver Seat Front Vertical Motor Up Control

4

2 D-BU

287

Driver Seat Front Vertical Motor Down Control

5

2 YE

282

Driver Seat Rear Vertical Motor Up Control

6

2 L-BU

283

Driver Seat Rear Vertical Motor Down Control

7

2 TN

285

Driver Seat Horizontal Motor Forward Control

8

2 L-GN

284

Driver Seat Horizontal Motor Rearward Control

9

2 L-GN

276

Driver Seat Recline Motor Forward Control

10

2 L-BU

277

Driver Seat Recline Motor Rearward Control

Seat Adjuster Switch - Passenger


Object Number: 1989599  Size: CH

Connector Part Information

  • OEM:
  • Service: See Catalog
  • Description: 10-Way F

Terminal Part Information

  • Terminal/Tray: See Terminal Repair Kit
  • Core/Insulation Crimp: See Terminal Repair Kit
  • Release Tool/Test Probe: See Terminal Repair Kit

Seat Adjuster Switch - Passenger

Pin

Wire Color

Circuit No.

Function

1

2 OG

1140

Battery Positive Voltage

2

2 BK

1350

Ground (LHD)

2 BK

2050

Ground (RHD)

3

2 D-GN

297

Passenger Seat Front Vertical Motor Up Control

4

2 D-BU

298

Passenger Seat Front Vertical Motor Down Control

5

2 YE

288

Passenger Seat Rear Vertical Motor Up Control

6

2 L-BU

289

Passenger Seat Rear Vertical Motor Down Control

7

2 TN

296

Passenger Seat Horizontal Motor Forward Control

8

2 L-GN

290

Passenger Seat Horizontal Motor Rearward Control

9

2 D-GN

76

Passenger Seat Recline Motor Forward

10

2 D-BU

77

Passenger Seat Recline Motor Rearward

Seat Belt Buckle Pretensioner - Driver


Object Number: 1989447  Size: CH

Connector Part Information

  • OEM: 7183-9857-70
  • Service: 15306012
  • Description: 2-Way M 280 Series (YE)

Terminal Part Information

  • Terminal/Tray: See Terminal Repair Kit
  • Core/Insulation Crimp: See Terminal Repair Kit
  • Release Tool/Test Probe: See Terminal Repair Kit

Seat Belt Buckle Pretensioner - Driver

Pin

Wire Color

Circuit No.

Function

1

0.3 L-GN

2118

Seat Belt Pretensioner - Left - High Control

2

0.3 OG

2119

Seat Belt Pretensioner - Left - Low Control

Seat Belt Retractor Pretensioner - Driver


Object Number: 2091140  Size: CH

Connector Part Information

  • OEM: 7283-5494-60
  • Service: See Catalog
  • Description: 2-Way F (GN)

Terminal Part Information

  • Terminal/Tray: 1411560-2/25
  • Core/Insulation Crimp: E/C
  • Release Tool/Test Probe: 12094429/J-35616-64B (L-BU)

Seat Belt Retractor Pretensioner - Driver

Pin

Wire Color

Circuit No.

Function

1

0.3 WH

7206

Driver Seat Belt Pretensioner Retractor - Low Control

2

0.3 OG/GN

7203

Driver Seat Belt Pretensioner Retractor - High Control

Seat Belt Buckle Pretensioner - Passenger


Object Number: 1989447  Size: CH

Connector Part Information

  • OEM: 7183-9857-70
  • Service: 15306012
  • Description: 2-Way M 280 Series (YE)

Terminal Part Information

  • Terminal/Tray: See Terminal Repair Kit
  • Core/Insulation Crimp: See Terminal Repair Kit
  • Release Tool/Test Probe: See Terminal Repair Kit

Seat Belt Buckle Pretensioner - Passenger

Pin

Wire Color

Circuit No.

Function

1

0.3 BK/WH

2116

Seat Belt Pretensioner - Right - High Control

2

0.3 OG/BK

2117

Seat Belt Pretensioner - Right - Low Control

Seat Belt Retractor Pretensioner - Passenger


Object Number: 2091140  Size: CH

Connector Part Information

  • OEM: 7283-5494-60
  • Service: See Catalog
  • Description: 2-Way F (GN)

Terminal Part Information

  • Terminal/Tray: 1411560-2/25
  • Core/Insulation Crimp: E/C
  • Release Tool/Test Probe: 12094429/J-35616-64B (L-BU)

Seat Belt Retractor Pretensioner - Passenger

Pin

Wire Color

Circuit No.

Function

1

0.3 PU/GN

7205

Passenger Seat Belt Pretensioner Retractor - High Control

2

0.3 OG/BU

7204

Passenger Seat Belt Pretensioner Retractor - Low Control

Seat Belt Switch - Driver


Object Number: 1989450  Size: CH

Connector Part Information

  • OEM: H12
  • Service: See Catalog
  • Description: 2-Way M (WH)

Terminal Part Information

  • Terminal/Tray: See Terminal Repair Kit
  • Core/Insulation Crimp: See Terminal Repair Kit
  • Release Tool/Test Probe: See Terminal Repair Kit

Seat Belt Switch - Driver

Pin

Wire Color

Circuit No.

Function

A

0.3 D-BU

238

Seat Belt Switch - Left - Low Reference

B

0.3 BK/WH

1363

Seat Belt Switch - Left

0.3 TN/WH

1363

Seat Belt Switch - Left

Seat Belt Switch - Passenger


Object Number: 1356161  Size: CH

Connector Part Information

  • OEM: H12
  • Service: See Catalog
  • Description: 2-Way F (WH)

Terminal Part Information

  • Terminal/Tray: See Terminal Repair Kit
  • Core/Insulation Crimp: See Terminal Repair Kit
  • Release Tool/Test Probe: See Terminal Repair Kit

Seat Belt Switch - Passenger

Pin

Wire Color

Circuit No.

Function

A

0.3 BK/WH

1362

Seat Belt Switch - Right - Signal

B

0.3 BK

1363

Seat Belt Switch - Left - Low Reference

Seat Front Vertical Motor - Driver (AG1 or AG3)


Object Number: 1830207  Size: CH

Connector Part Information

  • OEM: 0-1379217-4
  • Service: See Catalog
  • Description: 5-Way F (BK)

Terminal Part Information

  • Terminal/Tray: See Terminal Repair Kit
  • Core/Insulation Crimp: See Terminal Repair Kit
  • Release Tool/Test Probe: See Terminal Repair Kit

Seat Front Vertical Motor - Driver (AG1 or AG3)

Pin

Wire Color

Circuit No.

Function

1

0.85 D-BU/RD

287

Driver Seat Front Vertical Motor Down Control (AG3)

2 D-GN

286

Driver Seat Front Vertical Motor Up Control (AG1)

2

0.3 BK/OG

1350

Ground (AG3)

3

0.3 BN/BU

557

Front Vertical Seat Motor Position Sensor Signal (AG3)

4

0.3 D-GN/WH

3040

Battery Positive Voltage (AG3)

5

0.85 BN

286

Driver Seat Front Vertical Motor Up Control (AG3)

2 D-BU

287

Driver Seat Front Vertical Motor Down Control (AG1)

Seat Front Vertical Motor - Passenger (AG1)


Object Number: 1830207  Size: CH

Connector Part Information

  • OEM: 1379218
  • Service: See Catalog
  • Description: 5-Way F (BK)

Terminal Part Information

  • Terminal/Tray: See Terminal Repair Kit
  • Core/Insulation Crimp: See Terminal Repair Kit
  • Release Tool/Test Probe: See Terminal Repair Kit

Seat Front Vertical Motor - Passenger (AG1)

Pin

Wire Color

Circuit No.

Function

1

2 D-GN

297

Passenger Seat Front Vertical Motor Up Control

2-4

--

--

Not Used

5

2 D-BU

298

Passenger Seat Front Vertical Motor Down Control

Seat Horizontal Motor - Driver (AG1 or AG3)


Object Number: 1989606  Size: CH

Connector Part Information

  • OEM: 0-968182-1
  • Service: See Catalog
  • Description: 2-Way F (BK)

Terminal Part Information

  • Terminal/Tray: See Terminal Repair Kit
  • Core/Insulation Crimp: See Terminal Repair Kit
  • Release Tool/Test Probe: See Terminal Repair Kit

Seat Horizontal Motor - Driver (AG1 or AG3)

Pin

Wire Color

Circuit No.

Function

1

0.85 GY

284

Driver Seat Horizontal Motor Rearward Control (AG3)

2 TN

285

Driver Seat Horizontal Motor Forward Control (AG1)

2

0.85 GY/RD

285

Driver Seat Horizontal Motor Forward Control (AG3)

2 L-GN

284

Driver Seat Horizontal Motor Rearward Control (AG1)

3

0.3 BK/OG

1350

Ground (AG3)

4

0.3 WH/GY

569

Horizontal Seat Motor Position Sensor Signal (AG3)

Seat Horizontal Motor - Passenger (AG1)


Object Number: 1989608  Size: CH

Connector Part Information

  • OEM: 968182
  • Service: See Catalog
  • Description: 2-Way F (BK)

Terminal Part Information

  • Terminal/Tray: See Terminal Repair Kit
  • Core/Insulation Crimp: See Terminal Repair Kit
  • Release Tool/Test Probe: See Terminal Repair Kit

Seat Horizontal Motor - Passenger (AG1)

Pin

Wire Color

Circuit No.

Function

1

2 TN

296

Passenger Seat Horizontal Motor Forward Control

2

2 L-GN

290

Passenger Seat Horizontal Motor Rearward Control

Memory Seat Module (MSM)


Object Number: 1989358  Size: CH

Connector Part Information

  • OEM: 173851-1
  • Service: See Catalog
  • Description: 26-Way

Terminal Part Information

  • Terminal/Tray: See Terminal Repair Kit
  • Core/Insulation Crimp: See Terminal Repair Kit
  • Release Tool/Test Probe: See Terminal Repair Kit

Memory Seat Module (MSM)

Pin

Wire Color

Circuit No.

Function

1

1.25 RD/BK

4740

Seat Module Supply Voltage

2

0.3 D-BU/WH

1985

5-Volt Reference

3

2 RD

1140

Battery Positive Voltage

4

0.3 WH/BK

2293

Right Front Adaptive Seat Switch / Mirror Dip Signal

5

0.3 PU

615

Memory 1 Switch Signal

6

--

--

Not Used

7

0.3 YE/WH

616

Memory 2 Switch Signal

8

--

--

Not Used

9

0.3 D-BU/OG

614

Memory 3 Switch Signal

10-11

--

--

Not Used

12

0.5 BK/OG

1350

Ground

13

0.3 PK/BU

7363

MOD_WK

14

--

--

Not Used

15

0.3 OG/BK

1061

UART Serial Data

16-17

--

--

Not Used

18

0.3 WH/RD

612

Right Front Adaptive Seat Switch / Mirror Dip Control Signal

19

0.3 TN/BK

5978

Memory 1 Switch Control Signal

20

0.3 D-GN/PK

5979

Memory 2 Switch Control Signal

21

0.3 YE/RD

782

Memory 3 Switch Control Signal

22-24

--

--

Not Used

25

0.3 L-GN/BK

5060

Low Speed GMLAN Serial Data

26

--

--

Not Used

Seat Lumbar Motor - Driver X1 (AG3)


Object Number: 1989362  Size: CH

Connector Part Information

  • OEM: 12020556
  • Service: See Catalog
  • Description: 2-Way

Terminal Part Information

  • Terminal/Tray: See Terminal Repair Kit
  • Core/Insulation Crimp: See Terminal Repair Kit
  • Release Tool/Test Probe: See Terminal Repair Kit

Seat Lumbar Motor - Driver X1 (AG3)

Pin

Wire Color

Circuit No.

Function

1

0.85 D-GN/RD

767

Driver Seat Lumbar Motor Down Control

2

0.3 RD/YE

768

Driver Seat Lumber Horizontal Position Sensor Signal

Seat Lumbar Motor - Driver X2 (AG3)


Object Number: 1989365  Size: CH

Connector Part Information

  • OEM: 12034344
  • Service: See Catalog
  • Description: 2-Way

Terminal Part Information

  • Terminal/Tray: See Terminal Repair Kit
  • Core/Insulation Crimp: See Terminal Repair Kit
  • Release Tool/Test Probe: See Terminal Repair Kit

Seat Lumbar Motor - Driver X2 (AG3)

Pin

Wire Color

Circuit No.

Function

1

0.3 PU/BU

1062

Driver Seat Lumbar Vertical Position Sensor Signal

2

0.85 D-BU/YE

1063

Driver Seat Lumbar Motor Up Control

Seat Rear Vertical Motor - Driver (AG1 or AG3)


Object Number: 1830207  Size: CH

Connector Part Information

  • OEM: 1379218
  • Service: See Catalog
  • Description: 5-Way F (WH)

Terminal Part Information

  • Terminal/Tray: See Terminal Repair Kit
  • Core/Insulation Crimp: See Terminal Repair Kit
  • Release Tool/Test Probe: See Terminal Repair Kit

Seat Rear Vertical Motor - Driver (AG1 or AG3)

Pin

Wire Color

Circuit No.

Function

1

0.85 D-BU

283

Driver Seat Rear Vertical Motor Down Control (AG3)

2 YE

282

Driver Seat Rear Vertical Motor Up Control (AG1)

2

0.3 BK/OG

1350

Ground (AG3)

3

0.3 RD/GN

568

Rear Vertical Seat Motor Position Sensor Signal (AG3)

4

0.3 D-GN/PU

2940

Battery Positive Voltage (AG3)

5

0.85 D-GN/YE

282

Driver Seat Rear Vertical Motor UP Control (AG3)

2 L-BU

283

Driver Seat Rear Vertical Motor Down Control (AG1)

Seat Rear Vertical Motor - Passenger (AG1)


Object Number: 1830207  Size: CH

Connector Part Information

  • OEM: 1379218
  • Service: See Catalog
  • Description: 5-Way F (WH)

Terminal Part Information

  • Terminal/Tray: See Terminal Repair Kit
  • Core/Insulation Crimp: See Terminal Repair Kit
  • Release Tool/Test Probe: See Terminal Repair Kit

Seat Rear Vertical Motor - Passenger (AG1)

Pin

Wire Color

Circuit No.

Function

1

2 YE

288

Passenger Seat Rear Vertical Motor Up Control

2-4

--

--

Not Used

5

2 L-BU

289

Passenger Seat Rear Vertical Motor Down Control

Seat Recline Motor - Driver (AG1 or AG3)


Object Number: 1989372  Size: CH

Connector Part Information

  • OEM: 0-1379217-3
  • Service: See Catalog
  • Description: 5-Way

Terminal Part Information

  • Terminal/Tray: See Terminal Repair Kit
  • Core/Insulation Crimp: See Terminal Repair Kit
  • Release Tool/Test Probe: See Terminal Repair Kit

Seat Recline Motor - Driver (AG1 or AG3)

Pin

Wire Color

Circuit No.

Function

1

0.85 YE

276

Driver Seat Recline Motor Forward Control (AG3)

2 L-GN

276

Driver Seat Recline Motor Forward Control (AG1)

2

0.3 BK/OG

1350

Ground (AG3)

3

--

--

Not Used

4

0.3 D-GN/BN

570

Driver Seat Recline Motor Position Sensor Signal (AG3)

5

0.85 PU/GN

277

Driver Seat Recline Motor Rearward Control (AG3)

2 L-BU

277

Driver Seat Recline Motor Rearward Control (AG1)

Seat Recline Motor - Passenger (AG1)


Object Number: 1989372  Size: CH

Connector Part Information

  • OEM:
  • Service: See Catalog
  • Description: 5-Way

Terminal Part Information

  • Terminal/Tray: See Terminal Repair Kit
  • Core/Insulation Crimp: See Terminal Repair Kit
  • Release Tool/Test Probe: See Terminal Repair Kit

Seat Recline Motor - Passenger (AG1)

Pin

Wire Color

Circuit No.

Function

1

2 D-GN

76

Passenger Seat Recline Motor Forward

2-4

--

--

Not Used

5

2 D-BU

77

Passenger Seat Recline Motor Rearward

Shock Absorber Actuator - Left Front (HSV)


Object Number: 1989494  Size: CH

Connector Part Information

  • OEM:
  • Service: See Catalog
  • Description: 2-Way F

Terminal Part Information

  • Terminal/Tray: See Terminal Repair Kit
  • Core/Insulation Crimp: See Terminal Repair Kit
  • Release Tool/Test Probe: See Terminal Repair Kit

Shock Absorber Actuator - Left Front (HSV)

Pin

Wire Color

Circuit No.

Function

A

0.35 PK

1107

Left Front Damper Control

B

0.35 PK/BK

1113

Left Front Damper Low Reference

Shock Absorber Actuator - Left Rear (HSV)


Object Number: 1989498  Size: CH

Connector Part Information

  • OEM:
  • Service: See Catalog
  • Description: 2-Way F

Terminal Part Information

  • Terminal/Tray: See Terminal Repair Kit
  • Core/Insulation Crimp: See Terminal Repair Kit
  • Release Tool/Test Probe: See Terminal Repair Kit

Shock Absorber Actuator - Left Rear (HSV)

Pin

Wire Color

Circuit No.

Function

A

0.35 WH/RD

1114

Left Rear Damper Control

B

0.35 WH/BK

1115

Left Rear Damper Low Reference

Shock Absorber Actuator - Right Front (HSV)


Object Number: 1989494  Size: CH

Connector Part Information

  • OEM:
  • Service: See Catalog
  • Description: 2-Way F

Terminal Part Information

  • Terminal/Tray: See Terminal Repair Kit
  • Core/Insulation Crimp: See Terminal Repair Kit
  • Release Tool/Test Probe: See Terminal Repair Kit

Shock Absorber Actuator - Right Front (HSV)

Pin

Wire Color

Circuit No.

Function

A

0.35 PU

1116

Right Front Damper Control

B

0.35 PU/WH

1117

Right Front Damper Low Reference

Shock Absorber Actuator - Right Rear (HSV)


Object Number: 1989498  Size: CH

Connector Part Information

  • OEM:
  • Service: See Catalog
  • Description: 2-Way F

Terminal Part Information

  • Terminal/Tray: See Terminal Repair Kit
  • Core/Insulation Crimp: See Terminal Repair Kit
  • Release Tool/Test Probe: See Terminal Repair Kit

Shock Absorber Actuator - Right Rear (HSV)

Pin

Wire Color

Circuit No.

Function

A

0.35 WH/RD

1118

Right Rear Damper Control

B

0.35 WH/BK

1119

Right Rear Damper Low Reference

Side Marker Lamp - Left Front


Object Number: 1989310  Size: CH

Connector Part Information

  • OEM: 967644-1
  • Service: See Catalog
  • Description: 2-Way F MQS Series Sealed (BK)

Terminal Part Information

  • Terminal/Tray: See Terminal Repair Kit
  • Core/Insulation Crimp: See Terminal Repair Kit
  • Release Tool/Test Probe: See Terminal Repair Kit

Side Marker Lamp - Left Front

Pin

Wire Color

Circuit No.

Function

1

0.5 BK

350

Ground

2

0.5 PU

309

Left Park Lamp Supply Voltage

Side Marker Lamp - Left Rear


Object Number: 1989310  Size: CH

Connector Part Information

  • OEM: 967644-1
  • Service: See Catalog
  • Description: 2-Way F MQS Series Sealed (BK)

Terminal Part Information

  • Terminal/Tray: See Terminal Repair Kit
  • Core/Insulation Crimp: See Terminal Repair Kit
  • Release Tool/Test Probe: See Terminal Repair Kit

Side Marker Lamp - Left Rear

Pin

Wire Color

Circuit No.

Function

1

0.5 BN

709

Left Park Lamp Supply Voltage

2

0.5 WH

20

Stop Lamp Supply Voltage

Side Marker Lamp - Right Front


Object Number: 1989310  Size: CH

Connector Part Information

  • OEM: 967644-1
  • Service: See Catalog
  • Description: 2-Way F MQS Series Sealed (BK)

Terminal Part Information

  • Terminal/Tray: See Terminal Repair Kit
  • Core/Insulation Crimp: See Terminal Repair Kit
  • Release Tool/Test Probe: See Terminal Repair Kit

Side Marker Lamp - Right Front

Pin

Wire Color

Circuit No.

Function

1

0.5 BK

350

Ground

2

0.5 BN/WH

709

Right Park Lamp Supply Voltage

Side Marker Lamp - Right Rear


Object Number: 1989310  Size: CH

Connector Part Information

  • OEM: 967644-1
  • Service: See Catalog
  • Description: 2-Way F MQS Series Sealed (BK)

Terminal Part Information

  • Terminal/Tray: See Terminal Repair Kit
  • Core/Insulation Crimp: See Terminal Repair Kit
  • Release Tool/Test Probe: See Terminal Repair Kit

Side Marker Lamp - Right Rear

Pin

Wire Color

Circuit No.

Function

1

0.5 BN

309

Right Park Lamp Supply Voltage

2

0.5 WH

20

Stop Lamp Supply Voltage

Siren Connector


Object Number: 2015513  Size: CH

Connector Part Information

  • OEM:
  • Service: See Catalog
  • Description: 4-Way F

Terminal Part Information

  • Terminal/Tray: See Terminal Repair Kit
  • Core/Insulation Crimp: See Terminal Repair Kit
  • Release Tool/Test Probe: See Terminal Repair Kit

Siren Connector

Pin

Wire Color

Circuit No.

Function

1

0.35 BK

31

Accessory Power

2

0.35 BK

32

Battery Power

3

0.35 BK

33

Siren Control Signal

4

0.35 BK

34

Ground

Speaker - Center I/P X1 (UW5)


Object Number: 1989453  Size: CH

Connector Part Information

  • OEM: 7123-2825
  • Service: See Catalog
  • Description: 2-Way F (WH)

Terminal Part Information

  • Terminal/Tray: 7116-2640-02/12
  • Core/Insulation Crimp: C/B
  • Release Tool/Test Probe: 12094430/J-35616-42 (RD)

Speaker - Center I/P X1 (UW5)

Pin

Wire Color

Circuit No.

Function

1

0.5 GY

118

Left Front Speaker Output (-)

2

0.5 BN

201

Left Front Speaker Output (+)

Speaker - Center I/P X2 (UW5)


Object Number: 1989453  Size: CH

Connector Part Information

  • OEM: 7123-2825
  • Service: See Catalog
  • Description: 2-Way F (WH)

Terminal Part Information

  • Terminal/Tray: 7116-2640-02/12
  • Core/Insulation Crimp: C/B
  • Release Tool/Test Probe: 12094430/J-35616-42 (RD)

Speaker - Center I/P X2 (UW5)

Pin

Wire Color

Circuit No.

Function

1

0.5 D-GN

117

Right Front Speaker Output (-)

2

0.5 L-GN

200

Right Front Speaker Output (+)

Speaker - Center I/P (without UW5)


Object Number: 1989416  Size: CH

Connector Part Information

  • OEM: 7123-2825
  • Service: See Catalog
  • Description: 2-Way F

Terminal Part Information

  • Terminal/Tray: 7116-2640-02/12
  • Core/Insulation Crimp: C/B
  • Release Tool/Test Probe: 12094430/J-35616-42 (RD)

Speaker - Center I/P (without UW5)

Pin

Wire Color

Circuit No.

Function

A

0.5 L-BU

1960

Front Center Speaker Output (-)

B

0.5 YE

1860

Front Center Speaker Output (+)

Speaker - Left Front (UQ7)


Object Number: 130724  Size: CH

Connector Part Information

  • OEM: 12064869
  • Service: See Catalog
  • Description: 2-Way F

Terminal Part Information

  • Terminal/Tray: See Terminal Repair Kit
  • Core/Insulation Crimp: See Terminal Repair Kit
  • Release Tool/Test Probe: See Terminal Repair Kit

Speaker - Left Front (UQ7)

Pin

Wire Color

Circuit No.

Function

A

0.5 GY

118

Left Front Speaker Output (-)

B

0.5 BN

201

Left Front Speaker Output (+) (RHD)

0.5 TN

201

Left Front Speaker Output (+) (LHD)

Speaker - Left Front (UW5 or U65)


Object Number: 1989453  Size: CH

Connector Part Information

  • OEM: 7123-2825
  • Service: See Catalog
  • Description: 2-Way F (WH)

Terminal Part Information

  • Terminal/Tray: 7116-2640-02/12
  • Core/Insulation Crimp: C/B
  • Release Tool/Test Probe: 12094430/J-35616-42 (RD)

Speaker - Left Front (UW5 or U65)

Pin

Wire Color

Circuit No.

Function

1

0.5 GY

118

Left Front Speaker Output (-)

2

0.5 BN

201

Left Front Speaker Output (+)

Speaker - Left Front Tweeter (U65 or UW5)


Object Number: 1989430  Size: CH
  • OEM: 15493098
  • Service: See Catalog
  • Description: 2-Way F (BK)

Terminal Part Information

  • Terminal/Tray: See Terminal Repair Kit
  • Core/Insulation Crimp: See Terminal Repair Kit
  • Release Tool/Test Probe: See Terminal Repair Kit

Speaker - Left Front Tweeter (U65 or UW5)

Pin

Wire Color

Circuit No.

Function

1

0.5 BN

201

Left Front Speaker Output (+)

2

0.3 GY

118

Left Front Speaker Output (-)

Speaker - Left Front Tweeter (UQ7)


Object Number: 82383  Size: CH

Connector Part Information

  • OEM: 12047662
  • Service: See Catalog
  • Description: 2-Way F

Terminal Part Information

  • Terminal/Tray: See Terminal Repair Kit
  • Core/Insulation Crimp: See Terminal Repair Kit
  • Release Tool/Test Probe: See Terminal Repair Kit

Speaker - Left Front Tweeter (UQ7)

Pin

Wire Color

Circuit No.

Function

A

0.85 GY

118

Left Front Speaker Output (+)

B

0.85 TN

201

Left Front Speaker Output (-)

Speaker - Left Rear (U65 or UW5)


Object Number: 1989453  Size: CH

Connector Part Information

  • OEM: 7123-2825
  • Service: See Catalog
  • Description: 2-Way F (WH)

Terminal Part Information

  • Terminal/Tray: 7116-2640-02/12
  • Core/Insulation Crimp: C/B
  • Release Tool/Test Probe: 12094430/J-35616-42 (RD)

Speaker - Left Rear (U65 or UW5)

Pin

Wire Color

Circuit No.

Function

1

0.5 YE/RD

116

Left Rear Speaker Output (-)

2

0.5 BN

199

Left Rear Speaker Output (+)

Speaker - Left Rear (UQ7)


Object Number: 1989416  Size: CH

Connector Part Information

  • OEM: 15434358
  • Service: See Catalog
  • Description: 2-Way F

Terminal Part Information

  • Terminal/Tray: See Terminal Repair Kit
  • Core/Insulation Crimp: See Terminal Repair Kit
  • Release Tool/Test Probe: See Terminal Repair Kit

Speaker - Left Rear (UQ7)

Pin

Wire Color

Circuit No.

Function

A

0.5 YE/RD

116

Left Rear Speaker Output (-)

B

0.5 BN

199

Left Rear Speaker Output (+)

Speaker - Left Subwoofer (UQ7)


Object Number: 1989436  Size: CH

Connector Part Information

  • OEM: 7283-1020
  • Service: See Catalog
  • Description: 2-Way F 090 II Series (NA)

Terminal Part Information

  • Terminal/Tray: 7116-4021/11
  • Core/Insulation Crimp: 2/A
  • Release Tool/Test Probe: 15315247/J-35616-18 (BK)

Speaker - Left Subwoofer (UQ7)

Pin

Wire Color

Circuit No.

Function

A

1.25 D-BU/WH

346

Left Rear Subwoofer Speaker Output (+)

B

1.25 L-GN/BK

1794

Left Rear Subwoofer Speaker Output (-)

Speaker - Right Front (UQ7)


Object Number: 130724  Size: CH

Connector Part Information

  • OEM: 12064869
  • Service: See Catalog
  • Description: 2-Way F

Terminal Part Information

  • Terminal/Tray: See Terminal Repair Kit
  • Core/Insulation Crimp: See Terminal Repair Kit
  • Release Tool/Test Probe: See Terminal Repair Kit

Speaker - Right Front (UQ7)

Pin

Wire Color

Circuit No.

Function

A

0.5 D-GN

117

Right Front Speaker Output (-)

B

0.5 L-GN

200

Right Front Speaker Output (+) (LHD)

Speaker - Right Front (UW5 or U65)


Object Number: 1989453  Size: CH

Connector Part Information

  • OEM: 7123-2825
  • Service: See Catalog
  • Description: 2-Way F (WH)

Terminal Part Information

  • Terminal/Tray: 7116-2640-02/12
  • Core/Insulation Crimp: C/B
  • Release Tool/Test Probe: 12094430/J-35616-42 (RD)

Speaker - Right Front (UW5 or U65)

Pin

Wire Color

Circuit No.

Function

1

0.5 D-GN

117

Right Front Speaker Output (-)

2

0.5 L-GN

200

Right Front Speaker Output (+)

Speaker - Right Front Tweeter (U65 or UW5)


Object Number: 1989430  Size: CH
  • OEM: 15493098
  • Service: See Catalog
  • Description: 2-Way F (BK)

Terminal Part Information

  • Terminal/Tray: See Terminal Repair Kit
  • Core/Insulation Crimp: See Terminal Repair Kit
  • Release Tool/Test Probe: See Terminal Repair Kit

Speaker - Right Front Tweeter (U65 or UW5)

Pin

Wire Color

Circuit No.

Function

1

0.5 BN

201

Right Front Speaker Output (+)

2

0.3 GY

118

Right Front Speaker Output (-)

Speaker - Right Front Tweeter (UQ7)


Object Number: 82383  Size: CH

Connector Part Information

  • OEM: 12047662
  • Service: See Catalog
  • Description: 2-Way F

Terminal Part Information

  • Terminal/Tray: See Terminal Repair Kit
  • Core/Insulation Crimp: See Terminal Repair Kit
  • Release Tool/Test Probe: See Terminal Repair Kit

Speaker - Right Front Tweeter (UQ7)

Pin

Wire Color

Circuit No.

Function

A

0.85 D-GN

117

Right Front Speaker Output (+)

B

0.85 L-GN

200

Right Front Speaker Output (-)

Speaker - Right Rear (U65 or UW5)


Object Number: 1989453  Size: CH

Connector Part Information

  • OEM: 7123-2825
  • Service: See Catalog
  • Description: 2-Way F (WH)

Terminal Part Information

  • Terminal/Tray: 7116-2640-02/12
  • Core/Insulation Crimp: C/B
  • Release Tool/Test Probe: 12094430/J-35616-42 (RD)

Speaker - Right Rear (U65 or UW5)

Pin

Wire Color

Circuit No.

Function

1

0.5 L-BU

115

Right Rear Speaker Output (-)

2

0.5 D-BU

46

Right Rear Speaker Output (+)

Speaker - Right Rear (UQ7)


Object Number: 1989416  Size: CH

Connector Part Information

  • OEM: 15434358
  • Service: See Catalog
  • Description: 2-Way F

Terminal Part Information

  • Terminal/Tray: See Terminal Repair Kit
  • Core/Insulation Crimp: See Terminal Repair Kit
  • Release Tool/Test Probe: See Terminal Repair Kit

Speaker - Right Rear (UQ7)

Pin

Wire Color

Circuit No.

Function

A

0.5 L-BU

115

Right Rear Speaker Output (-)

B

0.5 D-BU

46

Right Rear Speaker Output (+)

Speaker - Right Subwoofer (UQ7)


Object Number: 1989436  Size: CH

Connector Part Information

  • OEM: 7283-1020
  • Service: See Catalog
  • Description: 2-Way F 090 II Series (NA)

Terminal Part Information

  • Terminal/Tray: 7116-4021/11
  • Core/Insulation Crimp: 2/A
  • Release Tool/Test Probe: 15315247/J-35616-18 (BK)

Speaker - Right Subwoofer (UQ7)

Pin

Wire Color

Circuit No.

Function

A

1.25 L-BU/BK

315

Right Rear Subwoofer Speaker Output (+)

B

1.25 D-GN

1795

Right Rear Subwoofer Speaker Output (-)

Starter Motor X1

Terminal Part Information

  • Terminal: 7009-1333-02
  • Core/Insulation Crimp: N/A
  • Description: Ring Terminal

Starter Motor X1

Pin

Wire Color

Circuit No.

Function

A

3 PU

6

Starter Solenoid Crank Voltage

Starter Motor X2

Terminal Part Information

  • Terminal: 7003-2601
  • Core/Insulation Crimp: N/A
  • Description: Ring Terminal

Starter Motor X2

Pin

Wire Color

Circuit No.

Function

A

50 RD

1

Battery Voltage

Steering Angle Sensor


Object Number: 1989572  Size: CH
  • OEM: 7282-7166
  • Service: See Catalog
  • Description: 6-Way F (BK)

Terminal Part Information

  • Terminal/Tray: 7114-4020/10
  • Core/Insulation Crimp: E/C
  • Release Tool/Test Probe: 15315247/J-35616-19 (BK)

Steering Angle Sensor

Pin

Wire Color

Circuit No.

Function

1

0.5 PU/BN

2501

High Speed GMLAN Serial Data Bus (-) (without HSV)

0.35 BN

2501

High Speed GMLAN Serial Data Bus- (HSV)

2

0.5 D-BU/BN

2501

High Speed GMLAN Serial Data Bus (-) (without HSV)

0.35 BN

2501

High Speed GMLAN Serial Data Bus- (HSV)

3

0.5 GY

2500

High Speed GMLAN Serial Data Bus (+) (without HSV)

0.35 BN/BK

2500

High Speed GMLAN Serial Data Bus+ (HSV)

4

0.5 BN

2500

High Speed GMLAN Serial Data Bus (+) (without HSV)

0.35 BN/BK

2500

High Speed GMLAN Serial Data Bus+ (HSV)

5

0.5 L-BU

5986

Communication Enable Relay Supply Voltage (without HSV)

0.5 L-BU

5986

Communication Enable Relay Supply Voltage (HSV)

6

0.5 OG

2088

Steering Wheel Position Sensor Low Reference (without HSV)

0.5 BK/BU

2088

Steering Wheel Position Sensor Low Reference (HSV)

Steering Wheel Controls Switch Assembly


Object Number: 1989283  Size: CH
  • OEM: XMR-08V
  • Service: See Catalog
  • Description: 8-Way F (WH)

Terminal Part Information

  • Terminal/Tray: See Terminal Repair Kit
  • Core/Insulation Crimp: See Terminal Repair Kit
  • Release Tool/Test Probe: See Terminal Repair Kit

Steering Wheel Controls Switch Assembly

Pin

Wire Color

Circuit No.

Function

1

0.3 GY/BU

7367

Steering Wheel Resistor Ladder Right Signal #2

2

0.3 YE

7364

Steering Wheel Resistor Ladder Right Signal #1

3

0.3 BN

7312

Steering Wheel Resistor Ladder Left Signal #1

4

0.3 L-BU

7313

Steering Wheel Resistor Ladder Left Signal #2

5

0.3 D-GN

897

Steering Wheel Controls Low Reference

6

0.3 OG/BK

5201

Steering Wheel Controls Signal

7

0.3 BK

1551

Ground

8

0.3 PU

7005

I/P Dimming Control

Sunload Sensor (CJ2 or C63)


Object Number: 1989650  Size: CH

Connector Part Information

  • OEM: 7123-9843-30
  • Service: 12085208
  • Description: 4-Way F

Terminal Part Information

  • Terminal/Tray: 12064971/5
  • Core/Insulation Crimp: E/C
  • Release Tool/Test Probe: 12094429/J-35616-14 (GN)

Sunload Sensor (CJ2 or C63)

Pin

Wire Color

Circuit No.

Function

A

0.3 L-BU/BK

7425

Left Solar Sensor

B

0.3 GY

7424

Right Solar Sensor

C

0.3 BK

61

Ground

D

0.3 L-GN/BK

1137

DRL Ambient Light Sensor Signal

Sunroof Control Module (RHD)


Object Number: 1989581  Size: CH
  • OEM: 18101EV
  • Service: See Catalog
  • Description: 10-Way F

Terminal Part Information

  • Terminal/Tray: See Terminal Repair Kit
  • Core/Insulation Crimp: See Terminal Repair Kit
  • Release Tool/Test Probe: See Terminal Repair Kit

Sunroof Control Module (RHD)

Pin

Wire Color

Circuit No.

Function

1

0.5 GY

 

Sunroof Switch Low Reference

2

0.3 D-GN

5027

Sunroof Switch - Data 1

3

0.3 YE

5028

Sunroof Switch - Data 2

4

0.3 OG

5029

Sunroof Switch - Data 3

5

0.3 WH

5030

Sunroof Switch - Data 4

6

--

--

Not Used

7

1.25 OG/BU

3040

Battery Positive Voltage

8

--

--

Not Used

9

0.5 YE

443

Ignition Voltage 1

10

1.25 BK

850

Ground

Sunroof Switch (RHD)


Object Number: 1989583  Size: CH
  • OEM: 49901221
  • Service: 88953365
  • Description: 6-Way F 0.635 Series (BK)

Terminal Part Information

  • Terminal/Tray: See Terminal Repair Kit
  • Core/Insulation Crimp: See Terminal Repair Kit
  • Release Tool/Test Probe: See Terminal Repair Kit

Sunroof Switch (RHD)

Pin

Wire Color

Circuit No.

Function

1

0.5 BK

850

Ground

2

0.3 D-GN

5027

Sunroof Switch - Data 1

3

0.3 YE

5028

Sunroof Switch - Data 2

4

--

--

Not Used

5

0.3 OG

5029

Sunroof Switch - Data 3

6

0.3 WH

5030

Sunroof Switch - Data 4

Sunshade - Left


Object Number: 1989449  Size: CH
  • OEM: 12047662
  • Service: See Catalog
  • Description: 2-Way F (BK)

Terminal Part Information

  • Terminal/Tray: See Terminal Repair Kit
  • Core/Insulation Crimp: See Terminal Repair Kit
  • Release Tool/Test Probe: See Terminal Repair Kit

Sunshade - Left

Pin

Wire Color

Circuit No.

Function

1

0.5 BK/WH

851

Ground

2

0.5 OG

1732

Courtesy Lamps Supply Voltage

Sunshade - Right


Object Number: 1989449  Size: CH
  • OEM: 12047662
  • Service: See Catalog
  • Description: 2-Way F (BK)

Terminal Part Information

  • Terminal/Tray: See Terminal Repair Kit
  • Core/Insulation Crimp: See Terminal Repair Kit
  • Release Tool/Test Probe: See Terminal Repair Kit

Sunshade - Right

Pin

Wire Color

Circuit No.

Function

1

0.5 BK/WH

851

Ground

2

0.5 OG

1732

Courtesy Lamps Supply Voltage

Suspension Position Sensor - Left Front (HSV)


Object Number: 1989486  Size: CH

Connector Part Information

  • OEM:
  • Service: See Catalog
  • Description: 3-Way F

Terminal Part Information

  • Terminal/Tray: See Terminal Repair Kit
  • Core/Insulation Crimp: See Terminal Repair Kit
  • Release Tool/Test Probe: See Terminal Repair Kit

Suspension Position Sensor - Left Front (HSV)

Pin

Wire Color

Circuit No.

Function

A

0.35 D-BU/WH

1205

Left Front Suspension Position Sensor Voltage Reference

B

0.35 D-BU

1207

Left Front Suspension Position Sensor Signal

C

0.35 D-BU/BK

1206

Left Front Suspension Position Sensor Low Reference

Suspension Position Sensor - Left Rear (HSV)


Object Number: 1989486  Size: CH

Connector Part Information

  • OEM:
  • Service: See Catalog
  • Description: 3-Way F

Terminal Part Information

  • Terminal/Tray: See Terminal Repair Kit
  • Core/Insulation Crimp: See Terminal Repair Kit
  • Release Tool/Test Probe: See Terminal Repair Kit

Suspension Position Sensor - Left Rear (HSV)

Pin

Wire Color

Circuit No.

Function

A

0.35 GY/WH

1208

Left Rear Suspension Position Sensor Voltage Reference

B

0.35 GY

1210

Left Rear Suspension Position Sensor Signal

C

0.35 GY/BK

1209

Left Rear Suspension Position Sensor Low Reference

Suspension Position Sensor - Right Front (HSV)


Object Number: 1989486  Size: CH

Connector Part Information

  • OEM:
  • Service: See Catalog
  • Description: 3-Way F

Terminal Part Information

  • Terminal/Tray: See Terminal Repair Kit
  • Core/Insulation Crimp: See Terminal Repair Kit
  • Release Tool/Test Probe: See Terminal Repair Kit

Suspension Position Sensor - Right Front (HSV)

Pin

Wire Color

Circuit No.

Function

A

0.35 D-GN/WH

1211

Right Front Suspension Position Sensor Voltage Reference

B

0.35 D-GN

1213

Right Front Suspension Position Sensor Signal

C

0.35 D-GN/BK

1212

Right Front Suspension Position Sensor Low Reference

Suspension Position Sensor - Right Rear (HSV)


Object Number: 1989486  Size: CH

Connector Part Information

  • OEM:
  • Service: See Catalog
  • Description: 3-Way F

Terminal Part Information

  • Terminal/Tray: See Terminal Repair Kit
  • Core/Insulation Crimp: See Terminal Repair Kit
  • Release Tool/Test Probe: See Terminal Repair Kit

Suspension Position Sensor - Right Rear (HSV)

Pin

Wire Color

Circuit No.

Function

A

0.35 BN/WH

1214

Right Rear Suspension Position Sensor Voltage Reference

B

0.35 BN

1216

Right Rear Suspension Position Sensor Signal

C

0.35 BN/BK

1215

Right Rear Suspension Position Sensor Low Reference

Tail Lamp - Left (without HSV or VXR8)


Object Number: 1989315  Size: CH

Connector Part Information

  • OEM:
  • Service: See Catalog
  • Description: 6-Way F

Terminal Part Information

  • Terminal/Tray: See Terminal Repair Kit
  • Core/Insulation Crimp: See Terminal Repair Kit
  • Release Tool/Test Probe: See Terminal Repair Kit

Tail Lamp - Left (without HSV or VXR8)

Pin

Wire Color

Circuit No.

Function

1

0.85 BK/WH

1851

Ground

2

0.85 BK

1850

Ground

3

0.85 PU

709

Left Park Lamp Supply Voltage

4

0.85 L-BU

20

Stop Lamp Switch Signal

5

0.85 L-GN

24

Backup Lamp Supply Voltage

6

0.85 YE/BK

1334

Left Rear Turn Signal Lamp Supply Voltage

Tail Lamp - Left (HSV or VXR8)


Object Number: 1989645  Size: CH

Connector Part Information

  • OEM:
  • Service: See Catalog
  • Description: 6-Way F

Terminal Part Information

  • Terminal/Tray: See Terminal Repair Kit
  • Core/Insulation Crimp: See Terminal Repair Kit
  • Release Tool/Test Probe: See Terminal Repair Kit

Tail Lamp - Left (HSV or VXR8)

Pin

Wire Color

Circuit No.

Function

1

0.85 BK/WH

1851

Ground

2

0.85 BK

1850

Ground

3

0.85 PU

709

Left Park Lamp Supply Voltage

4

0.85 L-BU

20

Stop Lamp Switch Signal

5

0.85 L-GN

24

Backup Lamp Supply Voltage

6

0.85 YE/BK

1334

Left Rear Turn Signal Lamp Supply Voltage

Tail Lamp - Right (without HSV or VXR8)


Object Number: 1989315  Size: CH

Connector Part Information

  • OEM:
  • Service: See Catalog
  • Description: 6-Way F

Terminal Part Information

  • Terminal/Tray: See Terminal Repair Kit
  • Core/Insulation Crimp: See Terminal Repair Kit
  • Release Tool/Test Probe: See Terminal Repair Kit

Tail Lamp - Right (without HSV or VXR8)

Pin

Wire Color

Circuit No.

Function

1

0.85 BK/WH

1851

Ground

2

0.85 BK

1850

Ground

3

0.85 BN/WH

709

Right Park Lamp Supply Voltage

4

0.85 L-BU

20

Stop Lamp Switch Signal

5

0.85 L-GN

24

Backup Lamp Supply Voltage

6

0.85 D-GN/WH

1335

Right Rear Turn Signal Lamp Supply Voltage

Tail Lamp - Right (HSV or VXR8)


Object Number: 1989645  Size: CH

Connector Part Information

  • OEM:
  • Service: See Catalog
  • Description: 6-Way F

Terminal Part Information

  • Terminal/Tray: See Terminal Repair Kit
  • Core/Insulation Crimp: See Terminal Repair Kit
  • Release Tool/Test Probe: See Terminal Repair Kit

Tail Lamp - Right (HSV or VXR8)

Pin

Wire Color

Circuit No.

Function

1

0.85 BK/WH

1851

Ground

2

0.85 BK

1850

Ground

3

0.85 BN/WH

709

Right Park Lamp Supply Voltage

4

0.85 L-BU

20

Stop Lamp Switch Signal

5

0.85 L-GN

24

Backup Lamp Supply Voltage

6

0.85 D-GN/WH

1335

Right Rear Turn Signal Lamp Supply Voltage

Telematics Module X1 (RHD)


Object Number: 1989574  Size: CH

Connector Part Information

  • OEM: 175965-2
  • Service: See Catalog
  • Description: 12-Way F

Terminal Part Information

  • Terminal/Tray: See Terminal Repair Kit
  • Core/Insulation Crimp: See Terminal Repair Kit
  • Release Tool/Test Probe: See Terminal Repair Kit

Telematics Module X1 (RHD)

Pin

Wire Color

Circuit No.

Function

1

0.5 BK

1050

Ground

2

--

--

Not Used

3

0.3 L-GN

5060

Low Speed GMLAN Serial Data

4-6

--

--

Not Used

7

0.5 OG/WH

2340

Battery Positive Voltage

8

0.3 YE/BK

2516

Keypad Green LED Signal

9

0.3 BN/WH

2517

Keypad Red LED Signal

10-12

--

--

Not Used

Telematics Module X2 (RHD)


Object Number: 1989574  Size: CH

Connector Part Information

  • OEM: 175966-2
  • Service: See Catalog
  • Description: 16-Way F

Terminal Part Information

  • Terminal/Tray: See Terminal Repair Kit
  • Core/Insulation Crimp: See Terminal Repair Kit
  • Release Tool/Test Probe: See Terminal Repair Kit

Telematics Module X2 (RHD)

Pin

Wire Color

Circuit No.

Function

13

0.3 D-GN/WH

2514

Keypad Signal

14

--

--

Not Used

15

0.3 L-BU

1405

Telephone Audio Signal (+)

16

0.3 OG/BK

1406

Telephone Audio Signal (-)

17

0.3 L-BU

1405

Telephone Audio Signal (+)

18

0.3 PK

654

Cellular Telephone Microphone Low Reference

19

0.3 D-GN

655

Cellular Microphone Signal

20

0.5 TN

1860

Left Front Speaker Output (+)

0.5 OG

1860

Front Center Speaker Output (+)

21

0.3 L-GN/BK

2515

Keypad Supply Voltage

22

0.5 PK

1339

Ignition 1 Voltage

23

0.3 WH

700

Telephone Audio Signal Mute

24

--

--

Not Used

25

0.3 OG/BK

1406

Telephone Audio Signal (-)

26-27

--

--

Not Used

28

0.5 GY

1960

Left Front Speaker Output (-)

0.5 L-BU

1960

Front Center Speaker Output (-)

Theft Deterrent Alarm Siren X1


Object Number: 1989629  Size: CH
  • OEM: 7183-0073-30
  • Service: See Catalog
  • Description: 1-Way F (BK)

Terminal Part Information

  • Terminal/Tray: See Terminal Repair Kit
  • Core/Insulation Crimp: See Terminal Repair Kit
  • Release Tool/Test Probe: See Terminal Repair Kit

Theft Deterrent Alarm Siren X1

Pin

Wire Color

Circuit No.

Function

A

0.75 D-GN

1149

Content Theft Horn Control

Theft Deterrent Alarm Siren X2


Object Number: 1989629  Size: CH
  • OEM: 7183-0073-30
  • Service: See Catalog
  • Description: 1-Way F (BK)

Terminal Part Information

  • Terminal/Tray: See Terminal Repair Kit
  • Core/Insulation Crimp: See Terminal Repair Kit
  • Release Tool/Test Probe: See Terminal Repair Kit

Theft Deterrent Alarm Siren X2

Pin

Wire Color

Circuit No.

Function

A

0.75 BK

350

Ground

Theft Deterrent Module (TDM)


Object Number: 1989590  Size: CH
  • OEM: 7183-2179-30
  • Service: See Catalog
  • Description: 5-Way F (BK)

Terminal Part Information

  • Terminal/Tray: 16-02-1110/20
  • Core/Insulation Crimp: H/H
  • Release Tool/Test Probe: J-38125-213/J-35616-64B (L-BU)

Theft Deterrent Module (TDM)

Pin

Wire Color

Circuit No.

Function

1

0.3 OG/BK

1040

Battery Positive Voltage

2

0.3 BN

4

Ignition 1 Voltage

3

0.3 BK

850

Ground

4

--

--

Not Used

5

0.35 D-GN

9206

Low Speed GMLAN Serial Data

Throttle Body


Object Number: 1989327  Size: CH
  • OEM: 7283-3529-30
  • Service: 19115594
  • Description: 6-Way F (BK)

Terminal Part Information

  • Pins: A, B
  • Terminal/Tray: See Terminal Repair Kit
  • Core/Insulation Crimp: See Terminal Repair Kit
  • Release Tool/Test Probe: See Terminal Repair Kit
  • Pins: C-F
  • Terminal/Tray: 15326427/5
  • Core/Insulation Crimp: E/A
  • Release Tool/Test Probe: 15315247/J-35616-2A (GY)

Throttle Body

Pin

Wire Color

Circuit No.

Function

A

0.75 BN

582

TAC Motor Control - 2

B

0.75 YE

581

TAC Motor Control - 1

C

0.5 BN/BK

2752

Low Reference

D

0.5 D-GN

485

TP Sensor 1 Signal

E

0.5 GY

2701

5-Volt Reference

F

0.5 PU

486

TP Sensor 2 Signal

Tilt Sensor


Object Number: 2015525  Size: CH

Connector Part Information

  • OEM:
  • Service: See Catalog
  • Description: 4-Way F

Terminal Part Information

  • Terminal/Tray: See Terminal Repair Kit
  • Core/Insulation Crimp: See Terminal Repair Kit
  • Release Tool/Test Probe: See Terminal Repair Kit

Tilt Sensor

Pin

Wire Color

Circuit No.

Function

1

0.35 BK

9

Alarm Control Module Power Control

2

--

--

Not Used

3

0.35 BK

4

Inclination Sensor Signal

4

0.35 BK

6

Ground

Trailer Connector


Object Number: 1989653  Size: CH

Connector Part Information

  • OEM:
  • Service: See Catalog
  • Description: 7-Way F

Terminal Part Information

  • Terminal/Tray: See Terminal Repair Kit
  • Core/Insulation Crimp: See Terminal Repair Kit
  • Release Tool/Test Probe: See Terminal Repair Kit

Trailer Connector

Pin

Wire Color

Circuit No.

Function

1

0.35 YE

1

Left Indicator Output

2

0.35 BK

2

Backup Output

3

0.35 WH

19

Ground

4

0.35 D-GN

19

Right Indicator Output

5

0.35 D-BU

4

Trailer Brake Output

6

0.35 RD

5

Stop Output

7

0.35 BN

6

Park Output

8

0.35 WH

7

Ground

9

0.35 GY

30

Object Detection/Rear Park Assist Ground

Trailer Harness Control Module


Object Number: 1989299  Size: CH

Connector Part Information

  • OEM: 7123-1423
  • Service: See Catalog
  • Description: 12-Way F

Terminal Part Information

  • Terminal/Tray: See Terminal Repair Kit
  • Core/Insulation Crimp: See Terminal Repair Kit
  • Release Tool/Test Probe: See Terminal Repair Kit

Trailer Harness Control Module

Pin

Wire Color

Circuit No.

Function

1

0.35 RD

6

Stop Output

2

0.35 BN

7

Park Output

3

0.35 WH

19

Ground

4

0.35 BN/WH

309

Right Park lamp Supply Voltage

5

0.35 L-BU

20

Stop Lamp Supply Voltage

6

0.35 RD/WH

4440

Battery Positive Voltage

7

0.35 D-GN

4

Right Indicator Output

8

0.35 YE

1

Left Indicator Output

9

0.35 YE/BK

1334

Left Rear Turn Signal Lamp Supply Voltage

10

0.35 D-GN/WH

1335

Right Rear Turn Signal Supply Voltage

11

0.35 BK

2

Backup Output

12

0.35 L-GN

24

Backup Supply Voltage

Trailer Patch Harness Electrical Brake Connector


Object Number: 1989453  Size: CH

Connector Part Information

  • OEM: 7123-2825
  • Service: See Catalog
  • Description: 2-Way F (WH)

Terminal Part Information

  • Terminal/Tray: 7116-2640-02/12
  • Core/Insulation Crimp: C/B
  • Release Tool/Test Probe: 12094430/J-35616-42 (RD)

Trailer Patch Harness Electrical Brake Connector

Pin

Wire Color

Circuit No.

Function

1

0.35 BK

5

Electric Brakes

2

0.35 RD

6

Trailer Stop

Trailer Presence Conncetor


Object Number: 1989275  Size: CH

Connector Part Information

  • OEM: 7282-7014
  • Service: See Catalog
  • Description: 1-Way M (WH)

Terminal Part Information

  • Terminal/Tray: See Terminal Repair Kit
  • Core/Insulation Crimp: See Terminal Repair Kit
  • Release Tool/Test Probe: See Terminal Repair Kit

Trailer Presence Conncetor

Pin

Wire Color

Circuit No.

Function

1

0.35 GY

30

Object Detection/Rear Park Assist Ground

Torque Converter Clutch (TCC) Pulse Width Modulation (PWM) Solenoid Valve


Object Number: 95784  Size: CH

Connector Part Information

  • OEM: 12162202
  • Service: See Catalog
  • Description: 2-Way F Metri-Pack 150.2 Series, Pull To Seat (BU)

Terminal Part Information

  • Terminal/Tray: See Terminal Repair Kit
  • Core/Insulation Crimp: See Terminal Repair Kit
  • Release Tool/Test Probe: See Terminal Repair Kit

Torque Converter Clutch (TCC) Pulse Width Modulation (PWM) Solenoid Valve

Pin

Wire Color

Circuit No.

Function

A

0.5 YE

418

TCC PWM Solenoid Valve Control

B

0.5 WH

1525

Clutch Pressure Control Solenoid Valve 1 High Control

Transmission Control Module (TCM) (M30 or M32)


Object Number: 1989518  Size: CH
  • OEM: 15463921
  • Service: See Catalog
  • Description: 49-Way F

Terminal Part Information

  • Terminal/Tray: See Terminal Repair Kit
  • Core/Insulation Crimp: See Terminal Repair Kit
  • Release Tool/Test Probe: See Terminal Repair Kit

Transmission Control Module (TCM) (M30 or M32)

Pin

Wire Color

Circuit No.

Function

1

0.5 BN

418

TCC PWM Solenoid Valve Control

2

0.5 L-GN

1222

Shift Solenoid A Valve Control

3

0.5 OG

1983

Transmission Turbine Speed Switch Signal

4-5

--

--

Not Used

6

0.5 BN

2501

High Speed GMLAN Serial Data Bus-

7

0.5 BN/BK

2500

High Speed GMLAN Serial Data Bus+

8-10

--

--

Not Used

11

0.5 D-BU

5985

TCM Accessory Signal

12-13

--

--

Not Used

14

0.5 WH/GN

687

3-2 Shift Solenoid Valve Control

15

--

--

Not Used

16

0.5 L-GN/BK

822

OSS Low Signal

17

0.5 L-BU/WH

1229

PC Solenoid Valve Low Control

18-19

--

--

Not Used

20

0.5 YE/BK

1223

Shift Solenoid B Valve Control

21-22

--

--

Not Used

23

0.5 GY

773

Transmission Range Switch Signal C

24

0.5 PK

1224

Transmission Fluid Pressure Switch Signal A

25

0.5 BN/OG

422

TCC Solenoid Valve Control

26-28

--

--

Not Used

29

0.5 BN/YE

771

Transmission Range Switch Signal A

30

0.5 BN/WH

2762

Low Reference

31

0.5 PK

439

Ignition 1 Voltage

32

0.75 OG/YE

3640

Battery Positive Voltage

33

0.5 OG

1226

Transmission Fluid Pressure Switch Signal C

34

--

--

Not Used

35

0.5 YE/BK

1227

TFT Sensor Signal

36

--

--

Not Used

37

0.5 BN

2501

High Speed GMLAN Serial Data Bus-

38

0.5 BN/BK

2500

High Speed GMLAN Serial Data Bus+

39

0.5 WH

776

Transmission Range Switch Signal P

40

0.5 OG/BK

1228

PC Solenoid Valve High Control

41

0.5 PU/WH

821

OSS High Signal

42

0.5 WH/BU

17

Stop Lamp Switch Signal

43

--

--

Not Used

44

0.5 D-BU

1225

Transmission Fluid Pressure Switch Signal B

45

0.5 L-BU

1984

Transmission Turbine Speed Switch Low Reference

46

0.5 YE

772

Transmission Range Switch Signal B

47-48

--

--

Not Used

49

0.75 BK

450

Ground

Turn Signal/Multifunction Switch


Object Number: 1989295  Size: CH

Connector Part Information

  • OEM: 7123-1685
  • Service: See Catalog
  • Description: 8-Way F 040 Multilock Series (WH)

Terminal Part Information

  • Terminal/Tray: 173681-2/17
  • Core/Insulation Crimp: E/4
  • Release Tool/Test Probe: 15315247/J-35616-16 (L-GN)

Turn Signal/Multifunction Switch

Pin

Wire Color

Circuit No.

Function

1

0.3 BK

850

Ground

2

0.3 BN/RD

1356

Flash To Pass Switch Signal

3

0.3 PU/YE

524

Headlamp Dimmer Switch High Beam Signal

4

0.3 BK

850

Ground

5

0.5 GY

1884

Cruise Control Switch Signal

6

0.3 PU

1375

Steering Wheel Control Supply Voltage

7

0.3 D-BU/WH

1415

Right Front Turn Signal Switch Signal

8

0.3 L-BU/WH

1414

Left Front Turn Signal Switch Signal

Ultrasonic Sensor Control Module


Object Number: 2015509  Size: CH

Connector Part Information

  • OEM:
  • Service: See Catalog
  • Description: 4-Way F

Terminal Part Information

  • Terminal/Tray: See Terminal Repair Kit
  • Core/Insulation Crimp: See Terminal Repair Kit
  • Release Tool/Test Probe: See Terminal Repair Kit

Ultrasonic Sensor Control Module

Pin

Wire Color

Circuit No.

Function

1

0.35 BK

9

Alarm Control Module Power Control

2

0.35 BK

7

Intrusion Sensor Signal

3

0.35 BK

6

Gound

4

--

--

Not Used

Valve Lifter Oil Manifold (VLOM) Assembly


Object Number: 2053102  Size: CH

Connector Part Information

  • OEM: 7287-1418
  • Service: See Catalog
  • Description: 5-Way F

Terminal Part Information

  • Terminal/Tray: 12124075/5
  • Core/Insulation Crimp: E/C
  • Release Tool/Test Probe: 12180559-1/J-35616-14 (GN)

Valve Lifter Oil Manifold (VLOM) Assembly

Pin

Wire Color

Circuit No.

Function

A

0.75 OG

5494

Cylinder Shut Off Solenoid 4

B

0.75 GY

5493

Cylinder Shut Off Solenoid 3

C

0.75 D-BU

5491

Cylinder Shut Off Solenoid 1

D

0.75 D-GN/BK

5492

Cylinder Shut Off Solenoid 2

E

0.75 PK/BU

5293

Ignition 1 Voltage

Variable Intake Manifold (VIM) Module


Object Number: 1989316  Size: CH

Connector Part Information

  • OEM: 7283-6997-30
  • Service: See Catalog
  • Description: 5-Way F (BK)

Terminal Part Information

  • Terminal/Tray: 12191819/8
  • Core/Insulation Crimp: E/A
  • Release Tool/Test Probe: 15315247/J-35616-2A (GY)

Variable Intake Manifold (VIM) Module

Pin

Wire Color

Circuit No.

Function

A

0.75 PK/BU

 

Ignition 1 Voltage

B

0.75 BN

 

PWM_OUT

C

0.75 PU/BK

 

PWR_RTN

D

0.75 L-BU/WH

 

PWM

E

0.75 BK

 

Ground

Vehicle Communication Interface Module (VCIM) X1


Object Number: 2091101  Size: CH

Connector Part Information

  • OEM: 7283-1766
  • Service: See Catalog
  • Description: 16-Way F (WH)

Terminal Part Information

  • Terminal/Tray: 175266-5/15
  • Core/Insulation Crimp: K/K
  • Release Tool/Test Probe: 15315247/J-35616-16 (L-GN)

Vehicle Communication Interface Module (VCIM) X1

Pin

Wire Color

Circuit No.

Function

1

0.35 D-GN

5060

Low Speed GMLAN Serial Data

2

0.3 BN/WH

2517

Keypad Red LED Signal

3

0.3 YE/BK

2516

Keypad Green LED Signal

4-5

--

--

Not Used

6

0.3 L-GN/BK

2515

Keypad Supply Voltage

7

0.5 BK

1050

Ground

8-9

--

--

Not Used

10

0.5 BN/BK

9008

High Speed GMLAN Serial Data Bus+

11

0.3 GN/WH

2514

Keypad Signal

12

0.5 BN

9009

High Speed GMLAN Serial Data Bus-

13

0.5 YE/BK

950

VCIM Battery Low Reference

14

0.5 BN/WH

9940

VCIM Battery Power

15

0.5 OG

3340

Battery Positive Voltage

16

--

--

Not Used

Vehicle Communication Interface Module (VCIM) X2


Object Number: 2091144  Size: CH

Connector Part Information

  • OEM: 7283-8621
  • Service: See Catalog
  • Description: 12-Way F (WH)

Terminal Part Information

  • Terminal/Tray: 175266-5/15
  • Core/Insulation Crimp: J/J
  • Release Tool/Test Probe: 15315247J-35616-16 (L-GN)

Vehicle Communication Interface Module (VCIM) X2

Pin

Wire Color

Circuit No.

Function

1

0.3 D-BU

658

Cellular Telephone Voice Signal

2

0.3 L-BU

659

Cellular Telephone Voice Low Reference

3

0.5 BN/BK

9010

High Speed GMLAN Serial Data Bus+

4

0.5 BN

9011

High Speed GMLAN Serial Data Bus-

5-7

--

--

Not Used

8

0.5 BK

--

Ground

9

0.3 D-GN

0655

Cellular Microphone Signal

10

0.3 BK

1782

Drain Wire

11

--

--

Not Used

12

0.3 WH

700

Telephone Audio Signal Mute

Vehicle Communication Interface Module (VCIM) Battery


Object Number: 82383  Size: CH

Connector Part Information

  • OEM: 7123-8328-30
  • Service: 12085535
  • Description: 2-Way F (BK)

Terminal Part Information

  • Terminal/Tray: 12064971/5
  • Core/Insulation Crimp: E/C
  • Release Tool/Test Probe: 12094429/J-35616-14 (GN)

Vehicle Communication Interface Module (VCIM) Battery

Pin

Wire Color

Circuit No.

Function

A

0.5 BN/WH

9940

VCIM Battery Power

B

0.5 YE/BK

950

VCIM Battery Low Reference

Vehicle Speed Sensor (VSS)


Object Number: 1989521  Size: CH

Connector Part Information

  • OEM: 12162195
  • Service: See Catalog
  • Description: 2-Way F

Terminal Part Information

  • Terminal/Tray: See Terminal Repair Kit
  • Core/Insulation Crimp: See Terminal Repair Kit
  • Release Tool/Test Probe: See Terminal Repair Kit

Vehicle Speed Sensor (VSS)

Pin

Wire Color

Circuit No.

Function

A

0.5 PU/WH

821

OSS High Signal

B

0.5 L-GN/BK

822

OSS Low Signal

Video Display


Object Number: 1989444  Size: CH

Connector Part Information

  • OEM: LMAO151400A
  • Service: See Catalog
  • Description:

Terminal Part Information

  • Terminal/Tray: See Terminal Repair Kit
  • Core/Insulation Crimp: See Terminal Repair Kit
  • Release Tool/Test Probe: See Terminal Repair Kit

Video Display

Pin

Wire Color

Circuit No.

Function

1

0.18 YE

6889

Battery Positive (LHD)

0.18 OG

6889

Battery Positive (RHD)

2

--

--

Not Used

3

0.18 PU

6903

Ground (LHD)

0.18 L-BU

6903

Ground (RHD)

4

--

--

Not Used

5

0.18 GY

6900

RSTX / DVTX DVDIN / TX (LHD)

0.18 YE

6900

RSTX / DVTX DVDIN / TX (RHD)

6

0.18 D-BU

6901

RSRX / RS485RX / RX (LHD)

0.18 D-GN

6901

RSRX / RS485RX / RX (RHD)

7

0.18 BARE

6904

Drain Wire (LHD)

8

--

--

Not Used

9

0.18 WH

6890

DVD Audio Left Signal (+) (LHD)

0.18 L-GN

6890

DVD Audio Left Signal (+) (RHD)

10

0.18 WH

6892

DVD Audio Left Signal (-) (LHD)

0.18 L-GN

6892

DVD Audio Left Signal (-)

11

0.18 RD

6891

DVD Audio Right Signal (+) (LHD)

0.18 D-GN/WH

6891

DVD Audio Right Signal (+) (RHD)

12

0.18 RD

6979

DVD Audio Right Signal (-) (LHD)

0.18 D-GN/WH

6979

DVD Audio Right Signal (-) (RHD)

13

0.18 BK

7394

DVD Video Signal (-) (LHD)

0.18 WH

7394

DVD Video Signal (-) (RHD)

14

0.18 BK

7396

DVD Video Signal (+) (LHD)

0.18 WH

7396

DVD Video Signal (+) (RHD)

Video Display - Left Seat Headrest X1


Object Number: 1989444  Size: CH

Connector Part Information

  • OEM: LMAO151400A
  • Service: See Catalog
  • Description:

Terminal Part Information

  • Terminal/Tray: See Terminal Repair Kit
  • Core/Insulation Crimp: See Terminal Repair Kit
  • Release Tool/Test Probe: See Terminal Repair Kit

Video Display - Left Seat Headrest X1

Pin

Wire Color

Circuit No.

Function

1

0.18 OG

6849

Battery Positive

2

--

--

Not Used

3

0.18 L-BU

6873

Ground

4

--

--

Not Used

5

0.18 YE

5845

RS485TX

6

0.18 D-GN

1098

RS485RX

7

0.18 BARE

5339

Shield

8

--

--

Not Used

9

0.18 L-GN

5826

DVD Audio Left Signal (+)

10

0.18 L-GN

5825

DVD Audio Left Signal (-)

11

0.18 D-GN/WH

5828

DVD Audio Right Signal (+)

12

0.18 D-GN/WH

5827

DVD Audio Right Signal (-)

13

0.18 WH

6976

DVD Video Signal (-)

14

0.18 WH

6975

DVD Video Signal (+)

Video Display - Left Seat Headrest X2


Object Number: 1989367  Size: CH

Connector Part Information

  • OEM: LMAO150600A
  • Service: See Catalog
  • Description:

Terminal Part Information

  • Terminal/Tray: See Terminal Repair Kit
  • Core/Insulation Crimp: See Terminal Repair Kit
  • Release Tool/Test Probe: See Terminal Repair Kit

Video Display - Left Seat Headrest X2

Pin

Wire Color

Circuit No.

Function

1

0.18 YE

2059

Auxiliary Audio Left Signal (+)

2

0.18 YE/BK

5843

Auxiliary Audio Left Signal (-)

3

0.18 WH/RD

2058

Auxiliary Audio Right Signal (+)

4

0.18 WH/RD

5345

Auxiliary Audio Right Signal (-)

5

0.18 PU

2057

Auxiliary Video Signal (-)

6

0.18 PU

2056

Auxiliary Video Signal (+)

Video Display - Right Seat Headrest X1


Object Number: 1989444  Size: CH

Connector Part Information

  • OEM: LMAO151400A
  • Service: See Catalog
  • Description:

Terminal Part Information

  • Terminal/Tray: See Terminal Repair Kit
  • Core/Insulation Crimp: See Terminal Repair Kit
  • Release Tool/Test Probe: See Terminal Repair Kit

Video Display - Right Seat Headrest X1

Pin

Wire Color

Circuit No.

Function

1

0.18 OG

6889

Battery Positive Voltage

2

--

--

Not Used

3

0.18 L-BU

6903

Ground

4

--

--

Not Used

5

0.18 YE

6900

RS485TX

6

0.18 D-GN

6901

RS485RX

7

0.18 BARE

6904

Shield

8

--

--

Not Used

9

0.18 L-GN

6890

DVD Audio Left Signal (+)

10

0.18 L-GN

6892

DVD Audio Left Signal (-)

11

0.18 D-GN/WH

6891

DVD Audio Right Signal (+)

12

0.18 D-GN/WH

6979

DVD Audio Right Signal (-)

13

0.18 WH

7394

DVD Video Signal (-)

14

0.18 WH

7396

DVD Video Signal (+)

Video Display - Right Seat Headrest X2


Object Number: 1989444  Size: CH

Connector Part Information

  • OEM: LMAO150600A
  • Service: See Catalog
  • Description:

Terminal Part Information

  • Terminal/Tray: See Terminal Repair Kit
  • Core/Insulation Crimp: See Terminal Repair Kit
  • Release Tool/Test Probe: See Terminal Repair Kit

Video Display - Right Seat Headrest X2

Pin

Wire Color

Circuit No.

Function

1

0.18 YE

2059

Auxiliary Audio Left Signal (+)

2

0.18 YE/BK

5843

Auxiliary Audio Left Signal (-)

3

0.18 WH/RD

2058

Auxiliary Audio Right Signal (+)

4

0.18 WH/RD

5345

Auxiliary Audio Right Signal (-)

5

0.18 PU

2057

Auxiliary Video Signal (-)

6

0.18 PU

2056

Auxiliary Video Signal (+)

Wheel Speed Sensor (WSS) - Left Front


Object Number: 1989573  Size: CH

Connector Part Information

  • OEM: 282080-1
  • Service: See Catalog
  • Description: 2-Way F (BK)

Terminal Part Information

  • Terminal/Tray: See Terminal Repair Kit
  • Core/Insulation Crimp: See Terminal Repair Kit
  • Release Tool/Test Probe: See Terminal Repair Kit

Wheel Speed Sensor (WSS) - Left Front

Pin

Wire Color

Circuit No.

Function

1

0.75 BN

830

Wheel Speed Sensor Signal Left Front

2

0.75 BK

7064

Wheel Speed Sensor Supply Voltage Left Front

Wheel Speed Sensor (WSS) - Left Rear


Object Number: 1989573  Size: CH

Connector Part Information

  • OEM: 282080-1
  • Service: See Catalog
  • Description: 2-Way F (BK)

Terminal Part Information

  • Terminal/Tray: See Terminal Repair Kit
  • Core/Insulation Crimp: See Terminal Repair Kit
  • Release Tool/Test Probe: See Terminal Repair Kit

Wheel Speed Sensor (WSS) - Left Rear

Pin

Wire Color

Circuit No.

Function

1

0.5 BN/BK

884

Wheel Speed Sensor Signal Left Rear

2

0.5 GY

7127

Wheel Speed Sensor Supply Voltage Left Rear

Wheel Speed Sensor (WSS) - Right Front


Object Number: 1989573  Size: CH

Connector Part Information

  • OEM: 282080-1
  • Service: See Catalog
  • Description: 2-Way F (BK)

Terminal Part Information

  • Terminal/Tray: See Terminal Repair Kit
  • Core/Insulation Crimp: See Terminal Repair Kit
  • Release Tool/Test Probe: See Terminal Repair Kit

Wheel Speed Sensor (WSS) - Right Front

Pin

Wire Color

Circuit No.

Function

1

0.75 BN

872

Wheel Speed Sensor Signal Right Front

2

0.75 BK

7065

Wheel Speed Sensor Supply Voltage Right Front

Wheel Speed Sensor (WSS) - Right Rear


Object Number: 1989573  Size: CH

Connector Part Information

  • OEM: 282080-1
  • Service: See Catalog
  • Description: 2-Way F (BK)

Terminal Part Information

  • Terminal/Tray: See Terminal Repair Kit
  • Core/Insulation Crimp: See Terminal Repair Kit
  • Release Tool/Test Probe: See Terminal Repair Kit

Wheel Speed Sensor (WSS) - Right Rear

Pin

Wire Color

Circuit No.

Function

1

0.5 BN

882

Wheel Speed Sensor Signal Right Rear

2

0.5 GY

7128

Wheel Speed Sensor Supply Voltage Right Rear

Window Control Module


Object Number: 1989613  Size: CH

Connector Part Information

  • OEM: 7283-4417-60
  • Service: See Catalog
  • Description: 12-Way F (GN)

Terminal Part Information

  • Terminal/Tray: See Terminal Repair Kit
  • Core/Insulation Crimp: See Terminal Repair Kit
  • Release Tool/Test Probe: See Terminal Repair Kit

Window Control Module

Pin

Wire Color

Circuit No.

Function

1

2 BU/WH

666

Power Window Motor Right Front Up Control

2

2 BN/OG

165

Power Window Motor Left Front Down Control

3

0.5 L-BU

166

Power Window Master Switch Right Front Up Signal

4

--

--

Not Used

5

2 BK

1350

Ground

6

0.5 BN

1300

Power Window Master Switch Left Front Up Signal

7

--

--

Not Used

8

2 D-GN

1001

RAP Supply Voltage

9

0.5 TN

167

Power Window Master Switch Right Front Down Signal

10

2 BN

667

Power Window Motor Right Front Down Control

11

2 D-BU

164

Power Window Motor Left Front Up Control

12

0.5 GY

1136

Power Window Master Switch Left Front Down Control Signal

Window Motor - Driver (AXB)


Object Number: 1989616  Size: CH

Connector Part Information

  • OEM: 7283-2176-40
  • Service: See Catalog
  • Description: 2-Way F Metri-Pack 280 Series Flexlock Sealed (GY)

Terminal Part Information

  • Terminal/Tray: 12110845/4
  • Core/Insulation Crimp: A/5
  • Release Tool/Test Probe: 15315247/J-35616-4A (PU)

Window Motor - Driver (AXB)

Pin

Wire Color

Circuit No.

Function

A

2 BN/OG

165

Power Window Motor Left Front Down Control

B

2 D-BU

164

Power Window Motor Left Front Up Control

Window Motor - Driver (AXC)


Object Number: 1989617  Size: CH

Connector Part Information

  • OEM: 902970-00
  • Service: See Catalog
  • Description: 6-Way F

Terminal Part Information

  • Terminal/Tray: See Terminal Repair Kit
  • Core/Insulation Crimp: See Terminal Repair Kit
  • Release Tool/Test Probe: See Terminal Repair Kit

Window Motor - Driver (AXC)

Pin

Wire Color

Circuit No.

Function

1

0.5 BN/RD

1300

Power Window Master Switch Left Front Up Signal

2

0.5 D-GN

1301

RAP [X] Fuse Supply Voltage

3

2 RD/WH

1540

Battery Positive Voltage

4

0.5 BK

2050

Ground

5

--

--

Not Used

6

0.5 GY/BU

1136

Power Window Motor Left Front Down Control

Window Motor - Left Rear


Object Number: 1989618  Size: CH

Connector Part Information

  • OEM: 7283-2176-40
  • Service: 88988609
  • Description: 2-Way F Metri-Pack 280 Series Flexlock Sealed (GY)

Terminal Part Information

  • Terminal/Tray: 12110845/4
  • Core/Insulation Crimp: A/5
  • Release Tool/Test Probe: 15315247/J-35616-4A (PU)

Window Motor - Left Rear

Pin

Wire Color

Circuit No.

Function

A

2 BN

669

Power Window Motor Left Rear Down Control

B

2 D-BU

668

Power Window Motor Left Rear Up Control

Window Motor - Passenger (AXB)


Object Number: 1989617  Size: CH

Connector Part Information

  • OEM:
  • Service: See Catalog
  • Description: 6-Way F

Terminal Part Information

  • Terminal/Tray: See Terminal Repair Kit
  • Core/Insulation Crimp: See Terminal Repair Kit
  • Release Tool/Test Probe: See Terminal Repair Kit

Window Motor - Passenger (AXB)

Pin

Wire Color

Circuit No.

Function

1

0.5 L-BU

166

Power Window Master Switch Right Front Up Signal

2

0.5 D-GN

1301

RAP [X] Fuse Supply Voltage

3

2 RD/WH

1540

Battery Positive Voltage

4

2 BK

1350

Ground

5

--

--

Not Used

6

0.5 D-GN/BK

167

Power Window Master Switch Right Front Down Signal

Window Motor - Passenger (AXC)


Object Number: 1989618  Size: CH

Connector Part Information

  • OEM: 7283-2176-40
  • Service: See Catalog
  • Description: 2-Way F Metri-Pack 280 Series Flexlock Sealed (GY)

Terminal Part Information

  • Terminal/Tray: 12110845/4
  • Core/Insulation Crimp: A/5
  • Release Tool/Test Probe: 15315247/J-35616-4A (PU)

Window Motor - Passenger (AXC)

Pin

Wire Color

Circuit No.

Function

A

2 BN

667

Power Window Motor Right Front Down Control

B

2 D-BU/WH

666

Power Window Motor Right Front Up Control

Window Motor - Right Rear


Object Number: 1989618  Size: CH

Connector Part Information

  • OEM: 7283-2176-40
  • Service: 88988609
  • Description: 2-Way F Metri-Pack 280 Series Flexlock Sealed (GY)

Terminal Part Information

  • Terminal/Tray: 12110845/4
  • Core/Insulation Crimp: A/5
  • Release Tool/Test Probe: 15315247/J-35616-4A (PU)

Window Motor - Right Rear

Pin

Wire Color

Circuit No.

Function

A

2 BN

671

Power Window Motor Right Rear Down Control

B

2 D-BU

670

Power Window Motor Right Rear Up Control

Window Switch - Left Rear


Object Number: 1989619  Size: CH

Connector Part Information

  • OEM: 7283-1060
  • Service: See Catalog
  • Description: 6-Way F (WH)

Terminal Part Information

  • Terminal/Tray: 7116-4022/11
  • Core/Insulation Crimp: 4/A
  • Release Tool/Test Probe: 15315247/J-35616-18 (BK)

Window Switch - Left Rear

Pin

Wire Color

Circuit No.

Function

1

2 D-BU

668

Power Window Motor Left Rear Up Control

2

0.3 BK

 

Ground

3

2 D-GN

168

Power Window Master Switch Left Rear Up Signal

4

2 D-BU

1307

Power Window Master Switch Lockout Signal

5

2 BN

669

Power Window Motor Left Rear Down Control

6

2 PU

169

Power Window Master Switch Left Rear Down Signal

Window Switch - Right Rear


Object Number: 1989619  Size: CH

Connector Part Information

  • OEM: 7283-1060
  • Service: See Catalog
  • Description: 6-Way F (WH)

Terminal Part Information

  • Terminal/Tray: 7116-4022/11
  • Core/Insulation Crimp: 4/A
  • Release Tool/Test Probe: 15315247/J-35616-18 (BK)

Window Switch - Right Rear

Pin

Wire Color

Circuit No.

Function

1

2 D-BU

670

Power Window Motor Right Rear Up Control

2

0.3 BK

 

Ground

3

2 L-GN

170

Power Window Master Switch Right Rear Up Signal

4

2 D-BU

1307

Power Window Master Switch Lockout Signal

5

2 BN

671

Power Window Motor Right Rear Down Control

6

2 PU/WH

171

Power Window Master Switch Right Rear Down Signal

Windshield Washer Fluid Level Switch (TT7 or TT8 or EF7)


Object Number: 1989398  Size: CH

Connector Part Information

  • OEM: PB625-02027
  • Service: See Catalog
  • Description: 2-Way F

Terminal Part Information

  • Terminal/Tray: See Terminal Repair Kit
  • Core/Insulation Crimp: See Terminal Repair Kit
  • Release Tool/Test Probe: See Terminal Repair Kit

Windshield Washer Fluid Level Switch (TT7 or TT8 or EF7)

Pin

Wire Color

Circuit No.

Function

A

0.3 BK

250

Ground

B

0.3 BN

185

Low Washer Fluid Indicator Signal

Windshield Washer Fluid Pump


Object Number: 1989400  Size: CH

Connector Part Information

  • OEM: 7283-7031-10
  • Service: See Catalog
  • Description: 2-Way F (BK)

Terminal Part Information

  • Terminal/Tray: 7116-4026/11
  • Core/Insulation Crimp: E/1
  • Release Tool/Test Probe: 15313892/J-35616-18 (BK)

Windshield Washer Fluid Pump

Pin

Wire Color

Circuit No.

Function

1

0.75 OG

228

Windshield Washer Pump Control

2

0.75 BK

250

Ground

Windshield Wiper Motor


Object Number: 1989404  Size: CH

Connector Part Information

  • OEM: 7283-2043-30
  • Service: See Catalog
  • Description: 4-Way F (BK)

Terminal Part Information

  • Pins: 1-2
  • Terminal/Tray: 4-964273-1/15
  • Core/Insulation Crimp: C/5
  • Release Tool/Test Probe: 12093647/J-35616-4A (PU)
  • Pin: 3
  • Terminal/Tray: 4-964273-1/15
  • Core/Insulation Crimp: E/1
  • Release Tool/Test Probe: 12093647/J-35616-4A (PU)
  • Pin: 4
  • Terminal/Tray: See Terminal Repair Kit
  • Core/Insulation Crimp: See Terminal Repair Kit
  • Release Tool/Test Probe: See Terminal Repair Kit

Windshield Wiper Motor

Pin

Wire Color

Circuit No.

Function

1

2 YE

196

Windshield Wiper Motor Park Switch Signal

2

2 BK

350

Ground

3

1.25 BN/WH

92

Windshield Wiper Motor High Speed

4

0.3 D-GN

95

Windshield Wiper Motor Low Speed

Windshield Wiper/Washer Switch


Object Number: 1989391  Size: CH

Connector Part Information

  • OEM: 7283-7387-30
  • Service: See Catalog
  • Description: 8-Way F (BK)

Terminal Part Information

  • Terminal/Tray: 173681-2/17
  • Core/Insulation Crimp: E/4
  • Release Tool/Test Probe: 15315247/J-35616-16 (L-GN)

Windshield Wiper/Washer Switch

Pin

Wire Color

Circuit No.

Function

1

--

--

Not Used

2

0.3 OG

94

Windshield Washer Switch Signal (LHD)

3

0.3 L-BU

1714

Windshield Wiper Switch Low Signal (LHD)

4

0.3 BK/WH

1715

Windshield Wiper Switch High Signal (RHD)

0.3 L-GN

1715

Windshield Wiper Switch High Signal (LHD)

5

--

--

Not Used

6

0.3 OG

94

Windshield Washer Switch Signal (RHD)

7

0.3 L-BU

1714

Windshield Wiper Switch Low Signal (RHD)

8

0.3 BK/WH

1251

Ground (RHD)

0.3 L-GN

1251

Windshield Wiper Switch High Signal (LHD)

Yaw and Lateral Accelerometer Sensor


Object Number: 1989575  Size: CH

Connector Part Information

  • OEM: 7219-1764-30
  • Service: See Catalog
  • Description: 6-Way F (BK)

Terminal Part Information

  • Terminal/Tray: 962885-5/15
  • Core/Insulation Crimp: 6/6
  • Release Tool/Test Probe: 12094429/J-35616-64B (L-BU)

Yaw and Lateral Accelerometer Sensor

Pin

Wire Color

Circuit No.

Function

1

0.5 D-GN

2087

5-V Reference

2

0.5 L-GN/BK

5352

Yaw Rate Sensor Test Control

3

0.5 L-BU

5986

Communication Enable Relay Supply Voltage

4

0.5 BN/WH

2086

Yaw Rate Signal

5

0.5 PU/WH

1699

Combined Vehicle Inertial Sensor Signal

6

0.5 BK/BU

2088

Low Reference