GM Service Manual Online
For 1990-2009 cars only

Rear Seat Belt Buckle Replacement LHD

Removal Procedure

    Caution: Refer to SIR Caution in the Preface section.

  1. Remove the rear seat cushion. Refer to Rear Seat Cushion Replacement .

  2. Object Number: 1959877  Size: SH
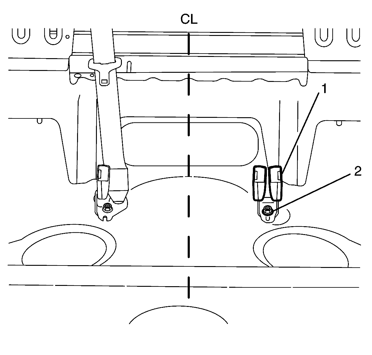
  3. Remove the seat belt buckle nut (2).
  4. Remove the rear seat belt twin buckle (1) from the floor pan.

Installation Procedure

    Notice: Refer to Fastener Notice in the Preface section.


    Object Number: 1959877  Size: SH

    Important: Make sure buckle is parallel to vehicle centreline.

  1. Install the rear seat belt buckles (1) to the floor pan.
  2. Tighten
    Tighten the seat belt buckle nut (2) to 43 N·m (31 lb ft).

  3. Install the rear seat cushion. Refer to Rear Seat Cushion Replacement .

Rear Seat Belt Buckle Replacement RHD

Removal Procedure

    Caution: Refer to SIR Caution in the Preface section.

  1. Remove the rear seat cushion. Refer to Rear Seat Cushion Replacement .

  2. Object Number: 1959867  Size: SH
  3. Remove the seat belt buckle nut (2).
  4. Remove the rear seat belt twin buckle (1) from the floor pan.

Installation Procedure

    Notice: Refer to Fastener Notice in the Preface section.


    Object Number: 1959867  Size: SH

    Important: Make sure buckle is parallel to vehicle centreline.

  1. Install the rear seat belt buckles (1) to the floor pan.
  2. Tighten
    Tighten the seat belt buckle nut (2) to 43 N·m (31 lb ft).

  3. Install the rear seat cushion. Refer to Rear Seat Cushion Replacement .