GM Service Manual Online
For 1990-2009 cars only

Object Number: 1432455  Size: LF
Master Electrical Component List
Automatic Transmission Controls Schematics
OBD II Symbol Description Notice
Control Module References

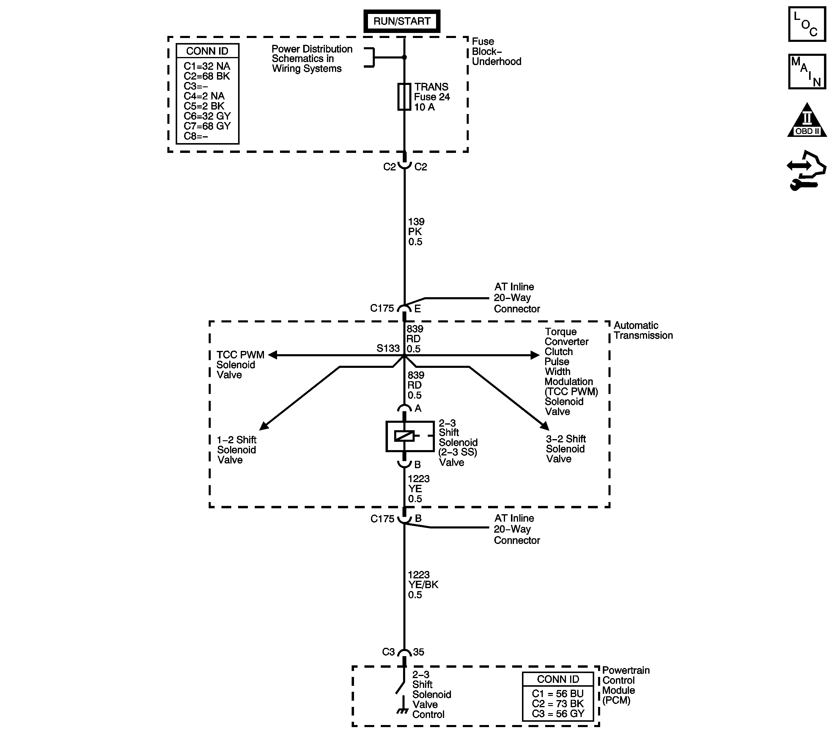
Circuit Description

The 2-3 shift solenoid (SS) valve controls the transmission fluid pressure acting on the 1-2 and 2-3 shift valves to position the valves for the appropriate gear. The 2-3 SS valve is a normally open exhaust valve located on the lower control valve body. Ignition voltage is supplied to the solenoid. The powertrain control module (PCM) commands the solenoid ON or OFF by providing a ground path. When the 2-3 SS valve is commanded ON, the PCM senses low voltage. When the 2-3 SS valve is commanded OFF, the PCM senses high voltage.

If the PCM detects a continuous open or short to ground in the 2-3 SS valve circuit, then DTC P0976 sets. DTC P0976 is a type A DTC.

DTC Descriptor

This diagnostic procedure supports the following DTC:

DTC P0976 2-3 Shift Solenoid (SS) Control Circuit Low Voltage

Conditions for Running the DTC

The engine speed is greater than 475 RPM for 7 seconds.

Conditions for Setting the DTC

The 2-3 SS valve feedback circuit indicates a continuous open or short to ground for 4.3 seconds.

Action Taken When the DTC Sets

    • The PCM illuminates the malfunction indicator lamp (MIL).
    • The PCM commands an immediate landing to 3rd gear.
    • The PCM inhibits torque converter clutch (TCC) engagement.
    • The PCM commands maximum line pressure.
    • The PCM freezes transmission adaptive functions.
    • The PCM records the operating conditions when the Conditions for Setting the DTC are met. The PCM stores this information as Freeze Frame and Failure Records.
    • The PCM stores DTC P0976 in PCM history.

Conditions for Clearing the MIL/DTC

    • The PCM turns OFF the MIL during the third consecutive trip in which the diagnostic test runs and passes.
    • A scan tool can clear the MIL/DTC.
    • The PCM clears the DTC from PCM history if the vehicle completes 40 warm-up cycles without an emission-related diagnostic fault occurring.
    • The PCM cancels the DTC default actions when the ignition switch is OFF long enough in order to power down the PCM.

Test Description

The numbers below refer to the step numbers on the diagnostic table.

  1. This step tests the electrical operation of the solenoid.

  2. This step verifies the PCMs ability to command the solenoid.

  3. This step verifies that the circuit has the correct resistance.

DTC P0976

Step

Action

Values

Yes

No

1

Did you perform the Diagnostic System Check - Vehicle?

--

Go to Step 2

Go to Diagnostic System Check - Vehicle

2

  1. Install a scan tool.
  2. Turn ON the ignition, with the engine OFF.
  3. Important: Before clearing the DTC, use the scan tool in order to record the Freeze Frame and Failure Records. Using the Clear Info function erases the Freeze Frame and Failure Records from the powertrain control module (PCM).

  4. Record the DTC Freeze Frame and Failure Records.
  5. Clear the DTC.

Is DTC P0973, P0787 or P2764 also set?

--

Go to Step 3

Go to Step 8

3

  1. Remove the TRANS fuse.
  2. Inspect the fuse for an open.

Refer to Circuit Protection - Fuses.

Did you find the condition?

--

Go to Step 4

Go to Step 6

4

Important: The condition that affects this circuit may exist in other connecting branches of the circuit. Refer to Power Distribution Schematics for complete circuit distribution.

Test the ignition voltage circuit of the 2-3 shift solenoid (SS) valve for a short to ground between the fuse block underhood and the AT inline 20-way connector. Refer to Testing for Short to Ground and Wiring Repairs.

Did you find and correct the condition?

--

Go to Step 23

Go to Step 5

5

Important: The condition that affects this circuit may exist in other connecting branches of the circuit. Refer to Power Distribution Schematics for complete circuit distribution.

Test the ignition voltage circuit of the 2-3 SS valve for a short to ground between the AT inline 20-way connector and the 2-3 SS valve. Refer to Testing for Short to Ground.

Did you find the condition?

--

Go to Step 20

--

6

Test the ignition voltage circuit of the 2-3 SS valve for an open between the fuse block underhood and the AT inline 20-way connector. Refer to Testing for Continuity and Wiring Repairs.

Did you find and correct the condition?

--

Go to Step 23

Go to Step 7

7

Test the ignition voltage circuit of the 2-3 SS valve for an open between the AT inline 20-way connector and the 2-3 SS valve. Refer to Testing for Continuity.

Did you find the condition?

--

Go to Step 20

--

8

  1. Use the scan tool in order to command the 2-3 SS valve ON and OFF 3 times.
  2. Listen at the transmission bottom pan.

Does the solenoid click when commanded ON and OFF?

--

Go to Testing for Intermittent Conditions and Poor Connections

Go to Step 9

9

  1. Turn OFF the ignition.
  2. Disconnect the AT inline 20-way connector. Additional DTCs may set.
  3. Install the J 44152 Jumper Harness (20 pins) on the engine side of the AT inline 20-way connector.
  4. Using the J 35616 GM Terminal Test Kit, connect a test lamp between the 2-3 SS valve ignition voltage and control circuits of the J 44152 . Refer to Automatic Transmission Inline 20-Way Connector End View.
  5. Turn ON the ignition, with the engine OFF.
  6. Command the 2-3 SS valve ON and OFF 3 times.

Is the test lamp ON when you command the solenoid ON, and OFF when you command the solenoid OFF?

--

Go to Step 14

Go to Step 10

10

Is the test lamp always ON?

--

Go to Step 11

Go to Step 13

11

  1. Turn OFF the ignition.
  2. Disconnect the PCM. Additional DTCs may set.
  3. Turn ON the ignition, with the engine OFF.

Is the test lamp ON?

--

Go to Step 12

Go to Step 22

12

Test the control circuit of the 2-3 SS valve for a short to ground between the PCM and the AT inline 20-way connector. Refer to Testing for Short to Ground and Wiring Repairs.

Did you find and correct the condition?

--

Go to Step 23

--

13

Test the control circuit of the 2-3 SS valve for an open between the PCM and the AT inline 20-way connector. Refer to Testing for Continuity and Wiring Repairs.

Did you find and correct the condition?

--

Go to Step 23

Go to Step 22

14

  1. Turn OFF the ignition.
  2. Disconnect the J 44152 from the engine side of the AT inline 20-way connector.
  3. Install the J 44152 on the transmission side of the AT inline 20-way connector.
  4. Using the DMM and the J 35616 measure the resistance between the 2-3 SS valve ignition voltage and control circuits of the J 44152 .

Refer to Automatic Transmission Inline 20-Way Connector End View.

Does the resistance measure within the specified range?

20-40 Ω

Go to Step 17

Go to Step 15

15

Does the resistance measure greater than the specified value?

40 Ω

Go to Step 16

Go to Step 17

16

  1. Test the control circuit of the 2-3 SS valve for an open between the AT inline 20-way connector and the 2-3 SS valve.
  2. Test the ignition voltage circuit for an open between the AT inline 20-way connector and the 2-3 SS valve.

Refer to Testing for Continuity.

Did you find a condition?

--

Go to Step 20

Go to Step 21

17

Measure the resistance from the 2-3 SS valve control circuit of the J 44152 to ground. Refer to Testing for Continuity and Automatic Transmission Inline 20-Way Connector End View.

Does the resistance measure less than the specified value?

100 Ω

Go to Step 18

Go to Step 19

18

Test the control circuit of the 2-3 SS valve for a short to ground between the AT inline 20-way connector and the 2-3 SS valve. Refer to Testing for Short to Ground.

Did you find the condition?

--

Go to Step 20

--

19

Measure the resistance between the 2-3 SS valve control circuit and all other terminals, except the 2-3 SS valve ignition voltage circuit, of the J 44152 . Refer to Automatic Transmission Inline 20-Way Connector End View.

Does the resistance measure less than the specified value?

100 Ω

Go to Step 20

Go to Step 21

20

Replace the automatic transmission wiring harness. Refer to Valve Body and Pressure Switch Replacement.

Did you complete the replacement?

--

Go to Step 23

--

21

Replace the 2-3 SS valve. Refer to Valve Body and Pressure Switch Replacement.

Did you complete the replacement?

--

Go to Step 23

--

22

Replace the PCM. Refer to Control Module References.

Did you complete the replacement?

--

Go to Step 23

--

23

Perform the following procedure in order to verify the repair:

  1. Select DTC.
  2. Select Clear Info.
  3. Operate the vehicle under the following conditions:
  4. • Drive the vehicle in D4.
    • Allow the transmission to obtain a 2-3 upshift.
  5. Select Specific DTC.
  6. Enter DTC P0976.

Has the test run and passed?

--

Go to Step 24

Go to Step 2

24

With the scan tool, observe the stored information, capture info. and DTC info.

Does the scan tool display any DTCs that you have not diagnosed?

--

Go to Diagnostic Trouble Code (DTC) List - Vehicle

System OK