GM Service Manual Online
For 1990-2009 cars only

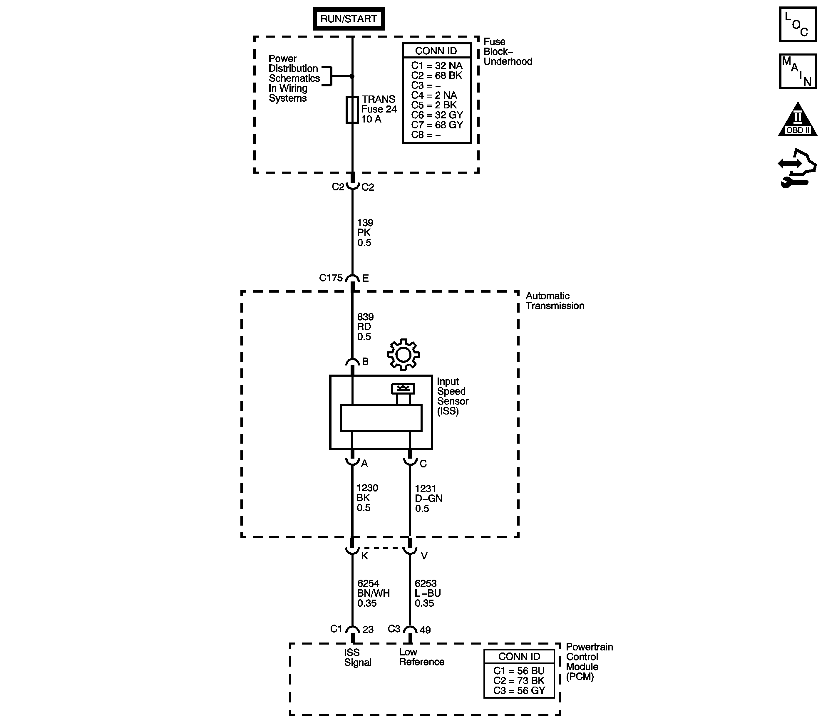
Object Number: 1819307  Size: LF
Master Electrical Component List
Automatic Transmission Controls Schematics
OBD II Symbol Description Notice
Control Module References

Circuit Description

The automatic transmission input shaft speed (AT ISS) sensor assembly is a three-wire hall-effect sensor that is mounted internally to the transmission on the oil pump assembly. The AT ISS utilizes the gear teeth, located on the turbine shaft, to generate a voltage signal of varying frequency that corresponds to the rotational speed of the turbine shaft. The AT ISS signal is an input to the powertrain control module (PCM) and is used to determine line pressure, transmission shift patterns, torque converter clutch (TCC) slip speed and gear ratio.

If the PCM detects an unrealistically large change in the AT ISS speed, DTC P0716 sets. DTC P0716 is a type B DTC.

DTC Descriptor

This diagnostic procedure supports the following DTC:

DTC P0716 Input Speed Sensor Performance

Conditions for Running the DTC

    • No vehicle speed sensor (VSS) DTCs P0722 or P0723.
    • No AT ISS DTC P0717.
    • No shift solenoid (SS) DTCs P0757, P0973 or P0974.
    • The AT ISS speed is greater than 1000 RPM for 2 seconds.
    • The vehicle speed is greater than 16 km/h (10 mph).
    • The engine torque is greater than 90 N·m (66 lb ft).
    • The throttle position is greater than 10 percent.
    • The AT ISS speed has not changed more than 300 RPM for 2 seconds.

Conditions for Setting the DTC

The AT ISS RPM changes abruptly by greater than 1300 RPM for 5 seconds.

Action Taken When the DTC Sets

    • The PCM illuminates the malfunction indicator lamp (MIL) during the second consecutive trip in which the Conditions for Setting the DTC are met.
    • The PCM commands maximum line pressure.
    • The PCM freezes transmission adapts.
    • The PCM calculates a default AT ISS RPM.
    • The PCM records the operating conditions when the Conditions for Setting the DTC are met. The PCM stores this information as Freeze Frame and Failure Records.
    • The PCM records the operating conditions when the Conditions for Setting the DTC are met. The PCM stores this information as Failure Records.
    • The PCM stores DTC P0716 in PCM history during the second consecutive trip in which the Conditions for Setting the DTC are met.

Conditions for Clearing the MIL/DTC

    • The PCM turns OFF the MIL after the third consecutive drive trip in which the MIL illumination request is not present.
    • A scan tool can clear the MIL/DTC.
    • The PCM clears the DTC from PCM history if the vehicle completes 40 warm-up cycles without an emission-related diagnostic fault occurring.

Diagnostic Aids

    • Inspect the connectors at the PCM, the AT ISS, and all other circuit connecting points for an intermittent condition. Refer to Testing for Intermittent Conditions and Poor Connections
    • Inspect the circuit wiring for an intermittent condition. Refer to Testing for Electrical Intermittents
    • Road test the vehicle while monitoring the Transmission ISS parameter on the scan tool. The Transmission ISS parameter should vary with engine speed changes and not abruptly drop out.
    • Inspect for an open or shorted AT ISS wire.
    • Inspect for a disconnected AT ISS connector.
    • Inspect for a faulty AT ISS.

DTC P0716

Step

Action

Values

Yes

No

1

Did you perform the Diagnostic System Check - Vehicle?

--

Go to Step 2

Go to Diagnostic System Check - Vehicle

2

  1. Install a scan tool.
  2. Turn ON the ignition with the engine OFF.
  3. Important: Before clearing the DTCs, use the scan tool in order to record the Freeze Frame and Failure Records for reference. The Clear Info function will erase the data.

  4. Record the DTC Freeze Frame and Failure Records.
  5. Clear the DTCs.
  6. Road test the vehicle.
  7. Observe the Transmission AT ISS parameter on the scan tool.

Does the scan tool indicate a Transmission AT ISS parameter fluctuate or drop greater than the specified value?

1300 RPM

Go to Step 3

Go to Diagnostic Aids

3

  1. Turn OFF the ignition.
  2. Disconnect the AT 20-way connector.
  3. Turn the ignition ON, with the engine OFF.
  4. Using the DMM, measure the PCM harness side voltage of the AT ISS 12-volt reference circuit to ground, at the AT 20-way connector, engine harness side.
  5. Wiggle the engine harness between the PCM and the AT 20-way connector.

Does the voltage measure near the specified value and not fluctuate?

12 V

Go to Step 4

Go to Step 7

4

Measure the voltage from the AT ISS 12-volt reference circuit to the AT ISS low reference circuit, at the AT 20-way connector, engine harness side.

Does the voltage measure near the specified value and not fluctuate?

12 V

Go to Step 5

Go to Step 8

5

  1. Turn OFF the ignition.
  2. Connect the J 38522 Variable Signal Generator, to the AT ISS signal circuit at the AT 20-way connector, engine harness side.
  3. Adjust the signal to 12 V.
  4. Adjust the frequency to 300Hz.
  5. Adjust the duty cycle to 50 percent.
  6. Turn the ignition ON, with the engine OFF.
  7. Observe the Transmission AT ISS parameter on the scan tool.

Is the Transmission AT ISS RPM near the specified value and does not fluctuate?

602 RPM

Go to Step 9

Go to Step 6

6

Test the AT ISS signal circuit for the following conditions:

    • An open
    • A short to ground
    • A short to voltage

Refer to Circuit Testing and Wiring Repairs .

Did you find and correct the condition?

--

Go to Step 14

Go to Step 13

7

Test the AT ISS 12-volt reference circuit for the following conditions:

    • An open
    • A short to ground

Refer to Circuit Testing and Wiring Repairs .

Did you find and correct the condition?

--

Go to Step 14

Go to Step 13

8

Test the AT ISS low reference circuit for an open or a short to voltage. Refer to Circuit Testing and Wiring Repairs .

Did you find and correct the condition?

--

Go to Step 14

Go to Step 13

9

Test the AT ISS internal transmission harness for the following conditions:

    • An open
    • A short to ground
    • A short to voltage

Refer to Circuit Testing .

Did you find a condition?

--

Go to Step 11

Go to Step 10

10

  1. Remove the AT ISS sensor. Refer to Oil Pump Disassemble .
  2. Inspect the AT ISS and the transmission for the following conditions:
  3. • An incorrect AT ISS
    • A loose AT ISS
    • A damaged AT ISS
    • Incorrect AT ISS installation
    • Turbine shaft damage
  4. Repair any of the above conditions as necessary.

Did you find and correct the condition?

--

Go to Step 14

Go to Step 12

11

Replace the internal transmission harness. Refer to Valve Body and Pressure Switch Replacement .

Did you complete the action?

--

Go to Step 14

--

12

Replace the AT ISS. Refer to Oil Pump Disassemble .

Did you complete the replacement?

--

Go to Step 14

--

13

Replace the PCM. Refer to Control Module References for replacement, setup, and programming.

Did you complete the replacement?

--

Go to Step 14

--

14

Perform the following procedure In order to verify the repair:

  1. Select DTC.
  2. Select Clear Info.
  3. Drive the vehicle.
  4. Ensure the vehicle speed is greater than 20 km/h (13 mph) for at least 10 seconds.
  5. Select specific DTC.
  6. Enter DTC P0716.

Has the test run and passed?

--

Go to Step 15

Go to Step 2

15

With the scan tool, observe the stored information, capture info and DTC info.

Does the scan tool display any DTCs that you have not diagnosed?

--

Go to Diagnostic Trouble Code (DTC) List - Vehicle

System OK