- Place a length of fresh, room temperature plastic gauging material all the way
across all the crankshaft bearing journals.
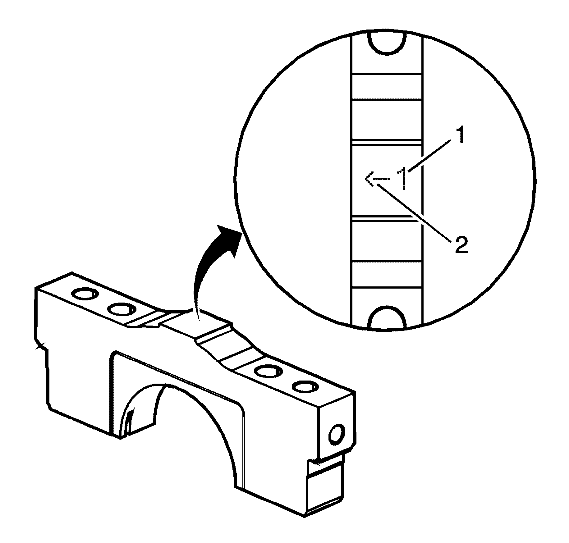
- Identify the proper order of the crankshaft bearing caps. The crankshaft
bearing caps are numbered 1 (1) through 4, with the front main bearing
cap marked with the number 1. The arrow (2) is to be oriented to the
front of the cylinder block.
- Install the crankshaft bearing caps (3).
- Loosely install the original inner crankshaft bearing cap to cylinder
block retaining bolts (1).
- Loosely install the original outer crankshaft bearing cap to cylinder
block retaining bolts (2).
- Tap the crankshaft bearing caps with a soft-faced hammer to help seat the crankshaft
bearing caps.
- Loosely install the original short/inner side crankshaft bearing cap to cylinder
block retaining bolts (1).
- Loosely install the original long/outer side crankshaft bearing cap to
cylinder block retaining bolts (2).
- Tighten the crankshaft bearing cap to cylinder block retaining bolts using
the
J 45059
in the following
sequence:
Notice: Refer to Fastener Notice in the Preface section.
- Tighten the inboard crankshaft bearing cap to cylinder block retaining bolts (1-8).
Tighten
Tighten the bolts to 20 N·m (15 lb ft)
plus 80 degrees.
- Tighten the outboard crankshaft bearing cap to cylinder block retaining bolts (9-16).
Tighten
Tighten the bolts to 15 N·m (11 lb ft)
plus 110 degrees.
- Tighten the short/inner crankshaft bearing cap to cylinder block retaining bolts (17-20).
Tighten
Tighten the bolts to 30 N·m (22 lb ft)
plus 60 degrees.
- Tighten the long/outer crankshaft bearing cap to cylinder block retaining
bolts (21-24).
Tighten
Tighten the bolts to 30 N·m (22 lb ft)
plus 60 degrees.
Important: DO NOT rotate the crankshaft.
- After reaching final torque, allow the assembly to sit for 2 minutes.
- Remove the original short/inner side crankshaft bearing cap to cylinder block
retaining bolts (1).
- Remove the original long/outer side crankshaft bearing cap to cylinder
block retaining bolts (2).
- Remove the install the original outer crankshaft bearing cap to cylinder block
retaining bolts (2).
- Remove the original inner crankshaft bearing cap to cylinder block retaining
bolts (1).
- Remove the crankshaft bearing caps (3) using the
J 6125-1B
and
J 41818
- Determine the crankshaft bearing clearance by comparing the width of the flattened
plastic gauging material (1) at its widest point with the graduation on the
gauging material container (2).
Important: The crankshaft bearings CAN be reused after
checking the clearance if the bearings have never been used in a running engine.
- Compare your measurements with the engine mechanical specifications. Refer to
Engine Mechanical Specifications
. If the new bearings
DO NOT provide the proper crankshaft to bearing clearance, inspect the following:
| 21.1. | Re-measure the crankshaft journals for the correct specified size and
ensure the proper new bearings are being installed. If the crankshaft journals are
incorrectly sized, replace or regrind the crankshaft. Crankshaft machining is permitted
and undersized bearings are available. |
| 21.2. | Re-measure the cylinder block crankshaft bearing bore diameter to ensure
proper size. The cylinder block crankshaft bearing bore is not machinable and the
block must be replaced if out of specification. |
- Clean the plastic gauging material from the crankshaft bearing journals
with a soft, lint-free cloth.
- Lift the crankshaft (1) out of the cylinder block (2).
- Apply a liberal amount of clean engine oil to the upper and lower bearing surfaces.
- Gently lower the crankshaft (1) into position in the cylinder block (2).
- Identify the proper order of the crankshaft bearing caps. The crankshaft bearing
caps are numbered 1 (1) through 4, with the front main bearing cap marked
with the number 1. The arrow (2) is to be oriented to the front of the
cylinder block.
- Install the crankshaft bearing caps (3).
- Loosely install the original inner crankshaft bearing cap to cylinder
block retaining bolts (1).
- Loosely install the NEW outer crankshaft bearing cap to cylinder block
retaining bolts (2).
- Tap the crankshaft bearing caps with a soft-faced hammer to help seat the crankshaft
bearing caps.
Important: The side main cap bolts originally have a
sealant on the flange of the bolt head. NEW bolts must be used. If NEW bolts are not
used, oil can leak from the crankcase past the bolts.
- Loosely install the NEW short/inner side crankshaft bearing cap to cylinder
block retaining bolts (1).
- Loosely install the NEW long/outer side crankshaft bearing cap to cylinder
block retaining bolts (2).
Notice: Refer to Fastener Notice in the Preface section.
- Tighten the crankshaft bearing cap to cylinder block retaining bolts using
the
J 45059
in the following
sequence:
- Tighten the inboard crankshaft bearing cap to cylinder block retaining bolts (1-8).
Tighten
Tighten the bolts to 20 N·m (15 lb ft)
plus 80 degrees.
- Tighten the outboard crankshaft bearing cap to cylinder block retaining bolts (9-16).
Tighten
Tighten the bolts to 15 N·m (11 lb ft)
plus 110 degrees.
- Tighten the short/inner crankshaft bearing cap to cylinder block retaining bolts (17-20).
Tighten
Tighten the bolts to 30 N·m (22 lb ft)
plus 60 degrees.
- Tighten the long/outer crankshaft bearing cap to cylinder block retaining
bolts (21-24).
Tighten
Tighten the bolts to 30 N·m (22 lb ft)
plus 60 degrees.
- Make sure that the crankshaft turns without binding or noise.