GM Service Manual Online
For 1990-2009 cars only

Removal Procedure

    Caution: Refer to Safety Glasses Caution in the Preface section.

    Caution: Refer to Vehicle Lifting Caution in the Preface section.

  1. Raise and support the vehicle. Refer to Lifting and Jacking the Vehicle.
  2. Remove the propeller shaft from the vehicle. Refer to Propeller Shaft Replacement.

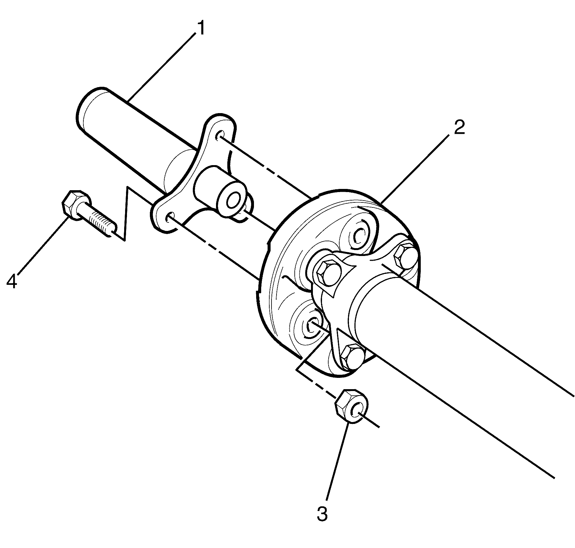
  3. Object Number: 1946977  Size: SH

    Important: Torque prevailing nuts with are single use parts and must be discarded after removal.

  4. Remove the rubber coupling to propeller shaft retaining bolts (3) and torque prevailing nuts (4).
  5. Discard the nuts.

  6. Remove the rubber coupling (1) from the propeller shaft (2).

Installation Procedure


    Object Number: 1946976  Size: SH

    Important: The triangular mark (1) on the rubber coupling (2) must face towards the propeller shaft flange lug (3).

  1. Install the rubber coupling (2) to the propeller shaft (4).
  2. Notice: Refer to Fastener Notice in the Preface section.

  3. Install the rubber coupling to propeller shaft retaining bolts (5) and NEW torque prevailing nuts (6).
  4. Tighten
    Tighten the bolts and nuts to 20 N-m +55° (15 lb ft +55°).

  5. Install the propeller shaft to the vehicle. Refer to Propeller Shaft Replacement.
  6. Remove the safety stands.
  7. Lower the vehicle to the ground.

Removal Procedure - Front Slip Joint

    Caution: Refer to Safety Glasses Caution in the Preface section.

    Caution: Refer to Vehicle Lifting Caution in the Preface section.

  1. Raise and support the vehicle. Refer to Lifting and Jacking the Vehicle.
  2. Remove the propeller shaft from the vehicle. Refer to Propeller Shaft Replacement.

  3. Object Number: 1946973  Size: SH

    Important: Torque prevailing nuts with are single use parts and must be discarded after removal.

  4. Remove the rubber coupling to propeller shaft yoke retaining bolts (4) and torque prevailing nuts (3).
  5. Discard the nuts.

  6. Remove the propeller shaft yoke (1) from the rubber coupling (2).

  7. Object Number: 1946977  Size: SH

    Important: Torque prevailing nuts with are single use parts and must be discarded after removal.

  8. Remove the rubber coupling to propeller shaft retaining bolts (3) and torque prevailing nuts (4).
  9. Discard the nuts.

  10. Remove the rubber coupling (1) from the propeller shaft (2).

Installation Procedure - Front Slip Joint


    Object Number: 1946976  Size: SH

    Important: The triangular mark (1) on the propeller shaft rubber coupling (2) must align with the propeller shaft flange lug (3).

  1. Install the rubber coupling (2) to the propeller shaft (4).
  2. Notice: Refer to Fastener Notice in the Preface section.

  3. Install the rubber coupling to propeller shaft retaining bolts (5) and NEW torque prevailing nuts (6).
  4. Tighten
    Tighten the bolts and nuts to 20 N-m +55° (15 lb ft +55°).


    Object Number: 1946973  Size: SH
  5. Install the propeller shaft yoke (1) to the rubber coupling (2).
  6. Install the propeller shaft yoke to rubber coupling retaining bolts (4) and NEW torque prevailing nuts (3).
  7. Tighten
    Tighten the bolts and nuts to 20 N-m +55° (15 lb ft +55°).

  8. Install the propeller shaft to the vehicle. Refer to Propeller Shaft Replacement.
  9. Remove the safety stands.
  10. Lower the vehicle to the ground.