| • | J 21426 Installer. |
| • | J-22912-01 Press Plates. |
| • | J 22610 Keystone Pliers. |
| • | J 5590 Bearing and Seal Driver. |
Caution: Refer to Safety Glasses Caution in the Preface section.
Caution: Refer to Vehicle Lifting Caution in the Preface section.
Notice: Refer to General Repair Instructions in the Preface section.
Important: Correct alignment during assembly is critical in order to maintain correct balance.
Important: The propeller shaft splines are not keyed, therefore, alignment marks are necessary for assembly.
Important: The dust boot clamp is a single use part and must be discarded after use.
Discard the dust boot clamp.
Important: The spline retention O-ring (2) is a single use part and must be discarded after use.
Discard the spline retention O-ring.
Important: The dust boot (3) is a single use part and must be discarded after use.
Discard the dust boot.
Important: The centre bearing slinger (4) is a single use part and must be discarded after use.
Discard the centre bearing slinger.
Important: The circlip (3) is a single use part and must be discarded after use.
Discard the circlip.
Important: Observe the orientation and depth of the centre bearing (3) in relation to the propeller shaft (2).
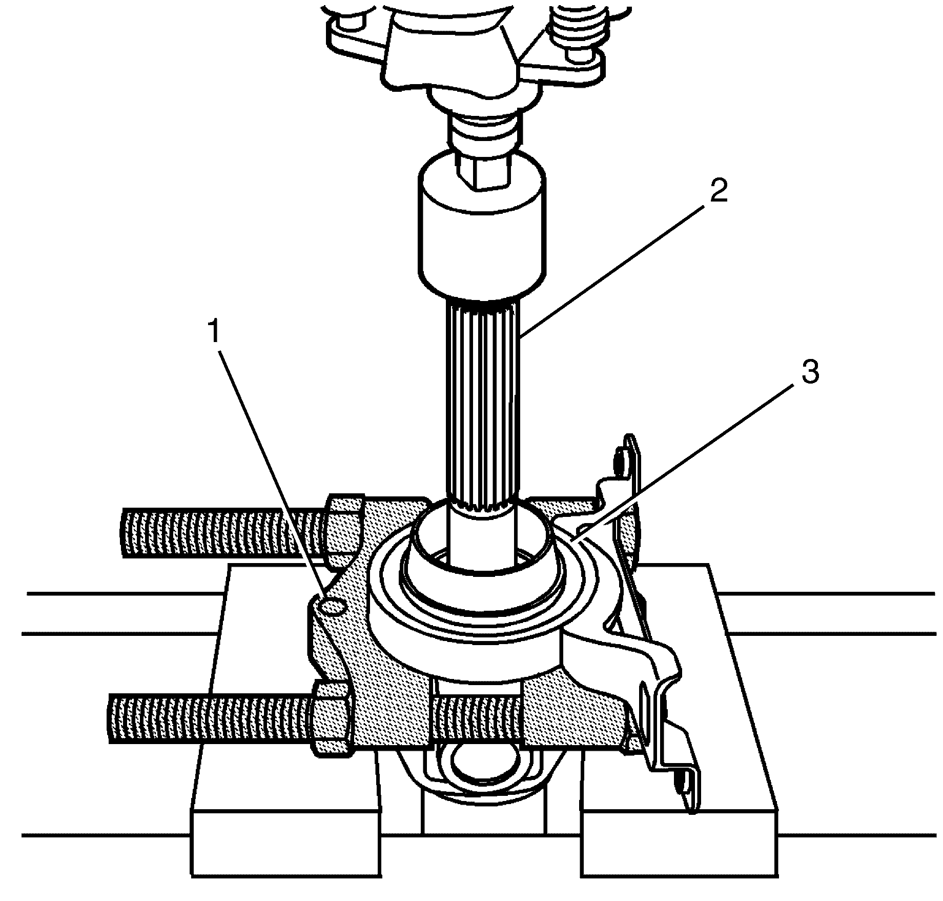
Important: Install the J-22912-01 (1) to the rear propeller shaft (2) behind the centre bearing (3). Place the rear propeller shaft (2) in a suitable press and remove the centre bearing (3).
Important: Use a suitable press to install the centre bearing (1) with J 5590 Bearing and Seal Driver (3) and adaptor (4) until it seats and the circlip groove is visible.
Important: Install the centre bearing slinger (1) with J 21426 (3) until it seats fully onto the centre bearing (1).
Important: Lubricate the propeller shaft splines (1) with 1-2 grams of molybdenum disulphide grease. Refer to Adhesives, Fluids, Lubricants, and Sealers .
Important: The NEW dust boot clamp (3) must not to be fully tightened at this stage.
Important: The O-ring must be located into the groove on the spline.
Important: Correct alignment during assembly is critical in order to maintain correct balance.
Important: Align the marks on the rear propeller shaft (1) and the front propeller shaft (2) made prior to ensure correct assembly balance.