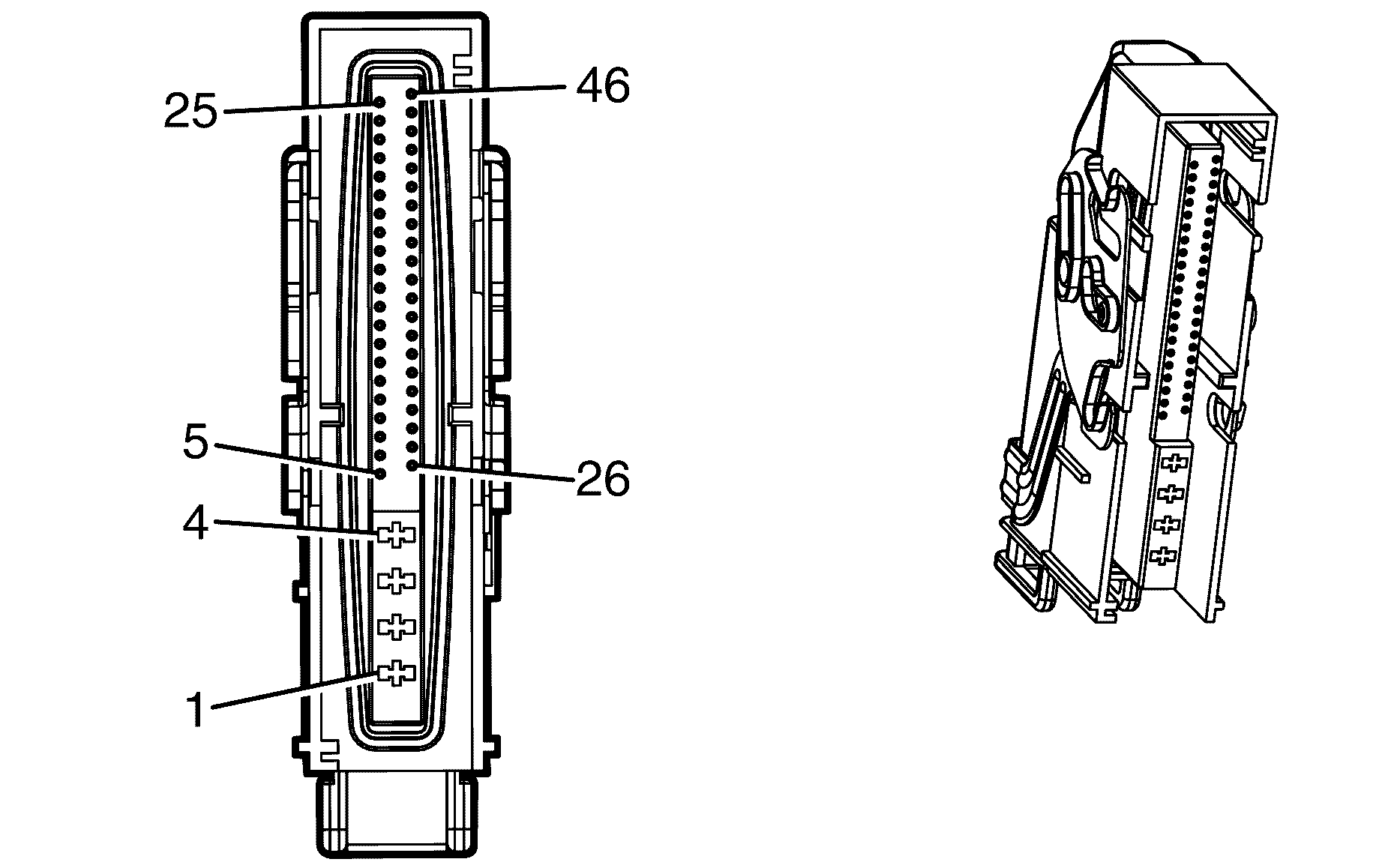
| Table 1: | Electronic Brake Control Module (EBCM) - (JL4) |
| Table 2: | Electronic Brake Control Module (EBCM) - (JL9) |
| Table 3: | Multifunction Center Console Switch (Traction Control/Parking Assist/Tow Haul) |
| Table 4: | Steering Angle Sensor |
| Table 5: | Wheel Speed Sensor (WSS) - LF |
| Table 6: | Wheel Speed Sensor (WSS) - LR |
| Table 7: | Wheel Speed Sensor (WSS) - RF |
| Table 8: | Wheel Speed Sensor (WSS) - RR |
| Table 9: | Yaw Rate and Lateral Acceleration Sensor |
| |||
|---|---|---|---|
Connector Part Information | |||
Pin | Wire Colour | Wire Size | Function |
1 | BK | 3.0 | Ground |
2 | RD/BK | 3.0 | Battery Positive Voltage |
3 | OG | 2.0 | Battery Positive Voltage |
4 | BK | 2.0 | Ground |
5 | L-BU | 0.5 | Left Front Wheel Speed Sensor Signal |
6 | GY | 0.5 | Left Rear Wheel Speed Sensor Supply Voltage |
7 | GY | 0.5 | Right Rear Wheel Speed Sensor Supply Voltage |
8 | BN | 0.5 | Right Rear Wheel Speed Sensor Signal |
9 | GY | 0.5 | Right Front Wheel Speed Sensor Supply Voltage |
10 | D-GN | 0.5 | Right Front Wheel Speed Sensor Signal |
11 | -- | -- | Not Used |
12 | -- | -- | Not Used |
13 | -- | -- | Not Used |
14 | BN | 0.5 | High Speed GMLAN Serial Data Bus- |
15 | BK/BU | 0.5 | Steering Wheel Position Low Refernce |
16 | BN/WH | 0.5 | Yaw Rate Sensor Test Control |
17 | -- | -- | Not Used |
18 | D-GN | 0.5 | Steering Wheel Sensor 5 Volt Reference |
19 | -- | -- | Not Used |
20 | PU/WH | 0.5 | Combined Vehicle Sensor Signal (LAT/LONG) |
21 | -- | -- | Not Used |
22 | -- | -- | Not Used |
23 | -- | -- | Not Used |
24 | -- | -- | Not Used |
25 | BN | 0.5 | High Speed GMLAN Serial Data Bus- |
26 | GY | 0.5 | Left Front Wheel Speed Sensor Supply Voltage |
27 | BN/BK | 0.5 | Left Rear Wheel Speed Sensor Signal |
28 | L-BU | 0.5 | Communication Enable Relay Supply Voltage |
29 | -- | -- | Not Used |
30 | -- | -- | Not Used |
31 | -- | -- | Not Used |
32 | -- | -- | Not Used |
33 | -- | -- | Not Used |
34 | -- | -- | Not Used |
35 | BN/BK | 0.5 | High Speed GMLAN Serial Data Bus+ |
36 | -- | -- | Not Used |
37 | L-GN/BK | 0.5 | Yaw Rate Sensor Test Control |
38 | -- | -- | Not Used |
39 | -- | -- | Not Used |
40 | -- | -- | Not Used |
41 | -- | -- | Not Used |
42 | -- | -- | Not Used |
43 | -- | -- | Not Used |
44 | -- | -- | Not Used |
45 | BN/BK | 0.5 | High Speed GMLAN Serial Data Bus+ |
46 | -- | -- | Not Used |
| |||
|---|---|---|---|
Connector Part Information | |||
Pin | Wire Colour | Wire Size | Function |
1 | BK | 3.0 | Ground |
2 | RD/BK | 3.0 | Battery Positive Voltage |
3 | OG | 2.0 | Battery Positive Voltage |
4 | BK | 2.0 | Ground |
5 | L-BU | 0.5 | Left Front Wheel Speed Sensor Signal |
6 | GY | 0.5 | Left Rear Wheel Speed Sensor Supply Voltage |
7 | GY | 0.5 | Right Rear Wheel Speed Sensor Supply Voltage |
8 | BN | 0.5 | Right Rear Wheel Speed Sensor Signal |
9 | GY/WH | 0.5 | Right Front Wheel Speed Sensor Supply Voltage |
10 | D-GN | 0.5 | Right Front Wheel Speed Sensor Signal |
11 | -- | -- | Not Used |
12 | -- | -- | Not Used |
13 | -- | -- | Not Used |
14 | BN | 0.5 | High Speed GMLAN Serial Data Bus- |
15 | BN | 0.5 | High Speed GMLAN Serial Data Bus- |
16 | GY | 0.5 | Left Front Wheel Speed Sensor Supply Voltage |
17 | BN/BK | 0.5 | Left Rear Wheel Speed Sensor Signal |
18 | L-BU | 0.5 | Communication Enable Relay Supply Voltage |
19 | -- | -- | Not Used |
20 | -- | -- | Not Used |
21 | -- | -- | Not Used |
22 | -- | -- | Not Used |
23 | -- | -- | Not Used |
24 | -- | -- | Not Used |
25 | BN/BK | 0.5 | High Speed GMLAN Serial Data Bus+ |
26 | BN/BK | 0.5 | High Speed GMLAN Serial Data Bus+ |
| |||
|---|---|---|---|
Connector Part Information | |||
Pin | Wire Colour | Wire Size | Function |
1 | YE | 0.3 | LED Backlight Dimming Control |
2 | BK | 0.3 | Ground |
3 | L-BU | 0.3 | Tow/Haul Switch Signal |
4 | -- | -- | Not Used |
5 | BN/OG | 0.3 | Traction Control Switch Signal |
6 | GY | 0.3 | Object Detection Disable Signal |
7 | BN | 0.3 | Instrument Panel Lamp Supply Voltage |
8 | PU/WH | 0.3 | Object Detection Disable Signal |
| |||
|---|---|---|---|
Connector Part Information | |||
Pin | Wire Colour | Wire Size | Function |
1 | PU/BN | 0.35 | High Speed GMLAN Serial Data Bus- |
2 | D-BU/BN | 0.35 | High Speed GMLAN Serial Data Bus- |
3 | GY-BN/BK | 0.35 | High Speed GMLAN Serial Data Bus+ |
4 | BN-BN/BK | 0.35 | High Speed GMLAN Serial Data Bus+ |
5 | L-BU | 0.5 | Communication Enable Relay Supply Voltage |
6 | OG-BK/Bu | 0.5 | Steering Wheel Position Sensor Low Reference |
| |||
|---|---|---|---|
Connector Part Information | |||
Pin | Wire Colour | Wire Size | Function |
1 | BN | 0.75 | Wheel Speed Sensor Signal Left Front |
2 | BK | 0.75 | Wheel Speed Sensor Supply Voltage Left Front |
| |||
|---|---|---|---|
Connector Part Information | |||
Pin | Wire Colour | Wire Size | Function |
1 | BN/BK | 0.5 | Wheel Speed Sensor Signal Left Rear |
2 | GY | 0.5 | Wheel Speed Sensor Supply Voltage Left Rear |
| |||
|---|---|---|---|
Connector Part Information | |||
Pin | Wire Colour | Wire Size | Function |
1 | BN | 0.75 | Wheel Speed Sensor Signal Right Front |
2 | BK | 0.75 | Wheel Speed Sensor Supply Voltage Right Front |
| |||
|---|---|---|---|
Connector Part Information | |||
Pin | Wire Colour | Wire Size | Function |
1 | BN | 0.5 | Wheel Speed Sensor Signal Right Rear |
2 | GY | 0.5 | Wheel Speed Sensor Supply Voltage Right Rear |
| |||
|---|---|---|---|
Connector Part Information | |||
Pin | Wire Colour | Wire Size | Function |
1 | D-GN | 0.5 | 5-V Reference |
2 | L-GN/BK | 0.5 | Yaw Rate Sensor Test Control |
3 | L-BU | 0.5 | Communication Enable Relay Supply Voltage |
4 | BN/WH | 0.5 | Yaw Rate Signal |
5 | PU/WH | 0.5 | Combined Vehicle Inertial Sensor Signal (Lat/Long Rate) |
6 | BK/BU | 0.5 | Low Reference |