GM Service Manual Online
For 1990-2009 cars only

Brake Caliper Inspection LWB SWB

    Caution: Refer to Brake Dust Caution in the Preface section.

    Caution: Refer to Brake Fluid Irritant Caution in the Preface section.

  1. Inspect the fluid level in the master cylinder reservoir.
  2. • If the brake fluid level is midway between the maximum--fill level and the minimum allowable level, no brake fluid needs to be removed from the master cylinder reservoir before proceeding.

       Important: DO NOT completely empty the master cylinder reservoir or remove any brake lines otherwise complete bleeding of the braking system will be necessary.

       Important: DO NOT re use the removed fluid.

    • If the brake fluid level is higher than midway between the maximum--fill level and the minimum allowable level, syphon the brake fluid to the midway point using a hand vacuum pump before proceeding.
  3. Remove wheels. Refer to Tire and Wheel Removal and Installation in Tires and Wheels.

  4. Object Number: 1960727  Size: SF
  5. Install 2 wheel nuts (1) in reverse to opposite wheel studs to retain the brake disc to the hub.
  6. Important: Position the ends of the G-clamps against the rear of the brake caliper (2) and against the outboard brake pad (3).

  7. Install large G-clamps over the body of the brake caliper (3).
  8. Important: The movement of a brake caliper piston into a brake caliper bore should be smooth and even. If a brake caliper piston is frozen or difficult to bottom out, the brake caliper requires overhaul or replacement.

  9. Inspect for smooth and complete travel of the brake caliper piston/s, into the brake caliper bore/s:
  10. Tighten the G-clamp/s until the brake caliper piston/s bottom out in the brake caliper bore/s.

  11. Remove the G-clamp/s from the brake caliper (2).
  12. Grasp the brake caliper (2) and try to move the brake caliper (2) up or down.
  13. The brake caliper (2) should not have too much freeplay.

  14. Grasp the brake caliper (2) and try to move the brake caliper in and out.
  15. The brake caliper (2) should slide smoothly with minimal force.

    Important: DO NOT disconnect the hydraulic brake flexible hose from the brake caliper.

  16. Remove the brake caliper. Refer to Front Brake Rotor Replacement or Rear Brake Rotor Replacement in Disc Brakes.
  17. Notice: Support the brake caliper with heavy mechanic wire, or equivalent, whenever it is separated from its mount and the hydraulic flexible brake hose is still connected. Failure to support the caliper in this manner will cause the flexible brake hose to bear the weight of the caliper, which may cause damage to the brake hose and in turn may cause a brake fluid leak.

  18. Inspect the brake caliper to knuckle retaining bolts for the following:
  19. • Bent or damaged brake caliper to knuckle retaining bolts.
    • Binding.
    • Corrosion.
    • Seizing in the knuckle.
  20. If any of the conditions listed are found, replace the brake caliper to knuckle retaining bolts.

  21. Object Number: 1943385  Size: SH
  22. Remove the brake caliper lower guide pin retaining bolts (1).
  23. Inspect the brake caliper slide pins (2) gently pull the brake caliper slide pins (2) outward without disengaging the slides from the boot), then push inward, and inspect for the following:
  24. • Bent or damaged brake caliper guide pin retaining bolts (1).
    • Bent or damaged brake caliper guide pins (2).
    • Binding.
    • Corrosion.
    • Seizing.
  25. If any of the conditions listed are found, replace the brake caliper guide pins (2).
  26. Inspect the brake caliper boots (3) for the following:
  27. • Missing brake caliper boots (3).
    • Cracked or torn brake caliper boots (3).
  28. If any of the conditions listed are found, replace the brake caliper boots (3).

  29. Object Number: 1960728  Size: SF
  30. Inspect the brake caliper (2) and brake caliper anchor plate (4) for the following:
  31. • Bent or damaged brake caliper anchor plate (4).
    • Too much brake caliper guide pin (3) play in the brake caliper anchor plate (4).
    • Too much brake caliper guide bolt (1) play in the brake caliper (2).
    • Corrosion.
    • Cracks.
    • Damage.
    • Too much Wear.
  32. If any of the conditions listed are found, replace the brake caliper (2).

  33. Object Number: 1960731  Size: SF
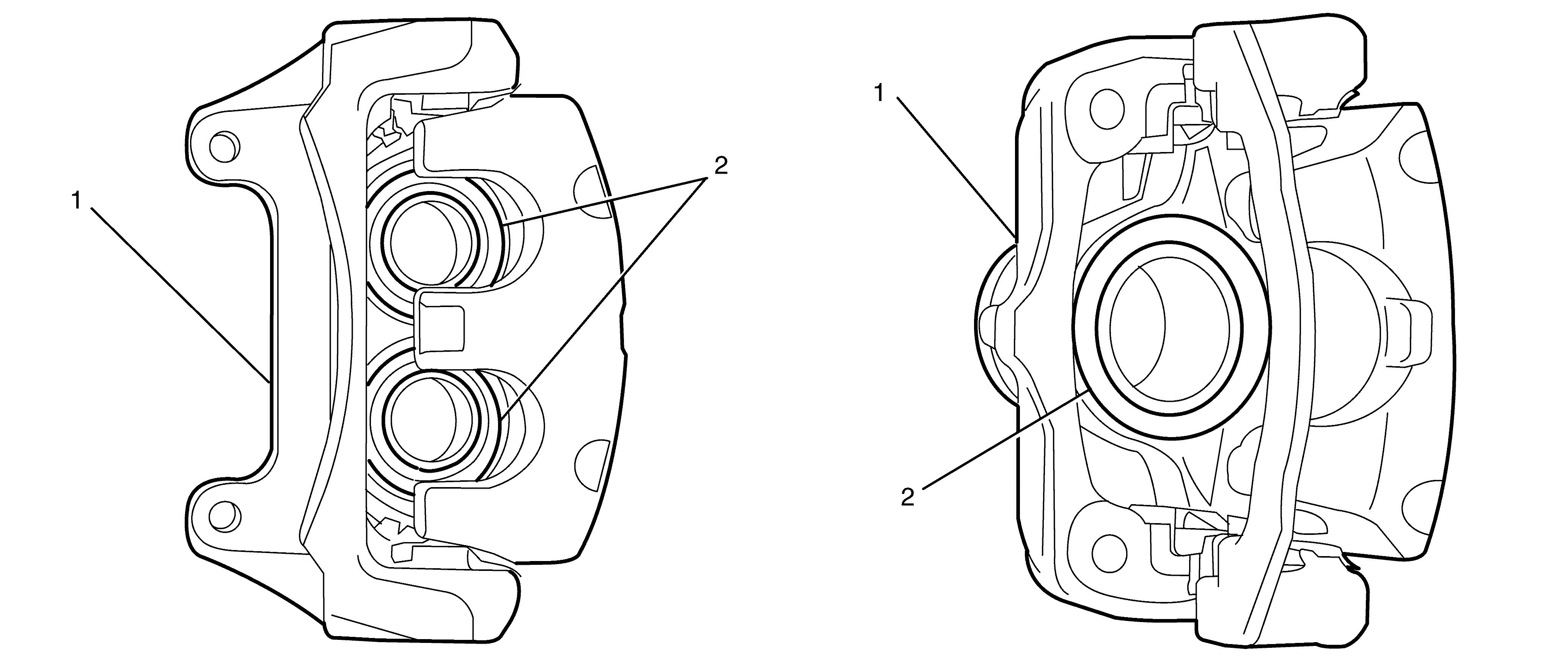
  34. Inspect the brake caliper piston dust boot seals (2) for cracks, tears, cuts, deterioration and/or incorrect seating in the brake caliper (1). If any of these conditions are present, the brake caliper requires overhaul or replacement.
  35. Inspect for brake fluid leakage around the brake caliper piston dust boot seals (2) and on the brake pads. If there is any evidence of brake fluid leakage, overhaul or replace the brake caliper (1).

Brake Caliper Inspection Rear CSV HSV VXR8

Type B

    Caution: Refer to Safety Glasses Caution in the Preface section.

    Caution: Refer to Vehicle Lifting Caution in the Preface section.

    Caution: Refer to Brake Dust Caution in the Preface section.

    Caution: Refer to Brake Fluid Irritant Caution in the Preface section.

  1. Inspect the fluid level in the master cylinder reservoir.
  2. Raise and support the vehicle. Refer to Lifting and Jacking the Vehicle in General Information.
  3. • If the brake fluid level is midway between the maximum fill level and the minimum allowable level, no brake fluid needs to be removed from the master cylinder reservoir before proceeding.

       Important: DO NOT completely empty the master cylinder reservoir or remove any brake lines otherwise complete bleeding of the braking system will be necessary.

       Important: DO NOT reuse the removed fluid.

    • If the brake fluid level is higher than midway between the maximum fill level and the minimum allowable level, syphon the brake fluid to the midway point using a hand vacuum pump before proceeding.
  4. Remove the rear wheels. Refer to Tire and Wheel Removal and Installation in Tires and Wheels.

  5. Object Number: 1943442  Size: SH
  6. Install 2 wheel nuts (1), in reverse, to opposite wheel studs to retain the brake rotor to the wheel hub.
  7. Important: A Type B Brake Caliper does not require removal from the vehicle for Brake Caliper Inspection.

  8. Inspect the brake caliper to knuckle retaining bolts for corrosion.
  9. If corrosion is found, replace the brake caliper to knuckle retaining bolts.
  10. Inspect the brake pad retainer pins and anti-rattle clip for the following:
  11. • Bending or damage.
    • Binding.
    • Corrosion.
    • Seizing.
  12. If any of the conditions listed are found, replace the affected component.
  13. Inspect the brake caliper for the following:
  14. • Seizing caliper pistons.
    • Torn, Cracked, Incorrectly Seated or Deteriorating dust boot seals.
    • Brake Fluid Leakage around the dust boot seals and on the brake pads.
  15. If any of the conditions listed are found, the brake caliper requires overhaul or replacement.
  16. Remove the two wheel nuts retaining the brake rotor to the wheel hub.
  17. Install the rear wheels. Refer to Tire and Wheel Removal and Installation in Tires and Wheels.
  18. Lower the vehicle to the ground. Refer to Lifting and Jacking the Vehicle in General Information.

Brake Caliper Inspection Front CSV HSV VXR8

Type B

    Caution: Refer to Safety Glasses Caution in the Preface section.

    Caution: Refer to Vehicle Lifting Caution in the Preface section.

    Caution: Refer to Brake Dust Caution in the Preface section.

    Caution: Refer to Brake Fluid Irritant Caution in the Preface section.

  1. Inspect the fluid level in the master cylinder reservoir.
  2. Raise and support the vehicle. Refer to Lifting and Jacking the Vehicle.
  3. • If the brake fluid level is midway between the maximum fill level and the minimum allowable level, no brake fluid needs to be removed from the master cylinder reservoir before proceeding.

       Important: DO NOT completely empty the master cylinder reservoir or remove any brake lines, otherwise complete bleeding of the braking system will be necessary.

       Important: DO NOT reuse the removed fluid.

    • If the brake fluid level is higher than midway between the maximum fill level and the minimum allowable level, syphon the brake fluid to the midway point using a hand vacuum pump before proceeding.
  4. Remove front wheels. Refer to Tire and Wheel Removal and Installation.

  5. Object Number: 1943442  Size: SH
  6. Install 2 wheel nuts (1), in reverse, to opposite wheel studs to retain the brake rotor to the wheel hub.
  7. Important: A Type B Brake Caliper does not require removal from the vehicle for Brake Caliper Inspection.

  8. Inspect the brake caliper to knuckle retaining bolts for corrosion.
  9. If corrosion is found, replace the brake caliper to knuckle retaining bolts.
  10. Inspect the brake pad retainer pins and anti-rattle clip for the following:
  11. • Bending or damage.
    • Binding.
    • Corrosion.
    • Seizing.
  12. If any of the conditions listed are found, replace the affected component.
  13. Inspect the brake caliper for the following :
  14. • Seizing caliper pistons.
    • Torn, Cracked, Incorrectly Seated or Deteriorating dust boot seals.
    • Brake Fluid Leakage around the dust boot seals and on the brake pads.
  15. Remove the two wheel nuts retaining the brake rotor to the wheel hub.
  16. If any of the conditions listed are found, the brake caliper requires overhaul or replacement.
  17. Install the front wheels. Refer to Tire and Wheel Removal and Installation.
  18. Lower the vehicle to the ground. Refer to Lifting and Jacking the Vehicle.