GM Service Manual Online
For 1990-2009 cars only

SIR Connector End Views LHD

Table 1: Inflatable Restraint Roof Rail Module - Left
Table 2: Inflatable Restraint Roof Rail Module - Right
Table 3: Inflatable Restraint Sensing and Diagnostic Module - X1
Table 4: Inflatable Restraint Sensing and Diagnostic Module - X2

Inflatable Restraint Roof Rail Module - Left


Object Number: 1989454  Size: CH

Connector Part Information

 

Pin

Wire Colour

Wire Size

Function

1

BN/BK

0.3

Roof Rail Module - Left - High Control

2

PK

0.3

Roof Rail Module - Left - Low Control

Inflatable Restraint Roof Rail Module - Right


Object Number: 1989454  Size: CH

Connector Part Information

 

Pin

Wire Colour

Wire Size

Function

1

PU/YE

0.3

Roof Rail Module - Right - High Control

2

WH/BK

0.3

Roof Rail Module - Right - Low Control

Inflatable Restraint Sensing and Diagnostic Module - X1


Object Number: 1989457  Size: CH

Connector Part Information

 

Pin

Wire Colour

Wire Size

Function

X1-1

BN

0.3

Steering Wheel Module - Stage1 - Low Control

X1-2

BN/RD

0.3

Steering Wheel Module - Stage1 - High Control

X1-3

WH

0.3

Steering Wheel Module - Stage2 - High Control

X1-4

PK

0.3

Steering Wheel Module - Stage2 - Low Control

X1-5

L-GN

0.3

Side Impact Module - LF - Low Control

X1-6

BK/WH

0.3

Side Impact Module - RF - High Control

X1-19

GY

0.3

Discriminating Sensor - Low Reference

X1-20

D-GN

0.3

Discriminating Sensor - Signal

X1-21

PK/BU

0.5

Ignition 1 Voltage

X1-22

OG/YE

0.5

Battery Positive Voltage

X1-23

--

--

Not Used

X1-24

BK/WH

0.5

Ground

Inflatable Restraint Sensing and Diagnostic Module - X2


Object Number: 1989461  Size: CH

Connector Part Information

 

Pin

Wire Colour

Wire Size

Function

X2-1

BN/BK

0.5

Roof Rail Module - Left - High Control

X2-2

PK

0.5

Roof Rail Module - Left - Low Control

X2-3

WH/BK

0.5

Roof Rail Module - Right - Low Control

X2-4

PU/YE

0.5

Roof Rail Module - Right - High Control

X2-5

BK/WH

0.3

Side Impact Module - RF - High Control

X2-6

L-GN

0.3

Side Impact Module - RF - Low Control

X2-7

PU

0.3

I/P Module - Stage 2 - Low Control

X2-8

GN

0.3

I/P Module - Stage 2 - High Control

X2-9

YE

0.3

I/P Module - Stage 1 - High Control

X2-10

BU

0.3

I/P Module - Stage 1 - Low Control

X2-11

--

--

Not Used

X2-12

--

--

Not Used

X2-13

--

--

Not Used

X2-14

--

--

Not Used

X2-15

BK/WH

0.3

Seat Belt Pretensioner - Left - High Control

X2-16

OG/BK

0.3

Seat Belt Pretensioner - Left - Low Control

X2-17

OG

0.3

Seat Belt Pretensioner - Right - Low Control

X2-18

L-GN

0.3

Seat Belt Pretensioner - Right - High Control

X2-19

--

--

Not Used

X2-20

--

--

Not Used

X2-21

--

--

Not Used

X2-22

--

--

Not Used

X2-23

D-GN

0.3

Discriminating Sensor - Right - Signal

X2-24

GY

0.3

Discriminating Sensor - Right - Low Reference

X2-25

PU/WH

0.3

Side Impact Sensing Module - Left - Low Reference

X2-26

WH

0.3

Side Impact Sensing Module - Left - Signal

X2-27

D-GN

0.3

Side Impact Sensing Module - Right - Signal

X2-28

WH/BK

0.3

Side Impact Sensing Module - Right - Low Reference

X2-29

--

--

Not Used

X2-30

--

--

Not Used

X2-31

--

--

Not Used

X2-32

--

--

Not Used

X2-33

--

--

Not Used

X2-34

--

--

Not Used

X2-35

L-GN

0.3

Seat Position Sensor - Left Front - Signal

X2-36

BK/WH

0.3

Seat Belt Switch - Left Front

X2-37

--

--

Not Used

X2-38

D-BU

0.3

Seat Belt Switch - Left Front - Low Reference

X2-39

--

--

Not Used

X2-40

D-GN

0.35

Low Speed GMLAN Serial Data

SIR Connector End Views RHD

Table 1: Seat Belt Pretensioner - LF
Table 2: Seat Belt Pretensioner - RF
Table 3: Seat Belt Switch - Driver
Table 4: Inflatable Restraint Front Sensor - LF
Table 5: Inflatable Restraint Front Sensor - RF
Table 6: Inflatable Restraint I/P Module - X1
Table 7: Inflatable Restraint I/P Module - X2
Table 8: Inflatable Restraint Roof Rail Module - Left
Table 9: Inflatable Restraint Roof Rail Module - Right
Table 10: Inflatable Restraint Seat Position Sensor (SPS) - Driver
Table 11: Inflatable Restraint Sensing and Diagnostic Module - X1
Table 12: Inflatable Restraint Sensing and Diagnostic Module - X2
Table 13: Inflatable Restraint Side Impact Module - LF
Table 14: Inflatable Restraint Side Impact Module - RF
Table 15: Inflatable Restraint Side Impact Sensor (SIS) - LF
Table 16: Inflatable Restraint Side Impact Sensor (SIS) - RF
Table 17: Inflatable Restraint Steering Wheel Module - X1
Table 18: Inflatable Restraint Steering Wheel Module - X2
Table 19: Inflatable Restraint Steering Wheel Module Coil - X2
Table 20: Inflatable Restraint Steering Wheel Module Coil - X2

Seat Belt Pretensioner - LF


Object Number: 1989447  Size: CH

Connector Part Information

280 SERIES

Pin

Wire Colour

Wire Size

Function

1

L-GN

0.3

Seat Belt Pretensioner - High Control

2

OG

0.3

Seat Belt Pretensioner - Low Control

Seat Belt Pretensioner - RF


Object Number: 1989447  Size: CH

Connector Part Information

280 SERIES

Pin

Wire Colour

Wire Size

Function

1

BK/WH

0.3

Seat Belt Pretensioner - High Control

2

OG/BK

0.3

Seat Belt Pretensioner - Low Control

Seat Belt Switch - Driver


Object Number: 1989450  Size: CH

Connector Part Information

 

Pin

Wire Colour

Wire Size

Function

A

D-BU

0.3

Seat Belt Switch - Right Front - Low Reference

B

BK/WH

0.3

Seat Belt Switch - Right Front

 

Inflatable Restraint Front Sensor - LF


Object Number: 1989463  Size: CH

Connector Part Information

 

Pin

Wire Colour

Wire Size

Function

1

YE

0.3

Discriminating Sensor - Signal

2

BN/YE

0.3

Discriminating Sensor - Low Reference

Inflatable Restraint Front Sensor - RF


Object Number: 1989463  Size: CH

Connector Part Information

 

Pin

Wire Colour

Wire Size

Function

1

D-GN

0.3

Discriminating Sensor - Signal

2

GY

0.3

Discriminating Sensor - Low Reference

Inflatable Restraint I/P Module - X1


Object Number: 1989466  Size: CH

Connector Part Information

 

Pin

Wire Colour

Wire Size

Function

X1-1

BU

0.5

I/P Module - Stage 1 - Low Control

X1-2

YE

0.5

I/P Module - Stage 1 - High Control

Inflatable Restraint I/P Module - X2


Object Number: 1989468  Size: CH

Connector Part Information

 

Pin

Wire Colour

Wire Size

Function

X2-1

PU

0.5

I/P Module - Stage 2 - Low Control

X2-2

D-GN

0.5

I/P Module - Stage 2 - High Control

Inflatable Restraint Roof Rail Module - Left


Object Number: 1989454  Size: CH

Connector Part Information

 

Pin

Wire Colour

Wire Size

Function

1

BN/BK

0.5

Roof Rail Module - Left - High Control

2

PK

0.5

Roof Rail Module - Left - Low Control

Inflatable Restraint Roof Rail Module - Right


Object Number: 1989454  Size: CH

Connector Part Information

 

Pin

Wire Colour

Wire Size

Function

1

PU/YE

0.5

Roof Rail Module - Right - High Control

2

WH/BK

0.5

Roof Rail Module - Right - Low Control

Inflatable Restraint Seat Position Sensor (SPS) - Driver


Object Number: 1989406  Size: CH

Connector Part Information

Metri-Pack 150 Series

Pin

Wire Colour

Wire Size

Function

A

PK/BU

0.3

Seat Position Sensor - Right Front - Signal

B

PU/WH

0.3

Seat Belt Switch - Right Front - Low Reference

Inflatable Restraint Sensing and Diagnostic Module - X1


Object Number: 1989457  Size: CH

Connector Part Information

 

Pin

Wire Colour

Wire Size

Function

X1-1

BN

0.3

Steering Wheel Module - Stage1 - Low Control

X1-2

BN/RD

0.3

Steering Wheel Module - Stage1 - High Control

X1-3

WH

0.3

Steering Wheel Module - Stage2 - High Control

X1-4

PK

0.3

Steering Wheel Module - Stage2 - Low Control

X1-5

YE/BK

0.3

Side Impact Module - RF - Low Control

X1-6

BN

0.3

Side Impact Module - RF - High Control

X1-7

--

--

Not Used

X1-8

--

--

Not Used

X1-9

--

--

Not Used

X1-10

--

--

Not Used

X1-11

--

--

Not Used

X1-12

--

--

Not Used

X1-13

--

--

Not Used

X1-14

--

--

Not Used

X1-15

--

--

Not Used

X1-16

--

--

Not Used

X1-17

--

--

Not Used

X1-18

--

--

Not Used

X1-19

GY

0.3

Discriminating Sensor - Low Reference

X1-20

D-GN

0.3

Discriminating Sensor - Signal

X1-21

PK/BU

0.5

Ignition 1 Voltage

X1-22

OG/YE

0.5

Battery Positive Voltage

X1-23

--

--

Not Used

X1-24

BK/WH

0.5

Ground

Inflatable Restraint Sensing and Diagnostic Module - X2


Object Number: 1989461  Size: CH

Connector Part Information

 

Pin

Wire Colour

Wire Size

Function

X2-1

PU/YE

0.5

Roof Rail Module - Right - High Control

X2-2

WH/BK

0.5

Roof Rail Module - Right - Low Control

X2-3

PK

0.5

Roof Rail Module - Left - Low Control

X2-4

BN/BK

0.5

Roof Rail Module - Left - High Control

X2-5

BK/WH

0.3

Side Impact Module - LF - High Control

X2-6

L-GN

0.3

Side Impact Module - LF - Low Control

X2-7

PU

0.3

I/P Module - Stage 2 - Low Control

X2-8

D-GN

0.3

I/P Module - Stage 2 - High Control

X2-9

YE

0.3

I/P Module - Stage 1 - High Control

X2-10

BU

0.3

I/P Module - Stage 1 - Low Control

X2-11

--

--

Not Used

X2-12

--

--

Not Used

X2-13

--

--

Not Used

X2-14

--

--

Not Used

X2-15

BK/WH

0.3

Seat Belt Pretensioner - High Control

X2-16

OG/BK

0.3

Seat Belt Pretensioner - Low Control

X2-17

OG

0.3

Seat Belt Pretensioner - Low Control

X2-18

L-GN

0.3

Seat Belt Pretensioner - High Control

X2-19

--

--

Not Used

X2-20

--

--

Not Used

X2-21

--

--

Not Used

X2-22

--

--

Not Used

X2-23

YE

0.3

Discriminating Sensor - Signal

X2-24

BN/YE

0.3

Discriminating Sensor - Low Reference

X2-25

WH/BK

0.3

Side Impact Sensing Module - Right - Low Reference

X2-26

D-GN

0.3

Side Impact Sensing Module - Right - Signal

X2-27

WH

0.3

Side Impact Sensing Module - Left - Signal

X2-28

PU/WH

0.3

Side Impact Sensing Module - Left - Low Reference

X2-29

--

--

Not Used

X2-30

--

--

Not Used

X2-31

--

--

Not Used

X2-32

--

--

Not Used

X2-33

--

--

Not Used

X2-34

--

--

Not Used

X2-35

L-GN

0.3

Seat Position Sensor - Right Front - Signal

X2-36

BK/WH

0.3

Seat Belt Switch - Right Front

X2-37

--

--

Not Used

X2-38

D-BU

0.3

Seat Belt Switch - Right Front - Low Reference

X2-39

--

--

Not Used

X2-40

D-GN

0.35

Low Speed GMLAN Serial Data

Inflatable Restraint Side Impact Module - LF


Object Number: 1989470  Size: CH

Connector Part Information

 

Pin

Wire Colour

Wire Size

Function

1

BK/WH

0.3

Side Impact Module - RF - High Control

2

L-GN

0.3

Side Impact Module - RF - Low Control

Inflatable Restraint Side Impact Module - RF


Object Number: 1989470  Size: CH

Connector Part Information

 

Pin

Wire Colour

Wire Size

Function

1

BN

0.3

Side Impact Module - LF - High Control

2

YE/BK

0.3

Side Impact Module - LF - Low Control

Inflatable Restraint Side Impact Sensor (SIS) - LF


Object Number: 1989463  Size: CH

Connector Part Information

 

Pin

Wire Colour

Wire Size

Function

1

WH

0.3

Side Impact Sensing Module - Left - Signal

2

PU/WH

0.3

Side Impact Sensing Module - Left - Low Reference

Inflatable Restraint Side Impact Sensor (SIS) - RF


Object Number: 1989463  Size: CH

Connector Part Information

 

Pin

Wire Colour

Wire Size

Function

1

D-GN

0.3

Side Impact Sensing Module - Right - Signal

2

WH/BK

0.3

Side Impact Sensing Module - Right - Low Reference

Inflatable Restraint Steering Wheel Module - X1


Object Number: 1989472  Size: CH

Connector Part Information

 

Pin

Wire Colour

Wire Size

Function

X1-1

BN

0.3

Steering Wheel Module - Stage1 - Low Control

X1-2

TN

0.3

Steering Wheel Module - Stage1 - High Control

Inflatable Restraint Steering Wheel Module - X2


Object Number: 1989476  Size: CH

Connector Part Information

 

Pin

Wire Colour

Wire Size

Function

X2-1

PK

0.3

Steering Wheel Module - Stage2 - Low Control

X2-2

WH

0.3

Steering Wheel Module - Stage2 - High Control

Inflatable Restraint Steering Wheel Module Coil - X2


Object Number: 1989326  Size: CH

Connector Part Information

Male

Pin

Wire Colour

Wire Size

Function

A-1

BN/RD

0.3

Steering Wheel Module - Stage1 - High Control

A-2

BN

0.3

Steering Wheel Module - Stage1 - Low Control

B-1

WH

0.3

Steering Wheel Module - Stage2 - High Control

B-2

PK

0.3

Steering Wheel Module - Stage2 - Low Control

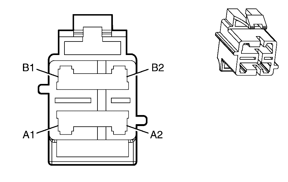
Inflatable Restraint Steering Wheel Module Coil - X2


Object Number: 1989332  Size: CH

Connector Part Information

Female

Pin

Wire Colour

Wire Size

Function

A-1

TN

0.3

Steering Wheel Module - Stage1 - High Control

A-2

BN

0.3

Steering Wheel Module - Stage1 - Low Control

B-1

WH

0.3

Steering Wheel Module - Stage2 - High Control

B-2

PK

0.3

Steering Wheel Module - Stage2 - Low Control