GM Service Manual Online
For 1990-2009 cars only

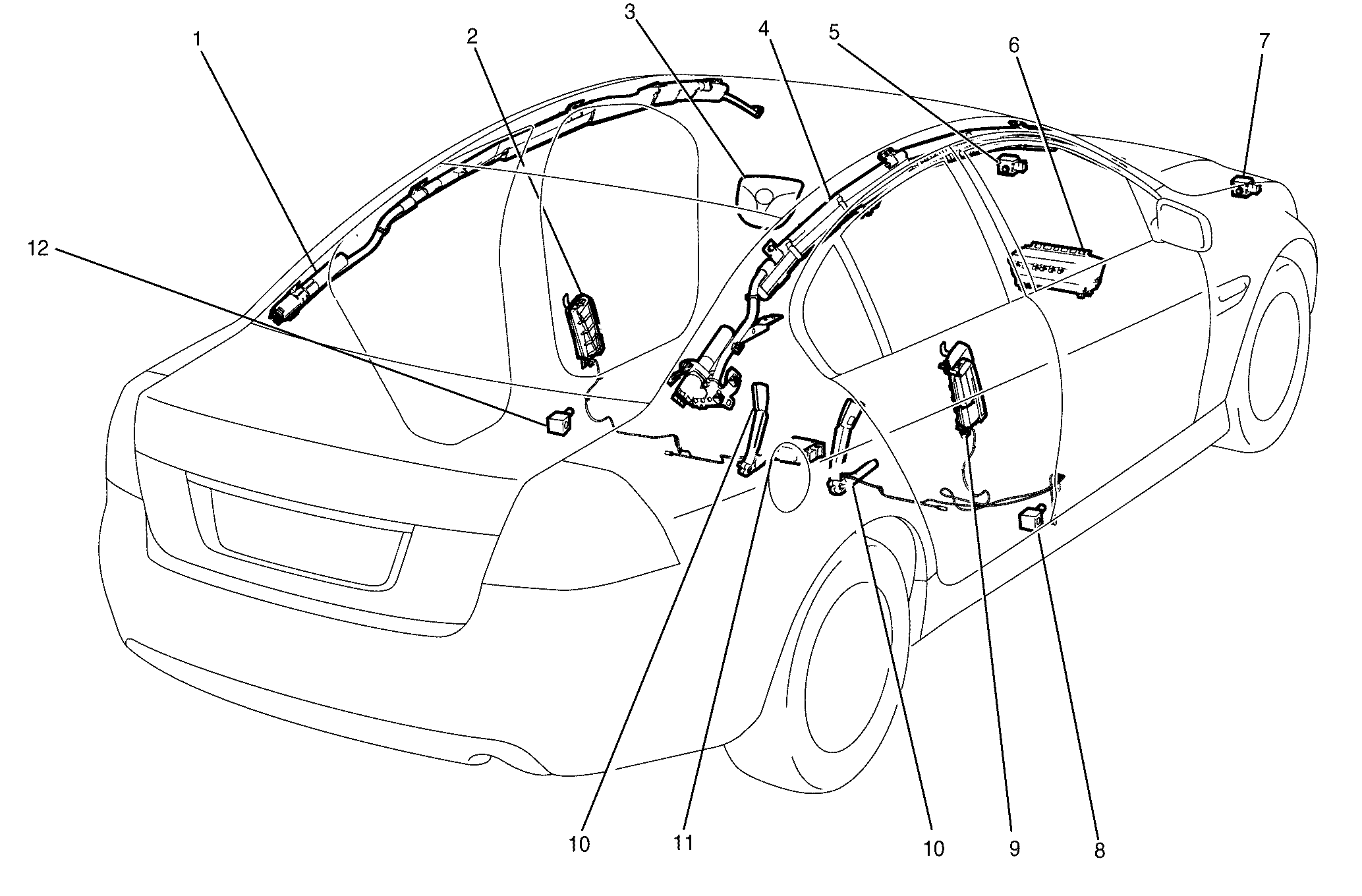
SIR Component Views LWBRHD

SRS Component Location


Object Number: 2049928  Size: MF
(1)Inflatable Restraint Roof Rail Module (Left Side)
(2)Inflatable Restraint Side Impact Module (Left Side)
(3)Inflatable Restraint Instrument Panel Module
(4)Inflatable Restraint Roof Rail Module (Right Side)
(5)Inflatable Restraint Front End Sensor (Left Side)
(6)Inflatable Restraint Steering Wheel Module.
(7)Inflatable Restraint Front End Sensor (Right Side)
(8)Inflatable Restraint Side Impact Sensor (Right Side)
(9)Inflatable Restraint Side Impact Module (Right Side)
(10)Seat Belt Buckle Pretensioners
(11)Sensing and Diagnostic Module (SDM)
(12)Inflatable Restraint Side Impact Sensor (Left Side)

SIR Component Views LWBLHD

SRS Component Location


Object Number: 2049929  Size: MF
(1)Inflatable Restraint Roof Rail Module - Left
(2)Inflatable Restraint Side Impact Module - Left
(3)Inflatable Restraint Steering Wheel Module
(4)Inflatable Restraint Roof Rail Module - Right
(5)Inflatable Restraint Front End Sensor - Left
(6)Inflatable Restraint I/P Module
(7)Inflatable Restraint Front End Sensor - Right
(8)Inflatable Restraint Side Impact Sensor - Right
(9)Inflatable Restraint Side Impact Module - Right
(10)Seat Belt Pretensioners
(11)Inflatable Restraint Sensing and Diagnostic Module (SDM)
(12)Inflatable Restraint Side Impact Sensor - Left

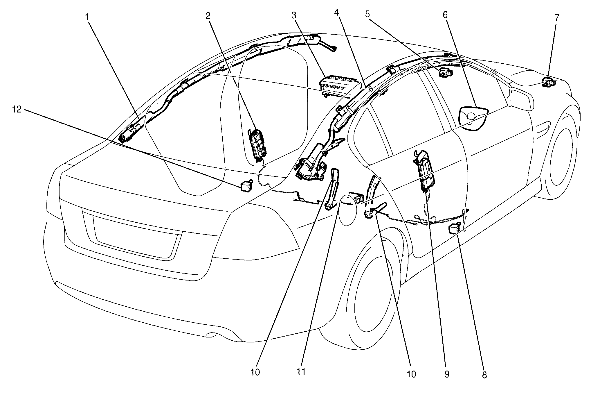
SIR Component Views SWBLHD

SRS Component Location


Object Number: 2049927  Size: MF
(1)Inflatable Restraint Roof Rail Module (Left Side)
(2)Inflatable Restraint Side Impact Module (Left Side)
(3)Inflatable Restraint Steering Wheel Module
(4)Inflatable Restraint Roof Rail Module (Right Side)
(5)Inflatable Restraint Front End Sensor (Left Side)
(6)Inflatable Restraint Instrument Panel Module
(7)Inflatable Restraint Front End Sensor (Right Side)
(8)Inflatable Restraint Side Impact Sensor (Right Side)
(9)Inflatable Restraint Side Impact Module (Right Side)
(10)Seat Belt Buckle Pretensioners
(11)Sensing and Diagnostic Module (SDM)
(12)Inflatable Restraint Side Impact Sensor (Left Side)

SIR Component Views SWBRHD

SRS Component Location


Object Number: 2049926  Size: MF
(1)Inflatable Restraint Roof Rail Module (Left Side)
(2)Inflatable Restraint Side Impact Module (Left Side)
(3)Inflatable Restraint Instrument Panel Module
(4)Inflatable Restraint Roof Rail Module (Right Side)
(5)Inflatable Restraint Front End Sensor (Left Side)
(6)Inflatable Restraint Steering Wheel Module
(7)Inflatable Restraint Front End Sensor (Right Side)
(8)Inflatable Restraint Side Impact Sensor (Right Side)
(9)Inflatable Restraint Side Impact Module (Right Side)
(10)Seat Belt Buckle Pretensioners
(11)Sensing and Diagnostic Module (SDM)
(12)Inflatable Restraint Side Impact Sensor (Left Side)