GM Service Manual Online
For 1990-2009 cars only

Front Bumper Fascia Insert Replacement LWB SWB

Removal Procedure

    Caution: Refer to Safety Glasses Caution in the Preface section.

    Caution: Refer to Vehicle Lifting Caution in the Preface section.

  1. Raise and support the vehicle. Refer to Lifting and Jacking the Vehicle.
  2. Remove the front air deflector. Refer to Front Air Deflector Replacement.

  3. Object Number: 1937488  Size: SH
  4. Carefully pry the front bumper fascia insert retaining tabs (1) from the front bumper fascia.
  5. Remove the front bumper fascia insert from the front bumper fascia.

Installation Procedure


    Object Number: 1937488  Size: SH
  1. Install the front bumper fascia insert to the front bumper fascia.
  2. Firmly press the front bumper fascia insert retaining tabs (1) into the front bumper fascia.
  3. Install the front air deflector. Refer to Front Air Deflector Replacement.
  4. Lower the vehicle.

Front Bumper Fascia Insert Replacement CSV SWBHSV VXR8

Removal Procedure (Type C)

    Caution: Refer to Safety Glasses Caution in the Preface section.

    Caution: Refer to Vehicle Lifting Caution in the Preface section.

  1. Raise and support the vehicle. Refer to Lifting and Jacking the Vehicle.
  2. Remove the front bumper fascia. Refer to Front Bumper Fascia Replacement.

  3. Object Number: 1937400  Size: SH
  4. Carefully prise the upper grille from the front bumper fascia retaining tabs (1).
  5. Carefully prise the lower grille from the front bumper fascia retaining tabs (2).
  6. Remove the front bumper fascia upper and lower grilles from the front bumper fascia.

Installation Procedure (Type C)

  1. Install the front bumper fascia upper and lower grilles to the front bumper fascia.

  2. Object Number: 1937400  Size: SH
  3. Firmly press the upper grille into the front bumper fascia retaining tabs (1).
  4. Firmly press the lower grille into the front bumper fascia retaining tabs (2).
  5. Install the front bumper fascia. Refer to Front Bumper Fascia Replacement.
  6. Lower the vehicle.

Removal Procedure (Type D)

    Caution: Refer to Safety Glasses Caution in the Preface section.

    Caution: Refer to Vehicle Lifting Caution in the Preface section.

  1. Raise and support the vehicle. Refer to Lifting and Jacking the Vehicle.
  2. Remove the front bumper fascia. Refer to Front Bumper Fascia Replacement.

  3. Object Number: 1937466  Size: SH
  4. Remove the grille emblem (2) from the grill emblem boss (3) using a suitable tool.
  5. Remove the grille emblem boss retaining screw (1) from the grille emblem boss (3).
  6. Remove grille emblem boss (3) using a suitable tool.
  7. Important: Foam spacers are used in the two centre screw points. Upon removal of the front bumper fascia upper grille make sure they are retained.


    Object Number: 1937385  Size: SH
  8. Remove the front bumper fascia upper grille retaining screws (1).

  9. Object Number: 1937389  Size: SH
  10. Carefully prise the five front bumper fascia upper grille retaining clips (1) from the front bumper fascia.
  11. Remove the front bumper fascia upper grille.

  12. Object Number: 1937391  Size: SH
  13. Remove the upper grille mesh alignment bracket retaining screws (1) and the upper grille mesh alignment bracket (2) from the fascia assembly (3).

  14. Object Number: 1937394  Size: SH
  15. Remove the eight upper grille mesh retaining screws (1) and the upper grille mesh (2).

  16. Object Number: 1937387  Size: SH
  17. Carefully prise the thirteen front bumper fascia decor strip retaining clips (1) from the front bumper fascia.
  18. Remove the decor strip.

  19. Object Number: 1937461  Size: SH
  20. Remove the nineteen front bumper fascia lower grille mesh retaining screws (1) from the front bumper fascia (2).
  21. Remove the lower grille mesh (3) from the front fascia assembly (2).
  22. Replace components as required.

Installation Procedure (Type D)


    Object Number: 1937461  Size: SH
  1. Install the lower grille mesh (3) to the front fascia assembly (2).
  2. Install the nineteen lower grille mesh retaining screws (1) into the front bumper fascia (2).
  3. Tighten
    Tighten the screws to 2 Nm (18 lb. in).


    Object Number: 1937387  Size: SH
  4. Install the decor strip into the front bumper fascia.
  5. Carefully install the thirteen front bumper fascia decor strip retaining clips (1) onto the decor strip tangs.

  6. Object Number: 1937394  Size: SH
  7. Install the eight upper grille mesh retaining screws (1) and upper grille mesh (2).
  8. Tighten
    Tighten the screws to 2 Nm (18 lb. in).


    Object Number: 1937391  Size: SH
  9. Install the upper grille mesh alignment bracket (2) and the upper grille mesh alignment bracket retaining screws (1) into the fascia assembly (3).
  10. Tighten
    Tighten the screws to 2 Nm (18 lb. in).


    Object Number: 1937389  Size: SH
  11. Install the front bumper fascia upper grille onto the front bumper fascia.
  12. Carefully install the five front bumper fascia upper grille retaining clips (1) onto the retaining tangs.
  13. Important: Make sure spacers (1) are used between the upper grille mesh and the upper grille in the two centre screw points. The spacers will require the use of a suitable adhesive tape to hold the spacers  (1) in position during the front bumper fascia upper grille retaining screw (2) installation.


    Object Number: 1937385  Size: SH
  14. Install spacers (1) on the inner two screw points. Retain the spacers in position with a suitable adhesive tape.
  15. Install the front bumper fascia upper grille retaining screws (2).
  16. Tighten
    Tighten the screws to 4 Nm (36 lb. in).

    Important: Urethane adhesive should under no circumstances be visible after boss and emblem installation.


    Object Number: 1937398  Size: SH
  17. Apply a smear of suitable urethane adhesive (1) on the boss attachment surface of the fascia upper grille mesh assembly  (2).
  18. Important: Urethane adhesive should under no circumstances be visible after boss and emblem installation.


    Object Number: 1937466  Size: SH
  19. Install the grille emblem boss (3) onto the upper grille assembly (4) and install the grille emblem boss retaining screw (1).
  20. Tighten
    Tighten the screw to 2 Nm (18 lb. in).

  21. Install the grille emblem (2) onto the grill emblem boss (3).
  22. Lower the vehicle. Refer to Lifting and Jacking the Vehicle.
  23. Install the front bumper fascia. Refer to Front Bumper Fascia Replacement.

Front Bumper Fascia Insert Replacement LWBHSV

Removal Procedure

    Caution: Refer to Safety Glasses Caution in the Preface section.

    Caution: Refer to Vehicle Lifting Caution in the Preface section.

  1. Raise and support the vehicle. Refer to Lifting and Jacking the Vehicle in General Information.
  2. Remove the front bumper fascia. Refer to Front Bumper Fascia Replacement in Bumpers.

  3. Object Number: 2025887  Size: SH
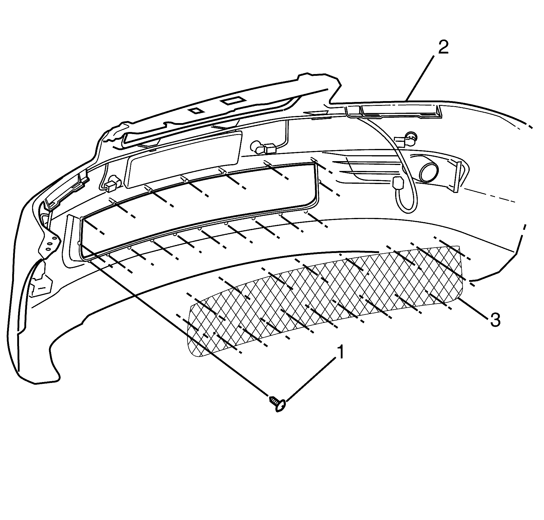
  4. Remove the fourteen front bumper fascia grille retaining screws (1) and carefully remove the front bumper fascia grille (2) from the front bumper fascia (3).

  5. Object Number: 2025888  Size: SH
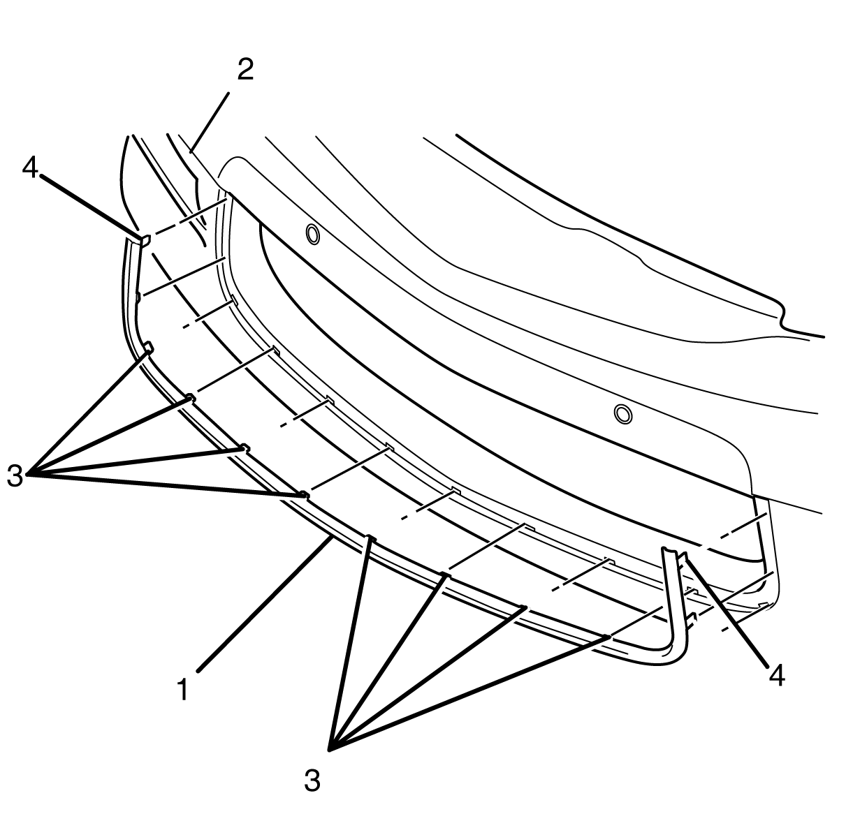
  6. Carefully prise the thirteen grille surround retaining clips (1) from the tabs protruding through the front bumper fascia (2).
  7. Important: The grille surround (1) must be removed by releasing the lower grille surround tabs (3) outwards from the front bumper fascia (2) prior to the upper grille surround tabs (4).


    Object Number: 2025889  Size: SH
  8. Carefully remove the grille surround (1) from the front bumper fascia (2) by rotating the lower grille surround tabs (3) outwards from the front bumper fascia (2) followed by releasing the upper grille surround tabs (4).

Installation Procedure

    Important: The grille surround (1) must be installed by locating the upper grille surround tabs (4) prior to rotating the grille surround (1) inwards to locate the lower grille surround tabs (3) into the front bumper fascia (2).


    Object Number: 2025889  Size: SH
  1. Locate the upper grille surround tabs (4) into the front bumper fascia (2).
  2. Rotate the grille surround inwards to locate the lower grille surround tabs (3) into the front bumper fascia (2).

  3. Object Number: 2025888  Size: SH
  4. Install the thirteen front bumper fascia grille surround retaining clips (1) onto the tabs protruding through the front bumper fascia (2).

  5. Object Number: 2025887  Size: SH
  6. Install the front bumper fascia grille (2) onto the front bumper fascia (3).
  7. Notice: Refer to Fastener Notice in the Preface section.

  8. Install the front bumper fascia grille retaining screws (1)
  9. Tighten
    Tighten the screws to 2 Nm (18 lb in).

  10. Install the front bumper fascia. Refer to Front Bumper Fascia Replacement in Bumpers.
  11. Lower the vehicle. Refer to Lifting and Jacking the Vehicle in General Information.