GM Service Manual Online
For 1990-2009 cars only

Instrument Cluster Trim Panel Replacement SWB

Removal Procedure


    Object Number: 1957781  Size: SH
  1. Remove the upper instrument cluster trim panel to I/P trim pad retaining screws (1).

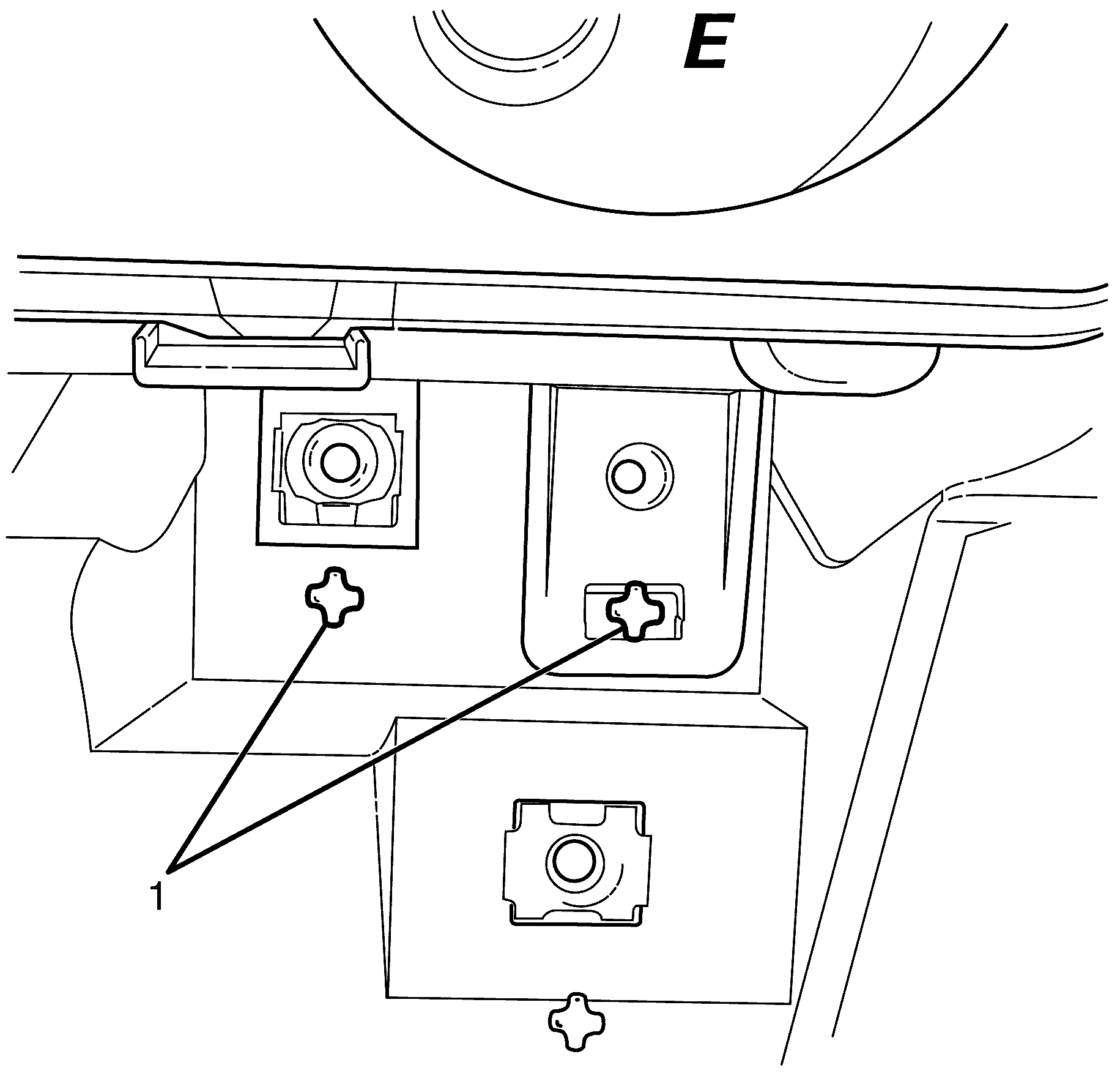
  2. Object Number: 1957783  Size: SH
  3. Remove the lower instrument cluster to I/P pad retaining screws (1), located on either side of the instrument cluster trim panel.
  4. Using a suitable tool, carefully remove the top of the trim panel toward the steering wheel.
  5. Remove the instrument cluster trim panel.

Installation Procedure


    Object Number: 1957782  Size: SH
  1. When installing the instrument cluster trim panel, make sure the locating lugs (1) are correctly located.
  2. Install the instrument cluster trim panel.
  3. Notice: Refer to Fastener Notice in the Preface section.


    Object Number: 1957783  Size: SH
  4. Install the lower instrument cluster trim panel to I/P pad retaining screws (1).
  5. Tighten
    Tighten the screws (1) to 2  N·m (18 lb in).

    Notice: Refer to Fastener Notice in the Preface section.


    Object Number: 1957781  Size: SH
  6. Install the upper instrument cluster trim panel to I/P trim pad retaining screws (1).
  7. Tighten
    Tighten the screws (1) to 2  N·m (18 lb in).

Instrument Cluster Trim Panel Replacement LWB

Removal Procedure

    Important: Note original position of the steering wheel and column assembly with regards to steering wheel height and reach.

  1. Release the steering column tilt lever.
  2. Fully lower the steering wheel and column assembly.


    Object Number: 1962712  Size: SH
  3. Remove the instrument cluster trim panel to instrument panel retaining screws (1).
  4. Depress the top of the instrument cluster trim panel slightly and tilt out of the instrument panel, disengaging the retaining clips (2) each side.
  5. Disengage the retaining lugs (3) from the instrument panel.
  6. Remove the instrument cluster trim panel.

Installation Procedure


    Object Number: 1962712  Size: SH
  1. Install the instrument cluster trim panel.
  2. Engage the retaining lugs (3) into the instrument panel.
  3. Engage the instrument cluster trim panel retaining clips (2).
  4. Install the instrument cluster trim panel to instrument panel retaining screws (1).