GM Service Manual Online
For 1990-2009 cars only

Quarter Panel Replacement LWB

Removal Procedure (fuel filler pocket)

    Important: When removing the right side quarter panel the petrol filler pocket will be removed with it. The petrol filler pocket has to be removed from the old right side quarter panel and assembled on the NEW right side quarter panel.


    Object Number: 1939603  Size: SH
  1. Locate, mark and drill out the four spot welds (1) from the body side ring.
  2. Remove the petrol filler pocket from the right side quarter panel.

Installation Procedure (fuel filler pocket)

    Important: If the location of the original plug weld holes can not be determined, or if structural weld-thru adhesive is present, space the plug weld holes every 32 mm (1¼ in).

    Important: Spot welding is the preferred method for attaching panels and should be used wherever possible. A plug weld should be performed where your spot welder is unable reach.

  1. Clean and prepare the mating surfaces of both parts of the body side ring.
  2. Important: Make sure that the alignment of the hinge and fuel filler door is correct.

  3. Position the petrol filler pocket to the NEW right side quarter panel.

  4. Object Number: 1937360  Size: SH

    Important: Make sure that the alignment of the hinge and fuel filler door is correct.

  5. Weld (1) the fuel filler pocket to the right side quarter panel.

  6. Object Number: 1939632  Size: SH
  7. Apply the primary sealer (1) GM6449G or equivalent along the fuel filler pocket and the inner panel.

  8. Object Number: 1937361  Size: SH

    Important: Seal behind the 4 tabs (1) to prevent water and fume leaks between the fuel filler pocket and the right side quarter panel.

  9. Apply the secondary sealer (2) GM specification 9984532 or equivalent along the fuel filler pocket and the right side quarter panel tabs (1).

Removal Procedure

    Caution: Refer to Approved Equipment for Collision Repair Caution in the Preface section.

    Caution: Refer to Foam Sound Deadeners Caution in the Preface section.

    Caution: Refer to Glass and Sheet Metal Handling Caution in the Preface section.

    Caution: Refer to Battery Disconnect Caution in the Preface section.

    Caution: Refer to Vehicle Lifting Caution in the Preface section.

    Important: The full body-side outer panel comes as a complete assembly and can be replaced at factory seams after the removal of the fixed glass and roof. Any one of these service procedures can be performed separately or in any combination, dependent upon the extent of damage to the vehicle. Sectioning must take place in specified areas only.

  1. Disable the SIR system. Refer to SIR Disabling and Enabling in SIR.
  2. Disconnect the negative battery cable. Refer to Battery Negative Cable Disconnection and Connection.
  3. Remove the battery. Refer to Battery Replacement.
  4. Remove the battery tray. Refer to Battery Tray Replacement.
  5. Remove the deck lid. Refer to Rear Compartment Lid Replacement.
  6. Remove the rear door seals. Refer to Rear Door Opening Weatherstrip Replacement.
  7. Remove the rear interior trims. Refer to Quarter Upper Trim Panel Replacement.
  8. Remove the roof lining. Refer to Headlining Trim Panel Replacement.
  9. Remove the rear seat back. Refer to Rear Seat Back Replacement.
  10. Remove the rear seats. Refer to Rear Seat Cushion Cover and Pad Replacement.
  11. Remove the rear parcel shelf. Refer to Rear Window Shelf Trim Panel Replacement.
  12. Remove the deck lid release cable. Refer to Rear Compartment Lid Latch Release Cable Replacement.
  13. Important: When replacing panels that involve servicing of stationary glass, refer to Rear Window Replacement and Windshield Replacement. Sectioning should be performed only in the recommended areas. Failure to do so may compromise the structural integrity of the vehicle.

  14. Remove the rear window. Refer to Rear Window Replacement.
  15. Raise and support the vehicle. Refer to Lifting and Jacking the Vehicle.
  16. Remove the rear wheels. Refer to Tire and Wheel Removal and Installation.
  17. Remove the rear bumper fascia. Refer to Rear Bumper Fascia Replacement.
  18. Remove the rear pressure relief valves. Refer to Pressure Relief Valve Replacement.
  19. Remove the rocker panel moulds. Refer to Rocker Panel Molding Replacement.
  20. Remove the rear wheel house liners. Refer to Rear Inner Wheelhouse Replacement.
  21. Remove the rear exhaust assembly. Refer to Exhaust Muffler Replacement - Left Side and/or Exhaust Muffler Replacement - Right Side.
  22. Remove the rear exhaust muffler heat shields. Refer to Exhaust Muffler Heat Shield Replacement - Left Side and/or Exhaust Muffler Heat Shield Replacement - Right Side.
  23. Remove the rear frame. Refer to Rear Frame Replacement.
  24. Remove the rear brake lines. Refer to Brake Pipe Replacement.
  25. Remove the fuel tank. Refer to Fuel Tank Replacement or Fuel Tank Replacement.
  26. Remove the fuel lines. Refer to Filler Tube Replacement or Filler Tube Replacement.
  27. Lower the vehicle.
  28. Remove the roof moulding. Refer to Body Side Roof Drip Molding Replacement.
  29. Important: This step is unique to the sunroof module.

  30. Remove the rear sunroof drain tubes. Refer to Sunroof Housing Rear Drain Hose Replacement.
  31. Remove the tail lights. Refer to Parking and Turn Signal Lamp Replacement.
  32. Repair as much of the damage as possible.
  33. Remove sound deadeners as necessary and note their location.
  34. Remove the sealers and anti-corrosion materials from the repair area, as necessary. Refer to Anti-Corrosion Treatment and Repair.

  35. Object Number: 1937460  Size: SH
  36. Create cut lines on the rocker panel and rear quarter panel within the approved sectioning locations.

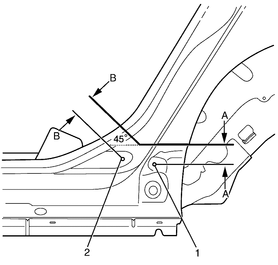
  37. Object Number: 1937340  Size: SH

    Important: Measure from the datum holes to create an accurate cut line.

  38. Mark a cut line 47 mm (1.85 in) from datum point (1).
  39. Mark a cut line 42 mm (1.65 in) from datum point (2).

  40. Object Number: 1937462  Size: SH

    Important: Measure from the datum holes to create an accurate cut line.

  41. Mark a cut line 100 mm (3.94 in) from datum point (1).

  42. Object Number: 1937407  Size: SH
  43. In the rear window opening, measure down 10 mm (0.39 in) (A) from the rear edge of the roof.
  44. Mark a cut line to the door opening.

  45. Object Number: 1939599  Size: SH

    Important: Take care not damage any inner panels or reinforcements.

  46. Locate, mark and drill out all the factory welds inside the cut lines on the quarter panel to body ring.

  47. Object Number: 1939571  Size: SH

    Important: Take care not damage any inner panels or reinforcements.

  48. Locate, mark and drill out all the factory welds inside the cut lines on the quarter panel to window sill.

  49. Object Number: 1939563  Size: SH

    Important: Note the number and location of the factory welds for installation of the quarter panel.

  50. Locate, mark, and drill out all the necessary factory welds (1) of the tail lamp and extension panel.

  51. Object Number: 1939624  Size: SH

    Important: Note the number and location of the factory welds for installation of the quarter panel.

  52. Locate, mark and drill out all the factory welds (1) on the quarter panel to inner wheelhouse.

  53. Object Number: 1937415  Size: SH

    Important: Only cut through the skin panel, outer panel. Do not damage any inner panels or reinforcements.

  54. Cut along the cut line (1) on the body side outer skin panel with a suitable cutting tool.

  55. Object Number: 1937463  Size: SH

    Important: Only cut through the skin panel, outer panel. Do not damage any inner panels or reinforcements.

  56. Cut along the cut line (1) on the body side outer skin panel with a suitable cutting tool.
  57. Remove the damaged body side outer skin panel.

Installation Procedure

    Important: If the location of the original spot weld holes can not be determined, or if structural weld-thru adhesive is present, space the puddle weld holes every 32 mm (1¼ in).

    Important: Spot welding is the preferred method for attaching panels and should be used wherever possible. A puddle weld should be performed where your spot welder is unable to reach.

  1. Cut the body side assembly in corresponding locations to fit the remaining original panel. The sectioning joint should be trimmed to allow a gap of one-and-one-half-times the metal thickness at the sectioning joint.

  2. Object Number: 1937342  Size: SH
  3. Align the bolt holes (1) for the rear door striker with holes in the body side outer.
  4. Bolt the rear door striker into the holes (1) in the body side outer and through the reinforcement.
  5. Important: If the location of the original spot weld holes can not be determined, or if structural weld-thru adhesive is present, space the puddle weld holes every 32 mm (1¼ in).

  6. Drill 8 mm (5/16 in) puddle weld holes in the service part as necessary in the locations noted from the original panel.
  7. Prepare all mating surfaces as necessary.
  8. Position the body side outer skin panel to the vehicle.
  9. Align quarter panel using three-dimensional measuring equipment.

  10. Object Number: 1937480  Size: SH
  11. Weld the quarter panel to the tail lamp filler panel and the inner side extension.

  12. Object Number: 1939538  Size: SH
  13. Weld the quarter panel to the rear door sill.
  14. Weld the quarter panel to the body side ring outer panel.

  15. Object Number: 1939476  Size: SH
  16. Weld the quarter panel to the rear window sill.

  17. Object Number: 1937338  Size: SH
  18. Weld (1) the quarter panel to the inner rear wheelhouse.

  19. Object Number: 1937460  Size: SH

    Important: To create a solid weld with minimum heat distortion, make 25 mm (1 in) stitch welds along the seam with 25 mm (1 in) gaps between them.

  20. Stitch weld the rear quarter panel the vehicle.
  21. Clean and prepare all of the welded surfaces.
  22. Apply the sealers and anti-corrosion materials to the repair area, as necessary. Refer to Anti-Corrosion Treatment and Repair.

  23. Object Number: 1937298  Size: SH
  24. Apply the primary sealer (1) GM6449G or equivalent along the quarter panel to the tail lamp filler panel and side extension panel.

  25. Object Number: 1937409  Size: SH
  26. Apply the primary sealer (1) GM6449G or equivalent along the rear quarter panel to the rear wheel arch.

  27. Object Number: 1937410  Size: SH
  28. Apply the primary sealer (1) GM6449G or equivalent along the rear quarter panel to the body side ring outer.

  29. Object Number: 1937481  Size: SH
  30. Apply the secondary sealer (1) GM specification 9984532 or equivalent along rear quarter panel to the tail lamp filler panel and side extension panel.

  31. Object Number: 1937483  Size: SH
  32. Apply the secondary sealer (1) GM specification 9984532 or equivalent along the rear quarter panel to the body side ring outer panel.
  33. Paint the repaired area. Refer to Basecoat/Clearcoat Paint Systems.
  34. Install the tail lights. Refer to Parking and Turn Signal Lamp Replacement.
  35. Important: This step is unique to the sunroof module.

  36. Install the rear sunroof drain tubes. Refer to Sunroof Housing Rear Drain Hose Replacement.
  37. Install the rear windshield. Refer to Rear Window Replacement.
  38. Install the roof moulding. Refer to Body Side Roof Drip Molding Replacement.
  39. Raise and support the vehicle. Refer to Lifting and Jacking the Vehicle.
  40. Install the fuel lines. Refer to Filler Tube Replacement or Filler Tube Replacement.
  41. Install the fuel tank. Refer to Fuel Tank Replacement or Fuel Tank Replacement.
  42. Install the rear brake lines. Refer to Brake Pipe Replacement.
  43. Install the rear frame. Refer to Rear Frame Replacement.
  44. Install the rear exhaust muffler heat shields. Refer to Exhaust Muffler Heat Shield Replacement - Left Side and Exhaust Muffler Heat Shield Replacement - Right Side.
  45. Install the rear exhaust assembly. Refer to Exhaust Muffler Replacement - Left Side and Exhaust Muffler Replacement - Right Side.
  46. Install the rear wheel house liners. Refer to Rear Inner Wheelhouse Replacement.
  47. Install the rocker panel moulds. Refer to Rocker Panel Molding Replacement.
  48. Install the rear pressure relief valves. Refer to Pressure Relief Valve Replacement.
  49. Install the rear bumper fascia. Refer to Rear Bumper Fascia Replacement.
  50. Install the rear wheels. Refer to Tire and Wheel Removal and Installation.
  51. Lower the vehicle.
  52. Install the deck lid release cable. Refer to Rear Compartment Lid Latch Release Cable Replacement.
  53. Install the rear parcel shelf. Refer to Rear Window Shelf Trim Panel Replacement.
  54. Install the rear seats. Refer to Rear Seat Cushion Cover and Pad Replacement.
  55. Install the rear seat back. Refer to Rear Seat Back Replacement.
  56. Install the roof lining. Refer to Headlining Trim Panel Replacement.
  57. Install the rear interior trims. Refer to Quarter Upper Trim Panel Replacement.
  58. Install the rear door seals. Refer to Rear Door Opening Weatherstrip Replacement.
  59. Install the deck lid. Refer to Rear Compartment Lid Replacement.
  60. Install the front doors. Refer to Front Side Door Replacement.
  61. Install the rear doors. Refer to Rear Door Replacement.
  62. Install the battery tray. Refer to Battery Tray Replacement.
  63. Install the battery. Refer to Battery Replacement.
  64. Caution: Refer to Battery Disconnect Caution in the Preface section.

  65. Connect the negative battery cable. Refer to Battery Negative Cable Disconnection and Connection.
  66. Enable the SIR system. Refer to SIR Disabling and Enabling.

Quarter Panel Replacement SWB

Removal Procedure (fuel filler pocket)

    Important: When removing the right side quarter panel the petrol filler pocket will be removed with it. The petrol filler pocket has to be removed from the old right side quarter panel and assembled on the NEW right side quarter panel.


    Object Number: 1939629  Size: SH
  1. Locate, mark and drill out the four spot welds (1) from the body side ring.
  2. Remove the petrol filler pocket from the right side quarter panel.

Installation Procedure (fuel filler pocket)

    Important: If the location of the original plug weld holes can not be determined, or if structural weld-thru adhesive is present, space the plug weld holes every 32 mm (1¼ in).

    Important: Spot welding is the preferred method for attaching panels and should be used wherever possible. A plug weld should be performed where your spot welder is unable reach.

  1. Clean and prepare the mating surfaces of both parts of the body side ring.
  2. Important: Make sure that the alignment of the hinge and fuel filler door is correct.

  3. Position the petrol filler pocket to the NEW right side quarter panel.

  4. Object Number: 1937360  Size: SH

    Important: Make sure that the alignment of the hinge and fuel filler door is correct.

  5. Weld (1) the fuel filler pocket to the right side quarter panel.

  6. Object Number: 1939632  Size: SH
  7. Apply the primary sealer (1) GM6449G or equivalent along the fuel filler pocket and the inner panel.

  8. Object Number: 1937361  Size: SH

    Important: Seal behind the 4 tabs (1) to prevent water and fume leaks between the fuel filler pocket and the right side quarter panel.

  9. Apply the secondary sealer (1) GM specification 9984532 or equivalent along the fuel filler pocket and the right side quarter panel tabs (1).

Removal Procedure

    Caution: Refer to Approved Equipment for Collision Repair Caution in the Preface section.

    Caution: Refer to Foam Sound Deadeners Caution in the Preface section.

    Caution: Refer to Glass and Sheet Metal Handling Caution in the Preface section.

    Caution: Refer to Battery Disconnect Caution in the Preface section.

    Caution: Refer to Vehicle Lifting Caution in the Preface section.

    Important: The full body-side outer panel comes as a complete assembly and can be replaced at factory seams after the removal of the fixed glass and roof. Any one of these service procedures can be performed separately or in any combination, dependent upon the extent of damage to the vehicle. Sectioning must take place in specified areas only.

  1. Disable the SIR system. Refer to SIR Disabling and Enabling in SIR.
  2. Disconnect the negative battery cable. Refer to Battery Negative Cable Disconnection and Connection.
  3. Remove the battery. Refer to Battery Replacement.
  4. Remove the battery tray. Refer to Battery Tray Replacement.
  5. Remove the deck lid. Refer to Rear Compartment Lid Replacement.
  6. Remove the rear door seals. Refer to Rear Door Opening Weatherstrip Replacement.
  7. Remove the rear interior trims. Refer to Quarter Upper Trim Panel Replacement.
  8. Remove the roof lining. Refer to Headlining Trim Panel Replacement.
  9. Remove the rear seat back. Refer to Rear Seat Back Replacement.
  10. Remove the rear seats. Refer to Rear Seat Cushion Cover and Pad Replacement.
  11. Remove the rear parcel shelf. Refer to Rear Window Shelf Trim Panel Replacement.
  12. Remove the deck lid release cable. Refer to Rear Compartment Lid Latch Release Cable Replacement.
  13. Important: When replacing panels that involve servicing of stationary glass, refer to Rear Window Replacement and Windshield Replacement. Sectioning should be performed only in the recommended areas. Failure to do so may compromise the structural integrity of the vehicle.

  14. Remove the rear window. Refer to Rear Window Replacement.
  15. Raise and support the vehicle. Refer to Lifting and Jacking the Vehicle.
  16. Remove the rear wheels. Refer to Tire and Wheel Removal and Installation.
  17. Remove the rear bumper fascia. Refer to Rear Bumper Fascia Replacement.
  18. Remove the rear pressure relief valves. Refer to Pressure Relief Valve Replacement.
  19. Remove the rocker panel moulds. Refer to Rocker Panel Molding Replacement.
  20. Remove the rear wheelhouse liners. Refer to Rear Inner Wheelhouse Replacement.
  21. Remove the rear exhaust assembly. Refer to Exhaust Muffler Replacement - Left Side and/or Exhaust Muffler Replacement - Right Side
  22. Remove the rear exhaust muffler heat shields. Refer to Exhaust Muffler Heat Shield Replacement - Left Side and/or Exhaust Muffler Heat Shield Replacement - Right Side.
  23. Remove the rear frame. Refer to Rear Frame Replacement.
  24. Remove the rear brake lines. Refer to Brake Pipe Replacement.
  25. Remove the fuel tank. Refer to Fuel Tank Replacement or Fuel Tank Replacement.
  26. Remove the fuel lines. Refer to Filler Tube Replacement or Filler Tube Replacement.
  27. Lower the vehicle.
  28. Remove the roof moulding. Refer to Body Side Roof Drip Molding Replacement.
  29. Important: This step is unique to the sunroof module.

  30. Remove the rear sunroof drain tubes. Refer to Sunroof Housing Rear Drain Hose Replacement.
  31. Remove the tail lights. Refer to Parking and Turn Signal Lamp Replacement.
  32. Repair as much of the damage as possible.
  33. Remove sound deadeners as necessary and note their location.
  34. Remove the sealers and anti-corrosion materials from the repair area, as necessary. Refer to Anti-Corrosion Treatment and Repair.

  35. Object Number: 1937334  Size: SH
  36. Create cut lines on the rocker panel and rear quarter panel within the approved sectioning locations.

  37. Object Number: 1937340  Size: SH

    Important: Measure from the datum holes to create an accurate cut line.

  38. Mark a cut line 47 mm (1.85 in) from datum point (1).
  39. Mark a cut line 42 mm (1.65 in) from datum point (2).

  40. Object Number: 1994668  Size: SH

    Important: Measure from the datum holes to create an accurate cut line.

  41. Mark a cut line 75 mm (2.95 in) from datum point (1).

  42. Object Number: 1937407  Size: SH
  43. In the rear window opening, measure down 10 mm (0.39 in) from the rear edge of the roof (A).
  44. Mark a cut line to the door opening.

  45. Object Number: 1939628  Size: SH

    Important: Take care not damage any inner panels or reinforcements.

  46. Locate, mark and drill out all the factory welds inside the cut lines on the quarter panel to body ring.

  47. Object Number: 1939625  Size: SH

    Important: Take care not damage any inner panels or reinforcements.

  48. Locate, mark and drill out all the necessary factory welds inside the cut lines on the quarter panel to rear window sill.

  49. Object Number: 1957118  Size: SH

    Important: Note the number and location of the factory welds for installation of the quarter panel.

  50. Locate, mark, and drill out the factory welds (1) of the tail lamp and extension panel to rear quarter panel.

  51. Object Number: 1939624  Size: SH

    Important: Note the number and location of the factory welds for installation of the quarter panel.

  52. Locate, mark and drill out factory welds (1) from the rear quarter panel to inner wheelhouse assembly.

  53. Object Number: 1937415  Size: SH

    Important: Only cut through the skin panel, outer panel. Do not damage any inner panels or reinforcements.

  54. Cut along the cut line (1) on the body side outer skin panel with a suitable cutting tool.

  55. Object Number: 1937417  Size: SH

    Important: Only cut through the skin panel, outer panel. Do not damage any inner panels or reinforcements.

  56. Cut along the cut line (1) on the body side outer skin panel with a suitable cutting tool.
  57. Remove the damaged body side outer skin panel.

Installation Procedure

    Important: If the location of the original spot weld holes can not be determined, or if structural weld-thru adhesive is present, space the puddle weld holes every 32 mm (1¼ in).

    Important: Spot welding is the preferred method for attaching panels and should be used wherever possible. A puddle weld should be performed where your spot welder is unable to reach.

  1. Cut the body side assembly in corresponding locations to fit the remaining original panel. The sectioning joint should be trimmed to allow a gap of one-and-one-half-times the metal thickness at the sectioning joint.

  2. Object Number: 1937342  Size: SH
  3. Align the bolt holes (1) for the rear door striker with holes in the body side outer.
  4. Bolt the rear door striker into the holes (1) in the body side outer and through the reinforcement.
  5. Important: If the location of the original spot weld holes can not be determined, or if structural weld-thru adhesive is present, space the puddle weld holes every 32 mm (1¼ in).

  6. Drill 8 mm (5/16 in) puddle weld holes in the service part as necessary in the locations noted from the original panel.
  7. Prepare all mating surfaces as necessary.
  8. Position the body side outer skin panel to the vehicle.
  9. Align quarter panel using three-dimensional measuring equipment.

  10. Object Number: 1939622  Size: SH
  11. Weld (1) the quarter panel to the tail lamp filler panel and the inner side extension.

  12. Object Number: 1939620  Size: SH
  13. Weld the quarter panel to the rear door sill.
  14. Weld the quarter panel to the body side ring outer panel.

  15. Object Number: 1939615  Size: SH
  16. Weld the quarter panel to the rear window sill.

  17. Object Number: 1937338  Size: SH
  18. Weld (1) the quarter panel to the inner rear wheelhouse.

  19. Object Number: 1937334  Size: SH

    Important: To create a solid weld with minimum heat distortion, make 25 mm (1 in) stitch welds along the seam with 25 mm (1 in) gaps between them.

  20. Stitch weld the rear quarter panel the vehicle.
  21. Clean and prepare all of the welded surfaces.
  22. Apply the sealers and anti-corrosion materials to the repair area, as necessary. Refer to Anti-Corrosion Treatment and Repair in Paint/Coatings.

  23. Object Number: 1937452  Size: SH
  24. Apply the primary sealer (1) GM6449G or equivalent along the quarter panel to the tail lamp filler panel and side extension panel.

  25. Object Number: 1937409  Size: SH
  26. Apply the primary sealer (1) GM6449G or equivalent along the rear quarter panel to the rear wheel arch.

  27. Object Number: 1937410  Size: SH
  28. Apply the primary sealer (1) GM6449G or equivalent along the rear quarter panel to the body side ring outer.

  29. Object Number: 1937452  Size: SH
  30. Apply the secondary sealer (1) GM specification 9984532 or equivalent along rear quarter panel to the tail lamp filler panel and side extension panel.

  31. Object Number: 1937483  Size: SH
  32. Apply the secondary sealer (1) GM specification 9984532 or equivalent along the rear quarter panel to the body side ring outer panel.
  33. Paint the repaired area. Refer to Basecoat/Clearcoat Paint Systems.
  34. Install the tail lights. Refer to Parking and Turn Signal Lamp Replacement.
  35. Important: This step is unique to the sunroof module.

  36. Install the rear roof drain tubes. Refer to Sunroof Housing Rear Drain Hose Replacement.
  37. Install the rear windshield. Refer to Rear Window Replacement.
  38. Install the roof moulding. Refer to Body Side Roof Drip Molding Replacement.
  39. Raise and support the vehicle. Refer to Lifting and Jacking the Vehicle.
  40. Install the fuel lines. Refer to Filler Tube Replacement or Filler Tube Replacement.
  41. Install the fuel tank. Refer to Fuel Tank Replacement or Fuel Tank Replacement.
  42. Install the rear brake lines. Refer to Brake Pipe Replacement.
  43. Install the rear frame. Refer to Rear Frame Replacement.
  44. Install the rear exhaust muffler heat shields. Refer to Exhaust Muffler Heat Shield Replacement - Left Side and Exhaust Muffler Heat Shield Replacement - Right Side.
  45. Install the rear exhaust assembly. Refer to Exhaust Muffler Replacement - Left Side and Exhaust Muffler Replacement - Right Side.
  46. Install the rear wheel house liners. Refer to Rear Inner Wheelhouse Replacement in Body Rear End.
  47. Install the rocker panel moulds. Refer to Rocker Panel Molding Replacement.
  48. Install the rear pressure relief valves. Refer to Pressure Relief Valve Replacement in Body Rear End.
  49. Install the rear bumper fascia. Refer to Rear Bumper Fascia Replacement.
  50. Install the rear wheels. Refer to Tire and Wheel Removal and Installation.
  51. Lower the vehicle.
  52. Install the deck lid release cable. Refer to Rear Compartment Lid Latch Release Cable Replacement.
  53. Install the rear parcel shelf. Refer to Rear Window Shelf Trim Panel Replacement.
  54. Install the rear seats. Refer to Rear Seat Cushion Cover and Pad Replacement.
  55. Install the rear seat back. Refer to Rear Seat Back Replacement.
  56. Install the roof lining. Refer to Headlining Trim Panel Replacement.
  57. Install the rear interior trims. Refer to Quarter Upper Trim Panel Replacement.
  58. Install the rear door seals. Refer to Rear Door Opening Weatherstrip Replacement.
  59. Install the deck lid. Refer to Rear Compartment Lid Replacement.
  60. Install the battery tray. Refer to Battery Tray Replacement.
  61. Install the battery. Refer to Battery Replacement.
  62. Caution: Refer to Battery Disconnect Caution in the Preface section.

  63. Connect the negative battery cable. Refer to Battery Negative Cable Disconnection and Connection.
  64. Enable the SIR system. Refer to SIR Disabling and Enabling.
  65. If re-programming is required. Refer to Control Module References.

Quarter Panel Replacement Sportwagon

Removal Procedure (fuel filler pocket)

    Important: When removing the right side quarter portion of the body side outer panel, the petrol filler pocket will be removed with it. The petrol filler pocket can be removed from the old right side quarter panel and assembled on the NEW right side quarter panel repair section.


    Object Number: 1939629  Size: SH
  1. Locate, mark and drill out the four spot welds (1) from the body side ring.
  2. Remove the petrol filler pocket from the right side quarter panel.

Installation Procedure (fuel filler pocket)

    Important: If the location of the original plug weld holes can not be determined, or if structural weld-thru adhesive is present, space the plug weld holes every 32 mm (1¼ in).

    Important: Spot welding is the preferred method for attaching panels and should be used wherever possible. A plug weld should be performed where your spot welder is unable reach.

  1. Clean and prepare the mating surfaces of both parts of the body side ring.
  2. Important: Make sure that the alignment of the hinge and fuel filler door is correct.

  3. Position the petrol filler pocket to the NEW right side quarter panel.

  4. Object Number: 1937360  Size: SH

    Important: Make sure that the alignment of the hinge and fuel filler door is correct.

  5. Weld (1) the fuel filler pocket to the right side quarter panel.

  6. Object Number: 1939632  Size: SH
  7. Apply the primary sealer (1) GM6449G or equivalent along the fuel filler pocket and the inner panel.

  8. Object Number: 1937361  Size: SH

    Important: Seal behind the 4 tabs (1) to prevent water and fume leaks between the fuel filler pocket and the right side quarter panel.

  9. Apply the secondary sealer (2) GM specification 9984532 or equivalent along the fuel filler pocket and the right side quarter panel tabs (1).

Removal Procedure

    Caution: Refer to Approved Equipment for Collision Repair Caution in the Preface section.

    Caution: Refer to Foam Sound Deadeners Caution in the Preface section.

    Caution: Refer to Glass and Sheet Metal Handling Caution in the Preface section.

    Caution: Refer to Battery Disconnect Caution in the Preface section.

    Caution: Refer to Vehicle Lifting Caution in the Preface section.

    Important: The bodyside outer panel is supplied complete and must be cut to match the quarter panel repair area. Sectioning must take place in the specified areas only.

  1. Disable the SIR system. Refer to SIR Disabling and Enabling in SIR.
  2. Disconnect the negative battery cable. Refer to Battery Negative Cable Disconnection and Connection.
  3. Remove the rear end trim finish panel. Refer to Rear End Trim Finish Panel Replacement.
  4. Remove the rear compartment floor panel carpet. Refer to Rear Compartment Floor Panel Carpet Replacement.
  5. Remove the load floor stationary panel carpet. Refer to Load Floor Stationary Panel Carpet Replacement.
  6. Remove the load floor front panel carpet. Refer to Load Floor Front Panel Carpet Replacement.
  7. Remove the liftgate weatherstrip. Refer to Liftgate Weatherstrip Replacement.
  8. Remove the quarter inner trim finish panel. Refer to Quarter Inner Trim Finish Panel Replacement.
  9. Remove the battery. Refer to Battery Replacement.
  10. Remove the battery tray. Refer to Battery Tray Replacement.
  11. Remove the liftgate. Refer to Liftgate Replacement.
  12. Remove the rear door seal. Refer to Rear Door Opening Weatherstrip Replacement.
  13. Remove the Body Side Roof Drip Moulding. Refer to Body Side Roof Drip Molding Replacement.
  14. Remove the rear interior trims. Refer to Quarter Upper Trim Panel Replacement.
  15. Remove the headliner. Refer to Headlining Trim Panel Replacement.
  16. Remove the rear seat back. Refer to Rear Split Folding Seat Back Replacement.
  17. Remove the rear seats. Refer to Rear Seat Cushion Cover and Pad Replacement.
  18. Important: When replacing panels that involve servicing of stationary glass, refer to Rear Window Replacement and Windshield Replacement. Sectioning should be performed only in the recommended areas. Failure to do so may compromise the structural integrity of the vehicle.

  19. Remove the rear window. Refer to Rear Window Replacement.
  20. Raise and support the vehicle. Refer to Lifting and Jacking the Vehicle
  21. Remove the rear wheels. Refer to Tire and Wheel Removal and Installation.
  22. Remove the rear bumper fascia. Refer to Rear Bumper Fascia Replacement.
  23. Remove the rear pressure relief valves. Refer to Pressure Relief Valve Replacement.
  24. Remove the rocker panel moulds. Refer to Rocker Panel Molding Replacement.
  25. Remove the rear wheelhouse liners. Refer to Rear Inner Wheelhouse Replacement.
  26. Remove the rear exhaust assembly. Refer to Exhaust Muffler Replacement - Left Side and/or Exhaust Muffler Replacement - Right Side
  27. Remove the rear exhaust muffler heat shields. Refer to Exhaust Muffler Heat Shield Replacement - Left Side and/or Exhaust Muffler Heat Shield Replacement - Right Side.
  28. Remove the rear frame. Refer to Rear Frame Replacement.
  29. Remove the rear brake lines. Refer to Brake Pipe Replacement.
  30. Remove the fuel tank. Refer to Fuel Tank Replacement or Fuel Tank Replacement.
  31. Remove the fuel lines. Refer to Filler Tube Replacement or Filler Tube Replacement.
  32. Lower the vehicle.
  33. Remove the roof moulding. Refer to Body Side Roof Drip Molding Replacement.
  34. Remove the tail lights. Refer to Tail Lamp Assembly and /or Backup, Sidemarker, Stop, Turn Signal Bulb Replacement.
  35. Repair as much of the damage as possible.
  36. Remove sound deadeners as necessary and note their location.
  37. Remove the sealers and anti-corrosion materials from the repair area and note their location. Refer to Anti-Corrosion Treatment and Repair.

  38. Object Number: 2086134  Size: SH
  39. Create cut lines on the body side outer panel at the approved sectioning locations.

  40. Object Number: 2086135  Size: SH

    Important: Measure from the datum hole to create an accurate cut line.

  41. Mark a horizontal cut line 35 mm (1.38 in) (Dimension A) above datum point (1).
  42. Mark a vertical cut line 95 mm (3.74 in) (Dimension B) rearward of datum point  (2).

  43. Object Number: 2086136  Size: SH

    Important: Measure from the datum holes to create an accurate cut line. Datum holes  (1) and  (2) are 9mm dia holes in the body side outer panel.

  44. Mark a horizontal cut line 42 mm (1.65 in) (Dimension A) above datum point  (1).
  45. Mark a cut line 47 mm (1.85 in) (Dimension B) from datum point (2) measured at an angle of 45  degrees to the horizontal.

  46. Object Number: 2110801  Size: SH

    Important: Do not damage any inner panels or reinforcements.

    Important: Note the number and location of the factory welds for installation of the rear quarter panel repair section.

  47. Locate, mark and drill out the factory welds  (1) inside the cut lines on the body side outer panel to body ring.
  48. Locate, mark and drill out the factory welds  (2) inside the cut lines around the rear quarter window.

  49. Object Number: 2110802  Size: SH

    Important: Do not damage any inner panels or reinforcements.

    Important: Note the number and location of the factory welds for installation of the rear quarter panel repair section.

  50. Locate, mark and drill out all the necessary factory welds  (1) inside the cut lines on the body side outer panel to rear gutter panel.

  51. Object Number: 2110805  Size: SH

    Important: Do not damage any inner panels or reinforcements.

    Important: Note the number and location of the factory welds for installation of the rear quarter panel repair section.

  52. Locate, mark, and drill out the factory welds (1) joining the body side outer panel to the body tail lamp filler panel.
  53. Locate, mark and drill out the factory welds  (2) joining the body side outer panel to the body side inner panel extension.
  54. Locate, mark and drill out the factory welds  (3) joining the body side outer panel to the inner wheelhouse panel.

  55. Object Number: 2110806  Size: SH

    Important: Do not damage any inner panels or reinforcements.

    Important: Note the number and location of the factory welds for installation of the quarter panel repair section.

  56. Locate, mark, and drill out the factory welds (1) joining the body side outer panel to the rear door lock striker reinforcement bracket.

  57. Object Number: 2086142  Size: SH

    Important: Only cut through the body side outer panel. Do not damage any inner panels or reinforcements.

  58. Cut along the cut line (1) on the body side outer panel with a suitable cutting tool.
  59. Cut along the cut line (2) on the body side outer panel with a suitable cutting tool.
  60. Cut along the cut line (3) on the body side outer panel with a suitable cutting tool.
  61. Remove the damaged quarter portion of the body side outer panel.

  62. Object Number: 2110808  Size: SH

    Important: Note the number and location of the factory welds for installation of the quarter panel repair section.

  63. Locate, mark and drill out the welds  (1) joining the rear door striker reinforcement bracket to the body ring.

  64. Object Number: 2110810  Size: SH

    Important: This step is only required if the body tail lamp filler panel is also to be replaced.

    Important: Note the number and location of the factory welds for installation of the rear quarter panel repair section.

  65. Locate, mark and drill out the factory welds  (1) joining the body tail lamp filler panel to the vehicle.
  66. Remove the damaged tail lamp filler panel from the vehicle.

Installation Procedure

    Important: Spot welding is the preferred method for attaching panels and should be used wherever possible. A puddle weld should be performed where your spot welder is unable to reach.

    Important: Ensure that all factory welds are replaced in their original locations.

    Important: Ensure that all structural adhesives and sealers are replaced in their original locations.

    Important: If the location of the original spot weld holes can not be determined, or if structural weld-thru adhesive is present, space the puddle weld holes every 32 mm (1¼ in).

    Important: This step is only required if the body tail lamp filler panel is also to be replaced.

  1. Prepare all mating surfaces as necessary.
  2. Drill 8 mm (5/16 in) puddle weld holes in the service part as necessary in the locations noted from the original panel.
  3. Align the body tail lamp filler panel to the vehicle using three dimensional measuring equipment. Refer to Dimensions - Body

  4. Object Number: 2110817  Size: SH
  5. Weld the body tail lamp filler panel to the vehicle  (1).
  6. Drill 8 mm (5/16 in) puddle weld holes in the service part as necessary in the locations noted from the original panel.
  7. Position and align the rear door striker reinforcement bracket to the vehicle using three dimensional measuring equipment. Refer to Dimensions - Body.

  8. Object Number: 2110809  Size: SH
  9. Weld the rear door reinforcement bracket  (1) to the body ring.
  10. Cut the new body side outer panel in corresponding locations to fit the remaining original body side outer panel. The sectioning joint should be trimmed to allow a gap of one-and-one-half-times the metal thickness at the sectioning joint.
  11. Prepare all mating surfaces as necessary.
  12. Important: If the location of the original plug weld holes can not be determined, or if structural weld-thru adhesive is present, space the plug weld holes every 32 mm (1¼ in).

  13. Drill 8 mm (5/16 in) puddle weld holes in the service part as necessary in the locations noted from the original panel.
  14. Position and align the quarter panel repair section to the vehicle using three dimensional measuring equipment. Refer to Dimensions - Body.
  15. Install the rear door striker into the bolt holes in the rear door striker reinforcement through the quarter panel repair section. Refer to Door Striker Replacement.

  16. Object Number: 2086140  Size: SH
  17. Weld (1) the quarter panel repair section to the body tail lamp filler panel.
  18. Weld  (2) the quarter panel repair section to the body side inner panel extension.
  19. Weld the  (3) the quarter panel repair section to the inner wheelhouse panel.

  20. Object Number: 2086137  Size: SH
  21. Weld  (1) the quarter panel repair section to the body side ring outer panel.
  22. Weld  (2) the quarter panel repair section to the vehicle around the rear quarter window.

  23. Object Number: 2086139  Size: SH
  24. Weld  (1) the quarter panel repair section to the rear gutter rail.

  25. Object Number: 2086142  Size: SH

    Important: To create a solid weld with minimum heat distortion, make 25 mm (1 in) stitch welds along the seam with 25 mm (1 in) gaps between them.

  26. Stitch weld the quarter panel repair section to the body side outer panel at the three sectioning locations (1), (2) and (3).
  27. Clean and prepare all of the welded surfaces.
  28. Apply the sealers and anti-corrosion materials to the repair area, as necessary. Refer to Anti-Corrosion Treatment and Repair

  29. Object Number: 2143712  Size: SH
  30. Apply expanding foam (GM9982296 or equivalent) to fill the space between the body side outer panel and the inner panels as shown by the shaded region in the illustration. The expanding foam is required for noise reduction. Dimension A=272 mm (10.7 in); Dimension B= 80mm (3.1 in); Measure rearward from datum point  1.

  31. Object Number: 2086143  Size: SH
  32. Apply the primary sealer (1) GM6449G or equivalent along the quarter panel to the tail lamp filler panel and side extension panel.

  33. Object Number: 1937409  Size: SH
  34. Apply the primary sealer (1) GM6449G or equivalent along the rear quarter panel to the rear wheel arch.

  35. Object Number: 2086143  Size: SH
  36. Apply the secondary sealer (1) GM specification 9984532 or equivalent along rear quarter panel to the tail lamp filler panel and side extension panel.

  37. Object Number: 2086144  Size: SH
  38. Apply the secondary sealer (1) GM specification 9984532 or equivalent along the rear quarter panel to the body side ring outer panel.
  39. Important: This step is only required if the body tail lamp filler panel is also to be replaced.


    Object Number: 2064802  Size: SH
  40. Apply secondary sealer to the edge of the body tail lamp filler panel  (1).
  41. Important: This step is only required if the body tail lamp filler panel is also to be replaced.


    Object Number: 2063689  Size: SH
  42. Apply secondary sealer to the edge of the body tail lamp filler panel  (1).
  43. Paint the repaired area. Refer to Basecoat/Clearcoat Paint Systems.
  44. Install the tail lights. Refer to Parking and Turn Signal Lamp Replacement.
  45. Important: This step is unique to the sunroof module.

  46. Install the rear roof drain tubes. Refer to Sunroof Housing Rear Drain Hose Replacement.
  47. Install the rear windshield. Refer to Rear Window Replacement.
  48. Install the roof moulding. Refer to Body Side Roof Drip Molding Replacement.
  49. Raise and support the vehicle. Refer to Lifting and Jacking the Vehicle.
  50. Install the fuel lines. Refer to Filler Tube Replacement or Filler Tube Replacement.
  51. Install the fuel tank. Refer to Fuel Tank Replacement or Fuel Tank Replacement.
  52. Install the rear brake lines. Refer to Brake Pipe Replacement.
  53. Install the rear frame. Refer to Rear Frame Replacement.
  54. Install the rear exhaust muffler heat shields. Refer to Exhaust Muffler Heat Shield Replacement - Left Side and Exhaust Muffler Heat Shield Replacement - Right Side.
  55. Install the rear exhaust assembly. Refer to Exhaust Muffler Replacement - Left Side and Exhaust Muffler Replacement - Right Side.
  56. Install the rear wheel house liners. Refer to Rear Inner Wheelhouse Replacement in Body Rear End.
  57. Install the rocker panel moulds. Refer to Rocker Panel Molding Replacement.
  58. Install the rear pressure relief valves. Refer to Pressure Relief Valve Replacement in Body Rear End.
  59. Install the rear bumper fascia. Refer to Rear Bumper Fascia Replacement.
  60. Install the rear wheels. Refer to Tire and Wheel Removal and Installation.
  61. Lower the vehicle.
  62. Install the deck lid release cable. Refer to Rear Compartment Lid Latch Release Cable Replacement.
  63. Install the rear parcel shelf. Refer to Rear Window Shelf Trim Panel Replacement.
  64. Install the rear seats. Refer to Rear Seat Cushion Cover and Pad Replacement.
  65. Install the rear seat back. Refer to Rear Seat Back Replacement.
  66. Install the headliner. Refer to Headlining Trim Panel Replacement.
  67. Install the rear interior trims. Refer to Quarter Upper Trim Panel Replacement.
  68. Install the rear door seals. Refer to Rear Door Opening Weatherstrip Replacement.
  69. Install the liftgate. Refer to Liftgate Replacement.
  70. Install the liftgate weatherstrip. Refer to Liftgate Weatherstrip Replacement.
  71. Install the load floor front panel carpet. Refer to Load Floor Front Panel Carpet Replacement.
  72. Install the load floor stationary panel carpet. Refer to Load Floor Stationary Panel Carpet Replacement.
  73. Install the rear compartment floor panel carpet. Refer to Rear Compartment Floor Panel Carpet Replacement.
  74. Install the quarter inner trim finish panel. Refer to Quarter Inner Trim Finish Panel Replacement.
  75. Install the battery tray. Refer to Battery Tray Replacement.
  76. Install the battery. Refer to Battery Replacement.
  77. Caution: Refer to Battery Disconnect Caution in the Preface section.

  78. Connect the negative battery cable. Refer to Battery Negative Cable Disconnection and Connection.
  79. Enable the SIR system. Refer to SIR Disabling and Enabling.
  80. If re-programming is required. Refer to Control Module References.