GM Service Manual Online
For 1990-2009 cars only

Tools Required

    • J 42096 Valve Guide Reamer
    • EN 46120 Valve Guide Reamer

    Object Number: 1799173  Size: SH
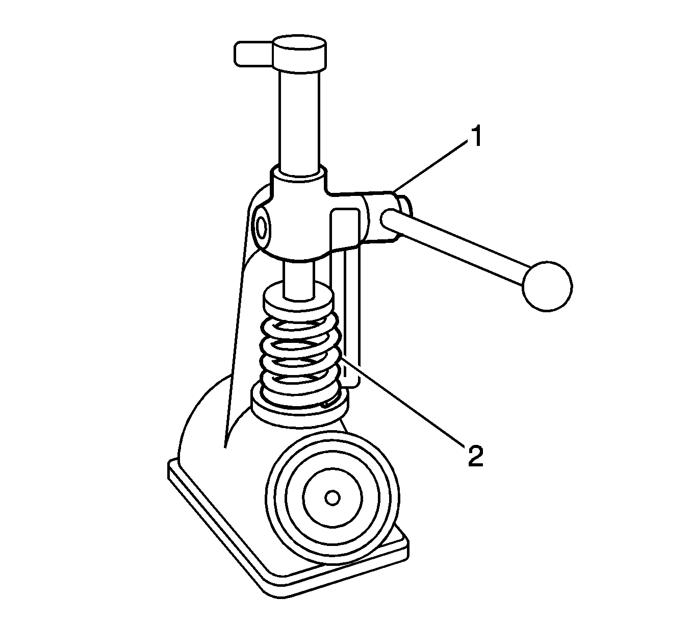
  1. Measure the valve stem (1) to guide (2) clearance. Excessive valve stem-to-guide clearance may cause excessive oil consumption and may also cause a valve to break. Insufficient clearance will result in noisy and sticky functioning of the valve and will disturb the engine assembly smoothness
  2. Clamp a dial indicator to the cylinder head at the camshaft cover rail.
  3. Locate the dial indicator so the movement of the valve stem from side to side, crossways to the cylinder head, will cause a direct movement of the indicator stem. The dial indicator stem must contact the side of the valve stem just above the valve guide.
  4. Drop the valve head about 0.064 mm off the valve seat.
  5. Use light pressure when moving the valve stem from side to side to obtain a clearance reading.
  6. • If the clearance for the valve is greater than specified and a new standard diameter valve stem will not bring the clearance within specifications, the valve guide may be oversized by 0.075 mm using J 42096 or by 0.375 mm using EN 46120 Two sizes of oversized valve stems are available for service.
    • Valve guide wear at the bottom 10 mm of the valve guide is not significant enough to affect normal operation.
    • If over sizing the guide does not bring the clearance within specifications, replace the cylinder head.

Inspection

  1. Clean the valve springs in solvent.
  2. Dry the valve springs with compressed air.
  3. Inspect the valve springs for broken coils or coil ends.

Measurement

  1. Use a commercially available valve spring tester to measure the valve spring tension.
  2. Important: Do not use shims to increase spring load. The use of shims can cause the valve spring to bottom out before the camshaft lobe is at peak lift.

  3. If low valve spring load is found, replace the valve springs.