GM Service Manual Online
For 1990-2009 cars only

    Object Number: 1801230  Size: SH

    Important: Do not use a wire brush on any part of the valve stem. The valve stem is chrome plated to provide enhanced wear characteristics. Wire brushing the stem could remove the chrome plating.

  1. Use soft bristle brush to clean any carbon build-up from the valve head.
  2. Thoroughly clean the valve with solvent and wipe dry.

Valve Visual Inspection

  1. Inspect the valve for damage from the head to tip for the following conditions:
  2. • Pitting in the valve seat area (1)
    • Lack of valve margin (2)
    • Bending in the valve stem (3)
    • Pitting or excessive wear in the stem (4)
    • Worn valve key grooves (5)
    • Worn valve tip (6)
  3. Replace the valve if any of these conditions exist.

Valve Seat Width Measurement


    Object Number: 1801231  Size: SH
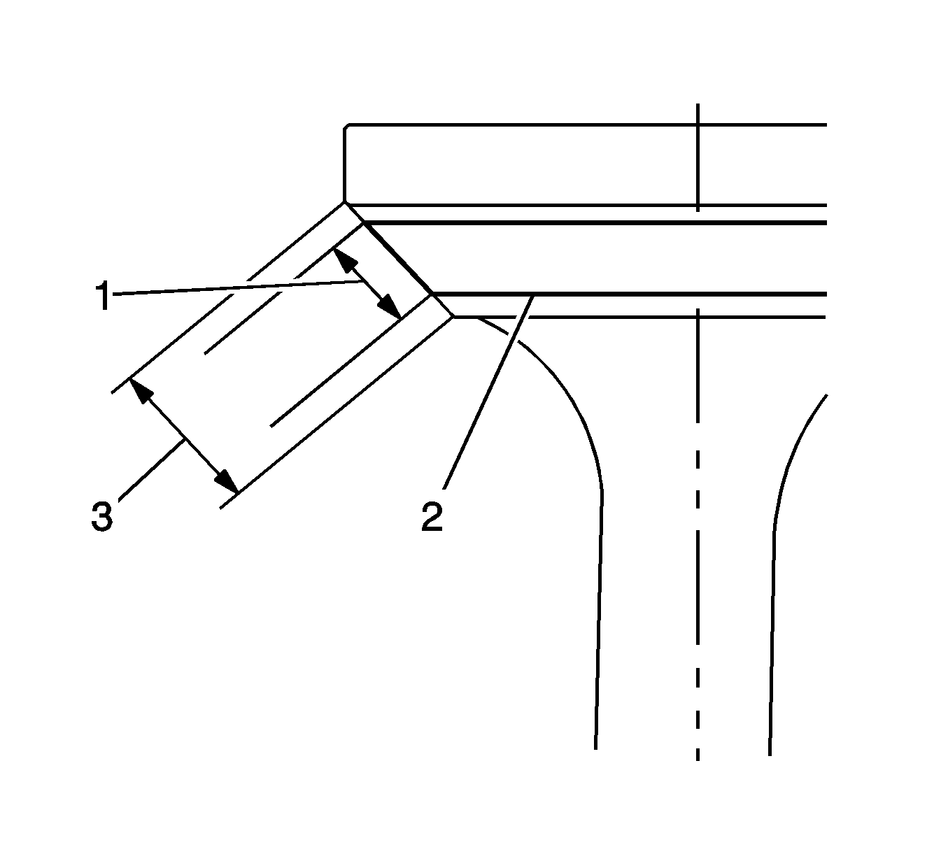
  1. Measure the valve seat (1) width in the cylinder head using a scale (2).

  2. Object Number: 1801603  Size: SH
  3. Measure the seat width on the valve face (1) using a correct scale.
  4. Important: The seat contact area must be at least 0.5 mm from the outer diameter (margin) of the valve. If the contact area is too close to the margins, the seat must be reconditioned to move the contact area away from the margin.

  5. If the seat widths are acceptable, check the valve seat roundness.
  6. If the seat width is not acceptable, grind the valve seat to bring the width back to specification. Correct valve seat width is critical to providing the correct amount of valve heat dissipation.

Valve Seat Roundness Measurement

  1. Measure the valve seat roundness using a dial indicator attached to a tapered pilot installed in the guide. The pilot should have a slight bind when installed in the guide.
  2. Important: The correct size pilot must be used. Do not use adjustable diameter pilots.

  3. If the valve seat exceeds the roundness specification, grind the valve and valve seat.
  4. If new valves are being used, the valve seat roundness must be within 0.05 mm.

Valve Margin Measurement


    Object Number: 1801608  Size: SH
  1. Measure the valve margin using an appropriate scale.
  2. If the valve margins are beyond specification, replace the valves
  3. If the valve margins are within specification and do not require refacing, test the valve for seat concentricity.

Valve-to-Seat Concentricity Measurement


    Object Number: 1801619  Size: SH
  1. Checking the valve-to-seat concentricity determines whether the valve and seat are sealing correctly.
  2. Measure the valve face and the valve seat to ensure correct valve sealing.

    Coat the valve face lightly with blue dye (3).

  3. Install the valve in the cylinder head.
  4. Turn the valve against the seat with enough pressure to wear off the dye.
  5. Remove the valve from the cylinder head.
  6. If the valve face is concentric, providing a correct seal, with the valve stem, a continuous mark (1) will be made around the entire face (2).
  7. Important: The wear mark must be at least 0.5 mm from the margin of the valve. If the wear mark is too close to the margin, the seat must be reconditioned to move the contact area away from the margin.

  8. If the face is not concentric with the stem, the mark will not be continuous around the valve face. The valve should be refaced or replaced and the seat must be reconditioned.

Valve and Seat Reconditioning Procedure


    Object Number: 1801622  Size: SH
  1. If the valve seat width, roundness or concentricity are beyond specifications, grind the seats in order to ensure correct heat dissipation and prevent the build up of carbon on the seats.
  2. If valve seat reconditioning is required, reface the valve face, unless a new valve is used.

    Grind the valve seats (2) to the correct angle specification.

  3. Using the correct angle specification, grind and relieve the valve seats (1) to correctly position the valve seating surface (2) to the valve.
  4. Using the correct angle specification, grind and undercut the valve seats (3) to narrow the valve seat widths to the specifications.
  5. If the original valve is being used, grind the valve to the specifications. Measure the valve margin again after grinding. Replace the valve if the margin is out of specification. New valves do not require grinding.
  6. When grinding the valves and seats, grind off as little material as possible. Cutting valve seat results in lowering the valve spring pressure.
  7. Install the valve in the cylinder head.
  8. Important: If using refaced valves, lap the valves into the seats with a fine grinding compound. The refacing and reseating operations should leave the refinished surfaces smooth and true so that minimal lapping is required. Excessive lapping will groove the valve face and prevent a good seat when hot.

    Important:  Clean any remaining lapping compound from the valve and seat with solvent and compressed air prior to final assembly. If fitting new valves, do not lap the valves under any condition.

    After obtaining the correct valve seat width in the cylinder head, measure the valve stem height

  9. If the valve stem height is acceptable, test the seats for concentricity.

Valve Stem Height Measurement Procedure


    Object Number: 1801627  Size: SH

    Important: To determine the valve stem height measurement, measure from the valve spring seat to the valve spring retainer.

  1. Install the valve into the valve guide.
  2. Ensure the valve is seated to the valve seat.
  3. Install the valve stem oil seal.
  4. Install the valve spring retainer and valve stem keys.
  5. Measure the distance (1) between the cylinder head to the bottom of the valve spring retainer.
  6. If the maximum height specification is exceeded, a new valve should be installed and the valve stem height remeasured.
  7. Important: Do not grind the valve stem tip. The tip of the valve is hardened and grinding the tip will eliminate the hardened surface causing premature. Do not use shims to adjust valve stem height. The use of shims will cause the valve spring to bottom out before the camshaft lobe is at peak lift.

  8. If the valve stem height still exceeds the maximum height specification, the cylinder head must be replaced.