GM Service Manual Online
For 1990-2009 cars only

Removal Procedure


    Object Number: 2000617  Size: SH
  1. Remove the front bucket seat. Refer to Bucket Seat Replacement.
  2. Remove the seat trim panels. Refer to Front Seat Trim Panel Replacement.
  3. Remove the front seat cushion. Refer to Front Seat Cushion Replacement.
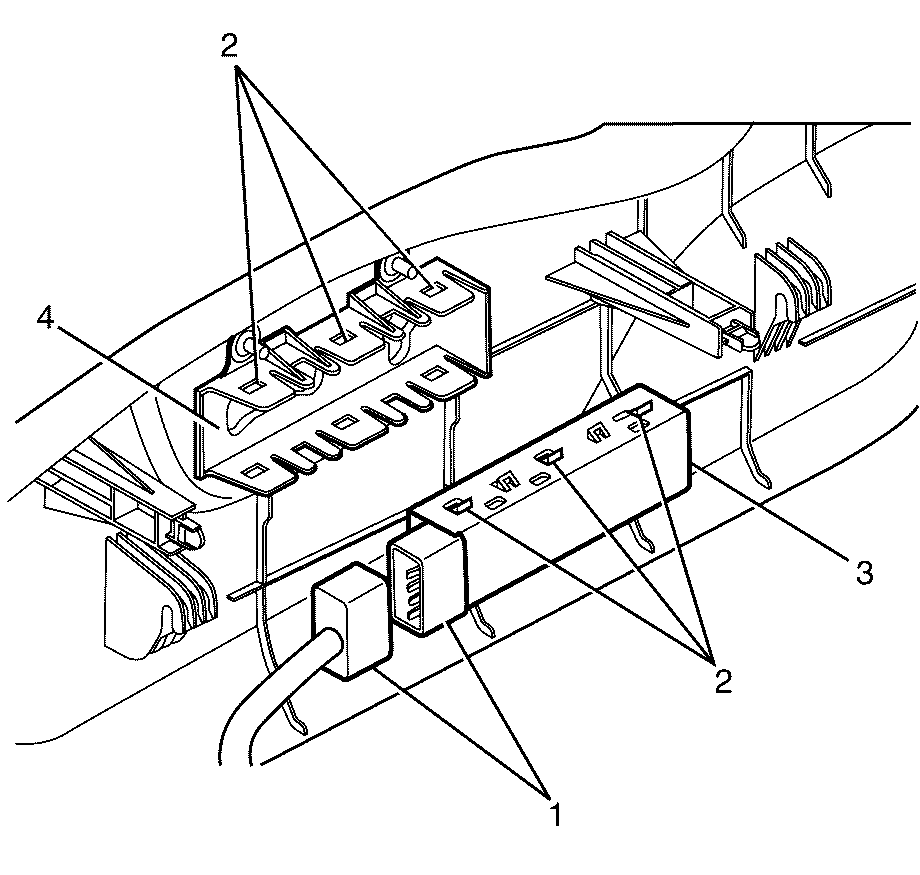
  4. Disconnect the power seat switch module electrical connector (1).
  5. Disengage the clips (2) holding the power seat switch module (3) into the retaining bracket (4).

Installation Procedure


    Object Number: 2000617  Size: SH
  1. Install the power seat switch module (3) into the retaining bracket (4) engaging the clips (2).
  2. Connect the power seat switch module electrical connector (1).
  3. Install the front seat cushion. Refer to Front Seat Cushion Replacement.
  4. Install the seat trim panels. Refer to Front Seat Trim Panel Replacement.
  5. Install the front bucket seat. Refer to Bucket Seat Replacement