GM Service Manual Online
For 1990-2009 cars only

Tools Required

Caution: Do not operate the detector in a combustible atmosphere since its sensor operates at high temperatures or personal injury and/or damage to the equipment may result.

J 39400-A Halogen Leak Detector.

Removal Procedure

    Caution: Refer to Battery Disconnect Caution in the Preface section.


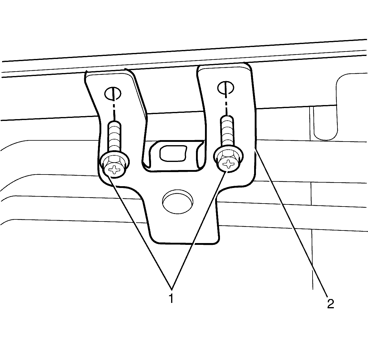
    Object Number: 2000590  Size: SH
  1. Disconnect the negative battery cable. Refer to Battery Negative Cable Disconnection and Connection.
  2. Recover the refrigerant from the system. Refer to Refrigerant Recovery and Recharging.
  3. Remove the auxiliary A/C evaporator and suction tube fastener (1) and disconnect the engine bay HVAC tubing assembly (2).
  4. Remove and discard the "O" Rings.
  5. Raise the vehicle. Refer to Lifting and Jacking the Vehicle.

  6. Object Number: 2000591  Size: SH
  7. Remove the auxiliary HVAC preliminary tubing assembly to bulkhead fastener (1) supporting the auxiliary HVAC preliminary tubing assembly (2).

  8. Object Number: 2000592  Size: SH
  9. Disconnect the auxiliary HVAC preliminary tubing connectors (1), and remove the auxiliary HVAC preliminary tubing assembly (2) from the vehicle.
  10. Remove and discard the "O" Rings.

  11. Object Number: 2000591  Size: SH
  12. Remove the auxiliary HVAC preliminary tubing assembly to floorpan fastener (1) supporting the auxiliary HVAC preliminary tubing assembly (2).

  13. Object Number: 2000593  Size: SH
  14. Remove the auxiliary HVAC secondary tubing assembly support fasteners (1), from the auxiliary HVAC secondary tubing assembly support (2).

  15. Object Number: 2000600  Size: SH
  16. Remove the secondary HVAC tubing support bracket fastener (1), and disengage the bracket locator tang (2) from the vehicle body (3).

  17. Object Number: 2000594  Size: SH
  18. Remove the auxiliary HVAC tubing fastener (2), and remove the auxiliary HVAC secondary tubing assembly (1) from the vehicle.
  19. Remove and discard the "O" Rings.

  20. Object Number: 2000596  Size: SH
  21. Remove the third auxiliary HVAC tubing assembly support fastener (1) from the third auxiliary HVAC tubing assembly support (2).
  22. Remove the rear wheelhouse liner. Refer to Rear Wheelhouse Panel Liner Modification.

  23. Object Number: 2000597  Size: SH
  24. Remove the third auxiliary HVAC tubing assembly to wheelhouse support fastener (1) and remove the third auxiliary HVAC tubing assembly to wheelhouse support (2).
  25. Remove the third auxiliary HVAC tubing assembly to auxiliary HVAC module fastener (3).
  26. Remove the third auxiliary HVAC tubing assembly (5) from the vehicle, disconnecting it from the auxiliary HVAC module connections (4).
  27. Remove and discard the "O" Rings.

Installation Procedure


    Object Number: 2000597  Size: SH

    Important: If replacing the rear wheelhouse liner with a new part, modifications must be made to the liner. Refer to Rear Wheelhouse Panel Liner Modification

    Important: New "O" rings must be used on all HVAC evaporator and suction tubes connections. Ensure all "O" rings are well lubricated with air conditioning oil prior to installation.

  1. Install the third auxiliary HVAC tubing assembly (5) onto the vehicle, engaging the connections with the auxiliary HVAC module (4).
  2. Connect the third auxiliary HVAC tubing assembly (5) to the auxiliary HVAC module connections (4).
  3. Notice: Refer to Fastener Notice in the Preface section.

  4. Install the third auxiliary HVAC tubing assembly to auxiliary HVAC module fastener (3).
  5. Tighten
    Tighten the third auxiliary HVAC tubing assembly to auxiliary HVAC module fastener to 16 N·m (12 lb ft).

  6. Install the third auxiliary HVAC tubing assembly support (2) and the third auxiliary HVAC tubing assembly to wheelhouse support fastener (1).
  7. Tighten
    Tighten the third auxiliary HVAC tubing assembly to wheelhouse support fastener to 10 N·m (89 lb in).


    Object Number: 2000596  Size: SH
  8. Install the third auxiliary HVAC tubing assembly support (2) and the third auxiliary HVAC tubing assembly support fastener (1) into the vehicle.
  9. Tighten
    Tighten the third auxiliary HVAC tubing assembly support fastener to 10 N·m (7.37 lb ft).

    Important: If replacing the rear wheelhouse liner with a new part, modifications must be made to the liner. Refer to Rear Wheelhouse Panel Liner Modification

  10. Install the rear wheelhouse liner. Refer to Rear Wheelhouse Panel Liner Modification.

  11. Object Number: 2000594  Size: SH

    Important: New "O" rings must be used on all HVAC evaporator and suction tubes connections. Ensure all "O" rings are well lubricated with air conditioning oil prior to installation.

  12. Install the auxiliary HVAC secondary tubing assembly (1) onto the vehicle and install the auxiliary HVAC secondary tubing assembly to third auxiliary HVAC tubing assembly fastener (2).
  13. Tighten
    Tighten the auxiliary HVAC secondary tubing assembly to third auxiliary HVAC tubing assembly fastener to 16 N·m (12 lb ft).


    Object Number: 2000600  Size: SH
  14. Engage the bracket locator tang (2) into the vehicle body (3) and install the secondary HVAC tubing support bracket fastener.
  15. Tighten
    Tighten the secondary HVAC tubing support bracket fastener to 16 N·m (12 lb ft).


    Object Number: 2000593  Size: SH
  16. Install the auxiliary HVAC secondary tubing assembly support (2) and auxiliary HVAC secondary tubing assembly support fasteners (1).
  17. Tighten
    Tighten the auxiliary HVAC secondary tubing assembly support fasteners to 10 N·m (89 lb in).


    Object Number: 2000591  Size: SH
  18. Install the auxiliary HVAC preliminary tubing assembly to floorpan fastener (1) supporting the auxiliary HVAC preliminary tubing assembly (2).
  19. Tighten
    Tighten the auxiliary HVAC preliminary tubing assembly to floorpan fastener to 10 N·m (89 lb in).


    Object Number: 2000592  Size: SH

    Important: New "O" rings must be used on all HVAC evaporator and suction tubes connections. Ensure all "O" rings are well lubricated with air conditioning oil prior to installation.

  20. Install the auxiliary HVAC preliminary tubing assembly (2), onto the vehicle, and connect the auxiliary HVAC preliminary tubing connectors (1).
  21. Tighten
    Tighten the auxiliary HVAC preliminary evaporator tubing connectors to 135 N·m (100 lb ft).


    Object Number: 2000591  Size: SH
  22. Install the auxiliary HVAC preliminary tubing assembly to floorpan fastener (1) supporting the auxiliary HVAC preliminary tubing assembly (2).
  23. Tighten
    Tighten the auxiliary HVAC preliminary tubing assembly to floorpan fastener to 10 N·m (89 lb in).


    Object Number: 2000590  Size: SH

    Important: New "O" rings must be used on all HVAC evaporator and suction tubes connections. Ensure all "O" rings are well lubricated with air conditioning oil prior to installation.

  24. Lower the vehicle. Refer to Lifting and Jacking the Vehicle.
  25. Install the auxiliary HVAC preliminary tubing assembly (3) and connect to the engine bay HVAC tubing assembly (2).
  26. Install the auxiliary A/C and suction tube fastener (1).
  27. Tighten
    Tighten the auxiliary A/C and suction tube fastener to 16 N·m (12 lb ft).

  28. Recharge the refrigerant in the HVAC system. Refer to Refrigerant Recovery and Recharging.
  29. Connect the negative battery cable. Refer to Battery Negative Cable Disconnection and Connection.
  30. Check the system operation.