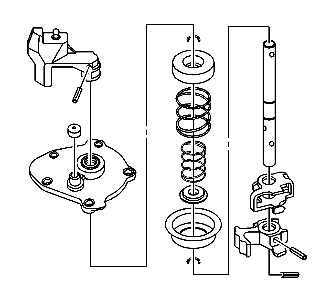
- Remove the transaxle from the vehicle. Refer to
Transmission Replacement.
- Remove the bolts, the washer, and the shift control cable bracket.
- Remove the concentric slave cylinder retaining bolts.
- Disconnect the concentric slave cylinder pipe from the concentric slave cylinder.
Note: When removing the bushing, make sure not to remove it with excessive force.
- Remove the bushing from the concentric slave cylinder pipe.
- Remove the concentric slave cylinder pipe.
- Remove the O-ring and the concentric slave cylinder.
Note: Puncture the seal in the center to prevent damage to the transaxle.
- Knock a hole in the sealing plug of the interm shaft with a suitable tool.
- Remove the interm shaft sealing plug and the oil pipe using a suitable tool. Discard the sealing plug and the oil pipe.
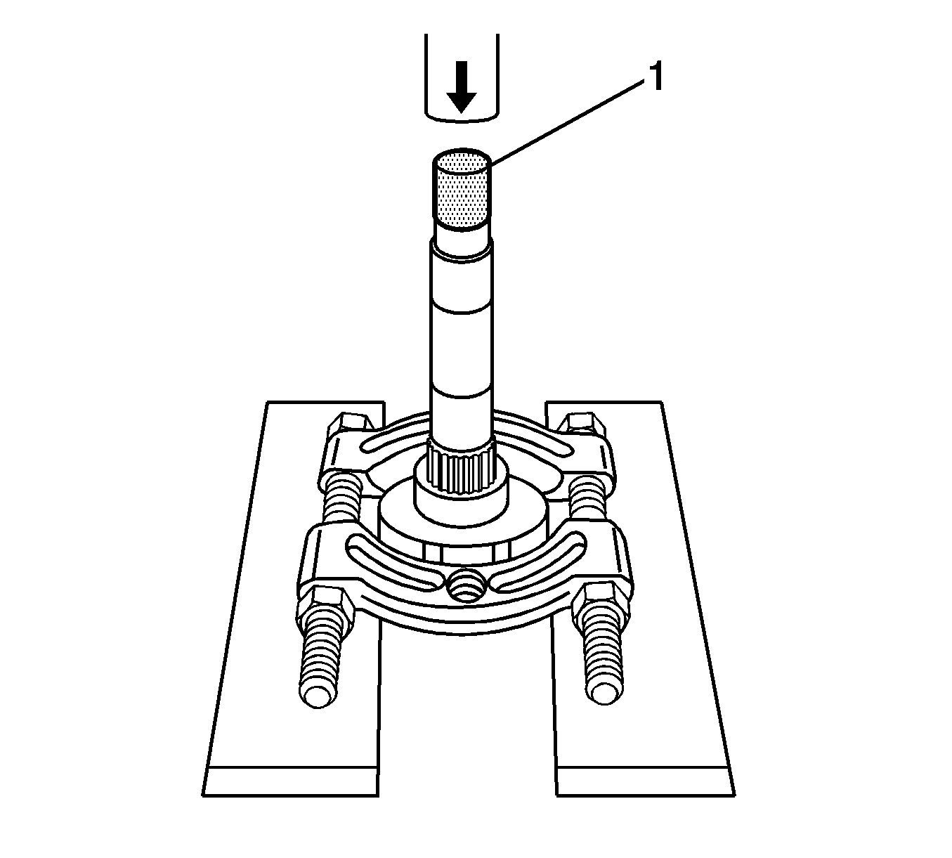
- Hold the input shaft with the
DT-48225
(1).
- Remove the retainer plug from the interm shaft. Discard the retainer plug.
Shift the transaxle into any gear.
- Remove the
DT-48225
.
- Remove the transaxle rear cover bolts.
- Remove the transaxle rear cover and the oil pipe.
- Hold the input shaft with the
DT-48225
(1).
- Remove the input shaft retainer plug and the output shaft retainer plug. Discard the retainer plugs.
Shift the transaxle into any gear.
- Remove the
DT-48225
.
- Remove the shift shaft assembly.
| • | Position the transaxle into neutral. |
| • | Remove the shift guide bolt (1). |
| • | Remove the shift retaining bolts. |
| • | Remove the select control lever (2). |
| • | Remove the shift shaft assembly (3). |
- Remove the backup lamp switch and the washer from the transaxle housing.
- Remove the eight bolts from the clutch housing side.
- Remove the 12 bolts from the transaxle housing side.
- Remove the transaxle housing from the clutch housing.
| 22.1. | Install the
DT-48231
onto the transaxle housing. |
| • | Tighten the four bolts. |
| • | Screw the spindles into the input and output shaft. |
| 22.2. | Separate the transaxle housing from the clutch housing. |
| • | Hold the spindles (1) using a suitable tool. |
| • | Turn via nuts (2) in direction of arrow. |
| 22.3. | Remove the
DT-48231
from the transaxle housing. |
| • | Unscrew the spindles into the input and output shaft. |
Note: This prevents the 3rd/4th synchro body assembly falling apart.
- Install the
DT-48232
(1) and the retainer plug to the input shaft.
- Remove the input and output shaft assembly with the respective shift forks out of the clutch housing.
Knock interm shaft out of interm shaft groove ball bearing using
the
DT-48186
(1).
Note: Hold the input and output shaft assembly firmly.
- Remove the
DT-48232
and the retainer plug from the input shaft.
- Remove the differential (1) and the output shaft roller bearing (2) from the clutch housing.
- Remove the magnet from the transaxle housing.
- Remove the drain channel from the transaxle housing.
- Remove the idle shift rail bushing from the transaxle housing.
- Remove the idle shift rail from the transaxle housing.
- Remove the thread pin (3), the torsion spring (2), and the reverse shifting blocker (1) from the trans-axle housing. Discard the thread pin.
- Remove the needle sleeve from the transaxle housing using the
DT-48179
(1) and the
DT-48182
(2).
- Remove the input shaft and output shaft groove ball bearings from the transaxle housing using the
DT-48179
(1) and
the
DT-48226
(2).
- Remove the differential bearing race from the transaxle housing.
| 34.2. | Turn the nut (1) in direction of arrow. |
| 34.4. | Hold the spindle using a suitable tool. |
| 34.5. | Turn the nut (2) in direction of arrow. |
- Remove the shim from the transaxle housing.
- Remove the shaft seal ring from the transaxle housing. Discard the shaft seal ring.
- Remove the input shaft roller bearing from the clutch housing using the
DT-48179
(1) and the
DT-48227
(2).
- Remove the snap ring from the Interm shaft groove ball bearing.
- Remove the Interm shaft groove ball bearing from the clutch housing using the
DT-48179
(1) and the
DT-48228
(2).
- Remove the differential bearing race from the clutch housing.
| 40.2. | Turn the nut (1) in direction of arrow. |
| 40.4. | Hold the spindle using a suitable tool. |
| 40.5. | Turn the nut (2) in direction of arrow. |
- Remove the shim from the clutch housing.
- Remove the shaft seal ring (1) from the clutch housing. Discard the shaft seal ring.
Note: Observe the orientation of the coiled pin before removal
- Remove the coiled pin (6). Discard the coiled pin.
- Remove the coiled pin (5). Discard the coiled pin.
- Remove the shift interlock (3).
- Remove the shift finger (4).
- Remove the outer spring seat (2).
- Remove the 5th/Reverse pressure spring (1).
- Remove the coiled pin (2). Discard the coiled pin.
- Remove the shift lever (1).
- Remove the vent cap (3).
- Remove the shift cover (4).
- Remove the snap rings (1). Discard the snap rings.
- Remove the inner spring seat (2).
- Remove the 1st/2nd pressure spring (3).
- Remove the angle disc (4) from the shift rod (5).
- Clean all components in a suitable solution.
- Inspect all components for wear or damage.
- Press off the 1st gear assembly and the 2nd gear assembly as a unit, from the interm shaft using the
DT-48233
(1),
and a hydraulic press.
- Put the 1st gear assembly and the 2nd gear assembly, as a unit, on the bench.
- Remove the thrust washer (1).
- Remove the roller bearing (2).
- Remove the 1st gear (3).
- Remove the roller bearing (4).
- Remove the bearing collar (5).
- Remove the thrust washer (6).
- Remove the 1st gear inner cone (1).
- Remove the 1st gear blocking ring (2).
- Remove the 1st gear outer cone (3).
- Remove the 1st/2nd synchronizer assembly (4).
- Remove the 2nd gear outer cone (1).
- Remove the 2nd gear blocking ring (2).
- Remove the 2nd gear inner cone (3).
- Remove the 2nd gear.
- Remove the needle bearings from the interm shaft.
- Remove the sleeve bearing using the
DT-48233
and hydraulic press.
- Remove the thrust washer (1).
- Remove the 4th gear (2).
- Remove the needle bearing (3).
- Remove the 4th gear blocking ring (4).
- Remove the bearing collar and the 3rd/4th synchronizer from the input shaft using the gear and bearing separator plate under the 3rd speed gear, the
DT-48234
(1), and a hydraulic press.
- Remove the following components as an assembly:
| • | The 3rd/4th synchronizer assembly (2) |
| • | The 3rd gear blocking ring (5) |
- Remove the needle bearing (1).
- Remove the thrust bearing (2).
- Press off 5th gear using the gear and bearing separator plate, the
DT-48234
(1) and a hydraulic press.
Note: The 4th driven gear is a very tight press.
- Press off the 4th driven gear using the gear and bearing separator plate, the
DT-48234
(1) and a hydraulic press.
Note: The 3rd driven gear is a very tight press.
- Remove the 3rd driven gear using the gear and bearing separator plate, the
DT-48234
(1) and a hydraulic press.
- Remove the 5th gear (1) and the two needle bearings (2).
Note: Do not contact the thrust washer under the reverse gear.
- Remove the bearing collar using the gear and bearing separator plate, the
DT-48234
(1), and a hydraulic press.
- Remove the following components as an assembly:
| • | The 5th gear blocking ring (2) |
| • | The 5th/Reverse synchronizer assembly (3) |
| • | The reverse blocking ring (4) |
| | Note: Ensure that the gear and bearing separator plate is not making contact with the pinion gear before pressing off the collar and thrust washer.
|
| • | Remove the collar and the thrust washer using the gear and bearing separator plate, the
DT-48234
(1), and a hydraulic press. |
- Inspect the clutch housing and the differential housing for the following:
| • | Replace any part that exhibits any of these conditions. |
- Inspect the gear teeth and the gear splines for excessive wear or damage.
- Remove minor nicks or scratches with an oil stone. Replace worn or damaged gears.
- Inspect the thrust washer for wear or damage. Replace worn or damaged thrust washers.
Note: Do not allow the bearings to spin. Turn the bearings slowly by hand. Spinning bearings may cause damage to the rollers.
- Inspect the condition of all thrust bearings, input shaft bearings and output shaft bearings.
| • | Wash the bearings thoroughly in a cleaning solvent. |
| • | Apply compressed air to the bearings. |
| • | Lubricate the bearings with light oil. |
| • | Check the bearing for roughness by slowly turning the race by hand. |
- Clean the synchronizer with clean solvent.
- Air dry the components.
- Inspect the synchronizer teeth for the following conditions:
- Inspect the keys or the springs for the following:
| • | Inspect the shift forks, shafts and the rubber end for wear or damage. |
| | Replace any part that is worn or damaged. |
| • | If any of the following conditions exist, replace synchronizer. |