LOSS OF POWER ON 1988 CAVALIERS (EXCEPT Z-24) EQUIPPED WITH LL8 OR LB6 ENGINES
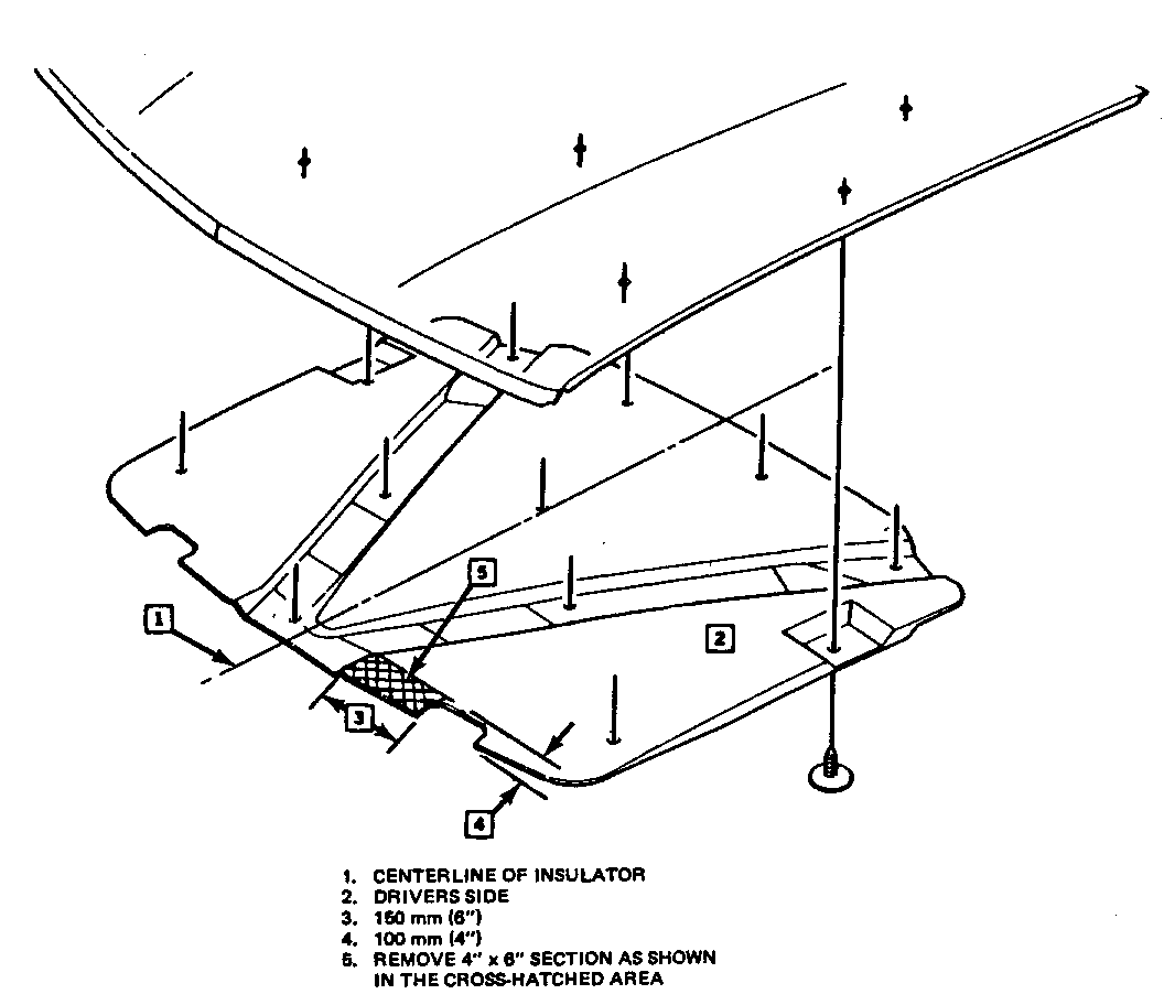
The hood insulator has been changed in production by increasing the size of the clearance cutout at the air intake.
General Motors bulletins are intended for use by professional technicians, not a "do-it-yourselfer". They are written to inform those technicians of conditions that may occur on some vehicles, or to provide information that could assist in the proper service of a vehicle. Properly trained technicians have the equipment, tools, safety instructions and know-how to do a job properly and safely. If a condition is described, do not assume that the bulletin applies to your vehicle, or that your vehicle will have that condition. See a General Motors dealer servicing your brand of General Motors vehicle for information on whether your vehicle may benefit from the information.