GM Service Manual Online
For 1990-2009 cars only

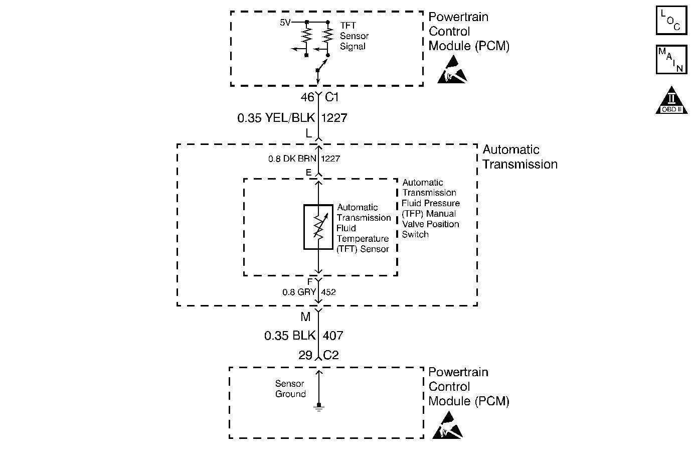
Object Number: 62394  Size: MF
Automatic Transmission Components
Automatic Transmission Controls Schematics
OBD II Symbol Description Notice
Handling ESD Sensitive Parts Notice
Handling ESD Sensitive Parts Notice

Circuit Description

The Automatic Transmission Fluid Temperature (TFT) sensor is a thermistor. The TFT sensor is part of the Automatic Transmission Fluid Pressure Manual Valve Position Switch (TFP Val. Position Sw.). The Powertrain Control Module (PCM) supplies a 5-volt reference signal to the sensor on circuit 1227. When the transmission fluid is cold, the sensor resistance is high and the PCM senses a high signal voltage. As the transmission fluid warms, the sensor resistance lowers and the PCM senses lower voltage. The PCM uses the TFT reading in order to control the Torque Converter Clutch (TCC), line pressure adjustments, and temperature compensated shifts.

When the PCM detects a continuous open or short to power in the TFT circuit or the TFT sensor, then DTC P0713 sets. DTC P0713 is a type D DTC.

Conditions for Setting the DTC

    • The ignition switch is in the RUN position.
    • The TFT voltage is greater than 4.92 volts for 6 minutes and 40 seconds.

Action Taken When the DTC Sets

    • The PCM does not illuminate the Malfunction Indicator Lamp (MIL).
    • The PCM freezes shift adapts from being updated.
    • The PCM calculates transmission temperature based on engine coolant temperature, intake manifold air temperature, and engine run time.
    • DTC P0713 is stored in the PCM history.

Conditions for Clearing the DTC

    • A scan tool can clear the DTC from the PCM history. The PCM clears the DTC from the PCM history if the vehicle completes 40 warm-up cycles without a failure reported.
    • The PCM cancels the DTC default actions when the fault no longer exists and the ignition is OFF long enough in order to power down the PCM.

Diagnostic Aids

    • Inspect the wiring for poor electrical connections at the PCM, the transmission 20-way connector and the TFP Val. Position Sw. 6-way connector for the following conditions:
       - A bent terminal
       - A backed out terminal
       - A damaged terminal
       - Poor terminal tension
       - A chafed wire
       - A broken wire inside the insulation
       - Moisture intrusion
       - Corrosion
    • When diagnosing for an intermittent short or open condition, massage the wiring harness while watching the test equipment for a change.
    • DTC P0713 could set if the vehicle, or transmission, is exposed to temperatures below -38°C (-38°F).

Test Description

The numbers below refer to the step numbers on the diagnostic table.

  1. This step tests the wiring from the transmission 20-way connector to the PCM for an open or short.

  2. This step verifies circuit 1227 from the PCM to the transmission connector.

DTC P0713 Transmission Fluid Temperature Sensor Circuit -- High Input

Step

Action

Value(s)

Yes

No

1

Was the Powertrain On-Board Diagnostic (OBD) System Check performed?

--

Go to Step 2

Go to Powertrain On Board Diagnostic (OBD) System Check

2

  1. Install the Scan Tool .
  2. With the engine OFF, turn the ignition switch to the RUN position.
  3. Important: Before clearing the DTCs, use the scan tool in order to record the Failure Records for reference. Using the Clear Info function will erase the stored Failure Records from the PCM.

  4. Record the DTC Failure Records, then clear the DTCs.
  5. Select scan tool TFT sensor.

Does the scan tool display a TFT sensor voltage greater than specified?

4.92 V

Go to Step 3

Go to Diagnostic Aids

3

  1. Turn the ignition OFF.
  2. Disconnect the transmission 20-way connector (additional DTCs will set).
  3. Install the J 39775 Jumper Harness to the engine side of the 20-way connector.
  4. Using the J 35616-A Connector Test Adapter Kit, connect a fused jumper wire from terminal L to terminal M.
  5. With the engine OFF, turn the ignition switch to the RUN position.

Does the scan tool display a TFT sensor voltage less than specified?

0.33 V

Go to Step 8

Go to Step 4

4

Using the J 35616-A Connector Test Adapter Kit, connect a fused jumper wire from terminal L to a good ground.

Does the scan tool display a TFT sensor voltage less than specified?

0.33 V

Go to Step 7

Go to Step 5

5

Inspect circuit 1227 from the engine 20-way connector to the PCM connector for an open.

Refer to General Electrical Diagnosis .

Did you find and correct the condition?

--

Go to Step 11

Go to Step 6

6

Replace the PCM.

Refer to PCM Replacement/Programming .

Is the replacement complete?

--

Go to Step 11

--

7

Inspect circuit 407 from the engine 20-way connector to the PCM for an open.

Refer to General Electrical Diagnosis .

Did you find and correct the condition?

--

Go to Step 11

--

8

  1. Inspect circuit 1227 from the transmission 20-way connector to the TFT sensor for an open.
  2. Inspect circuit 452 from the transmission 20-way connector to the TFT sensor for an open.

Refer to General Electrical Diagnosis .

Did you find the condition?

--

Go to Step 9

Go to Step 10

9

Replace the automatic transmission wiring harness.

Refer to the Transmission Unit Repair Manual, 4T40-E Section.

Is the replacement complete?

--

Go to Step 11

--

10

Replace the TFP Val. Position Sw.

Refer to the Transmission Unit Repair Manual, 4T40-E Section.

Is the replacement complete?

--

Go to Step 11

--

11

In order to verify your repair, perform the following procedure:

  1. Select DTC.
  2. Select Clear Info.
  3. Operate the vehicle under the following conditions:
  4. • Turn the ignition switch to the RUN position.
    • The TFT signal voltage must be less than 4.92 volts for 60 seconds.
  5. Select Specific DTC. Enter DTC P0713.

Has the test run and passed?

--

System OK

Begin the diagnosis again. Go to Step 1