GM Service Manual Online
For 1990-2009 cars only

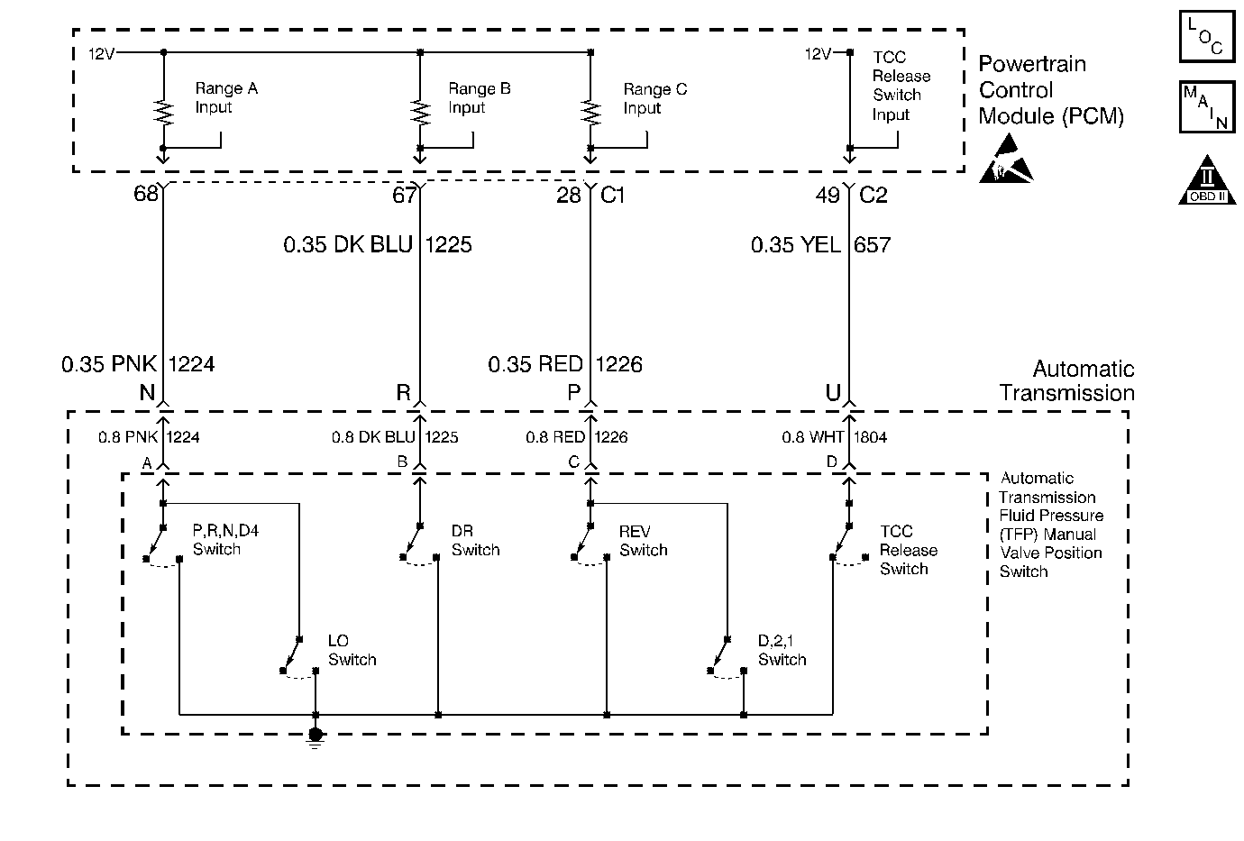
Object Number: 62411  Size: MF
Automatic Transmission Components
Automatic Transmission Controls Schematics
OBD II Symbol Description Notice
Handling ESD Sensitive Parts Notice

Circuit Description

The Torque Converter Clutch (TCC) release switch is part of the Automatic Transmission Fluid Pressure Manual Valve Position Switch (TFP Val. Position Sw.). The TFP Val. Position Sw. is mounted to the transmission valve body. The switch is normally-closed.

The switch signals the Powertrain Control Module (PCM) that the TCC is released. This is accomplished by Torque Converter release fluid pressure acting on the switch contact, thus opening the switch. When the voltage is high on the circuit, the Powertrain Control Module recognizes that the TCC is no longer engaged.

When the PCM determines that the TCC release switch is open (indicating that the TCC is not applied) and the TCC slip speed indicates that the TCC is applied, then DTC P1887 sets. DTC P1887 is a type B DTC.

Conditions for Setting the DTC

    • No A/T ISS DTCs P0716 or P0717
    • No TCC DTCs P0741 or P0742
    • The engine is running.
    • The TFP Val. Position Sw. indicates D4 range.
    • The TCC is commanded ON.
    • The TCC slip speed is -20 to +40 RPM.
    • Engine torque is greater than 41 N·m (30 lb ft).
    • TCC release pressure is present.
    • All of the above conditions are met for 6 seconds, two consecutive times.

Action Taken When the DTC Sets

    • The PCM illuminates the Malfunction Indicator Lamp (MIL).
    • The PCM inhibits TCC engagement.
    • The PCM freezes shift adapts from being updated.
    • DTC P1887 is stored in the PCM history.

Conditions for Clearing the MIL/DTC

    • The PCM turns OFF the MIL after three consecutive trips without a failure reported.
    • A scan tool can clear the DTC from the PCM history. The PCM clears the DTC from the PCM history if the vehicle completes 40 warm-up cycles without a failure reported.
    • The PCM cancels the DTC default actions when the fault no longer exists and the ignition is OFF long enough in order to power down the PCM.

Diagnostic Aids

    • Inspect the wiring for poor electrical connections at the PCM, the transmission 20-way connector and the TFP Val. Position Sw. 6-way connector for the following conditions:
       - A bent terminal
       - A backed out terminal
       - A damaged terminal
       - Poor terminal tension
       - A chafed wire
       - A broken wire inside the insulation
       - Moisture intrusion
       - Corrosion
    • When diagnosing for an intermittent short or open condition, massage the wiring harness while watching the test equipment for a change.

Test Description

The numbers below refer to the step numbers on the diagnostic table.

  1. This step tests the PCMs ability to recognize an open circuit.

  2. This step tests the PCMs ability to recognize a grounded circuit.

DTC P1887 TCC Release Switch Circuit Malfunction

Step

Action

Value(s)

Yes

No

1

Was the Powertrain On-Board Diagnostic (OBD) System Check performed?

--

Go to Step 2

Go to Powertrain On Board Diagnostic (OBD) System Check

2

  1. Install the Scan Tool .
  2. With the engine OFF, turn the ignition switch to the RUN position.
  3. Important: Before clearing the DTCs, use the scan tool in order to record the Freeze Frame and Failure Records for reference. Using the Clear Info function will erase the stored Freeze Frame and Failure Records from the PCM.

  4. Record the DTC Freeze Frame and Failure Records, then clear the DTCs.
  5. Select scan tool TCC Release Pressure.

Does the scan tool indicate TCC Release Pressure is present?

--

Go to Step 5

Go to Step 3

3

Start the engine.

Does the scan tool indicate TCC Release Pressure is present?

--

Go to Step 15

Go to Step 4

4

  1. Turn the ignition OFF.
  2. Disconnect the transmission 20-way connector (additional DTCs will set).
  3. With the engine OFF, turn the ignition switch to the RUN position.

Does the scan tool indicate TCC Release Pressure is present?

--

Go to Step 8

Go to Step 7

5

  1. Install the J 39775 Jumper Harness to the engine side of the 20-way connector.
  2. Using the J 35616-A Connector Test Adapter Kit, connect a fused jumper from terminal U to a good ground.

Does the scan tool indicate TCC Release Pressure is present?

--

Go to Step 6

Go to Step 8

6

Inspect circuit 657 for an open.

Refer to General Electrical Diagnosis .

Did you find and correct the condition?

--

Go to Step 16

Go to Step 14

7

Inspect circuit 657 for a short to ground.

Refer to General Electrical Diagnosis .

Did you find and correct the condition?

--

Go to Step 16

Go to Step 14

8

  1. Disconnect the J 39775 Jumper Harness from the engine side of the 20-way connector.
  2. Install the J 39775 Jumper Harness to the transmission side of the 20-way connector.
  3. Using the J 35616-A Connector Test Adapter Kit, connect the J 39200 Digital Multimeter (DMM) from terminal U to a good ground and measure the resistance.

Is the resistance less than the specified value?

50 ohms

Go to Step 9

Go to Step 10

9

Start the engine.

Is the resistance greater than the specified value?

50 ohms

Go to Step 10

Go to Step 11

10

Inspect circuit 1804 for an open.

Refer to General Electrical Diagnosis .

Did you find the condition?

--

Go to Step 12

Go to Step 13

11

Inspect circuit 1804 for a short to ground.

Refer to General Electrical Diagnosis .

Did you find the condition?

--

Go to Step 12

Go to Step 13

12

Replace the automatic transmission wiring harness.

Refer to the Transmission Unit Repair Manual, 4T40-E Section.

Is replacement complete?

--

Go to Step 16

--

13

Replace the TFP Val. Position Sw.

Refer to the Transmission Unit Repair Manual, 4T40-E Section.

Is the replacement complete?

--

Go to Step 16

--

14

Replace the PCM.

Refer to PCM Replacement/Programming .

Is the replacement complete?

--

Go to Step 16

--

15

Inspect for the following conditions:

    • Leaking torque converter O-ring seal (41) -- Refer to Case and Associated Parts, in Transmission Component Location .
    • Cut torque converter O-ring seal (41).
    • Debris or flash blocking the channel plate (27) (Refer to Case and Associated Parts, in Transmission Component Location ) at the TCC release exhaust passage (48) -- Refer to Channel Plate Passages, in Transmission Component Location .
    • Leaking oil pump bearing and seal assembly (200) seal -- Refer to Oil Pump Assembly, in Transmission Component Location .
    • Cut oil pump bearing and seal assembly (200) seal.
    • Oil pump bearing and seal assembly (200) installed backwards.
    • Misaligned valve body to spacer plate gasket (22) -- Refer to Case and Associated Parts, in Transmission Component Location .
    • Misaligned spacer plate to channel plate gasket (24).
    • Channel plate (27) turbine shaft sleeve installed backwards, or with no press fit.
    • Valve body spacer plate (23) (Refer to Case and Associated Parts, in Transmission Component Location ) release exhaust orifice (46) (Refer to Channel Plate Passages, in Transmission Component Location ) blocked by debris, valve body to spacer plate gasket (22), or spacer plate to channel plate gasket (24).
    • Cut turbine shaft to sprocket seal (33) -- Refer to Case and Associated Parts, in Transmission Component Location .
    • Missing turbine shaft to sprocket seal (33).

Refer to Unit Repair

Did you find and correct the condition?

--

Go to Step 16

--

16

In order to verify your repair, perform the following procedure:

  1. Select DTC.
  2. Select Clear Info.
  3. Operate the vehicle under the following conditions:
  4. • Drive the vehicle in D4 in order to obtain 74 km/h (45 mph).
    • With the TCC commanded ON and engaged, the TCC release switch status must be Closed (no release fluid present at the switch) for 3 seconds.
  5. Select Specific DTC. Enter DTC P1887.

Has the test run and passed?

--

System OK

Begin the diagnosis again. Go to Step 1