GM Service Manual Online
For 1990-2009 cars only

Object Number: 445403  Size: MF
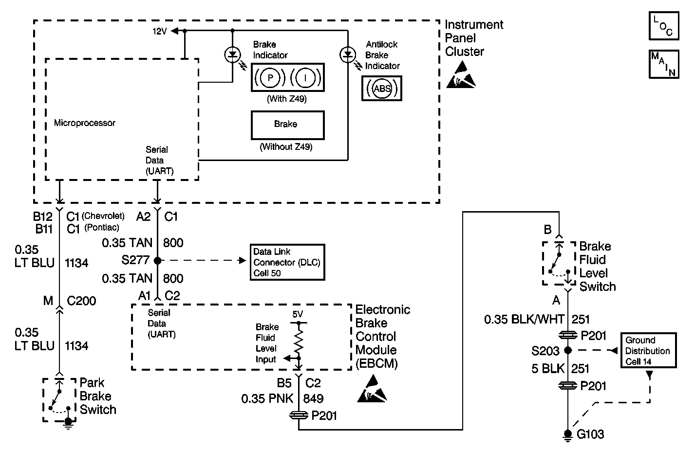
Hydraulic Brakes Components
Brake Warning System Schematics

Circuit Description

The BRAKE warning indicator lamp has two functions. First, it will light whenever the park brake is set. Second, a switch built into the brake master cylinder reservoir will signal the Electronic Brake Control Module (EBCM) if the brake fluid level drops below a safe level. The EBCM will command the indicator on via serial data with the instrument cluster. In addition, the indicator is commanded on when the EBCM is initially powered up (the ignition switch is turned to the RUN position). With the ignition switch in the OFF/UNLOCK or CRANK positions (loss of EBCM serial data), the indicator will also be illuminated.

Diagnostic Aids

The following conditions will activate the brake warning indicator:

    • An applied parking brake while the ignition switch is in the RUN position
    • A low fluid level in the master cylinder

Thoroughly inspect any circuitry that may cause an intermittent complaint for the following conditions:

    • Backed out terminals
    • Improper mating
    • Broken locks
    • Improperly formed or damaged terminals
    • Poor terminal-to-wiring connections
    • Physical damage to the wiring harness

Test Description

  1. This test determines if the malfunction is caused by the IPC.

  2. Ensure that the customer has not added brake fluid.

Step

Action

Value(s)

Yes

No

SCHEMATIC REFERENCE: Brake Warning System Schematics

1

Did you perform the Diagnostic System Check - Hydraulic Brakes?

--

Go to Step 2

Go to A Diagnostic System Check

2

  1. Turn OFF the ignition.
  2. Connect a Scan Tool .
  3. Turn ON the ignition, with the engine OFF.
  4. Select the Body menu then IPC on the Scan Tool .
  5. Select Special Functions then Lamp Test on the Scan Tool .
  6. Use the Scan Tool in order to turn the warning indicators ON.

Did the BRAKE warning indicator turn ON?

--

Go to Step 3

Go to Instrument Cluster Replacement

3

  1. Apply the parking brake.
  2. Turn ON the ignition, with the engine OFF.
  3. With a scan tool, observe the Park Brake Switch parameter in the BCM Data list.

Does the scan tool display Applied?

--

Go to Step 5

Go to Step 4

4

  1. Disconnect the park brake switch connector
  2. Connect a jumper wire between the park brake switch harness connector and ground.

Does the scan tool display Applied?

--

Go to Step 10

Go to Step 8

5

Is the brake fluid level in the master cylinder low?

--

Go to Brake Fluid Leak

Go to Step 6

6

  1. Disconnect the brake fluid level sensor connector.
  2. Connect a fused jumper wire between the brake fluid level sensor connector terminals A and B.
  3. With a scan tool, observe the Brake Fluid Level parameter in the ABS Data list.

Does the scan tool display Low?

--

Go to Testing for Intermittent and Poor Connections in Wiring Systems

Go to Step 7

7

Test the brake fluid level sensor ground circuit for an open/high resistance.

Did you find and correct the condition?

0-2 ohms

Go to Step 14

Go to Step 9

8

Test the park brake switch signal circuit for an open.

Did find and correct the condition?

Go to Step 14

Go to Step 13

9

Test the brake fluid level sensor signal circuit for an open.

Did you find and correct the condition?

--

Go to Step 14

Go to Step 12

10

Replace the park brake switch.

Is the repair complete?

--

Go to Step 14

--

11

Replace the brake fluid level sensor. Refer to Brake Fluid Level Indicator Switch Replacement .

Is the repair complete?

--

Go to Step 14

--

12

Replace the EBCM. Refer to Electronic Brake Control Module Replacement in Antilock Brakes.

Is the repair complete?

--

Go to Step 14

--

13

Replace the BCM. Refer to Body Control Module Replacement in Body Control Systems.

Is the repair complete?

Go to Step 14

--

14

Operate the system in order to verify the repair.

Did you correct the condition?

--

System OK

Go to Step 2