GM Service Manual Online
For 1990-2009 cars only
Makes
🢒
Chevrolet
🢒
1999
🢒
Cavalier
🢒
Body and Accessories
🢒
Instrument Panel, Gauges, and Console
🢒 Audible Warnings Schematics
Figure
1:
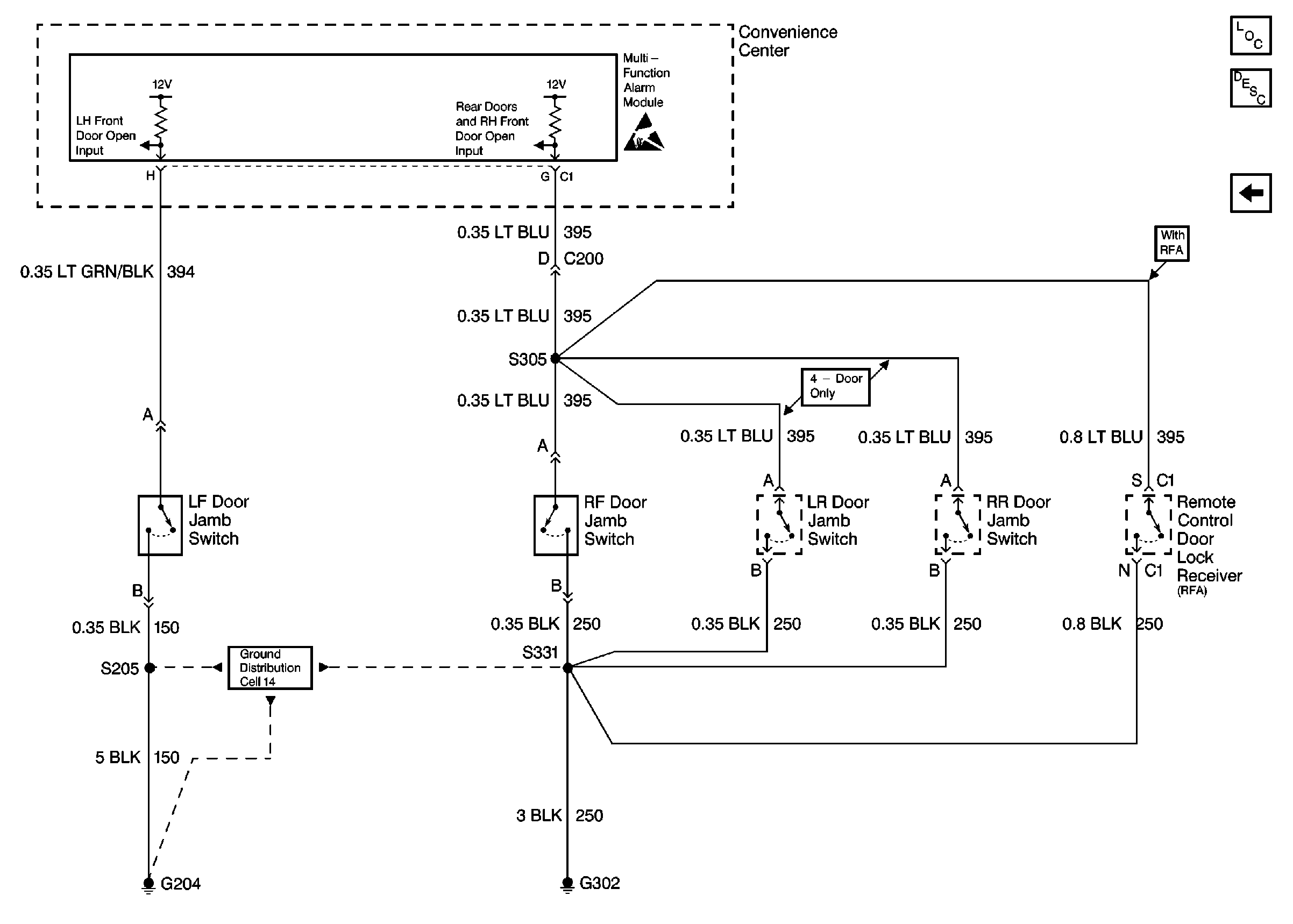
Cell 76: Convenience Center and Seatbelt Switch
Audible Warnings Components
Audible Warnings Circuit Description
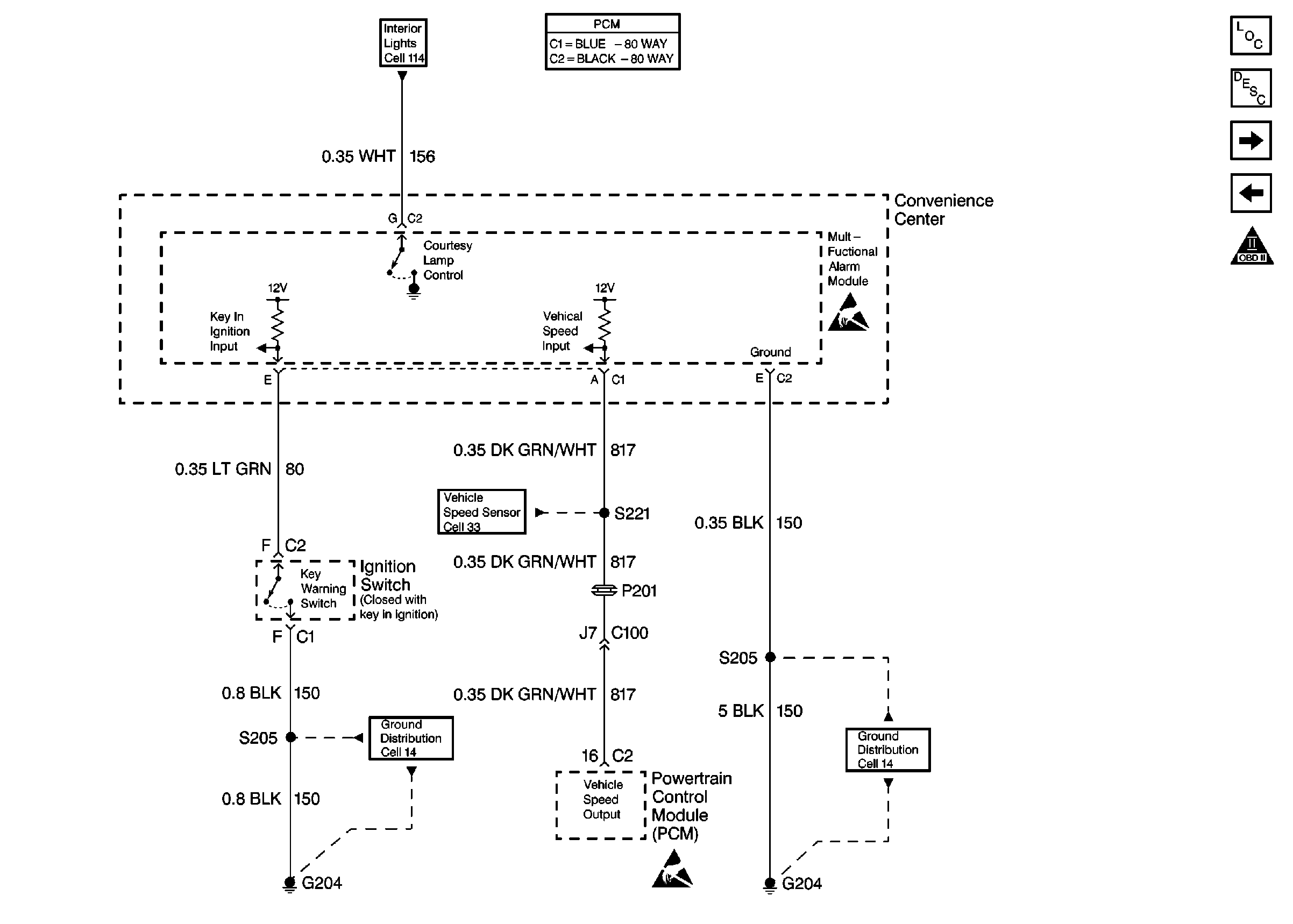
Cell 76: Convenience Center and Ignition Switch
Handling ESD Sensitive Parts Notice
Handling ESD Sensitive Parts Notice
Handling ESD Sensitive Parts Notice
Handling ESD Sensitive Parts Notice
Ground Distribution Schematics
Ground Distribution Schematics
Ground Distribution Schematics
Interior Lights Schematics
Figure
2:
Cell 76: Convenience Center and Ignition Switch
Audible Warnings Components
Audible Warnings Circuit Description
Cell 76: Convenience Center and Door Switches
Cell 76: Convenience Center and Seatbelt Switch
Handling ESD Sensitive Parts Notice
Handling ESD Sensitive Parts Notice
Interior Lights Schematics
Ground Distribution Schematics
Ground Distribution Schematics
Figure
3:
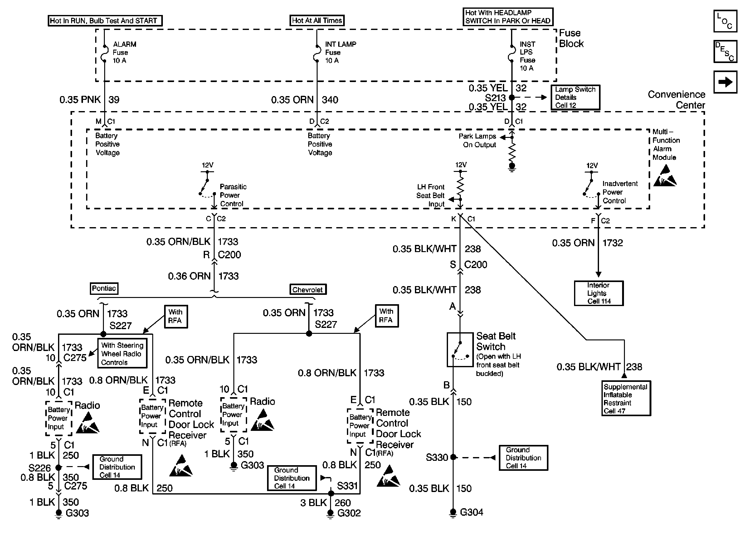
Cell 76: Convenience Center and Door Switches
Audible Warnings Components
Audible Warnings Circuit Description
Cell 76: Convenience Center and Ignition Switch
Handling ESD Sensitive Parts Notice
Ground Distribution Schematics