GM Service Manual Online
For 1990-2009 cars only
Makes
🢒
Chevrolet
🢒
1999
🢒
Cavalier
🢒
Body and Accessories
🢒
Instrument Panel, Gauges, and Console
🢒 Instrument Cluster: Digital Schematics
Figure
1:
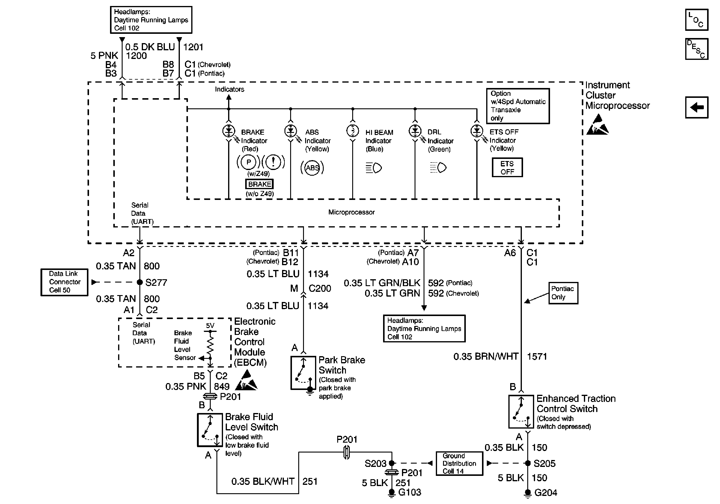
Cell 81: Instrument Cluster Turn Signal Indicators and Warning Indicators
Figure
2:
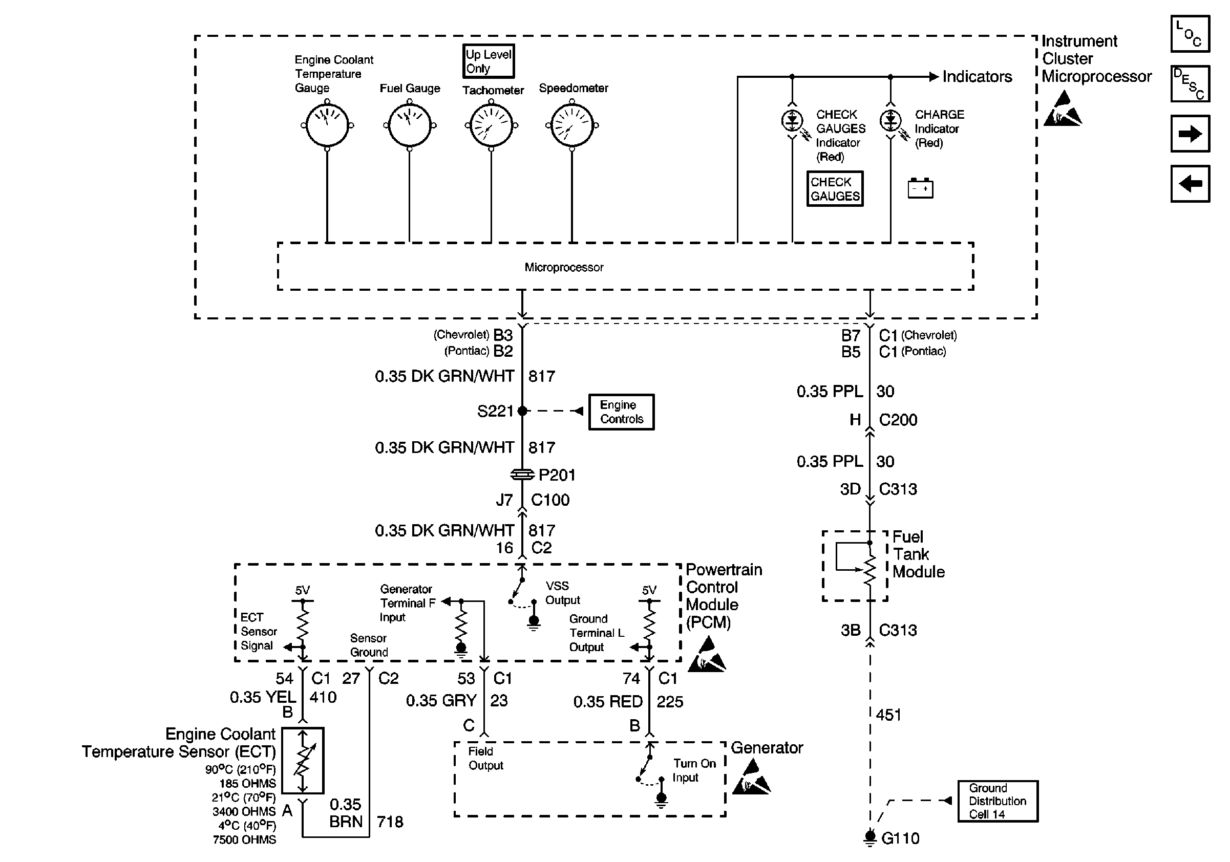
Cell 81: Instrument Cluster Indicators
Instrument Cluster Components
Cell 81: Instrument Cluster Gauges
Cell 81: Instrument Cluster Turn Signal Indicators and Warning Indicators
Cell 81: Instrument Cluster Turn Signal Indicators and Warning Indicators
Cell 81: Instrument Cluster Gauges
Figure
3:
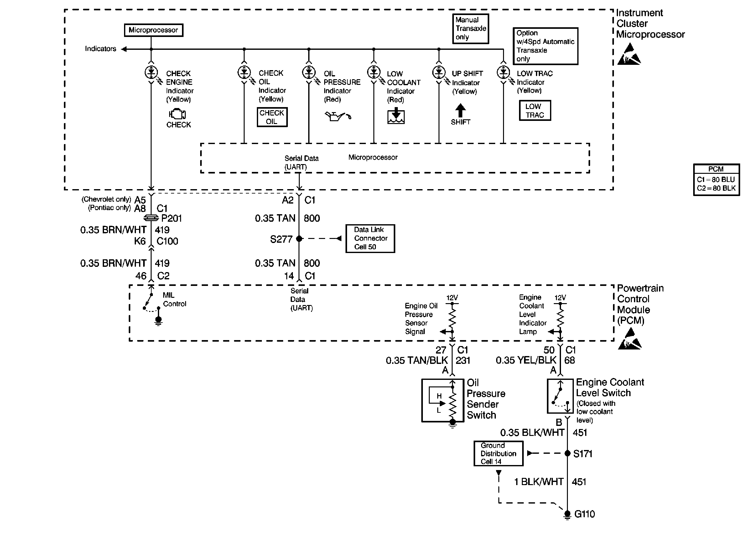
Cell 89
Figure
4:
Cell 81: Instrument Cluster Gauges