GM Service Manual Online
For 1990-2009 cars only
Makes
🢒
Chevrolet
🢒
2000
🢒
Cavalier
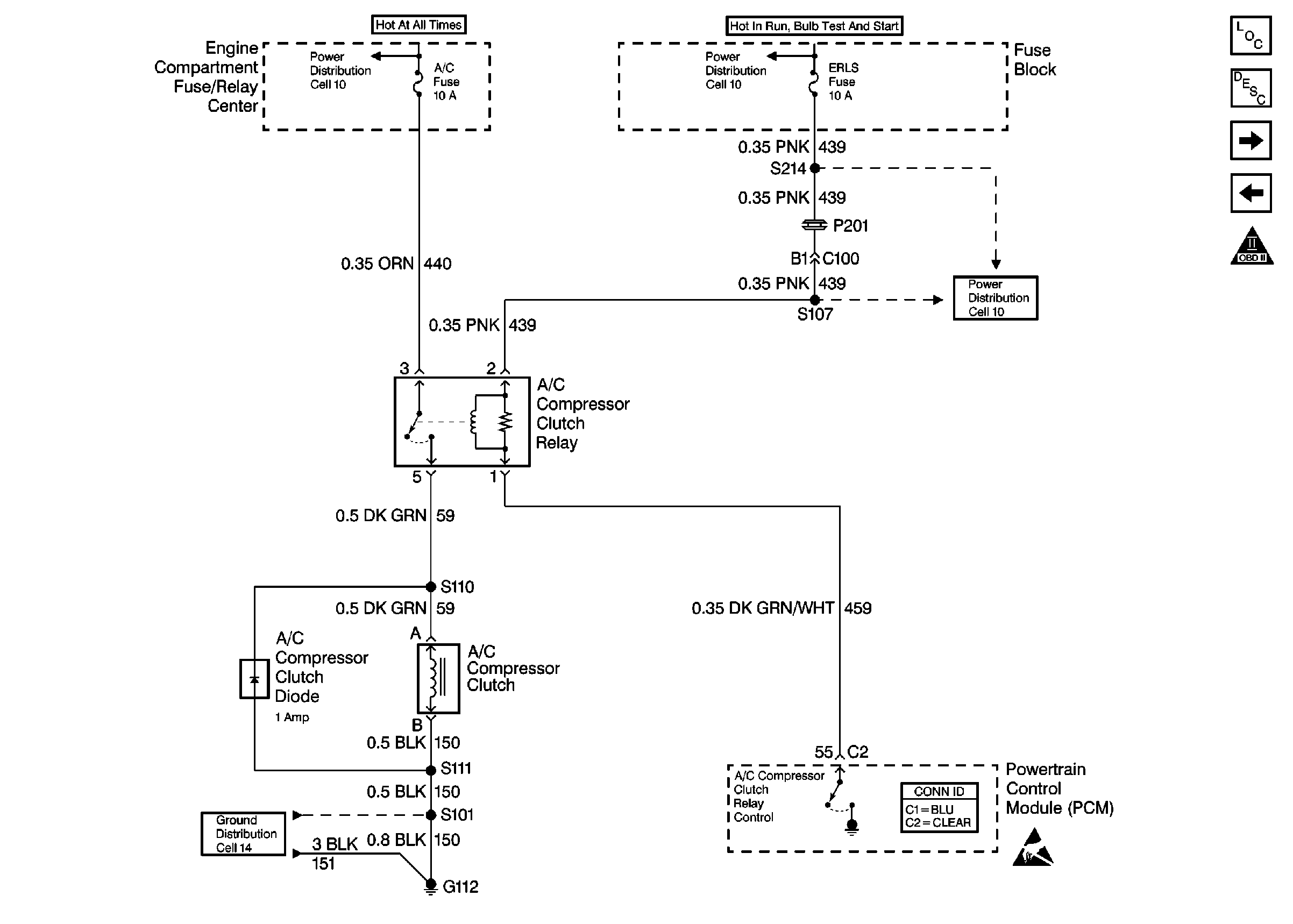
🢒 A/C Controls
A/C Controls
A/C Controls
Engine Controls Components
Information Sensors/Switches Description
Cooling Fan Controls
Transaxle Controls (Switches)
OBD II Symbol Description Notice
Power Distribution Schematics
Power Distribution Schematics
Power Distribution Schematics
Ground Distribution Schematics
Powertrain Control Module Connector End Views
Handling ESD Sensitive Parts Notice