GM Service Manual Online
For 1990-2009 cars only
Makes
🢒
Chevrolet
🢒
2000
🢒
Cavalier
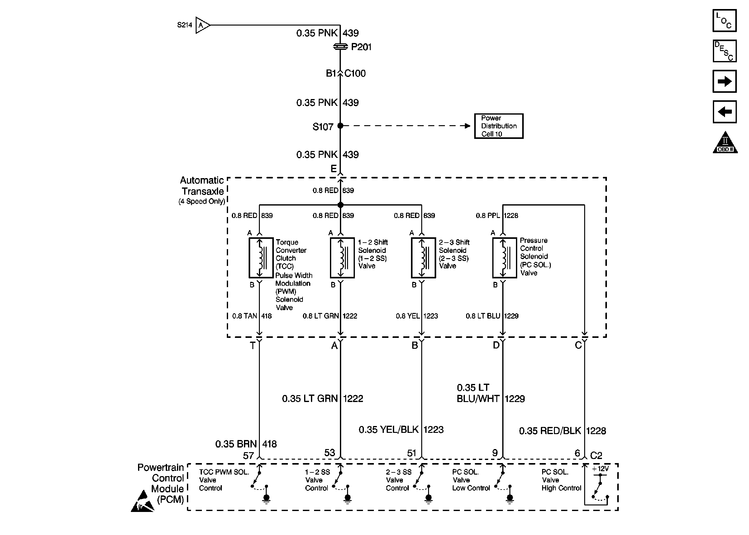
🢒 Transaxle Controls and Brake Switches
Transaxle Controls and Brake Switches
Transaxle Controls and Brake Switches
Engine Controls Components
Information Sensors/Switches Description
Transaxle Controls (Switches)
Cell 10 Cooling Fan, BATT1, BATT2, IGN, and ABS Fuses
OBD II Symbol Description Notice
Power Distribution Schematics
Cell 10 Cooling Fan, BATT1, BATT2, IGN, and ABS Fuses
Handling ESD Sensitive Parts Notice