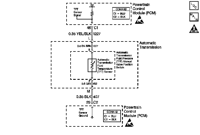
The automatic transmission fluid temperature (TFT) sensor is a negative coefficient thermistor. When the transmission fluid is cold, the sensor resistance is high. As the transmission fluid warms, the sensor resistance decreases. This diagnostic monitors the TFT circuit. The circuit may be functional, but not in the normal operating range. This diagnostic indicates stuck, erratic, intermittent, or skewed values, indicating poor system performance. The TFT range is -40 to +151°C (-40 to +305°F).
When the PCM detects an intermittent voltage or no voltage change in the TFT sensor circuit, then DTC P0711 sets. DTC P0711 is a type C DTC.
| • | No VSS DTCs P0502 or P0503. |
| • | No AT ISS DTCs P0716 or P0717. |
| • | The system voltage is 8-18 volts. |
| • | The engine run time is greater than 5 minutes. |
| • | The engine coolant temperature is greater than 70°C (158°F). |
| • | The engine coolant temperature has changed by greater than 50°C (90°F) since start-up. |
| • | The transmission fluid temperature at start-up is -40 to 21°C (-40 to 70°F). |
| • | The vehicle speed is greater than 8 km/h (5 mph) for 6 minutes and 49 seconds cumulatively. |
| • | The TCC slip is greater than 300 RPM for 6 minutes and 49 seconds cumulatively. |
One of the following conditions occurs:
The change in transmission fluid temperature is less than 1.5°C (2°F) since start-up for 20 seconds.
The change in transmission fluid temperature is greater than 20°C (36°F) within 200 milliseconds; 14 times within 7 seconds.
| • | The PCM does not illuminate the malfunction indicator lamp (MIL). |
| • | The PCM freezes shift adapts from being updated. |
| • | The PCM calculates a default transmission fluid temperature based on engine coolant temperature, manifold air temperature, and engine run time. |
| • | The PCM records the operating conditions when the Conditions for setting the DTC are met. The PCM stores this information as Failure Records. |
| • | The PCM stores DTC P0711 in PCM history. |
| • | A scan tool can clear the DTC. |
| • | The PCM clears the DTC from PCM history if the vehicle completes 40 warm-up cycles without a non-emission-related diagnostic fault occurring. |
| • | The PCM cancels the DTC default actions when the fault no longer exists and/or the ignition switch is OFF long enough in order to power down the PCM. |
| • | Inspect the connections at the PCM, the TFP manual valve position switch and all other circuit connecting points for an intermittent condition. Refer to Testing for Intermittent Conditions and Poor Connections in Wiring Systems. |
| • | Inspect the circuit wiring for an intermittent condition. Refer to Testing for Electrical Intermittents in Wiring Systems. |
| • | Test the TFT sensor at various temperature levels to evaluate the possibility of a skewed (mis-scaled) sensor. Refer to Transmission Fluid Temperature (TFT) Sensor Specifications . |
The numbers below refer to the step numbers on the diagnostic table.
This step tests for an intermittent short or open condition in the engine wiring harness. The test light is used as a resistor in the circuit.
This step determines if the PCM or the TFT sensor is causing a steady, unchanging TFT reading.
Step | Action | Value(s) | Yes | No | ||||
|---|---|---|---|---|---|---|---|---|
1 | Did you perform the Powertrain Diagnostic System Check? | -- | Go to Powertrain On Board Diagnostic (OBD) System Check (2.2L) or Powertrain On Board Diagnostic (OBD) System Check (2.4L) | |||||
2 | Did you perform the Transmission Fluid Checking Procedure? | -- | Go to Transmission Fluid Check | |||||
3 |
Important: Before clearing the DTC, use the Scan Tool in order to record the Failure Records. Using the Clear Info function erases the Failure Records from the PCM.
Did either of the fail conditions occur? | -- | Go to Diagnostic Aids | |||||
4 | Did the Scan Tool display a condition in which the TFT does not change by greater than the specified value in 20 seconds since startup? | 1.5°C (2.7°F) | ||||||
Refer to Automatic Transmission Inline Harness Connector End View . Does the TFT change by greater than the specified value? | 20°C (36°F) | |||||||
Did the Scan Tool display a condition in which the TFT does not change by greater than the specified value in 20 seconds since startup? | 1.5°C (2.7°F) | |||||||
7 |
Refer to Circuit Testing and Wiring Repairs in Wiring Systems. Did you find and correct a condition? | -- | ||||||
8 |
Refer to Circuit Testing and Wiring Repairs in Wiring Systems Did you find a condition? | -- | ||||||
9 | Replace the automatic transmission wiring harness. Refer to Transmission Overhaul in the 4T40-E/4T45-E section of the Transmission Unit Repair Manual. Did you complete the replacement? | -- | -- | |||||
10 | Replace the TFT sensor (this is part of the TFP manual valve position switch). Refer to Pressure Switch Assembly Replacement. Did you complete the replacement? | -- | -- | |||||
11 | Replace the PCM. Refer to Powertrain Control Module Replacement/Programming (2.2L) or Powertrain Control Module Replacement/Programming (2.4L) in Engine Controls. Did you complete the replacement? | -- | -- | |||||
12 | Perform the following procedure in order to verify the repair:
Has the test run and passed? | -- | System OK |